Structural Design and Optimization of the Milling Force Measurement Tool System Embedded with Thin-Film Strain Sensors
Abstract
:1. Introduction
2. Structural Design and Strain Principle of Milling Force Measurement Tool System
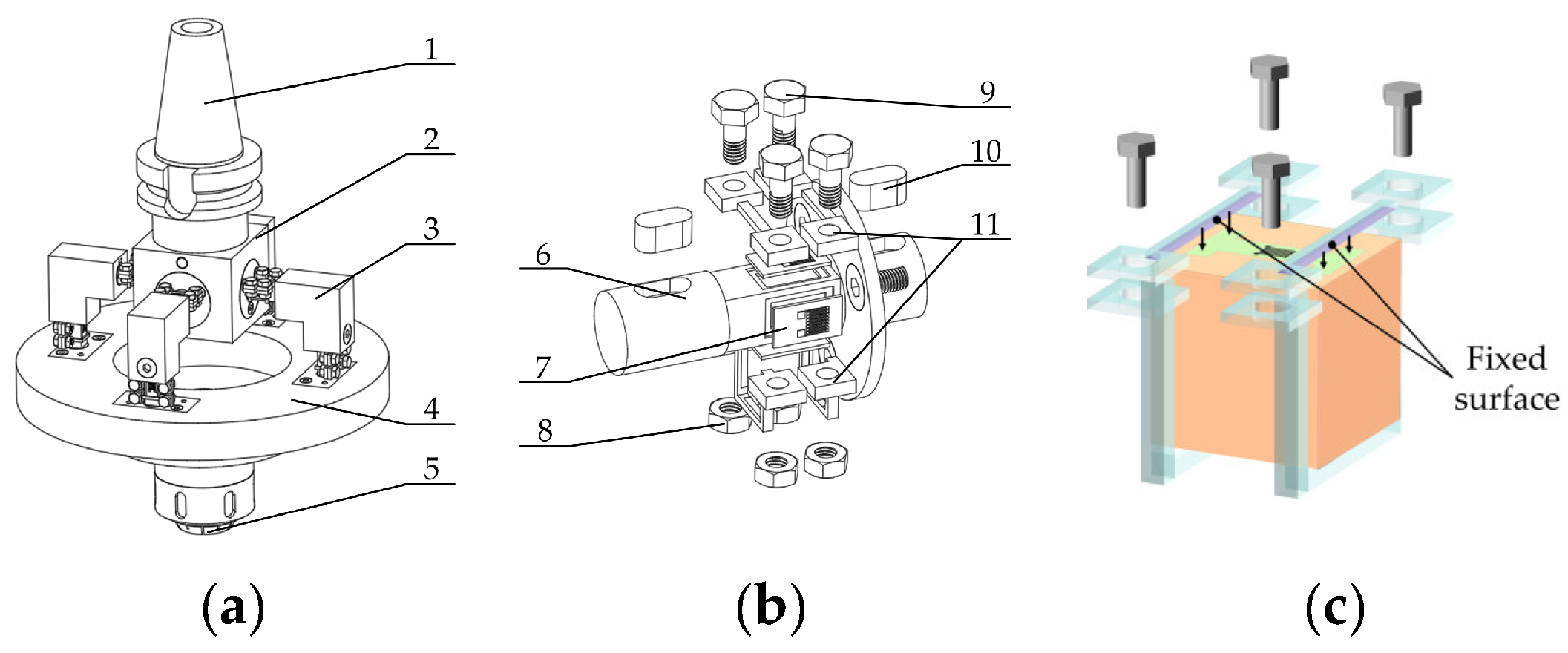
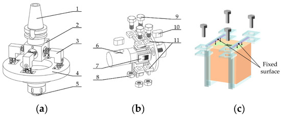
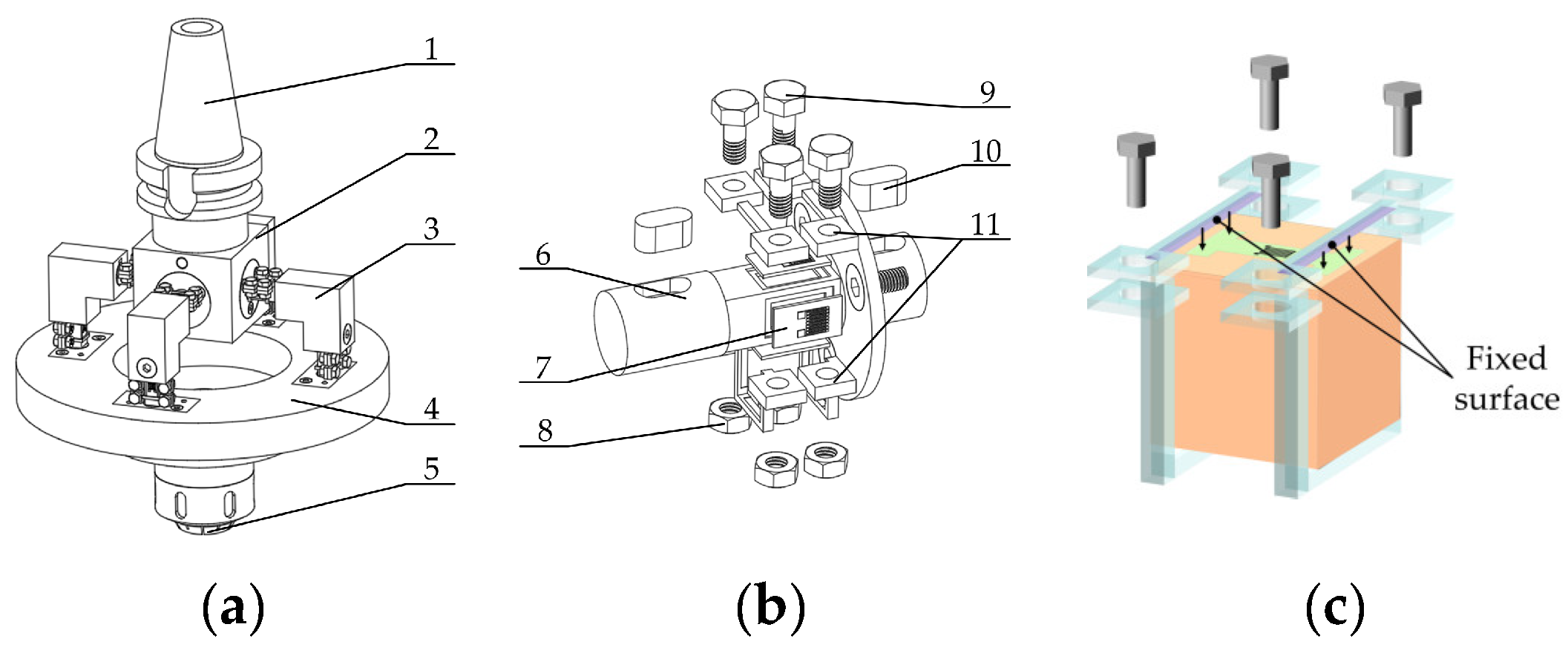
2.1. Structural Design
2.2. Strain Principle of Milling Force Measurement Tool System
3. Design and Preparation of Double-End-Supported Thin-Film Strain Sensor
3.1. Design of Double-End-Supported Thin-Film Strain Sensor
3.1.1. Structural Design of Double-End-Supported Thin-Film Strain Sensor
3.1.2. Dimensional Design of Double-End-Supported Thin-Film Strain Sensor
3.2. Preparation Process of Double-End-Supported Thin-Film Strain Sensor
4. Characterization of Microstructure and Electrical Properties of Double-End-Supported Thin-Film Strain Sensor
4.1. Characterization of Microstructure of Double-End-Supported Thin-Film Strain Sensor
4.2. Electrical Performance Test of Double-End-Supported Thin-Film Strain Sensor
4.3. Experimental Results
5. Conclusions
- In this paper, three kinds of double-end-supported thin-film strain sensors and milling cutter elastomers with an integrated structure are designed. The two milling force measurement tool systems used different sensor fixation methods;
- We designed a double-end-supported thin-film strain sensor and refined its preparation process. All parameters of the preparation process, including cleaning, magnetron sputtering deposition, photolithography, ion beam etching process and wet etching, have been determined. Finally, a double-end-supported thin-film strain sensor was prepared;
- By means of extended depth-of-field microscopy, confocal microscopy and atomic force microscopy, the double-end-supported thin-film strain sensors were studied. The results show that the resistance grid’s pattern boundary is regular, indicating higher etching accuracy. The transition layer and strain gap on the sensor’s surface have been clearly illustrated. The double-end-supported thin-film strain sensor met the design requirements;
- The electrical performance of the double-end-supported thin-film strain sensor was tested. The test results show that the sensitivity of the double-end-supported thin-film strain sensor was about 51.2% greater than that of the ordinary thin-film strain sensor. Regarding the gauge factor (GF), the sensitivity of the double-end-supported thin-film strain sensor was about 42.2% greater compared to those of the ordinary thin-film strain sensors;
- We conducted cutting tests on the milling force measurement tool system with a cross-beam structure. This system showed deviations of 13.7% in average radial force Fx, 7.12% in average circumferential force Fy and 10.33% in average axial force Fz compared to the Kistler dynamometer. The experimental results verify the validity of this system.
Author Contributions
Funding
Data Availability Statement
Conflicts of Interest
References
- Adolfsson, C.; Ståhl, J.-E. Cutting force model for multi-toothed cutting processes and force measuring equipment for face milling. Int. J. Mach. Tools Manuf. 1995, 35, 1715–1728. [Google Scholar] [CrossRef]
- Albrecht, A.; Park, S.S.; Altintas, Y.; Pritschow, G. High frequency bandwidth cutting force measurement in milling using capacitance displacement sensors. Int. J. Mach. Tools Manuf. 2005, 45, 993–1008. [Google Scholar] [CrossRef]
- Byrne, G.; O’donnell, G. An integrated force sensor solution for process monitoring of drilling operations. CIRP Ann. 2007, 56, 89–92. [Google Scholar] [CrossRef]
- Korkut, I. A dynamometer design and its construction for milling operation. Mater. Des. 2003, 24, 631–637. [Google Scholar] [CrossRef]
- Yaldız, S.; Ünsaçar, F.; Sağlam, H.; Işık, H. Design, development and testing of a four-component milling dynamometer for the measurement of cutting force and torque. Mech. Syst. Signal Process. 2007, 21, 1499–1511. [Google Scholar] [CrossRef]
- Jun, M.B.; Ozdoganlar, O.B.; DeVor, R.E.; Kapoor, S.G.; Kirchheim, A.; Schaffner, G. Evaluation of a spindle-based force sensor for monitoring and fault diagnosis of machining operations. Int. J. Mach. Tools Manuf. 2002, 42, 741–751. [Google Scholar] [CrossRef]
- Totis, G.; Wirtz, G.; Sortino, M.; Veselovac, D.; Kuljanic, E.; Klocke, F. Development of a dynamometer for measuring individual cutting edge forces in face milling. Mech. Syst. Signal Process. 2010, 24, 1844–1857. [Google Scholar] [CrossRef]
- Liang, Q.; Zhang, D.; Song, Q.; Ge, Y.; Cao, H.; Ge, Y. Design and fabrication of a six-dimensional wrist force/torque sensor based on E-type membranes compared to cross beams. Measurement 2010, 43, 1702–1719. [Google Scholar] [CrossRef]
- Zhao, Y.; Zhao, Y.; Ge, X. The development of a triaxial cutting force sensor based on a MEMS strain gauge. Micromachines 2018, 9, 30. [Google Scholar] [CrossRef]
- Hu, S.; Wang, H.; Wang, Y.; Liu, Z. Design of a novel six-axis wrist force sensor. Sensors 2018, 18, 3120. [Google Scholar] [CrossRef]
- Cheng, X.; Li, X. Development of metal embedded microsensors by diffusion bonding and testing in milling process. J. Manuf. Sci. Eng. 2008, 130, 061010. [Google Scholar] [CrossRef]
- Mathis, M.; Vollberg, D.; Langosch, M.; Göttel, D.; Lellig, A.; Schultes, G. Creep adjustment of strain gauges based on granular NiCr-carbon thin films. J. Sens. Sens. Syst. 2021, 10, 53–61. [Google Scholar] [CrossRef]
- Ma, R.; Wu, W.; He, Z.; Cheng, Y.; Liu, L.; Zhao, Y. Construction and Characterization of TiN/Si3N4 Composite Insulation Layer in TiN/Si3N4/Ni80Cr20 Thin Film Cutting Force Sensor. Micromachines 2021, 12, 1476. [Google Scholar] [CrossRef]
- Petley, V.; Raman, K.T.; Kumar, S.; Jain, R.; Rao, G.M. Stress evolution mechanism of NiCr thin films on titanium alloy. J. Alloys Compd. 2017, 695, 2253–2260. [Google Scholar] [CrossRef]
- Taylor, C.; Sitaraman, S.K. In-situ strain measurement with metallic thin film sensors. In Proceedings of the 2012 IEEE 62nd Electronic Components and Technology Conference, San Diego, CA, USA, 29 May–1 June 2012. [Google Scholar]
- Wang, L.; Chiu, Y.; Gong, D.; Ma, S.; Yang, Y.; Li, H.; Lee, H.; Liu, H.; Jin, Y. Fabrication Process and Performance Analysis of AlN based Piezoelectric Micromachined Ultrasonic Transducer with a Suspended Structure. In Proceedings of the 2019 IEEE 14th International Conference on Nano/Micro Engineered and Molecular Systems (NEMS), Bangkok, Thailand, 11–14 April 2019; pp. 514–519. [Google Scholar]
- Samaeifar, F.; Afifi, A.; Abdollahi, H. Simple fabrication and characterization of a platinum microhotplate based on suspended membrane structure. Exp. Tech. 2016, 40, 755–763. [Google Scholar] [CrossRef]
- Mutyala, M.S.K.; Bandhanadham, D.; Pan, L.; Pendyala, V.R.; Ji, H.-F. Mechanical and electronic approaches to improve the sensitivity of microcantilever sensors. Acta Mech. Sin. 2009, 25, 1–12. [Google Scholar] [CrossRef]
- Rizal, M.; Ghani, J.A.; Nuawi, M.Z.; Haron, C.H.C. Development and testing of an integrated rotating dynamometer on tool holder for milling process. Mech. Syst. Signal Process. 2015, 52, 559–576. [Google Scholar] [CrossRef]
- Figliola, R.S.; Beasley, D.E. Theory and design for mechanical measurements. Meas. Sci. Technol. 2001, 12, 1743. [Google Scholar] [CrossRef]
























| Equipment | Polishing Material | Treatment Method | Time | ||
|---|---|---|---|---|---|
| Step One | Sandpaper (Suzhou Suboli Grinding Materials Co., Ltd., Suzhou, China) | 800 mesh 1000 mesh 1500 mesh | Hand Grinding | ||
| Step Two | High-Strength Cast Iron HT200-300 Grinding Platform(Botou Bochuang Mechanical Equipment Manufacturing Co., Ltd., Cangzhou, China) | Diamond Spray Polish (Shenzhen Libaolixin Technology Co., Ltd., Shenzhen, China) | 10 μm 9 μm 7 μm 5 μm 3 μm | Grind | 30 min |
| Step Three | P-1 Type Metallographic Sample Polishing Machine (Shanghai Suoyan Testing Instrument Co., Ltd., Shanghai, China) | Diamond Spray Polish (Shenzhen Libaolixin Technology Co., Ltd., Shenzhen, China) | 2.5 μm 1.5 μm 0.5 μm | Polishing | 1 h |
| Equipment | Cleaning Solution | Time | |
|---|---|---|---|
| Step One | Ultrasonic Cleaning Machine (Wenzhou Dongda Environmental Protection Equipment Co., Ltd., Wenzhou, China) | Acetone | 15 min |
| Step Two | Anhydrous Ethanol | 15 min | |
| Step Three | Deionized Water | 10 min |
| Deposition Power | Pressure | Argon Flow Rate | Nitrogen Flow Rate | Time | |
|---|---|---|---|---|---|
| TiN | 100 W | 1 Pa | 50 sccm | 3 sccm | 380 s |
| Al | 100 W | 1 Pa | 50 sccm | 2.5 h | |
| Si3N4 | 140 W | 1.2 Pa | 70 sccm | 10 sccm | 2 h |
| Ni80Cr20 | 100 W | 1 Pa | 70 sccm | 1000 s |
| Photolithography | ||||
|---|---|---|---|---|
| Technology | Equipment | Conditions | ||
| Apply Photoresistor (JSR Corporation) | Cee200XCB (Beijing Saidekesi Electronics Co., Ltd., Beijing, China) | AZ4620 Photoresist | 3000 r/min | 30 s |
| Prebake | EH-20B Anti-corrosion Electric Heating Plate (Shenzhen Sanli Technology Co., Ltd., Shenzhen, China) | 95 °C | 60 s | |
| Exposure | EVG 610 (Beijing Yake Chenxu Technology Co., Ltd., Beijing, China) | Film Paper Mask Plate | 400 mJ/cm2 | |
| Develop | Organic Hood (Shanxi Yitong Laboratory Equipment Co., Ltd., Taiyuan, China) | Developer Solution | 45 s | |
| Post-baking | EH-20B Anti-corrosion Electric Heating Plate (Shenzhen Sanli Technology Co., Ltd., Shenzhen, China) | 105 °C | 90 s | |
| Ion Beam Etching | ||||
| Equipment | Time | |||
| Ion Beam Etching Equipment (Beijing Midea Technology Co., Ltd., Beijing, China) | 1 h 30 min | |||
| Wet etching | ||||
| Etching Solution | Time | |||
| 3 mol/L NaOH Solution | 10 min | |||
| Fx | Fy | Fz | |
|---|---|---|---|
| Kistler dynamometer | 106.85 | 108.5 | 20.32 |
| Milling force measurement tool system | 121.49 | 116.22 | 18.22 |
| Deviation value | 13.70% | 7.12% | 10.33% |
Disclaimer/Publisher’s Note: The statements, opinions and data contained in all publications are solely those of the individual author(s) and contributor(s) and not of MDPI and/or the editor(s). MDPI and/or the editor(s) disclaim responsibility for any injury to people or property resulting from any ideas, methods, instructions or products referred to in the content. |
© 2023 by the authors. Licensee MDPI, Basel, Switzerland. This article is an open access article distributed under the terms and conditions of the Creative Commons Attribution (CC BY) license (https://creativecommons.org/licenses/by/4.0/).
Share and Cite
Song, X.; Wu, W.; Zhao, Y.; Cheng, Y.; Liu, L. Structural Design and Optimization of the Milling Force Measurement Tool System Embedded with Thin-Film Strain Sensors. Micromachines 2023, 14, 2133. https://doi.org/10.3390/mi14122133
Song X, Wu W, Zhao Y, Cheng Y, Liu L. Structural Design and Optimization of the Milling Force Measurement Tool System Embedded with Thin-Film Strain Sensors. Micromachines. 2023; 14(12):2133. https://doi.org/10.3390/mi14122133
Chicago/Turabian StyleSong, Xiangtao, Wenge Wu, Yongjuan Zhao, Yunping Cheng, and Lijuan Liu. 2023. "Structural Design and Optimization of the Milling Force Measurement Tool System Embedded with Thin-Film Strain Sensors" Micromachines 14, no. 12: 2133. https://doi.org/10.3390/mi14122133
APA StyleSong, X., Wu, W., Zhao, Y., Cheng, Y., & Liu, L. (2023). Structural Design and Optimization of the Milling Force Measurement Tool System Embedded with Thin-Film Strain Sensors. Micromachines, 14(12), 2133. https://doi.org/10.3390/mi14122133

