Next Article in Journal
An Aerial Photogrammetry Benchmark Dataset for Point Cloud Segmentation and Style Translation
Previous Article in Journal
Fault Kinematics of the 2022 Delingha Mw 5.6 and Mw 5.7 Earthquakes Revealed by InSAR Observations
 
 
Due to scheduled maintenance work on our servers, there may be short service disruptions on this website between 11:00 and 12:00 CEST on March 28th.
Font Type:
Arial Georgia Verdana
Font Size:
Aa Aa Aa
Line Spacing:
Column Width:
Background:
Article

Adaptive Weighted Coherence Ratio Approach for Industrial Explosion Damage Mapping: Application to the 2015 Tianjin Port Incident

1
National Institute of Natural Hazards, Ministry of Emergency Management of China, Beijing 100085, China
2
School of Energy Resources, China University of Geosciences, Beijing 100083, China
*
Author to whom correspondence should be addressed.
Remote Sens. 2024, 16(22), 4241; https://doi.org/10.3390/rs16224241
Submission received: 17 October 2024 / Revised: 10 November 2024 / Accepted: 13 November 2024 / Published: 14 November 2024

Abstract

The 2015 Tianjin Port chemical explosion highlighted the severe environmental and structural impacts of industrial disasters. This study presents an Adaptive Weighted Coherence Ratio technique, a novel approach for assessing such damage using synthetic aperture radar (SAR) data. Our method overcomes limitations in traditional techniques by incorporating temporal and spatial weighting factors—such as distance from the explosion epicenter, pre- and post-event intervals, and coherence quality—into a robust framework for precise damage classification. This approach effectively captures extreme damage scenarios, including crater formation in inner blast zones, which are challenging for conventional coherence scaling. Through a detailed analysis of the Tianjin explosion, we reveal asymmetric damage patterns influenced by high-rise buildings and demonstrate the method’s applicability to other industrial disasters, such as the 2020 Beirut explosion. Additionally, we introduce a technique for estimating crater dimensions from coherence profiles, enhancing assessment in severely damaged areas. To support structural analysis, we model air pollutant dispersal using HYSPLIT simulations. This integrated approach advances SAR-based damage assessment techniques, providing rapid reliable classifications applicable to various industrial explosions, aiding disaster response and recovery planning.

1. Introduction

Industrial explosions, such as the 2015 Tianjin Port disaster in China, underscore the severe environmental and structural risks associated with urban industrial zones. On 12 August 2015, a series of explosions in a Tianjin Port container facility caused 173 fatalities, extensive structural damage [1,2], and secondary environmental crises [3,4], including fires [5], contamination [6,7], and toxic gas dispersal [8]. Assessing the spatial distribution, severity, and environmental impact of such events presents substantial challenges in disaster management.
Chemical plant explosions can cause structural damage comparable to natural disasters like [9,10] and tsunamis [11]. Effective disaster response requires rapid and accurate damage assessment, particularly when hazardous materials are involved. Traditional methods, such as optical satellite remote sensing, drones, and field surveys, while providing valuable information, are frequently hindered by smoke, toxic gases, fires, and weather conditions, and may involve subjective interpretations, limiting consistency and reliability.
Synthetic aperture radar (SAR) has become a key tool for disaster damage assessment, capable of penetrating smoke and clouds. By comparing coherence changes in pre- and post-disaster SAR images ([12,13,14]), SAR can identify damage changes after natural disasters like earthquakes (e.g., [15,16,17]), floods (e.g., [18,19,20]), hurricanes (e.g. [21, 22]), tsunamis (e.g., [23,24,25]), etc. However, SAR applications to industrial explosions face unique challenges due to the complexity of urban damage patterns and event-specific factors.
Previous research has significantly advanced the application of coherence change detection (CCD) in SAR data for explosion damage assessments. Boloorani et al. (2021) [26] and Fakhri and Gkanatsios (2021) [27] demonstrated the effectiveness of Sentinel-1 SAR data and InSAR techniques in evaluating post-war destruction. ElGharbawi and Zarzoura (2021) [28] employed SAR correlation techniques for rapid damage assessment following the Beirut explosion, emphasizing the importance of pre-event baselines. Aimaiti et al. (2022) [29] underscored the complementary roles of optical and SAR data, while Huang et al. (2023) [30] applied a constrained energy minimization algorithm and a dual-polarization coherence index for monitoring urban damage during the Russia–Ukraine conflict, showcasing the advantages of multi-source remote sensing. Kopiika et al. (2024) [31] investigated SAR-based damage characterization of conflict-affected infrastructure.
While these studies underscore the potential of CCD in various contexts, unlike natural disasters, which often cause widespread structural damage (e.g., the large-scale 2023 Turkey–Syria earthquake damages reported by [32]), explosions typically result in more localized and intricate damage patterns. Traditional CCD methods struggle to address several key issues in this context:
(1)
Sensitivity to temporal decorrelation: Temporal decorrelation, resulting from changes between SAR acquisitions, significantly affects coherence analysis reliability. Longer intervals between pre- and post-explosion SAR pairs increase the likelihood of unrelated urban developments or human activities, inducing substantial decorrelation. Current methods lack a clear approach for evaluating SAR image pair quality or quantifying temporal decorrelation’s impact on coherence analysis.
(2)
Weighted zonal distribution of explosion damage: The damage distribution following an industrial explosion is inherently complex and non-uniform, with distinct damage zones radiating out—categorized as epicenter, inner, outer, and peripheral zones. Each zone exhibits unique characteristics and requires differentiated weighting for accurate assessment. Traditional CCD methods often fail to capture these nuanced spatial patterns, which are further complicated by urban morphology (e.g., high-rise buildings absorbing or deflecting blast waves). An effective approach needs to account for these complexities to enable precise damage mapping.
(3)
Handling extreme no-data scenarios at explosion epicenters: Traditional CCD methods face significant challenges in areas with extensive damage, such as explosion epicenters, where data loss is common. Without valid data points, coherence analysis is limited in its ability to accurately quantify damage. Craters formed at explosion sites also alter terrain height dramatically, e.g., from positive to negative, complicating coherence interpretation as they fall outside the standard coherence scaling range (0 to 1) (see Figure 1b).
(4)
Adaptive damage severity classification for dynamic land cover changes: Explosions can dramatically alter land cover types, transforming materials like asphalt and vegetation into bare soil, which complicates coherence measurements. Traditional CCD methods struggle to accurately distinguish between structural damage and changes in surface material due to unpredictable alterations in surface roughness and dielectric properties. Relying on pre-defined, static thresholds proves inadequate in these scenarios. A data-driven, adaptive approach is essential for assessing damage severity in environments with varied and dynamically changing land cover.
Together, these challenges—sensitivity to temporal decorrelation, complex zonal distribution of damage, data loss in highly impacted areas, and difficulty in distinguishing structural damage from land cover changes—highlight the limitations of traditional CCD methods in assessing industrial explosion damage, particularly in complex urban settings. Addressing these issues requires an enhanced method that integrates temporal and spatial quality assessments of pre- and post-explosion SAR pairs. In this study, we propose an Adaptive Weighted Coherence Ratio (AWCR) approach, specifically designed to manage the highly variable conditions associated with industrial disasters. This method offers a robust framework for mapping explosion-induced damage by addressing challenges related to temporal decorrelation, land cover variability, and non-uniform coherence thresholds.

2. Tianjin Port Explosion Accident

The catastrophic impact of industrial explosions emphasizes the need to study such incidents in depth. One such event, the 2015 Tianjin Port explosion, provides a valuable case for analyzing industrial disaster dynamics. Tianjin Port, located on the western shore of Bohai Bay, serves as a major maritime gateway to the Beijing–Tianjin–Hebei (BTH) region. It lies approximately 170 km southeast of Beijing, China’s capital, and 60 km east of the Tianjin city center—both densely populated urban areas. As the largest port in northern China, Tianjin Port reported a cargo throughput of 446 million tons in 2014, ranking sixth globally. That year, its container throughput reached 14.05 million twenty-foot equivalent units (TEU), placing it tenth worldwide [33].
The Binhai New District, where Tianjin Port is situated, hosts over 285 Fortune 500 companies, making it a critical industrial and logistics hub. On 12 August 2015, a series of chemical reactions led to two major explosions at a warehouse (39°02′22.98″N, 117°44′11.64″E) operated by Tianjin Dongjiang Port Rui Hai International Logistics Company, which stored hazardous and chemical materials. The first explosion occurred at 23:34:06 local time (UTC+8), and the second, 31 s later, at 23:34:37. According to reports, the first explosion had an equivalent force of 15 tons of TNT, while the second was equivalent to 430 tons of TNT, with smaller explosions following, totaling an estimated force of 450 tons of TNT [34,35,36].
The two main explosions each left substantial craters. The first blast created a 15 m wide, 1.1 m deep irregular crater, while the second produced a circular crater 97 m in diameter and 2.7 m deep (Figure 2c). The overheating of nitrocellulose canisters is believed to be the primary cause of the incident [34].
This explosion also triggered numerous smaller fires and six large fire zones, which were finally extinguished by 14 August at 16:40. The disaster resulted in 165 fatalities, 8 missing persons, and 795 injuries. In total, 12,428 cars, 7533 containers, and 304 buildings were damaged or destroyed (see Figure 2a,d,e).

3. Data and Processing

Building on the context of the Tianjin Port explosion, this section details the datasets and processing techniques used to assess the damage severity through SAR analysis. We utilized multiple datasets, including six synthetic aperture radar (SAR) images—three from descending and three from ascending orbits (Table 1)—to analyze the impact of the Tianjin Port explosion.
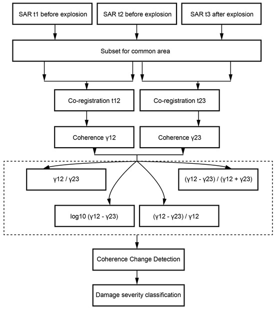
To process the SAR image pairs and generate coherence products, we used the European Space Agency’s (ESA) SNAP toolbox (e.g., [39]). Figure 3 illustrates the workflow for estimating explosion damage severity, detailing the coherence change detection process and subsequent classification. This approach requires at least three SAR acquisitions: two images taken before the event (at times t1 and t2) and one image captured shortly after the disaster (at time t3). First, all images are clipped to a common area and co-registered to a single reference (with t2 selected as the reference image). Two SAR coherence products are then generated from two image pairs: a pre-event pair (t1 and t2) and a co-event pair (t2 and t3). Damage is assessed by detecting changes between these pairs. For quality assurance, we compared our results with coherence products generated by the Alaska Satellite Facility’s Hybrid Pluggable Processing Pipeline (ASF HyP3; [40]). Additionally, high-resolution optical imagery from Google Earth, captured before and after the explosion, was used to validate our findings.
For geospatial data processing, conversion, and visualization, we used several tools and libraries. Specifically, rasterio and the Geospatial Data Abstraction Library (GDAL; [42]) facilitated geospatial raster data management and manipulation. To visualize the results, we used QGIS and the Generic Mapping Tools (GMT; [43]), enabling detailed mapping of damage severity and tracking of structural changes over time.

4. Damage Severity Classification by Coherence Change

With the data in place, we now focus to the classification methodology, using coherence changes to evaluate the extent and severity of damage following the explosion. In InSAR analysis, coherence refers to the similarity of SAR images captured at different time points. The level of coherence reflects changes in the target between acquisition dates. The complex phase coherence (γ) is estimated using Equation (1) [44].
γ = E ( z 1 z 2 * ) E ( | z 1 | 2 ) E ( | z 2 | 2 )
where z1 and z2 are the complex signals of co-registered SAR images, * represents the complex conjugate, |•| is the absolute value operator, and E<•> represents the mathematical expectation.
In the context of explosions, coherence measures the similarity between images taken before and after an event. Decorrelation, or loss of coherence, between these images indicates areas with significant changes, such as building destruction or surface rupture.

4.1. Coherence and Decorrelation Components of Explosions

The total coherence for an InSAR pair is the product of multiple coherence components [45,46], including thermal phase noise (γn), geometric distortions (γg), volumetric scattering from materials (γv), and temporal changes (γt), as shown in Equation (2):
γ = γn × γg × γv × γt
Unlike InSAR phase components, these coherence components are multiplied rather than added, meaning that any low-value components lead to low overall coherence [44,47]. The explosion disrupts several components, particularly volumetric (γv) and temporal coherence (γt), causing rapid changes in object position, orientation, and structure near the explosion site. This disturbance generates debris and structural collapse, altering surfaces’ reflection properties and causing decorrelation.
Figure 4 illustrates the damage assessment process using real data from the Tianjin Port explosion. The descending and ascending SAR pairs distinctly demonstrate a significant loss of coherence extending over 5 km in the north–south direction in regions impacted by the explosion. This prominent coherence loss highlights the areas of severe damage surrounding the explosion’s epicenter. The volumetric coherence loss, particularly around buildings near the epicenter, is evident through the coherence change analysis. This loss results from the collapse or fragmentation of structures, which fundamentally alters the radar reflection characteristics of the affected surfaces. For instance, when a building collapses, it introduces random and inconsistent surface orientations. These irregularities disrupt the radar’s ability to maintain a coherent signal, significantly reducing the observed coherence values.
Although visual representations enhance our understanding of damage assessment, the degree of coherence loss in urban environments remains challenging to interpret directly in terms of damage severity. In urban areas, coherence values can be high (often >0.6) but can drop dramatically to values below 0.2 when substantial structural changes occur. While coherence changes from SAR data pairs can indicate damaged zones, they are not sufficient on their own to fully quantify the severity or extent of structural damage caused by explosions. Therefore, additional analysis and methodologies are needed to achieve a comprehensive assessment.

4.2. Ratio-Based Coherence Change Detection Methods

Ratio-based methods are widely used in SAR damage assessment to detect changes caused by disasters. Techniques include the normalized change ratio (Equation (3); [48,49,50,51,52]), log-ratio (Equation (4); [53,54,55]), coherence change ratio (Equation (5); [52]), and direct ratio (Equation (6); [41,56,57,58]), each with unique strengths and limitations [14,41,52,57,59].
norm = (γpre-disaster − γpost-disaster)/(γpre-disaster + γpost-disaster)
log = log10post-disasterpre-disaster)
diff = (γpre-disaster − γpost-disaster)/γpre-disaster
Rγ = γpre-explosionpost-explosion
where γpre-explosion represents the pre-explosion coherence and γpost-explosion represents the post-explosion coherence.
Each method is suited to specific conditions. For example, Bujor et al. (2003) [60] found that ratio-based operators effectively detect abrupt changes, while Hou et al. (2014) [61] improved this approach with a Gauss log-ratio operator, which enhances the comparability of multi-temporal SAR images.
We applied these four methods to assess damage from the Tianjin Port explosion, as shown in Figure 5. We analyze each method’s effectiveness in characterizing explosion damage:
(1)
Normalized Difference Formula (Equation (3); Figure 5a): This method offers a balanced representation of change, with values ranging from −1 to 1. By normalizing coherence differences, it effectively minimizes the risk of false positives, thereby enhancing the accuracy of damage detection. In areas that remain relatively homogeneous, where the disaster does not significantly alter the structural properties of the scene, the normalized difference ratio method is highly efficient in isolating primary changes attributable to the event [52]. However, a limitation of this approach is its reduced sensitivity to minor changes, which may result in the underestimation of damage, particularly in peripheral regions. Consequently, the damage classification provided by this method tends to be more conservative when compared to other techniques.
(2)
Logarithmic Change Detection Formula (Equation (4); Figure 5b): This approach utilizes a logarithmic scale to compress the range of coherence changes, which increases sensitivity to subtle variations. It is particularly adept at detecting gradual surface deformations or slow-moving changes that linear metrics of damage intensity might miss. The method excels at highlighting small-scale changes across large areas, making it useful in scenarios where fine details are critical. However, the challenge lies in determining appropriate cutoff values for damage classification, as the sensitivity of the method can complicate threshold selection. For example, in the case of the Beirut explosion, thresholds of around −0.25 or +0.25 were applied to identify significant damage [62]. Additionally, the logarithmic scale can pose interpretation challenges, especially for non-experts, as the transformed values may not be as intuitively understood compared to linear representations.
(3)
Coherence Change Ratio (Equation (5); Figure 5c): This ratio provides a straightforward means of differentiating heavily damaged areas from those that are less affected. It achieves a commendable balance between sensitivity and specificity in detecting damage. However, the method’s limitation lies in its restricted range of values, from 0 to 1, which may hinder the precise distinction between severe and moderate damage. As a result, damage in regions with initially low coherence could be underestimated. This approach is generally effective for capturing clear damage distinctions, but it may fall short in scenarios where a finer granularity of damage classification is needed.
(4)
Direct Coherence Ratio (Equation (6); Figure 5d): The direct change ratio offers a computationally efficient method for damage mapping, making it particularly valuable for rapid assessment in emergency response scenarios. It generates a wide range of values, providing a more dynamic and flexible representation of damage severity based on real-time SAR data. This data-driven approach directly reflects proportional changes and enables the adaptive classification of damage levels. Nonetheless, a notable drawback is its susceptibility to noise, especially in regions with inherently low coherence. Small variations in coherence values can cause disproportionate changes in the ratio, potentially skewing results. Additionally, the broad value range introduces challenges in establishing consistent damage thresholds across diverse settings, which may complicate uniform damage assessment.
In terms of sensitivity, the log change ratio stands out as the most sensitive, effectively detecting the widest area of potential damage, making it suitable for identifying subtle but widespread structural changes. The direct change ratio follows closely, while the normalized and coherence change ratios provide more conservative estimates, potentially underestimating minor damage in peripheral zones. When it comes to specificity, the direct change ratio excels, offering the highest accuracy in pinpointing severe damage, with the coherence change ratio also performing well in this regard. Conversely, the normalized and log change ratios show reduced specificity, which could lead to broader classifications that may include false positives. In terms of interpretability, the direct change ratio is perhaps the most accessible, thanks to its straightforward proportion between pre- and post-disaster values, making it ideal for quick assessments or communication with non-expert stakeholders. On the other hand, the log change, normalized, and coherence change ratios, while providing more detailed and nuanced damage classifications, may require more specialized interpretation. Notably, all methods reliably identify the core damaged area, represented by the boxed region (see Figure 5a–d), but they exhibit significant variations in classifying the extent and severity of damage in surrounding areas, impacting the overall assessment’s accuracy and precision.
Each method consistently identifies core damaged areas but varies in how it classifies surrounding regions. However, these methods face limitations in threshold determination and interpretation complexity, particularly within industrial zones, where structural variability complicates coherence analysis. Setting appropriate thresholds for damage classification proves challenging, as industrial environments often contain diverse materials and structures that respond differently to explosive forces. Additionally, interpretation complexity arises due to the need to contextualize coherence ratio changes in relation to the physical realities of the affected structures. Despite their utility, these four methods do not adequately account for temporal factors, which are crucial in accurately assessing damage in the dynamic post-explosion environment.
To address the impact of temporal baselines, we conducted a comparative analysis between ascending (A69) and descending (D149) tracks, focusing on how baseline lengths influence damage assessment results (see Figure 6). Although the A69 track has a longer temporal baseline, its closer post-explosion acquisition (captured six days after the event) offers a more immediate view of the explosion’s effects. In contrast, the D149 track, with a shorter baseline of twelve days post-event, captures a more stabilized, cumulative damage pattern. The results indicate that severe damage is more concentrated in the D149 pair, particularly within the inner blast zone, suggesting that the temporal baseline plays a critical role in highlighting either immediate or longer-term structural changes. This comparison underscores the need for a method that can adapt to temporal variations, ensuring that both short-term and sustained impacts are accurately represented in the damage assessment.
The ascending data (A69) capture damage more effectively in outer regions, suggesting that both descending and ascending pairs should be integrated. This integration, with spatial and temporal weighting, enhances damage severity classification. Figure 6 also aligns with the European Macroseismic Scale (EMS-98 [63]) for building damage classification, which grades structural damage from minor to total destruction. In reality, however, the response of structures, particularly container-like buildings and diverse stacks of import and export goods in port settings, can vary significantly. This complexity is often overlooked by fixed thresholds (used in Figure 5 and Figure 6), leading to potential misclassification of damage severity. Variability in structural responses in complex environments like ports requires an adaptive approach to accurately assess damage.

4.3. Adaptive Weighted Coherence Ratio Approach

While traditional methods offer valuable insights, an adaptive approach is essential to address the unique challenges posed by urban explosion damage. This section introduces the Adaptive Weighted Coherence Ratio Approach, integrating spatial and temporal factors for enhanced damage assessment. In analyzing the Tianjin explosion’s structural damage, various weighting factors, such as the explosion date, pre- and post-event intervals, and the distance to the explosion epicenter, are incorporated to create a nuanced, data-driven method for classifying damage severity. These factors adjust the raw coherence ratio, accounting for spatial and temporal sensitivities captured by SAR data.

4.3.1. Temporal and Spatial Weighting

The temporal baselines of the SAR data significantly influence coherence change analysis. Shorter baselines tend to yield higher coherence values, capturing more consistent structural integrity, while longer baselines may dilute this coherence. For example, the descending track D149, with a short 1-day pre-event baseline, offers a recent snapshot of structures, while its longer 11-day post-event baseline captures extended damage patterns (see Figure 7a). In contrast, the ascending track A69, with a longer 24-day pre-event baseline, provides a broader perspective on pre-explosion conditions, while its 6-day post-event baseline reflects immediate post-explosion impacts (see Figure 7b). These temporal considerations highlight the need for appropriate timeframes to capture structural damage accurately.
To optimize coherence analysis, we introduce two temporal weighting factors: Coherence Quality Factor (CQF) and Post-Event Temporal Factor (PETF). These factors help address the challenges posed by varying temporal baselines, ensuring that coherence measurements accurately reflect structural integrity changes.
First, the Coherence Quality Factor (CQF) is designed to adjust weights based on the length of the pre-event time baseline, assigning higher values to shorter baselines. In general, shorter temporal baselines yield higher coherence values, as they are less likely to capture unrelated changes in the environment, thus preserving the structural integrity observed before the explosion. The CQF formula is as follows:
CQF = 1 Pre explosion   time   baseline   in   days
For instance, the descending SAR track D149, with a 1-day pre-event baseline, has a CQF of approximately 0.5, which reflects the high reliability of its coherence data for representing structural integrity before the explosion. In contrast, the ascending track A69, with a significantly longer pre-event baseline of 18 days, yields a CQF of about 0.056. This stark difference in CQF values illustrates how varying temporal baselines influence the coherence’s sensitivity to pre-explosion conditions. By assigning higher weights to shorter baselines, the CQF ensures that coherence data from images closer to the explosion event are prioritized, establishing a more reliable reference for post-event comparisons.
Next, the Post-Event Temporal Factor (PETF) adjusts the weight according to the time elapsed since the explosion, with higher weights assigned to data captured shortly after the event. This factor ensures that coherence measurements reflect the direct impacts of the explosion, particularly in inner blast zones, where rapid structural changes are expected. The PETF formula is given by
PETF = 1 Days   sin ce   explosion
In this case, the descending track D149, captured 11 days post-event, has a PETF of approximately 0.091. This factor highlights the gradual and extended pattern of damage that can be observed over a longer post-event period, particularly in regions farther from the epicenter. Conversely, the ascending track A69, which captured data only 6 days after the explosion, yields a higher PETF of about 0.167. This value emphasizes immediate structural changes, reflecting the sensitivity of A69 data to recent, rapid alterations caused by the explosion. The PETF thus allows us to prioritize data closer to the explosion date, enabling a more detailed analysis of structural damage as it develops over time.
Beyond temporal adjustments, the Distance Normalization Factor (DNF) introduces spatial weighting by emphasizing regions closer to the explosion epicenter, where damage is expected to be most severe. This factor accounts for the spatial relationship between the damage and its proximity to the blast center, providing a realistic assessment of damage distribution. The DNF formula is as follows:
DNF = 1 ( Distance   from   epicenter Max .   distance   in   study   area )
Using this formula, areas closer to the explosion epicenter receive higher DNF values, effectively assigning greater weight to coherence changes in these regions (see Figure 8). This adjustment ensures that locations near the blast center, which are likely to experience the highest levels of structural impact, are given priority in the analysis. By integrating the DNF with the temporal factors CQF and PETF, our approach creates a more accurate and fair classification of damage severity, reflecting both spatial and temporal sensitivities to the explosion’s impact.

4.3.2. Integrated Assessment Using Weighted Coherence Ratio

By integrating the CQF, PETF, and DNF, we calculate the Weighted Coherence Ratio (Weighted_R), which refines the raw coherence ratio (R) based on temporal and spatial factors:
Weighted _ R = R × DNF × CQF × PETF
where R is the raw coherence ratio; DNF adjusts for the distance from the epicenter, prioritizing nearby damage; CQF normalizes pre-event coherence based on the temporal baseline; and PETF emphasizes data closer to the explosion date.
This approach dynamically adjusts coherence ratios to reflect spatial and temporal dimensions, offering a more accurate classification of structural damage. This adaptive weighting system provides a refined view of the explosion’s impact, differentiating near-epicenter damage from peripheral effects and accounting for SAR dataset intervals.

4.3.3. Integrated Damage Severity Assessment for the Tianjin Port Explosion

To comprehensively assess the Tianjin Port explosion damage, we combined weighted damage ratios from both descending (D149) and ascending (A69) passes, leveraging different perspectives to reduce observational bias and enhance accuracy.
Each dataset was normalized by its highest weighted ratio for seamless integration, allowing consistent classification of damage severity across data sources. The combined analysis resulted in the following damage classifications:
  • Grade 1 (no/minimal damage): 0–0.25;
  • Grade 2 (light damage): 0.25–0.5;
  • Grade 3 (moderate damage): 0.5–0.75;
  • Grade 4 (severe damage): 0.75–1.0;
  • Grade 5 (extreme damage): >1.00.
The damage pattern identified by our novel approach closely aligns with the predicted blast wave propagation models (Figure 9), as depicted in the schematic diagram of Figure 8. The map distinctly displays a radial pattern of damage intensity radiating outward from the explosion’s epicenter. At the core of this distribution, the densest concentration of dark-red circles signifies areas of extreme damage, classified as Grade 5, with a weighted ratio exceeding 1.0. Beyond this core, there is a noticeable and gradual transition to zones of severe damage (Grade 4, with weighted ratios between 0.75 and 1.0), followed by areas of moderate damage (Grade 3, with weighted ratios ranging from 0.5 to 0.75), and then light damage zones (Grade 2, spanning 0.25 to 0.5). These zones are illustrated with progressively smaller circles and increasingly lighter colors, effectively conveying the diminishing impact of the explosion as one moves away from the epicenter.
The damage distribution map reveals distinct asymmetries, with the impact area extending predominantly from the southwest to the northeast. This pattern is likely a consequence of variations in urban density and the differing types of buildings across the affected region. One noteworthy example is the cluster of tall buildings situated to the southwest and west of the explosion’s epicenter (highlighted by the three red polygons in Figure 9). This cluster appears to have functioned as a barrier, effectively limiting the propagation of the blast wave in those directions. This barrier effect, although subtle, plays a crucial role by likely absorbing a significant portion of the blast’s energy. Recognizing such intricate dynamics is essential for planning effective emergency response operations. First responders must focus on prioritizing areas for immediate intervention, identifying potential zones where survivors could be trapped, devising efficient access routes, and evaluating any secondary hazards that these urban barriers might create.
Figure 10 further elaborates on the damage classification, reinforcing the consistency and complementarity of the results across both satellite datasets. The A1–A2 profile (north–south) exhibits a pronounced peak in damage severity near the epicenter, where weighted ratios surpass 1.75, indicating extreme structural destruction. This peak rapidly diminishes towards the south, but the northern extension of damage remains significant, illustrating an asymmetry pattern. This discrepancy, with a pronounced extension towards the north, could be attributed to the unique urban layout, variations in building density, or blast wave reflection off nearby structures, influencing how the energy was distributed and absorbed in different areas. The high-damage zone is distinctly defined, underscoring the critical need for focused intervention in these areas during post-disaster response efforts.
B1-B2 cross-section (southwest–northeast) provides a complementary perspective, revealing a broader distribution of high-damage zones in the vicinity of the epicenter. Here, the damage intensity gradually decreases as one moves farther away from the blast site, with notable high-damage areas persisting in both the southwest and northeast directions. The wider extent of damage towards these orientations highlights how structural variations and open spaces may have facilitated or impeded the blast wave propagation. The southwest sector shows a more gradual decline, suggesting areas where blast energy dissipated over a larger expanse, possibly influenced by the layout of surrounding infrastructure or topographical features. Conversely, the northeast direction features a sharper drop-off, yet significant damage is evident, emphasizing the complex interplay between urban structures and blast dynamics.
Overall, both profiles demonstrate the highly non-uniform nature of blast damage propagation, capturing localized variations and structural influences. This comprehensive analysis, leveraging data from both descending (D149) and ascending (A69) orbits, offers an in-depth understanding of damage patterns, informing better strategies for disaster response and urban resilience planning. The integration of these satellite datasets not only refines our damage assessment approach but also provides actionable insights for improving emergency preparedness and recovery efforts.

4.4. Validation of the Adaptive Weighted Coherence Ratio Method: Application to the 2020 Beirut Explosion

The comprehensive analysis using both D149 and A69 data provides a nuanced and extensive assessment of damage propagation patterns observed in the Tianjin Port explosion. To further illustrate the robustness and adaptability of our proposed Adaptive Weighted Coherence Ratio (AWCR) method, we applied it to a comparable industrial explosion event: the 2020 Beirut explosion. This validation emphasizes the method’s broader applicability and reinforces its utility for varied industrial disaster scenarios.
The Beirut explosion, which caused widespread structural damage and significant environmental impacts, serves as a critical case study to test the AWCR method’s versatility. Using multiple SAR image pairs from both ascending and descending orbits, we analyzed damage severity while considering the essential temporal factors, such as the Coherence Quality Factor (CQF) and the Post-Event Temporal Factor (PETF). Table 2 outlines the SAR data parameters and associated weighting factors used in our analysis, highlighting the tailored approach we adopted for this event.
Figure 11 presents the coherence change ratio distributions before and after the Beirut explosion, derived from three different SAR pairs (Figure 11a–c). The maps illustrate a clear delineation of high-damage zones around the blast epicenter. The weighted ratio classification map (Figure 11d) further exemplifies the method’s capacity to capture complex damage patterns and emphasizes the spatial heterogeneity of blast impacts, which is essential for accurate post-disaster assessments.
Additionally, the AWCR method, by incorporating these spatial and temporal weighting factors, accurately mapped the damage severity, producing results that closely align with remote sensing classifications [62], seismic wave inversion findings [64], and field observations [65].
By demonstrating the AWCR method’s successful application to the Beirut explosion, we provide strong evidence that it is not restricted to a single case study but is broadly applicable across different urban and industrial settings. This adaptability makes it a valuable tool for rapid damage assessment, offering reliable insights crucial for disaster response and recovery planning. The results underscore the method’s potential for integration into global disaster monitoring frameworks, enhancing situational awareness and facilitating timely, data-driven decision-making in diverse post-disaster contexts.

5. Discussions

The findings from this study have significant implications for industrial disaster responses, particularly in assessing the extent of structural damage in complex urban settings affected by explosions. By leveraging the Adaptive Weighted Coherence Ratio (AWCR) approach, this study not only highlights the potential of coherence analysis in post-explosion scenarios but also underscores the need for enhanced methodologies to capture extreme damage and no-data zones at explosion epicenters. In this section, we discuss the practical applications, limitations, and potential improvements of our approach, and propose ways in which future assessments can build on these results.

5.1. Quantifying Extreme Damage at Explosion Epicenters Through Coherence Profiles

This study advances the application of coherence ratio techniques for assessing damage from urban explosions. However, it also highlights challenges that arise in scenarios of extreme damage, particularly in no-data regions at explosion epicenters, where structural annihilation disrupts SAR coherence measurements. We propose that these extreme conditions could be better quantified by integrating diverse data types, which could offer a more comprehensive understanding of the damage extent.
The conventional coherence scale, ranging from 0 (complete change) to 1 (no change), has been effective at detecting changes in surface or structural integrity caused by natural disasters, such as earthquakes, floods, and hurricanes. However, this scale falls short of capturing the complex, localized, and extreme damage scenarios associated with explosions. For instance, at explosion epicenters, the abrupt transition from a building to a crater represents a shift from positive to negative elevation—a transformation beyond the representational capacity of the coherence scale. Consequently, both traditional coherence change ratios (Figure 5) and weighted analyses (Figure 9) fail to fully capture these impacts, indicating a need for other metrics.
Crater size has proven to be a crucial parameter in predicting overpressure and damage levels, directly correlating with the energy released during an explosion. Recent studies support the importance of crater analysis in explosion damage assessment. For example, Yu et al. (2022) [66] used satellite imagery to measure crater diameters from the Beirut explosion, estimating TNT equivalent mass and analyzing overpressure effects. Similarly, Xu et al. (2021) [67] conducted controlled explosions to examine crater morphology and its implications for damage, demonstrating that crater dimensions can inform predictive models for future explosive events.
While accurate crater size measurement is essential for understanding the magnitude of explosion damage, post-explosion environments are often chaotic, making satellite-based measurements prone to error. To address this, we introduce an innovative approach that utilizes pre- and post-explosion raw coherence data to estimate crater dimensions, offering a more objective and reliable method in high-damage scenarios where traditional metrics are less effective.
In the case of the Tianjin Port explosion, raw coherence profiles of the warehouse area showed high coherence prior to the explosion. After the event, coherence decreased significantly, whether the crater was filled with bare soil or toxic water. Figure 12 illustrates this change, presenting west–east (a, b) and south–north (c, d) profiles that delineate the crater’s edges, providing clear insights into the extent of structural alterations.
Our analysis of the coherence profiles reveals critical insights into the explosion’s impact:
(1)
Crater size: Coherence change patterns suggest a crater size of approximately 90 m × 80 m in the west–east and north–south directions, respectively.
(2)
Edge definition: Both west–east and south–north profiles reveal sharp coherence transitions at the crater edges, enabling precise boundary delineation.
(3)
Magnitude of change: Post-explosion coherence values within the crater are systemically lower than pre-explosion values, indicating significant structural alteration.
(4)
Surrounding area impact: Coherence changes extend beyond the immediate crater area, suggesting a wider zone of impact around the explosion epicenter.
By integrating pre- and post-explosion coherence data, we can accurately constrain crater size, which in turn can refine models for predicting damage severity at explosion sites. This novel approach of using raw coherence data to measure crater dimensions offers a more objective method for assessing damage in catastrophic events where traditional data sources may be compromised. By providing a reliable metric for extracting crater size information, this method holds the potential for enhancing future damage assessment models, especially in regions with limited data availability due to extensive destruction.

5.2. Air Pollution and Transport Trajectory Modeling

The 2015 Tianjin Port explosion not only caused extensive structural damage but also released significant amounts of toxic gases, smoke, debris, and particulate matter into the atmosphere, raising serious concerns about environmental pollution. Initial air quality monitoring detected several hazardous chemicals, including toluene, trimethylene oxides, and methenyl trichloride, although officials reported that these had largely dispersed by the second day after the incident [5]. Additionally, the discovery of substantial quantities of dangerous chemicals stored at the site, such as ammonium nitrate, sodium cyanide, and various metals, further heightened concerns regarding potential widespread environmental impacts.
A study by [8] indicated that smoke plumes generated from the explosion reached neighboring regions and even transported pollutants across the Yellow Sea to the Korean Peninsula. This example of long-range transboundary air pollution highlights the potential for industrial accidents to significantly impact air quality well beyond the immediate vicinity of the incident.
To further investigate the dispersal patterns of air pollutants from the Tianjin explosion, we utilized the NOAA HYSPLIT (Hybrid Single-Particle Lagrangian Integrated Trajectory) model, accessible at https://www.ready.noaa.gov/HYSPLIT_traj.php, accessed on 7 October 2022 [68]. The HYSPLIT model simulates the movement of air particles and helps to visualize how particulate matter released by the explosion traveled through the atmosphere over time. Based on this model, forward trajectories were analyzed, starting from the explosion’s location and time on 12 August 2015. We simulated pollutant dispersal at various altitude levels (100 m with red, 500 m with blue, and 1000 m with green above ground level (AGL)) for a seven-day period following the event (see Figure 13).
The HYSPLIT simulation results, as illustrated in Figure 13, reveal that the air mass trajectories primarily move northward and eastward from the Tianjin explosion site over the seven-day period. Notably, the absence of a direct pathway indicates that the air mass circulated around the Bohai Sea and Shandong Peninsula, and extended to the Yellow Sea. Variations in dispersal patterns across different altitudes (100 m, 500 m, and 1000 m) are evident, with higher altitudes generally allowing pollutants to travel farther distances. The air masses appear to concentrate over nearby regions in northeastern China and parts of Mongolia, with some trajectories extending as far as eastern Russia.
Interestingly, our simulation does not suggest any direct pathway for air masses to reach South Korea within the seven-day period, which contrasts with findings reported by [8].
The trajectories reflect a significant influence of regional topography, with air masses circulating around the Huabei Plain and affected by the Taihang Mountains. This topographical influence likely plays a substantial role in shaping the dispersion patterns observed in the model, illustrating how geographical features can impact pollutant dispersal after industrial accidents.
These findings indicate that while some long-range transport of pollutants occurred, the dispersal patterns were more localized than previously anticipated. This modeling approach highlights the importance of trajectory analysis in assessing the environmental impact of industrial explosions, offering critical insights into the spatial extent of air pollution that complements the ground-level damage assessments derived from SAR-based coherence change ratio analyses. The integration of air pollution trajectory modeling and SAR-based damage assessment provides a comprehensive perspective on the partial environmental impact of the explosion, informing both immediate response efforts and long-term environmental monitoring.

6. Conclusions

This study presents a comprehensive analysis of structural damage assessment techniques for the 2015 Tianjin Port explosion using synthetic aperture radar (SAR) data. We evaluated four ratio-based approaches—normalized change ratio, log change ratio, coherence change ratio, and direct change ratio—highlighting each method’s strengths and limitations in terms of damage detection sensitivity and specificity.
To address the limitations of existing methods, we developed the Adaptive Weighted Coherence Ratio approach (AWCR). This innovative technique integrates key factors such as temporal baselines, distance from the explosion epicenter, and timing of data acquisition, creating a more nuanced and accurate classification of damage severity. By incorporating the Coherence Quality Factor (CQF), Post-Event Temporal Factor (PETF), and Distance Normalization Factor (DNF), our method accounts for both spatial and temporal dimensions of SAR data, thus enhancing its effectiveness in complex urban environments affected by industrial explosions.
The effectiveness of the AWCR approach was demonstrated through the analysis of both ascending (A69) and descending (D149) SAR data, highlighting the benefits of integrating multiple acquisition perspectives for a more reliable damage assessment. The resulting damage distribution map revealed a clear radial pattern emanating from the explosion epicenter, with notable asymmetries influenced by urban building density and types.
Our study also tackled the challenges of quantifying extreme damage at explosion epicenters, where conventional coherence scales prove inadequate. We introduced a new method that utilizes pre- and post-explosion raw coherence profiles to estimate crater dimensions, providing a more objective and reliable approach in chaotic post-explosion settings.
Furthermore, to validate the robustness of the AWCR method, we extended its application to the 2020 Beirut explosion. By applying the AWCR approach to SAR data from this separate industrial disaster, we demonstrated that the method is adaptable across diverse industrial explosion scenarios. The Beirut case study highlighted the AWCR method’s versatility in accurately classifying damage in different urban environments, thus reinforcing its generalizability and reliability.
Additionally, we investigated the environmental impact of the Tianjin explosion through air pollution and transport trajectory modeling. Using the NOAA HYSPLIT model, we simulated the dispersal of pollutants over a seven-day period, providing insights into the spatial extent of air pollution that complement our ground-level damage assessments.
The Adaptive Weighted Coherence Ratio approach represents a significant advancement in SAR-based damage assessment techniques for industrial explosions. By incorporating spatial and temporal factors, our method offers a robust framework for rapid and accurate damage classification. These improvements contribute to the development of more effective methodologies for disaster response and recovery planning, enhancing the capabilities of SAR-based techniques for real-time monitoring and assessment of industrial disasters.
Future research could include further refinement of the weighting factors, integration with other remote sensing technologies, and application to diverse disaster scenarios to validate the method’s versatility. Additionally, exploring synergies between structural damage assessment and environmental impact modeling may lead to more comprehensive disaster management strategies.

Author Contributions

The research concept was proposed by Z.S., who also contributed to the data curation and analysis, designed the research framework, processed the relevant data, and drafted the manuscript. C.F. participated in the data analysis and contributed to the manuscript revisions. All authors have read and agreed to the published version of the manuscript.

Funding

This research was funded by the supported by the Key Program of the National Natural Science Foundation of China (Grant No. 42430304) and the Joint Program of the National Natural Science Foundation of China (Grant No. U2139201).

Data Availability Statement

The data presented in this study are available from the corresponding author upon reasonable request.

Acknowledgments

We appreciate the ESA for providing the free processing tool SNAP and the Sentinel-1 SLC data. The majority of the figures in this study were created using the free and open-source drawing program GMT V6.0 (Generic Mapping Tools), for which we are grateful. We would like to thank anonymous reviewers for their comments, which were very useful for improving the quality of the MS.

Conflicts of Interest

The authors declare that they have no known competing financial interests or personal relationships that could have appeared to influence the work reported in this paper.

References

  1. Hou, J.; Gai, W.; Cheng, W.; Deng, Y. Hazardous chemical leakage accidents and emergency evacuation response from 2009 to 2018 in China: A review. Saf. Sci. 2021, 135, 105101. [Google Scholar] [CrossRef]
  2. Bloor, M.; Boyle, T.; Chintapatla, T. Failures, repeated—The Tianjin explosion. Loss Prev. Bull. 2022, 286, 17. [Google Scholar]
  3. Huang, P.; Zhang, J.Y. Facts related to August 12, 2015 explosion accident in Tianjin, China. Process Saf. Prog. 2015, 34, 313–314. [Google Scholar] [CrossRef]
  4. Hu, Z.L.; Ma, L.L.; Wu, H. Hazard evaluation framework for large yield explosions in urban environments: A case study of Beirut explosion. Process Saf. Environ. Prot. 2023, 179, 677–690. [Google Scholar] [CrossRef]
  5. Fu, G.; Wang, J.; Yan, M. Anatomy of Tianjin Port fire and explosion: Process and causes. Process Saf. Prog. 2016, 35, 216–220. [Google Scholar] [CrossRef]
  6. Zhang, H.; Duan, H.; Zuo, J.; Song, M.; Zhang, Y.; Yang, B.; Niu, Y. Characterization of post-disaster environmental management for hazardous materials incidents: Lessons learnt from the Tianjin warehouse explosion, China. J. Environ. Manag. 2017, 199, 21–30. [Google Scholar] [CrossRef]
  7. Liu, L.; Liang, S.; Liu, H.; Zhu, G.; Tan, W. Nitrate contamination in a coastal soil and water system: A case study after the Tianjin Port 8/12 explosion, China. Hum. Ecol. Risk Assess. 2019, 25, 2017–2031. [Google Scholar] [CrossRef]
  8. Chung, Y.S.; Kim, H.S. On the August 12, 2015 occurrence of explosions and fires in Tianjin, China, and the atmospheric impact observed in central Korea. Air Qual. Atmos. Health 2015, 8, 521–532. [Google Scholar] [CrossRef]
  9. Stramondo, S.; Bignami, C.; Chini, M.; Pierdicca, N.; Tertulliani, A. Satellite radar and optical remote sensing for earthquake damage detection: Results from different case studies. Int. J. Remote Sens. 2006, 27, 4433–4447. [Google Scholar] [CrossRef]
  10. Arciniegas, G.A.; Bijker, W.; Kerle, N.; Tolpekin, V.A. Coherence- and amplitude-based analysis of seismogenic damage in Bam, Iran, using ENVISAT ASAR data. IEEE Trans. Geosci. Remote Sens. 2007, 45, 1571–1581. [Google Scholar] [CrossRef]
  11. Jankaew, K.; Atwater, B.F.; Sawai, Y.; Choowong, M.; Charoentitirat, T.; Martin, M.E.; Prendergast , A. Medieval forewarning of the 2004 Indian Ocean tsunami in Thailand. Nature 2008, 455, 1228–1231. [Google Scholar] [CrossRef]
  12. Kim, M.; Park, S.E.; Lee, S.J. Detection of damaged buildings using temporal SAR data with different observation modes. Remote Sens. 2023, 15, 308. [Google Scholar] [CrossRef]
  13. Zhu, Q.; Guo, X.; Li, Z.; Li, D. A review of multi-class change detection for satellite remote sensing imagery. Geo-Spat. Inf. Sci. 2024, 27, 1–15. [Google Scholar] [CrossRef]
  14. Cheng, G.; Huang, Y.; Li, X.; Lyu, S.; Xu, Z.; Zhao, H.; Zhao, Q.; Xiang, S. Change detection methods for remote sensing in the last decade: A comprehensive review. Remote Sens. 2024, 16, 2355. [Google Scholar] [CrossRef]
  15. Wang, X.; Feng, G.; He, L.; An, Q.; Xiong, Z.; Lu, H.; Wang, W.; Li, N.; Zhao, Y.; Wang, Y.; et al. Evaluating urban building damage of 2023 Kahramanmaras, Turkey earthquake sequence using SAR change detection. Sensors 2023, 23, 6342. [Google Scholar] [CrossRef]
  16. Sun, Y.; Wang, Y.; Eineder, M. QuickQuakeBuildings: Post-earthquake SAR-Optical Dataset for Quick Damaged-building Detection. IEEE Geosci. Remote Sens. Lett. 2024, 21, 4011205. [Google Scholar] [CrossRef]
  17. Macchiarulo, V.; Giardina, G.; Milillo, P.; Aktas, Y.D.; Whitworth, M.R. Integrating post-event very high resolution SAR imagery and machine learning for building-level earthquake damage assessment. Bull. Earthq. Eng. 2024. [Google Scholar] [CrossRef]
  18. Lang, F.; Zhu, Y.; Zhao, J.; Hu, X.; Shi, H.; Zheng, N.; Zha, J. Flood Mapping of Synthetic Aperture Radar (SAR) Imagery Based on Semi-Automatic Thresholding and Change Detection. Remote Sens. 2024, 16, 2763. [Google Scholar] [CrossRef]
  19. Amitrano, D.; Di Martino, G.; Di Simone, A.; Imperatore, P. Flood detection with SAR: A review of techniques and datasets. Remote Sens. 2024, 16, 656. [Google Scholar] [CrossRef]
  20. Zhao, B.; Sui, H.; Liu, J.; Shi, W.; Wang, W.; Xu, C.; Wang, J. Flood inundation monitoring using multi-source satellite imagery: A knowledge transfer strategy for heterogeneous image change detection. Remote Sens. Environ. 2024, 314, 114373. [Google Scholar] [CrossRef]
  21. Wang, C.; Liu, Y.; Zhang, X.; Li, X.; Paramygin, V.; Sheng, P.; Zhao, X.; Xu, S. Scalable and rapid building damage detection after hurricane Ian using causal Bayesian networks and InSAR imagery. Int. J. Disaster Risk Reduct. 2024, 104, 104371. [Google Scholar] [CrossRef]
  22. Mondal, P.; Dutta, T.; Qadir, A.; Sharma, S. Radar and optical remote sensing for near real-time assessments of cyclone impacts on coastal ecosystems. Remote Sens. Ecol. Conserv. 2022, 8, 506–520. [Google Scholar] [CrossRef] [PubMed]
  23. Adriano, B.; Xia, J.; Baier, G.; Yokoya, N.; Koshimura, S. Multi-source data fusion based on ensemble learning for rapid building damage mapping during the 2018 Sulawesi earthquake and tsunami in Palu, Indonesia. Remote Sens. 2019, 11, 886. [Google Scholar] [CrossRef]
  24. Koshimura, S.; Moya, L.; Mas, E.; Bai, Y. Tsunami damage detection with remote sensing: A review. Geosciences 2020, 10, 177. [Google Scholar] [CrossRef]
  25. Adriano, B.; Yokoya, N.; Xia, J.; Miura, H.; Liu, W.; Matsuoka, M.; Koshimura, S. Learning from multimodal and multitemporal earth observation data for building damage mapping. ISPRS J. Photogramm. Remote Sens. 2021, 175, 132–143. [Google Scholar] [CrossRef]
  26. Boloorani, A.D.; Darvishi, M.; Weng, Q.; Liu, X. Post-war urban damage mapping using InSAR: The case of Mosul City in Iraq. ISPRS Int. J. Geo-Inf. 2021, 10, 140. [Google Scholar] [CrossRef]
  27. Fakhri, F.; Gkanatsios, I. Integration of Sentinel-1 and Sentinel-2 data for change detection: A case study in a war conflict area of Mosul city. Remote Sens. Appl. Soc. Environ. 2021, 22, 100505. [Google Scholar] [CrossRef]
  28. ElGharbawi, T.; Zarzoura, F. Damage detection using SAR coherence statistical analysis, application to Beirut, Lebanon. ISPRS J. Photogramm. Remote Sens. 2021, 173, 1–9. [Google Scholar] [CrossRef]
  29. Aimaiti, Y.; Sanon, C.; Koch, M.; Baise, L.G.; Moaveni, B. War-related building damage assessment in Kyiv, Ukraine, using Sentinel-1 radar and Sentinel-2 optical images. Remote Sens. 2022, 14, 6239. [Google Scholar] [CrossRef]
  30. Huang, Q.; Jin, G.; Xiong, X.; Ye, H.; Xie, Y. Monitoring urban change in conflict from the perspective of optical and SAR satellites: The case of Mariupol, a city in the conflict between RUS and UKR. Remote Sens. 2023, 15, 3096. [Google Scholar] [CrossRef]
  31. Kopiika, N.; Ninic, J.; Mitoulis, S. Damage characterisation using Sentinel-1 images: Case study of bridges in Ukraine. In Proceedings of the IABSE Symposium, Manchester 2024: Construction’s Role for a World in Emergency, Manchester, UK, 10–14 April 2024; pp. 367–375. [Google Scholar] [CrossRef]
  32. Yang, Y.; Xie, C.; Tian, B.; Guo, Y.; Zhu, Y.; Yang, Y.; Fang, H.; Bian, S.; Zhang, M. Large-scale building damage assessment based on recurrent neural networks using SAR coherence time series: A case study of the 2023 Turkey–Syria earthquake. Earthq. Spectra 2024, 40, 2285–2305. [Google Scholar] [CrossRef]
  33. Chen, D.; Zhao, Y.; Nelson, P.; Li, Y.; Wang, X.; Zhou, Y.; Guo, X. Estimating ship emissions based on AIS data for port of Tianjin, China. Atmos. Environ. 2016, 145, 10–18. [Google Scholar] [CrossRef]
  34. Chen, Q.; Wood, M.; Zhao, J. Case study of the Tianjin accident: Application of barrier and systems analysis to understand challenges to industry loss prevention in emerging economies. Process Saf. Environ. Prot. 2019, 131, 178–188. [Google Scholar] [CrossRef]
  35. Zong, Z.; Sun, Z.; Tan, Y.; Tian, C.; Qu, L.; Ji, L. Impact of an accidental explosion in Tianjin Port on enhanced atmospheric nitrogen deposition over the Bohai Sea inferred from aerosol nitrate dual isotopes. Atmos. Ocean. Sci. Lett. 2020, 13, 195–201. [Google Scholar] [CrossRef]
  36. Tianjin Port Explosion Accident Investigation Team of the State Council. Tianjin Port “8.12” Ruihai Company Dangerous Goods Warehouse Investigation Report on Extraordinarily Serious Fire and Explosion Accidents; Tianjin Port Explosion Accident Investigation Team of the State Council: Tianjin, China, 2016; pp. 1–107. (In Chinese) [Google Scholar]
  37. Török, Z.; Ozunu, A. Hazardous properties of ammonium nitrate and modeling of explosions using TNT equivalency. Environ. Eng. Manag. 2015, 14, 2671–2678. [Google Scholar] [CrossRef]
  38. Chiquito, M.; Castedo, R.; Lopez, L.M.; Santos, A.P.; Mancilla, J.M.; Yenes, J.I. Blast wave characteristics and TNT equivalent of improvised explosive device at small-scaled distances. Def. Sci. J. 2019, 69, 328–335. [Google Scholar] [CrossRef][Green Version]
  39. Mandal, D.; Vaka, D.S.; Bhogapurapu, N.R.; Vanama, V.S.K.; Kumar, V.; Rao, Y.S.; Bhattacharya, A. Sentinel-1 SLC Preprocessing Workflow for Polarimetric Applications: A Generic Practice for Generating Dual-pol Covariance Matrix Elements in SNAP S-1 Toolbox. Preprints 2019, 2019110393. [Google Scholar] [CrossRef]
  40. Hogenson, K.; Kristenson, H.; Kennedy, J.; Johnston, A.; Rine, J.; Logan, T.A.; Zhu, J.; Williams, F.; Herrmann, J.; Smale, J.; et al. Hybrid Pluggable Processing Pipeline (HyP3): A Cloud-Native Infrastructure for Generic Processing of SAR Data. In Proceedings of the 2016 AGU Fall Meeting, San Francisco, CA, USA, 12–16 December 2016. [Google Scholar]
  41. Ito, Y.; Hosokawa, M. Damage estimation model using temporal coherence ratio. In Proceedings of the IEEE International Geoscience and Remote Sensing Symposium, Toronto, ON, Canada, 24–28 June 2002; IEEE: New York, NY, USA, 2002; Volume 5, pp. 2859–2861. [Google Scholar] [CrossRef]
  42. Warmerdam, F. The geospatial data abstraction library. In Open Source Approaches in Spatial Data Handling; Hall, G.B., Leahy, M.G., Eds.; Springer: Berlin, Germany, 2008; pp. 87–104. [Google Scholar]
  43. Wessel, P.; Smith, W.H. New, improved version of Generic Mapping Tools released. Eos Trans. Am. Geophys. Union 1998, 79, 579. [Google Scholar] [CrossRef]
  44. Zebker, H.A.; Villasenor, J. Decorrelation in interferometric radar echoes. IEEE Trans. Geosci. Remote Sens. 1992, 30, 950–959. [Google Scholar] [CrossRef]
  45. Fielding, E.J.; Talebian, M.; Rosen, P.A.; Nazari, H.; Jackson, J.A.; Ghorashi, M.; Walker, R. Surface ruptures and building damage of the 2003 Bam, Iran, earthquake mapped by satellite synthetic aperture radar interferometric correlation. J. Geophys. Res. 2005, 110, 1–15. [Google Scholar] [CrossRef]
  46. Fielding, E.J.; Jung, J. Damage Proxy Mapping with SAR interferometric coherence change. Procedia Comput. Sci. 2024, 239, 2322–2328. [Google Scholar] [CrossRef]
  47. Rosen, P.A.; Hensley, S.; Joughin, I.R.; Li, F.K.; Madsen, S.N.; Rodriguez, E.; Goldstein, R.M. Synthetic aperture radar interferometry. Proc. IEEE 2000, 88, 333–382. [Google Scholar] [CrossRef]
  48. Takeuchi, S.; Suga, Y.; Yonezawa, C.; Chen, A.J. Detection of Urban Disaster Using InSAR: A Case Study for the 1999 Great Taiwan Earthquake. In Proceedings of the IEEE IGARSS, Honolulu, HI, USA, 24–28 July 2000; pp. 339–341. [Google Scholar]
  49. Yonezawa, C.; Takeuchi, S. Decorrelation of SAR data by urban damages caused by the 1995 Hyogoken-nanbu earthquake. Int. J. Remote Sens. 2001, 22, 1585–1600. [Google Scholar] [CrossRef]
  50. Suga, Y.; Takeuchi, S.; Oguro, Y.; Chen, A.J.; Ogawa, M.; Konishi, T.; Yonezawa, C. Application of ERS-2/SAR data for the 1999 Taiwan earthquake. Adv. Space Res. 2001, 28, 155–163. [Google Scholar] [CrossRef]
  51. Cui, B.; Zhang, Y.; Yan, L.; Cai, X. A SAR intensity images change detection method based on fusion difference detector and statistical properties. ISPRS Ann. Photogramm. Remote Sens. Spatial Inf. Sci. 2017, 4, 439–443. [Google Scholar] [CrossRef]
  52. Mastro, P.; Masiello, G.; Serio, C.; Pepe, A. Change detection techniques with synthetic aperture radar images: Experiments with random forests and Sentinel-1 observations. Remote Sens. 2022, 14, 3323. [Google Scholar] [CrossRef]
  53. Bovolo, F.; Bruzzone, L. A detail-preserving scale-driven approach to change detection in multitemporal SAR images. IEEE Trans. Geosci. Remote Sens. 2005, 43, 2963–2972. [Google Scholar] [CrossRef]
  54. Bazi, Y.; Bruzzone, L.; Melgani, F. An unsupervised approach based on the generalized Gaussian model to automatic change detection in multitemporal SAR images. IEEE Trans. Geosci. Remote Sens. 2005, 43, 874–887. [Google Scholar] [CrossRef]
  55. Ma, J.; Gong, M.; Zhou, Z. Wavelet fusion on ratio images for change detection in SAR images. IEEE Geosci. Remote Sens. Lett. 2012, 9, 1122–1126. [Google Scholar] [CrossRef]
  56. Lee, H.; Liu, J.G. Analysis of topographic decorrelation in SAR interferometry using ratio coherence imagery. IEEE Trans. Geosci. Remote Sens. 2001, 39, 223–232. [Google Scholar] [CrossRef]
  57. Hoffmann, J. Mapping damage during the Bam (Iran) earthquake using interferometric coherence. Int. J. Remote Sens. 2007, 28, 1199–1216. [Google Scholar] [CrossRef]
  58. Ge, P.; Gokon, H.; Meguro, K. A review on synthetic aperture radar-based building damage assessment in disasters. Remote Sens. Environ. 2020, 240, 111693. [Google Scholar] [CrossRef]
  59. Rignot, E.J.; Van Zyl, J.J. Change detection techniques for ERS-1 SAR data. IEEE Trans. Geosci. Remote Sens. 1993, 31, 896–906. [Google Scholar] [CrossRef]
  60. Bujor, F.T.; Nicolas, J.M.; Trouvé, E.; Rudant, J.P. Application of log-cumulants to change detection on multi-temporal SAR images. In Proceedings of the IEEE International Geoscience and Remote Sensing Symposium (IGARSS), Toulouse, France, 21–25 July 2003; IEEE: New York, NY, USA, 2003; Volume 2, pp. 1386–1388. [Google Scholar] [CrossRef]
  61. Hou, B.; Wei, Q.; Zheng, Y.; Wang, S. Unsupervised change detection in SAR image based on gauss-log ratio image fusion and compressed projection. IEEE J. Sel. Top. Appl. Earth Obs. Remote Sens. 2014, 7, 3297–3317. [Google Scholar] [CrossRef]
  62. Agapiou, A. Damage proxy map of the Beirut explosion on 4th of August 2020 as observed from the Copernicus sensors. Sensors 2020, 20, 6382. [Google Scholar] [CrossRef]
  63. Grünthal, G. European Macroseismic Scale 1998 (EMS-98); European Seismological Commission: Luxembourg, 1998. [Google Scholar]
  64. Pilger, C.; Gaebler, P.; Hupe, P.; Kalia, A.C.; Schneider, F.M.; Steinberg, A.; Sudhaus, H.; Ceranna, L. Yield estimation of the 2020 Beirut explosion using open access waveform and remote sensing data. Sci. Rep. 2021, 11, 14144. [Google Scholar] [CrossRef]
  65. Sadek, S.; Dabaghi, M.; O’Donnell, T.M.; Zimmaro, P.; Hashash, Y.M.; Stewart, J.P. Impacts of 2020 Beirut explosion on port infrastructure and nearby buildings. Nat. Hazards Rev. 2022, 23, 04022008. [Google Scholar] [CrossRef]
  66. Yu, G.; Duh, Y.S.; Yang, X.; Li, Y.; Chen, Y.; Li, Y.; Li, J.; Chen, R.; Gong, L.; Yang, B.; et al. Holistic case study on the explosion of ammonium nitrate in Tianjin Port. Sustainability 2022, 14, 3429. [Google Scholar] [CrossRef]
  67. Xu, R.; Chen, L.; Zheng, Y.; Li, Z.; Cao, M.; Fang, Q. Study of crater in the Gobi desert induced by ground explosion of large amounts of TNT explosive up to 10 tons. Shock Vib. 2021, 7357877. [Google Scholar] [CrossRef]
  68. Stein, A.F.; Draxler, R.R.; Rolph, G.D.; Stunder, B.J.B.; Cohen, M.D.; Ngan, F. NOAA’s HYSPLIT atmospheric transport and dispersion modeling system. Bull. Amer. Meteor. Soc. 2015, 96, 2059–2077. [Google Scholar] [CrossRef]
Figure 1. (a) Location of Tianjin Port, East China, displayed by the true-RGB-color Sentinel-2 photograph on 18 September 2019 (provided by the ESA). The coverage area of the ascending (Asc.) and descending (Desc.) SAR images employed in this study is depicted on the inset map. (b) One of the limitations of the traditional coherence change detection method—the change from a positive elevation (building) to a negative one (crater)—exceeds the measurement capabilities of traditional coherence change detection techniques.
Figure 1. (a) Location of Tianjin Port, East China, displayed by the true-RGB-color Sentinel-2 photograph on 18 September 2019 (provided by the ESA). The coverage area of the ascending (Asc.) and descending (Desc.) SAR images employed in this study is depicted on the inset map. (b) One of the limitations of the traditional coherence change detection method—the change from a positive elevation (building) to a negative one (crater)—exceeds the measurement capabilities of traditional coherence change detection techniques.
Remotesensing 16 04241 g001
Figure 2. On-site damage images from the explosion as of 12 September 2015, approximately one month after the event (images sourced from Google Earth). Images (a,c) depict the explosion epicenter with a large crater measuring 97 m in diameter and 2.7 m in depth. The toxic liquid, visible as a brownish color in the crater, likely contributed to unexplained decorrelation effects. Image (b) illustrates the complete destruction of buildings and vehicles, while (d) shows containers displaced due to the shockwave. Image (e), taken on 13 August 2015, captures chemically induced fires, facing south. The incident had potential ecological impacts on Bohai Bay [37,38] and air quality in the region [8].
Figure 2. On-site damage images from the explosion as of 12 September 2015, approximately one month after the event (images sourced from Google Earth). Images (a,c) depict the explosion epicenter with a large crater measuring 97 m in diameter and 2.7 m in depth. The toxic liquid, visible as a brownish color in the crater, likely contributed to unexplained decorrelation effects. Image (b) illustrates the complete destruction of buildings and vehicles, while (d) shows containers displaced due to the shockwave. Image (e), taken on 13 August 2015, captures chemically induced fires, facing south. The incident had potential ecological impacts on Bohai Bay [37,38] and air quality in the region [8].
Remotesensing 16 04241 g002
Figure 3. Workflow diagram for estimating explosion damage severity and subsequent classification. The methodology follows the framework adapted from [41].
Figure 3. Workflow diagram for estimating explosion damage severity and subsequent classification. The methodology follows the framework adapted from [41].
Remotesensing 16 04241 g003
Figure 4. Comparison of coherence changes before (a,c) and after (b,d) the Tianjin Port explosion. Descending SAR pairs: (a) 30 July–11 August 2015, and (b) 11 August–23 August 2015. Ascending SAR pairs: (c) 1 July–25 July 2015, and (d) 25 July–18 August 2015. White–black brightness scale indicates coherence amplitude, with darker pixels representing lower coherence. The light blue arrows highlight the areas significantly impacted by the explosion, indicating zones with observed coherence changes. The dotted lines outline these affected regions to visually emphasize the explosion’s spatial extent.
Figure 4. Comparison of coherence changes before (a,c) and after (b,d) the Tianjin Port explosion. Descending SAR pairs: (a) 30 July–11 August 2015, and (b) 11 August–23 August 2015. Ascending SAR pairs: (c) 1 July–25 July 2015, and (d) 25 July–18 August 2015. White–black brightness scale indicates coherence amplitude, with darker pixels representing lower coherence. The light blue arrows highlight the areas significantly impacted by the explosion, indicating zones with observed coherence changes. The dotted lines outline these affected regions to visually emphasize the explosion’s spatial extent.
Remotesensing 16 04241 g004
Figure 5. Comparison of four ratio-based change approaches for explosive analysis: (a) normalized change ratios, (b) logarithmic change ratios, (c) coherence change ratios, and (d) direct coherence ratio.
Figure 5. Comparison of four ratio-based change approaches for explosive analysis: (a) normalized change ratios, (b) logarithmic change ratios, (c) coherence change ratios, and (d) direct coherence ratio.
Remotesensing 16 04241 g005
Figure 6. Pre- and post-explosion coherence change ratio distribution. (a) Descending (track no. 149). (b) Ascending (track no. 69).
Figure 6. Pre- and post-explosion coherence change ratio distribution. (a) Descending (track no. 149). (b) Ascending (track no. 69).
Remotesensing 16 04241 g006
Figure 7. Timeline showing acquisition dates for (a) D149 and (b) A69, with explosion and pre- and post-event intervals marked.
Figure 7. Timeline showing acquisition dates for (a) D149 and (b) A69, with explosion and pre- and post-event intervals marked.
Remotesensing 16 04241 g007
Figure 8. Schematic diagram illustrating integrated damage assessment factors: Distance Normalization Factor (DNF), Coherence Quality Factor (CQF), and Post-Event Temporal Factor (PETF) across pre- and post-event intervals. The diagram also shows the radial damage zones from the explosion, including the inner, outer, and peripheral zones.
Figure 8. Schematic diagram illustrating integrated damage assessment factors: Distance Normalization Factor (DNF), Coherence Quality Factor (CQF), and Post-Event Temporal Factor (PETF) across pre- and post-event intervals. The diagram also shows the radial damage zones from the explosion, including the inner, outer, and peripheral zones.
Remotesensing 16 04241 g008
Figure 9. Weighted ratio classification for the Tianjin Port explosion, combining D149 and A69 data. The profile width we used here is 500 m. Red polygons represent tall buildings. Histogram shows weighted ratio distribution from 0.07 to >1.0.
Figure 9. Weighted ratio classification for the Tianjin Port explosion, combining D149 and A69 data. The profile width we used here is 500 m. Red polygons represent tall buildings. Histogram shows weighted ratio distribution from 0.07 to >1.0.
Remotesensing 16 04241 g009
Figure 10. Weighted ratio classification for the Tianjin Port explosion, with profiles from (a) the north to the south and (b) from the southwest to the northeast, showing damage distribution from the epicenter.
Figure 10. Weighted ratio classification for the Tianjin Port explosion, with profiles from (a) the north to the south and (b) from the southwest to the northeast, showing damage distribution from the epicenter.
Remotesensing 16 04241 g010
Figure 11. Pre- and post-explosion coherence change ratio distribution. (a) Descending (track no. 21). (b) Ascending (track no. 87). (c) Ascending (track no. 14). (d) Weighted ratio classification for the Beirut explosion incident, combining D21, A87, and A14 data.
Figure 11. Pre- and post-explosion coherence change ratio distribution. (a) Descending (track no. 21). (b) Ascending (track no. 87). (c) Ascending (track no. 14). (d) Weighted ratio classification for the Beirut explosion incident, combining D21, A87, and A14 data.
Remotesensing 16 04241 g011
Figure 12. Coherence profiles for the Tianjin Port explosion epicenter: (a,b) show west–east coherence profiles before (red) and after (blue) the explosion, revealing significant coherence reductions across the crater region; (c,d) display similar coherence changes along the south–north axis, highlighting the crater’s extent, with coherence values dropping noticeably post-explosion. Combined profiles outline the crater’s approximate dimensions, measuring approximately 90 m west–east and 80 m north–south.
Figure 12. Coherence profiles for the Tianjin Port explosion epicenter: (a,b) show west–east coherence profiles before (red) and after (blue) the explosion, revealing significant coherence reductions across the crater region; (c,d) display similar coherence changes along the south–north axis, highlighting the crater’s extent, with coherence values dropping noticeably post-explosion. Combined profiles outline the crater’s approximate dimensions, measuring approximately 90 m west–east and 80 m north–south.
Remotesensing 16 04241 g012
Figure 13. Seven-day forward trajectories for nearby regions at different altitudes on 13 August and 19 August 2015. The trajectories are color-coded by release height above ground level (AGL): red for 100 m, blue for 500 m, and green for 1000 m. The HYSPLIT model outputs the heights of the trajectory endpoints in meters above the model terrain level, specifying heights both above ground level and above mean sea level (MSL) [66]. N. Korea: North Korea; S. Korea: South Korea.
Figure 13. Seven-day forward trajectories for nearby regions at different altitudes on 13 August and 19 August 2015. The trajectories are color-coded by release height above ground level (AGL): red for 100 m, blue for 500 m, and green for 1000 m. The HYSPLIT model outputs the heights of the trajectory endpoints in meters above the model terrain level, specifying heights both above ground level and above mean sea level (MSL) [66]. N. Korea: North Korea; S. Korea: South Korea.
Remotesensing 16 04241 g013
Table 1. Sentinel-1 data used in this study.
Table 1. Sentinel-1 data used in this study.
Track No.DatePB. *Time *
D149 *2015/07/3039−13
2015/08/11−47−1
2015/08/23011
A692015/07/01−35−42
2015/07/25−108−18
2015/08/1806
*—D149 and A69 represent descending and ascending orbit track numbers; PB. *—perpendicular baseline; Time *—elapsed time.
Table 2. Adaptive Weighted Coherence Ratio Factors for 2020 Beirut explosion.
Table 2. Adaptive Weighted Coherence Ratio Factors for 2020 Beirut explosion.
SAR PairPre-Explosion DatesPost-Explosion DatesExplosion DateCQF *PETF *
D21 *2020/07/25–2020/07/312020/07/31–2020/08/062020/08/040.250.33
A142020/07/12–2020/07/242020/07/24–2020/08/052020/08/040.090.50
A872020/07/11–2020/07/232020/07/23–2020/08/042020/08/040.081.00
*—Descending (D21) and ascending (A14, A87) orbit track numbers; CQF *—Coherence Quality Factor; PETF *—Post-Event Temporal Factor.
Disclaimer/Publisher’s Note: The statements, opinions and data contained in all publications are solely those of the individual author(s) and contributor(s) and not of MDPI and/or the editor(s). MDPI and/or the editor(s) disclaim responsibility for any injury to people or property resulting from any ideas, methods, instructions or products referred to in the content.

Share and Cite

MDPI and ACS Style

Su, Z.; Fan, C. Adaptive Weighted Coherence Ratio Approach for Industrial Explosion Damage Mapping: Application to the 2015 Tianjin Port Incident. Remote Sens. 2024, 16, 4241. https://doi.org/10.3390/rs16224241

AMA Style

Su Z, Fan C. Adaptive Weighted Coherence Ratio Approach for Industrial Explosion Damage Mapping: Application to the 2015 Tianjin Port Incident. Remote Sensing. 2024; 16(22):4241. https://doi.org/10.3390/rs16224241

Chicago/Turabian Style

Su, Zhe, and Chun Fan. 2024. "Adaptive Weighted Coherence Ratio Approach for Industrial Explosion Damage Mapping: Application to the 2015 Tianjin Port Incident" Remote Sensing 16, no. 22: 4241. https://doi.org/10.3390/rs16224241

APA Style

Su, Z., & Fan, C. (2024). Adaptive Weighted Coherence Ratio Approach for Industrial Explosion Damage Mapping: Application to the 2015 Tianjin Port Incident. Remote Sensing, 16(22), 4241. https://doi.org/10.3390/rs16224241

Note that from the first issue of 2016, this journal uses article numbers instead of page numbers. See further details here.

Article Metrics

Back to TopTop