Study on Attenuation Correction for the Reflectivity of X-Band Dual-Polarization Phased-Array Weather Radar Based on a Network with S-Band Weather Radar
Abstract
1. Introduction
2. Data and Methods
2.1. Analysis Based on Disdrometer DSD Measurement
2.2. Radar Data
2.3. Previous Attenuation Correction
2.3.1. DP Method
2.3.2. ZPHI Method
2.3.3. Self-Consistent Method
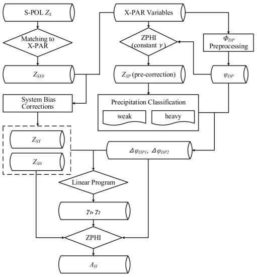
2.4. Attenuation Correction Based on S-Band Radar and Precipitation Classification
2.4.1. Reflectivity Conversion from S-Band to X-Band
2.4.2. Interpolation Matching of X-PAR and S-POL and Calculation of System Bias
2.4.3. Estimation of γ1 and γ2
3. Results
3.1. Analysis of the DSD Measurement
3.1.1. Statistic Analysis of the Variables Simulated from DSD Measurement
3.1.2. Case Study of the Variables Simulated by DSD Measurement
3.1.3. Fitting Relationship between S- and X-Band Reflectivity Based on DSD Data
3.2. Case Analysis of Attenuation Correction for X-PAR
3.2.1. The Calculation of PIA
- PIA0 as the difference between ZSX from S-POL and ZX0 (without attenuation correction) from X-PAR (Figure 7c).
- γ1 and γ2 calculated by the algorithm described in Section 2.4.3 using PIA0, φDP, and precipitation classification.
- According to Equations (9) and (12) and using γ1, γ2, φDP, and precipitation classification, PIAt (Figure 7f) was obtained for attenuation correction at the target time.
3.2.2. PPI Reflectivity Analysis
3.2.3. Error Analysis
3.2.4. Self-Consistency Analysis
3.3. Statistical Test
3.3.1. Case Selection
3.3.2. Comparison Experiments
- The data of all the gates within the X-PAR detection range, which were used to represent the overall attenuation-correction results.
- The data of the gates with ZSX0 > 45 dB, which were used to represent the attenuation-correction results in heavy rainfall.
- The data of the gates with 0°, which were used to represent the attenuation-correction results in strong attenuation area.
- Exp0: The measured reflectivity of X-PAR without attenuation correction.
- Exp1: Based on constant γ, the PIA was calculated through the DP method, that is, using the fitting γ obtained according to Section 3.1.1, and attenuation correction was performed with Equations (7) and (8).
- Exp2: To calculate γ1 and γ2 based on precipitation classification, and then the PIA was calculated using ; that is, γ1 and γ2 were calculated according to Section 2.4.3, and attenuation correction was performed with Equations (7) and (8).
- Exp3: Based on constant γ and the ZPHI method, AH was calculated for attenuation correction; that is, using the fitting γ obtained according to Section 3.1.1, and attenuation correction was performed with Equations (9) and (12).
- Exp4: To calculate γ1 and γ2 based on precipitation classification, and the AH was calculated based on the ZPHI method for attenuation correction; that is, γ1 and γ2 were calculated according to Section 2.4.3, and attenuation correction was performed with Equations (9) and (12).
- Exp5: The AH was calculated using the self-consistent method for attenuation correction; that is, calculating the optimal solution of γ for each ray path by Equations (13) and (14), and then combing with Equations (9) and (12) to perform attenuation correction.
3.3.3. Deviation Statistics
4. Discussion
Author Contributions
Funding
Data Availability Statement
Conflicts of Interest
References
- Wu, C.; Liu, L.; Liu, X.; Li, G.; Chen, C. Advances in Chinese dual-polarization and phased-array weather radars: Observational analysis of a supercell in southern China. J. Atmos. Ocean. Technol. 2018, 35, 1785–1806. [Google Scholar] [CrossRef]
- Zhao, G.; Huang, H.; Yu, Y.; Zhao, K.; Yang, Z.; Chen, G.; Zhang, Y. Study on the quantitative precipitation estimation of X-band dual-polarization phased array radar from specific differential phase. Remote Sens. 2023, 15, 359. [Google Scholar] [CrossRef]
- Bringi, V.N.; Chandrasekar, V.; Balakrishnan, N.; Zrnic, D. An examination of propagation effects in rainfall on radar measurements at microwave frequencies. J. Atmos. Ocean. Technol. 1990, 7, 829–840. [Google Scholar] [CrossRef]
- Testud, J.; Bouar, E.L.; OBligis, E.; Ali-Mehenni, M. The rain profiling algorithm applied to polarimetric weather radar. J. Atmos. Ocean. Technol. 2000, 17, 332–356. [Google Scholar] [CrossRef]
- Matrosov, S.Y. Evaluating polarimetric X-band radar rainfall estimators during HMT. J. Atmos. Ocean. Technol. 2010, 27, 122–134. [Google Scholar] [CrossRef]
- Park, S.G.; Bringi, V.N.; Chandrasekar, V.; Maki, M.; Iwanami, K. Correction of radar reflectivity and differential reflectivity for rain attenuation at X band. Part I: Theoretical and empirical basis. J. Atmos. Ocean. Technol. 2005, 22, 1621–1632. [Google Scholar] [CrossRef]
- Park, S.G.; Maki, M.; Iwanami, K.; Bringi, V.N.; Chandrasekar, V. Correction of radar reflectivity and differential reflectivity for rain attenuation at x band. Part II: Evaluation and application. J. Atmos. Ocean. Technol. 2005, 22, 1633–1655. [Google Scholar] [CrossRef]
- Matrosov, S.Y.; Clark, K.A.; Martner, B.E.; Tokay, A. X-band polarimetric radar measurements of rainfall. J. Appl. Meteorol. 2002, 41, 941–952. [Google Scholar] [CrossRef]
- Bringi, V.N.; Keenan, T.; Chandrasekar, V. Correcting c-band radar reflectivity and differential reflectivity data for rain attenuation: A self-consistent method with constraints. Geosci. Remote Sens. IEEE Trans. 2001, 39, 1906–1915. [Google Scholar] [CrossRef]
- Kim, D.S.; Maki, M.; Lee, D.I. Correction of X-band radar reflectivity and differential reflectivity for rain attenuation using differential phase. Atmos. Res. 2008, 90, 1–9. [Google Scholar] [CrossRef]
- Kim, D.S.; Maki, M.; Lee, D.I. Retrieval of three-dimensional raindrop size distribution using x-band polarimetric radar data. J. Atmos. Ocean. Technol. 2010, 27, 1265–1285. [Google Scholar] [CrossRef]
- Gorgucci, E.; Chandrasekar, V.; Baldini, L. Correction of x-band radar observation for propagation effects based on the self-consistency principle. J. Atmos. Ocean. Technol. 2006, 23, 1668–1681. [Google Scholar] [CrossRef]
- Gu, J.Y.; Ryzhkov, A.; Zhang, P.; Neilley, P.; Knight, M.; Wolf, B.; Lee, D.I. Polarimetric attenuation correction in heavy rain at C band. J. Appl. Meteorol. Climatol. 2011, 50, 39–58. [Google Scholar] [CrossRef]
- Scarchilli, G.; Gorgucci, V.; Chandrasekar, V.; Abdullah, D. Self-consistency of polarization diversity measurement of rainfall. IEEE Trans. Geosci. Remote Sens. 1996, 34, 22–26. [Google Scholar] [CrossRef]
- Chandrasekar, V.; Lim, S. Retrieval of Reflectivity in a Networked Radar Environment. J. Atmos. Ocean. Technol. 2008, 25, 1755–1767. [Google Scholar] [CrossRef]
- Lim, S.; Chandrasekar, V.; Wang, Y. A network based attenuation correction system for networked dual polarization radar observations. In Proceedings of the 2010 IEEE International Geoscience and Remote Sensing Symposium, Honolulu, HI, USA, 25–30 July 2010; pp. 2333–2336. [Google Scholar] [CrossRef]
- Cruz-Pol, S.; Mora, K.; Leon, L. Implementation and development of an attenuation correction algorithm for off-the-grid x-band radar network. In Proceedings of the 93rd American Meteorological Society Annual Meeting, San Juan, PR, USA, 1 January 2013. [Google Scholar]
- Lengfeld, K.; Clemens, M.; Merker, C.; Münster, H.; Ament, F. A simple method for attenuation correction in local x-band radar measurements using c-band radar data. J. Atmos. Ocean. Technol. 2016, 33, 2315–2329. [Google Scholar] [CrossRef]
- Wang, C.; Wu, C.; Liu, L.; Liu, X.; Chen, C. Integrated correction algorithm for x band dual-polarization radar reflectivity based on cinrad/sa radar. Atmosphere 2020, 11, 119. [Google Scholar] [CrossRef]
- Wu, Y.; Liu, L. Statistical characteristics of raindrop size distribution in the Tibetan Plateau and southern China. Adv. Atmos. Sci. 2017, 34, 727–736. [Google Scholar] [CrossRef]
- Tokay, A.; Petersen, W.A.; Gatlin, P.; Wingo, M. Comparison of raindrop size distribution measurements by collocated disdrometers. J. Atmos. Ocean. Technol. 2013, 30, 1672–1690. [Google Scholar] [CrossRef]
- Jaffrain, J.; Berne, A. Experimental quantification of the sampling uncertainty associated with measurements from parsivel disdrometers. J. Hydrometeorol. 2011, 12, 352–370. [Google Scholar] [CrossRef]
- Pruppacher, H.; Beard, K. A wind tunnel investigation of the internal circulation and shape of water drop falling at terminal velocity in air. Q. J. R. Meteorol. Soc. 1970, 96, 247–256. [Google Scholar] [CrossRef]
- Barber, P.; Yeh, C. Scattering of electromagnetic waves by arbitrarily shaped dielectric bodies. Appl. Opt. 1975, 14, 2864–2872. [Google Scholar] [CrossRef] [PubMed]
- Hitschfeld, W.; Bordan, J. Errors inherent in the radar measurement of rainfall at attenuating wavelengths. J. Atmos. Sci. 1954, 11, 58–67. [Google Scholar] [CrossRef]
- Matrosov, S.Y.; Kropfli, R.A.; Reinking, R.F.; Martner, B.E. Prospects for measuring rainfall using propagation differential phase in x- and ka-radar bands. J. Appl. Meteorol 1999, 38, 766–776. [Google Scholar] [CrossRef]
- Carey, L.; Rutledge, S.A.; Ahijevch, D.K.; Keenan, T. Correcting propagation effects in c-band polarimetric radar observations of tropical convection using differential propagation phase. J. Appl. Meteorol. 2000, 39, 1405–1433. [Google Scholar] [CrossRef]
- Giangrande, S.E.; Mcgraw, R.; Lei, L. An application of linear programming to polarimetric radar differential phase processing. J. Atmos. Ocean. Technol. 2013, 30, 1716–1729. [Google Scholar] [CrossRef]
- Chandrasekar, V.; Lim, S.; Gorgucci, E. Simulation of x-band rainfall observations from s-band radar data. J. Atmos. Ocean. Technol. 2006, 23, 1195–1205. [Google Scholar] [CrossRef]










| Radar Parameters | X-PAR | SS-POL |
|---|---|---|
| Frequency | 9.3~9.5 GHz | 2.8 GHz |
| Peak power | 256 W | ≥650 KW |
| Update time | 92 s | 360 s |
| Range coverage | 42 km | 230 km |
| Range resolution | 30 m | 250 m |
| Elevation-scan range | 0.9°~20.7° with 1.8° step | 0.5°, 1.5°, 2.4°, 3.2°, 4.3°, 6.0°, 9.8°, 14.5°, 19.4° |
| Beamwidth | Horizontal: 3.6°; vertical: 1.8° | Horizontal: <1°; vertical: <1° |
| Array plane normal angle | 15° | |
| Scan mode | VRHI | VPPI |
| Date | X-PAR1 (22.65°N, 113.85°E) | X-PAR2 (22.48°N, 114.56°E) |
|---|---|---|
| 17 May | 16:55–18:20 | 17:54–19:00 |
| 29 May | 13:56–16:45 | 18:31–20:00 |
| 5 June | 08:26–13:14 | 09:54–13:31 |
| 6 June | 12:56–18:02 | 11:24–20:31 |
| 7 June | 12:57–20:25 | 14:12–23:54 |
| 4 August | 17:56–02:51 (the next day, ND) | 04:25 (ND)–07:53 (ND) |
| 11 August | 20:02–21:32 | 19:54–20:30 |
| 12 September | 02:27–03:26 | 04:42–05:54 |
| 14 September | 21:26–23:02 | 22:54–01:31 (ND) |
| Method | Estimation of γ | Calculation of AH (or PIA) |
|---|---|---|
| Exp1 | Constant γ (fitting from historical DSD) | DP method, as Equation (7) |
| Exp2 | γ1, γ2 (based on S- and X-band radar network and precipitation classification) | DP method, as Equation (7) |
| Exp3 | Constant γ (fitting from historical DSD) | ZPHI, as Equation (9) |
| Exp4 | γ1, γ2 (based on S- and X-band radar network and precipitation classification) | ZPHI, as Equation (9) |
| Exp5 | Self-consistent method | ZPHI, as Equation (9) |
| ZSX0 | Method | ZX-Bias | MD | MAD | RMSD | R | |
|---|---|---|---|---|---|---|---|
| All gates | 27.74 | Exp0 | 25.93 | −1.81 | 4.41 | 6.63 | 0.79 |
| Exp1 | 28.37 | 0.62 | 3.14 | 4.57 | 0.89 | ||
| Exp2 | 28.45 | 0.71 | 3.13 | 4.58 | 0.89 | ||
| Exp3 | 28.37 | 0.62 | 3.14 | 4.57 | 0.89 | ||
| Exp4 | 28.45 | 0.71 | 3.14 | 4.58 | 0.89 | ||
| Exp5 | 28.42 | 0.68 | 3.16 | 4.61 | 0.88 | ||
| ZSX0 > 45 dB | 48.61 | Exp0 | 35.28 | −13.33 | 13.37 | 15.74 | 0.07 |
| Exp1 | 45.14 | −3.47 | 4.20 | 5.62 | 0.42 | ||
| Exp2 | 45.90 | −2.71 | 3.77 | 5.19 | 0.44 | ||
| Exp3 | 45.73 | −2.87 | 3.92 | 5.36 | 0.43 | ||
| Exp4 | 45.99 | −2.62 | 3.81 | 5.22 | 0.45 | ||
| Exp5 | 46.32 | −2.29 | 3.75 | 5.25 | 0.45 | ||
| φDP > 40° | 41.38 | Exp0 | 24.05 | −17.33 | 17.42 | 18.76 | 0.58 |
| Exp1 | 40.07 | −1.31 | 4.06 | 5.37 | 0.79 | ||
| Exp2 | 41.25 | −0.13 | 3.79 | 5.17 | 0.79 | ||
| Exp3 | 40.44 | −0.93 | 3.87 | 5.20 | 0.80 | ||
| Exp4 | 41.04 | −0.33 | 3.83 | 5.18 | 0.79 | ||
| Exp5 | 41.22 | −0.15 | 3.99 | 5.46 | 0.77 |
| ZSX0 | Method | ZX-Bias | MD | MAD | RMSD | R | |
|---|---|---|---|---|---|---|---|
| All gates | 33.03 | Exp0 | 28.33 | −4.70 | 6.12 | 8.66 | 0.58 |
| Exp1 | 33.46 | 0.42 | 2.92 | 4.01 | 0.88 | ||
| Exp2 | 33.82 | 0.78 | 2.90 | 4.00 | 0.88 | ||
| Exp3 | 33.70 | 0.67 | 2.88 | 3.96 | 0.88 | ||
| Exp4 | 33.82 | 0.78 | 2.87 | 3.97 | 0.88 | ||
| Exp5 | 34.01 | 0.97 | 2.96 | 4.07 | 0.88 | ||
| ZSX0 > 45 dB | 47.99 | Exp0 | 33.00 | −14.99 | 15.06 | 16.97 | 0.00 |
| Exp1 | 45.27 | −2.72 | 3.63 | 4.78 | 0.34 | ||
| Exp2 | 46.25 | −1.75 | 3.14 | 4.28 | 0.37 | ||
| Exp3 | 46.13 | −1.87 | 3.29 | 4.44 | 0.35 | ||
| Exp4 | 46.39 | −1.61 | 3.13 | 4.27 | 0.38 | ||
| Exp5 | 47.38 | −0.61 | 3.11 | 4.26 | 0.39 | ||
| φDP > 40° | 43.08 | Exp0 | 25.95 | −17.13 | 17.17 | 18.11 | 0.40 |
| Exp1 | 41.78 | −1.30 | 3.44 | 4.54 | 0.69 | ||
| Exp2 | 43.00 | −0.07 | 3.18 | 4.33 | 0.69 | ||
| Exp3 | 42.46 | −0.62 | 3.20 | 4.29 | 0.70 | ||
| Exp4 | 42.95 | −0.12 | 3.13 | 4.26 | 0.70 | ||
| Exp5 | 43.97 | 0.89 | 3.40 | 4.63 | 0.68 |
Disclaimer/Publisher’s Note: The statements, opinions and data contained in all publications are solely those of the individual author(s) and contributor(s) and not of MDPI and/or the editor(s). MDPI and/or the editor(s) disclaim responsibility for any injury to people or property resulting from any ideas, methods, instructions or products referred to in the content. |
© 2023 by the authors. Licensee MDPI, Basel, Switzerland. This article is an open access article distributed under the terms and conditions of the Creative Commons Attribution (CC BY) license (https://creativecommons.org/licenses/by/4.0/).
Share and Cite
Geng, F.; Liu, L. Study on Attenuation Correction for the Reflectivity of X-Band Dual-Polarization Phased-Array Weather Radar Based on a Network with S-Band Weather Radar. Remote Sens. 2023, 15, 1333. https://doi.org/10.3390/rs15051333
Geng F, Liu L. Study on Attenuation Correction for the Reflectivity of X-Band Dual-Polarization Phased-Array Weather Radar Based on a Network with S-Band Weather Radar. Remote Sensing. 2023; 15(5):1333. https://doi.org/10.3390/rs15051333
Chicago/Turabian StyleGeng, Fei, and Liping Liu. 2023. "Study on Attenuation Correction for the Reflectivity of X-Band Dual-Polarization Phased-Array Weather Radar Based on a Network with S-Band Weather Radar" Remote Sensing 15, no. 5: 1333. https://doi.org/10.3390/rs15051333
APA StyleGeng, F., & Liu, L. (2023). Study on Attenuation Correction for the Reflectivity of X-Band Dual-Polarization Phased-Array Weather Radar Based on a Network with S-Band Weather Radar. Remote Sensing, 15(5), 1333. https://doi.org/10.3390/rs15051333
