Mapping a Cloud-Free Rice Growth Stages Using the Integration of PROBA-V and Sentinel-1 and Its Temporal Correlation with Sub-District Statistics
Abstract
1. Introduction
2. Background, Study Area, and Data
2.1. Rice Growth Stages
2.2. Study Area
2.3. Satellite Imagery
2.4. Local Statistics
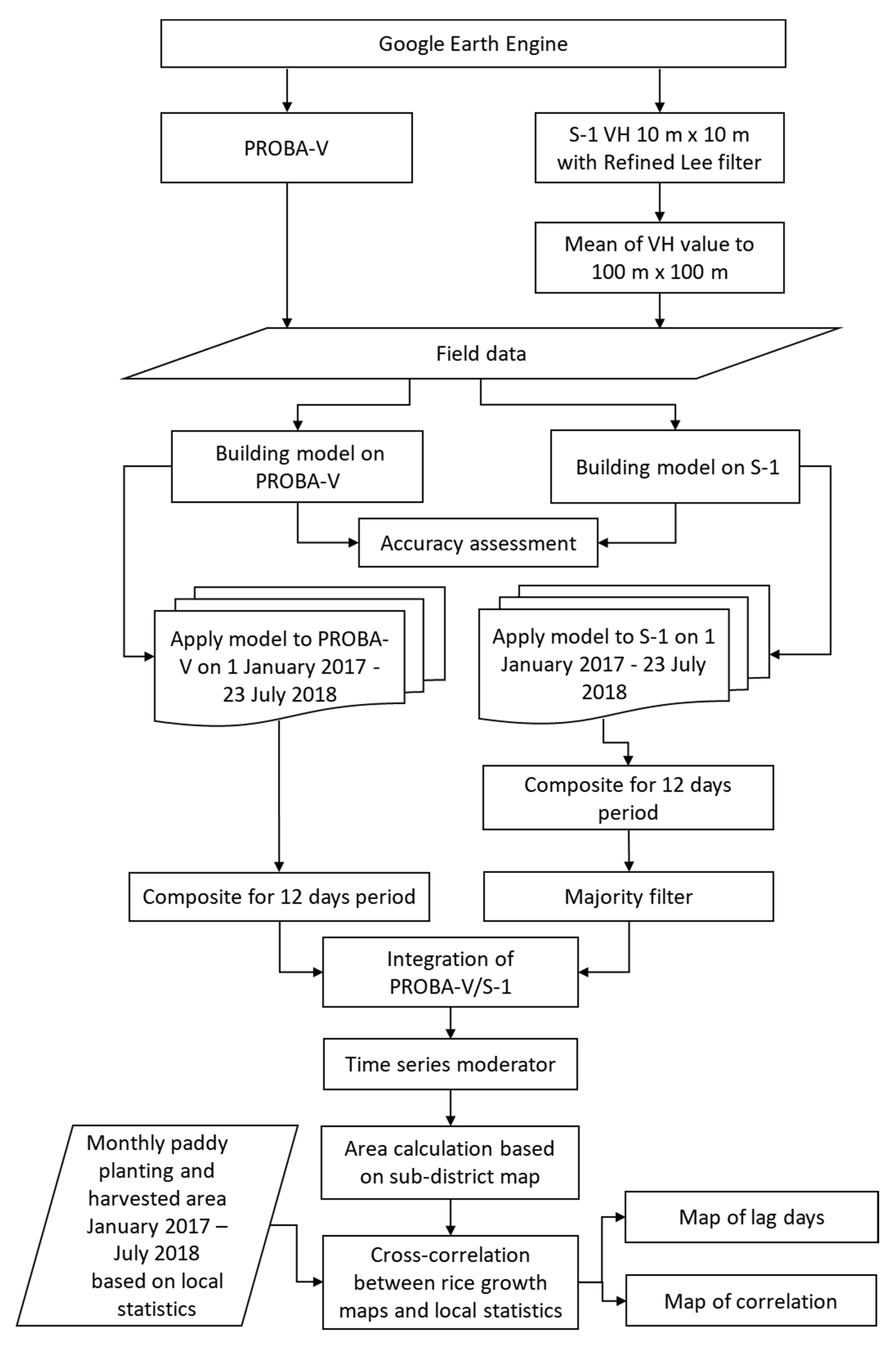
3. Methods
3.1. Data Sampling
3.2. Building Classification Models
3.3. Accuracy Assessment
3.4. Integration Map of PROBA-V and Sentinel-1, and Time Series Modulator
3.5. Cross-Correlation
4. Results
4.1. Spectral Bands of PROBA and VH Backscattering
4.2. Accuracy of the Machine Learning Model
4.3. Rice Growth Stages Maps from the Integration of PROBA-V and Sentinel-1
4.4. Time-Series Rice Growth Stages Area
4.5. Results of Cross-Correlation Analysis
5. Discussion
6. Conclusions
Supplementary Materials
Author Contributions
Funding
Institutional Review Board Statement
Informed Consent Statement
Data Availability Statement
Acknowledgments
Conflicts of Interest
References
- Normile, D. Reinventing Rice to Feed the World. Science 2008, 321, 330. [Google Scholar] [CrossRef]
- FAO: Food Agriculture Organization. FAOSTAT Citation Database Results; FAO: Rome, Italy, 1997. [Google Scholar]
- Parry, M.; Rosenzweig, C.; Livermore, M. Climate change, global food supply and risk of hunger. Philos. Trans. R. Soc. B Biol. Sci. 2005, 360, 2125–2138. [Google Scholar] [CrossRef]
- Van der Velde, M.; Bareuth, B. A quality assessment of the MARS crop yield forecasting system for the European Union. In Proceedings of the European Geosciences Union General Assembly 2015, Vienna, Austria, 12–17 April 2015. [Google Scholar]
- De Boissezon, H. Rapid estimates of acreage and potential yield in the European Union. In Proceedings of the Workshop for the Central and Eastern Europe on: Agrometereological Models: Theory and Applications in the MARS Project, Ispra, Italy, 21–25 November 1994. [Google Scholar]
- Whitcraft, A.; Becker-Reshef, I.; Justice, C. A Framework for Defining Spatially Explicit Earth Observation Requirements for a Global Agricultural Monitoring Initiative (GEOGLAM). Remote Sens. 2015, 7, 1461–1481. [Google Scholar] [CrossRef]
- Wu, B.; Meng, J.; Li, Q.; Yan, N.; Du, X.; Zhang, M. Remote sensing-based global crop monitoring: Experiences with China’s CropWatch system. Int. J. Digit. Earth 2014, 7, 113–137. [Google Scholar] [CrossRef]
- Phung, H.-P.; Nguyen, L.-D.; Nguyen-Huy, T.; Le-Toan, T.; Apan, A. Monitoring rice growth status in the Mekong Delta, Vietnam using multitemporal Sentinel-1 data. J. Appl. Remote Sens. 2020, 14, 014518. [Google Scholar] [CrossRef]
- Mansaray, L.R.; Wang, F.; Kanu, A.S.; Yang, L.; Mansaray, L.R.; Wang, F.; Kanu, A.S.; Yang, L. Evaluating Sentinel-1A datasets for rice leaf area index estimation based on machine learning regression models. Geocarto Int. 2020, 1–12. [Google Scholar] [CrossRef]
- Jo, H.-W.; Lee, S.; Park, E.; Lim, C.-H.; Song, C.; Lee, H.; Ko, Y.; Cha, S.; Yoon, H.; Lee, W.-K. Deep Learning Applications on Multitemporal SAR (Sentinel-1) Image Classification Using Confined Labeled Data: The Case of Detecting Rice Paddy in South Korea. IEEE Trans. Geosci. Remote Sens. 2020, 58, 7589–7601. [Google Scholar] [CrossRef]
- Inoue, S.; Ito, A.; Yonezawa, C. Mapping Paddy Fields in Japan by Using a Sentinel-1 SAR Time Series Supplemented by Sentinel-2 Images on Google Earth Engine. Remote Sens. 2020, 12, 1622. [Google Scholar] [CrossRef]
- Wakabayashi, H.; Motohashi, K.; Kitagami, T.; Tjahjono, B.; Dewayani, S.; Hidayat, D.; Hongo, C. Flooded area extraction of rice paddy field in Indonesia using Sentinel-1 SAR data. Int. Arch. Photogramm. Remote Sens. Spat. Inf. Sci. 2019, XLII-3/W7, 73–76. [Google Scholar] [CrossRef]
- Bazzi, H.; Baghdadi, N.; El Hajj, M.; Zribi, M.; Minh, D.H.T.; Ndikumana, E.; Courault, D.; Belhouchette, H. Mapping paddy rice using Sentinel-1 SAR time series in Camargue, France. Remote Sens. 2019, 11, 887. [Google Scholar] [CrossRef]
- Lasko, K.; Vadrevu, K.P.; Tran, V.T.; Justice, C. Mapping Double and Single Crop Paddy Rice with Sentinel-1A at Varying Spatial Scales and Polarizations in Hanoi, Vietnam. IEEE J. Sel. Top. Appl. Earth Obs. Remote Sens. 2018, 11, 498–512. [Google Scholar] [CrossRef]
- Nguyen, D.B.; Gruber, A.; Wagner, W. Mapping rice extent and cropping scheme in the Mekong Delta using Sentinel-1A data. Remote Sens. Lett. 2016, 7, 1209–1218. [Google Scholar] [CrossRef]
- Satalino, G.; Balenzano, A.; Mattia, F. Sentinel-1 SAR Data for Mapping Agricultural Crops Not Dominated by Volume Scattering. In Proceedings of the 2012 IEEE International Geoscience and Remote Sensing Symposium, Munich, Germany, 22–27 July 2012; pp. 6801–6804. [Google Scholar]
- Mandal, D.; Kumar, V.; Bhattacharya, A.; Rao, Y.S.; Siqueira, P.; Bera, S. Sen4Rice: A Processing Chain for Differentiating Early and Late Transplanted Rice Using Time-Series Sentinel-1 SAR Data With Google Earth Engine. IEEE Geosci. Remote Sens. Lett. 2018, 15, 1947–1951. [Google Scholar] [CrossRef]
- Yuzugullu, O.; Erten, E.; Hajnsek, I. Rice Growth Monitoring by Means of X-Band Co-polar SAR: Feature Clustering and BBCH Scale. IEEE Geosci. Remote Sens. Lett. 2015, 12, 1218–1222. [Google Scholar] [CrossRef]
- Koppe, W.; Gnyp, M.L.; Hütt, C.; Yao, Y.; Miao, Y.; Chen, X.; Bareth, G. Rice monitoring with multi-temporal and dual-polarimetric TerraSAR-X data. Int. J. Appl. Earth Obs. Geoinf. 2013, 21, 568–576. [Google Scholar] [CrossRef]
- Zhang, Y.; Yang, B.; Liu, X.; Wang, C. Estimation of rice grain yield from dual-polarization Radarsat-2 SAR data by integrating a rice canopy scattering model and a genetic algorithm. Int. J. Appl. Earth Obs. Geoinf. 2017, 57, 75–85. [Google Scholar] [CrossRef]
- Li, K.; Brisco, B.; Yun, S.; Touzi, R. Polarimetric decomposition with RADARSAT-2 for rice mapping and monitoring. Can. J. Remote Sens. 2012, 38, 169–179. [Google Scholar] [CrossRef]
- Wu, F.; Wang, C.; Zhang, H.; Zhang, B.; Tang, Y. Rice Crop Monitoring in South China With RADARSAT-2 Quad-Polarization SAR Data. IEEE Geosci. Remote Sens. Lett. 2011, 8, 196–200. [Google Scholar] [CrossRef]
- Zhang, G.; Xiao, X.; Dong, J.; Xin, F.; Zhang, Y.; Qin, Y.; Doughty, R.B.; Moore, B. Fingerprint of rice paddies in spatial–temporal dynamics of atmospheric methane concentration in monsoon Asia. Nat. Commun. 2020, 11. [Google Scholar] [CrossRef] [PubMed]
- Mascolo, L.; Forino, G.; Nunziata, F.; Pugliano, G.; Migliaccio, M. A New Methodology for Rice Area Monitoring with COSMO-SkyMed HH-VV PingPong Mode SAR Data. IEEE J. Sel. Top. Appl. Earth Obs. Remote Sens. 2019, 12, 1076–1084. [Google Scholar] [CrossRef]
- Son, N.-T.; Chen, C.-F.; Chen, C.-R.; Minh, V.-Q. Assessment of Sentinel-1A data for rice crop classification using random forests and support vector machines. Geocarto Int. 2017, 1–15. [Google Scholar] [CrossRef]
- Sianturi, R.; Jetten, V.G.; Sartohadi, J. Mapping cropping patterns in irrigated rice fields in West Java: Towards mapping vulnerability to flooding using time-series MODIS imageries. Int. J. Appl. Earth Obs. Geoinf. 2018, 66, 1–13. [Google Scholar] [CrossRef]
- Rudiyanto; Minasny, B.; Shah, R.M.; Che Soh, N.; Arif, C.; Indra Setiawan, B. Automated Near-Real-Time Mapping and Monitoring of Rice Extent, Cropping Patterns, and Growth Stages in Southeast Asia Using Sentinel-1 Time Series on a Google Earth Engine Platform. Remote Sens. 2019, 11, 1666. [Google Scholar] [CrossRef]
- Nelson, A.; Setiyono, T.; Rala, A.; Quicho, E.; Raviz, J.; Abonete, P.; Maunahan, A.; Garcia, C.; Bhatti, H.; Villano, L.; et al. Towards an Operational SAR-Based Rice Monitoring System in Asia: Examples from 13 Demonstration Sites across Asia in the RIICE Project. Remote Sens. 2014, 6, 10773–10812. [Google Scholar] [CrossRef]
- Holecz, F.; Barbieri, M.; Collivignarelli, F.; Gatti, L.; Nelson, A.; Setiyono, T.D.; Boschetti, M.; Manfron, G.; Brivio, P.A.; Quilang, E.J.; et al. An Operational Remote Sensing Based Service for Rice Production Estimation at National Scale. ESA Living Planet Symp. 2013. [Google Scholar] [CrossRef]
- Yang, X.; Chen, Y.; Wang, J. Combined use of Sentinel-2 and Landsat 8 to monitor water surface area dynamics using Google Earth Engine. Remote Sens. Lett. 2020, 11, 687–696. [Google Scholar] [CrossRef]
- Liu, L.; Xiao, X.; Qin, Y.; Wang, J.; Xu, X.; Hu, Y.; Qiao, Z. Mapping cropping intensity in China using time series Landsat and Sentinel-2 images and Google Earth Engine. Remote Sens. Environ. 2020, 239, 111624. [Google Scholar] [CrossRef]
- Perbet, P.; Fortin, M.; Ville, A.; Béland, M. Near real-time deforestation detection in Malaysia and Indonesia using change vector analysis with three sensors. Int. J. Remote Sens. 2019, 40, 7439–7458. [Google Scholar] [CrossRef]
- Cai, Y.; Lin, H.; Zhang, M. Mapping paddy rice by the object-based random forest method using time series Sentinel-1/Sentinel-2 data. Adv. Space Res. 2019, 64, 2233–2244. [Google Scholar] [CrossRef]
- Mansaray, L.; Huang, W.; Zhang, D.; Huang, J.; Li, J. Mapping Rice Fields in Urban Shanghai, Southeast China, Using Sentinel-1A and Landsat 8 Datasets. Remote Sens. 2017, 9, 257. [Google Scholar] [CrossRef]
- Tian, H.; Wu, M.; Wang, L.; Niu, Z. Mapping early, middle and late rice extent using Sentinel-1A and Landsat-8 data in the poyang lake plain, China. Sensors 2018, 18, 185. [Google Scholar] [CrossRef]
- Shimabukuro, Y.E.; Ieee, S.; Arai, E.; Duarte, V.; Dutra, A.C. Discriminating Land Use and Land Cover Classes in Brazil Based on the Annual PROBA-V 100 m Time Series. IEEE J. Sel. Top. Appl. Earth Obs. Remote Sens. 2020. [Google Scholar] [CrossRef]
- Bórnez, K.; Descals, A.; Verger, A.; Peñuelas, J. Land surface phenology from VEGETATION and PROBA-V data. Assessment over deciduous forests. Int. J. Appl. Earth Obs. Geoinf. 2020, 84, 101974. [Google Scholar] [CrossRef]
- PUSDATIN. Manual of SIMOTANDI application (in Indonesian). Available online: http://sig.pertanian.go.id/pdf/Pedoman_Pemanfaatan_Aplikasi%20_Simotandi.pdf (accessed on 28 March 2019).
- Ramadhani, F.; Pullanagari, R.; Kereszturi, G.; Procter, J. Automatic Mapping of Rice Growth Stages Using the Integration of SENTINEL-2, MOD13Q1, and SENTINEL-1. Remote Sens. 2020, 12, 3613. [Google Scholar] [CrossRef]
- Bouman, B. Rice Knowledge Bank. Available online: www.knowledgebank.irri.org (accessed on 20 July 2019).
- Kawamura, K.; Ikeura, H.; Phongchanmaixay, S.; Khanthavong, P. Canopy Hyperspectral Sensing of Paddy Fields at the Booting Stage and PLS Regression can Assess Grain Yield. Remote Sens. 2018, 10, 1249. [Google Scholar] [CrossRef]
- BPS-West-Java. West Java Province in Figures 2018; Statistics of West Java Agency: Bandung, West Java, Indonesia, 2018. [Google Scholar]
- Kottek, M.; Grieser, J.; Beck, C.; Rudolf, B.; Rubel, F. World Map of the Köppen-Geiger climate classification updated. Meteorol. Z. 2006, 15, 259–263. [Google Scholar] [CrossRef]
- Meroni, M.; Fasbender, D.; Balaghi, R.; Dali, M.; Haffani, M.; Haythem, I.; Hooker, J.; Lahlou, M.; Lopez-Lozano, R.; Mahyou, H.; et al. Evaluating NDVI Data Continuity Between SPOT-VEGETATION and PROBA-V Missions for Operational Yield Forecasting in North African Countries. IEEE Trans. Geosci. Remote Sens. 2016, 54, 795–804. [Google Scholar] [CrossRef]
- Sterckx, S.; Benhadj, I.; Duhoux, G.; Livens, S.; Dierckx, W.; Goor, E.; Adriaensen, S.; Heyns, W.; Van Hoof, K.; Strackx, G.; et al. The PROBA-V mission: Image processing and calibration. Int. J. Remote Sens. 2014, 35, 2565–2588. [Google Scholar] [CrossRef]
- Lee, J.-S. Refined filtering of image noise using local statistics. Comput. Graph. Image Process. 1981, 15, 380–389. [Google Scholar] [CrossRef]
- Dinas Pertanian, K.I. Rice Statistics in Indramayu Regency (in Bahasa Indonesia); Dinas Pertanian Kab. Indramayu: Indramayu, Indonesia, 2018. [Google Scholar]
- Dinas Pertanian, K.K. Rice Statistics in Karawang Regency (in Bahasa Indonesia); Dinas Pertanian Kab. Karawang: Karawang, Indonesia, 2018. [Google Scholar]
- Dinas Pertanian, K.S. Rice Statistics in Subang Regency (in Bahasa Indonesia); Dinas Pertanian Kab. Subang: Subang, Indonesia, 2018. [Google Scholar]
- Pi-Fuei, H.; Lee, L.C.; Nai-Yu, C. Effect of spatial resolution on classification errors of pure and mixed pixels in remote sensing. IEEE Trans. Geosci. Remote Sens. 2001, 39, 2657–2663. [Google Scholar] [CrossRef]
- R Core Team. R: A Language and Environment for Statistical Computing; R Foundation for Statistical Computing: Vienna, Austria, 2017. [Google Scholar]
- Kuhn, M. Building Predictive Models in R Using the caret Package. J. Stat. Softw. 2008, 28, 26. [Google Scholar] [CrossRef]
- Guyon, I.; Vapnik, V.; Boser, B.; Bottou, L.; Solla, S.A. Capacity control in linear classifiers for pattern recognition. In Proceedings of the 11th IAPR International Conference on Pattern Recognition. Vol.II. Conference B: Pattern Recognition Methodology and Systems, The Hague, The Netherlands, 30 August–3 September 1992; 1992; Volume 2, pp. 385–388. [Google Scholar]
- Cortes, C.; Vapnik, V. Support-Vector Networks. Mach. Learn. 1995, 20, 273–297. [Google Scholar] [CrossRef]
- Onojeghuo, A.O.; Blackburn, G.A.; Wang, Q.; Atkinson, P.M.; Kindred, D.; Miao, Y. Mapping paddy rice fields by applying machine learning algorithms to multi-temporal Sentinel-1A and Landsat data. Int. J. Remote Sens. 2018, 39, 1042–1067. [Google Scholar] [CrossRef]
- Griffiths, P.; Hostert, P.; Gruebner, O.; der Linden, S.v. Mapping megacity growth with multi-sensor data. Remote Sens. Environ. 2010, 114, 426–439. [Google Scholar] [CrossRef]
- Ramadhani, F.; Pullanagari, R.; Kereszturi, G.; Procter, J. Mapping of rice growth phases and bare land using Landsat-8 OLI with machine learning. Int. J. Remote Sens. 2020, 41, 8428–8452. [Google Scholar] [CrossRef]
- Foody, G.M. Status of land cover classification accuracy assessment. Remote Sens. Environ. 2002, 80, 185–201. [Google Scholar] [CrossRef]
- Holmes, E.; Ward, E. Applied Time Series Analysis for Fisheries and Environmental Sciences; NOAA Fisheries: Seattle, WA, USA, 2019. [Google Scholar]
- Liu, Y.; Chen, K.; Xu, P.; Li, Z. Modeling and Characteristics of Microwave Backscattering From Rice Canopy Over Growth Stages. IEEE Trans. Geosci. Remote Sens. 2016, 54, 6757–6770. [Google Scholar] [CrossRef]
- Soo Chin, L.; Suan-Pheng, K.; To-Phuc, T.; Ping, C.; Vo Quang, M.; Hock, L. Application of multitemporal ERS-2 synthetic aperture radar in delineating rice cropping systems in the Mekong River Delta, Vietnam. IEEE Trans. Geosci. Remote Sens. 1998, 36, 1412–1420. [Google Scholar] [CrossRef]
- Roy, D.P.; Huang, H.; Boschetti, L.; Giglio, L.; Yan, L.; Zhang, H.H.; Li, Z. Landsat-8 and Sentinel-2 burned area mapping—A combined sensor multi-temporal change detection approach. Remote Sens. Environ. 2019, 231, 111254. [Google Scholar] [CrossRef]
- Ghassemian, H. A review of remote sensing image fusion methods. Inf. Fusion 2016, 32, Part A. 75–89. [Google Scholar] [CrossRef]
- Arumugam, P.; Chemura, A.; Schauberger, B.; Gornott, C. Near Real-Time Biophysical Rice (Oryza sativa L.) Yield Estimation to Support Crop Insurance Implementation in India. Agronomy 2020, 10, 1674. [Google Scholar] [CrossRef]
- Cao, R.; Tu, W.; Yang, C.; Li, Q.; Liu, J.; Zhu, J.; Zhang, Q.; Li, Q.; Qiu, G. Deep learning-based remote and social sensing data fusion for urban region function recognition. ISPRS J. Photogramm. Remote Sens. 2020, 163, 82–97. [Google Scholar] [CrossRef]
- Chen, Y.; Li, C.; Ghamisi, P.; Jia, X.; Gu, Y. Deep fusion of remote sensing data for accurate classification. IEEE Geosci. Remote Sens. Lett. 2017, 14, 1253–1257. [Google Scholar] [CrossRef]
- Ndikumana, E.; Minh, D.H.T.; Baghdadi, N.; Courault, D.; Hossard, L. Deep recurrent neural network for agricultural classification using multitemporal SAR Sentinel-1 for Camargue, France. Remote Sens. 2018, 10, 1217. [Google Scholar] [CrossRef]
- Zhu, H.; Ma, W.; Li, L.; Jiao, L.; Yang, S.; Hou, B. A Dual–Branch Attention fusion deep network for multiresolution remote–Sensing image classification. Inf. Fusion 2020, 58, 116–131. [Google Scholar] [CrossRef]
- Franjaya, E.E.; Syartinilia; Setiawan, Y. Monitoring of landscape change in paddy fields: Case study of Karawang District—West Java Province. IOP Conf. Ser. Earth Environ. Sci. 2017, 54, 012016. [Google Scholar] [CrossRef]
- Gandharum, L.; Mulyani, M.E.; Hartono, D.M.; Karsidi, A.; Ahmad, M. Remote sensing versus the area sampling frame method in paddy rice acreage estimation in Indramayu regency, West Java province, Indonesia. Int. J. Remote Sens. 2021, 42, 1738–1767. [Google Scholar] [CrossRef]
- Surmaini, E.; Hadi, T.W.; Subagyono, K.; Puspito, N.T. Early detection of drought impact on rice paddies in Indonesia by means of Niño 3.4 index. Theor. Appl. Climatol. 2015, 121, 669–684. [Google Scholar] [CrossRef]















| # | Pair Name | Time-Series 1 | Time-Series 2 |
|---|---|---|---|
| 1 | Vegetative–Planting | Vegetative area based on remote sensing | Planting area based on local statistics |
| 2 | Vegetative–Harvested | Vegetative area based on remote sensing | Harvested area based on local statistics |
| 3 | Reproductive–Harvested | Reproductive area based on remote sensing | Harvested area based on local statistics |
| 4 | Ripening–Harvested | Ripening area based on remote sensing | Harvested area based on local statistics |
| 5 | Planting–Harvested | Planting area based on local statistics | Harvested area based on local statistics |
| Rice Condition | Bare Land | Vegetative | Reproductive | Ripening | Sum | UA (%) | |
|---|---|---|---|---|---|---|---|
| Test data for PROBA-V with five predictors | |||||||
| Predicted data | Bare land | 26 | 0 | 2 | 2 | 30 | 86.67 |
| Vegetative | 2 | 19 | 0 | 1 | 22 | 86.36 | |
| Reproductive | 0 | 2 | 26 | 4 | 32 | 81.25 | |
| Ripening | 1 | 0 | 1 | 7 | 9 | 77.78 | |
| Sum | 29 | 21 | 29 | 14 | 93 | ||
| PA (%) | 89.67 | 90.61 | 89.67 | 50.00 | |||
| OA (%) | 83.87 | ||||||
| Test data for Sentinel-1 with three predictors | |||||||
| Predicted data | Bare land | 21 | 6 | 2 | 2 | 31 | 67.74 |
| Vegetative | 1 | 14 | 3 | 0 | 18 | 77.78 | |
| Reproductive | 2 | 1 | 21 | 2 | 26 | 80.77 | |
| Ripening | 4 | 0 | 3 | 10 | 17 | 58.82 | |
| Sum | 28 | 21 | 29 | 14 | 92 | ||
| PA (%) | 75.00 | 66.67 | 72.47 | 71.43 | |||
| OA (%) | 71.74 | ||||||
Publisher’s Note: MDPI stays neutral with regard to jurisdictional claims in published maps and institutional affiliations. |
© 2021 by the authors. Licensee MDPI, Basel, Switzerland. This article is an open access article distributed under the terms and conditions of the Creative Commons Attribution (CC BY) license (https://creativecommons.org/licenses/by/4.0/).
Share and Cite
Ramadhani, F.; Pullanagari, R.; Kereszturi, G.; Procter, J. Mapping a Cloud-Free Rice Growth Stages Using the Integration of PROBA-V and Sentinel-1 and Its Temporal Correlation with Sub-District Statistics. Remote Sens. 2021, 13, 1498. https://doi.org/10.3390/rs13081498
Ramadhani F, Pullanagari R, Kereszturi G, Procter J. Mapping a Cloud-Free Rice Growth Stages Using the Integration of PROBA-V and Sentinel-1 and Its Temporal Correlation with Sub-District Statistics. Remote Sensing. 2021; 13(8):1498. https://doi.org/10.3390/rs13081498
Chicago/Turabian StyleRamadhani, Fadhlullah, Reddy Pullanagari, Gabor Kereszturi, and Jonathan Procter. 2021. "Mapping a Cloud-Free Rice Growth Stages Using the Integration of PROBA-V and Sentinel-1 and Its Temporal Correlation with Sub-District Statistics" Remote Sensing 13, no. 8: 1498. https://doi.org/10.3390/rs13081498
APA StyleRamadhani, F., Pullanagari, R., Kereszturi, G., & Procter, J. (2021). Mapping a Cloud-Free Rice Growth Stages Using the Integration of PROBA-V and Sentinel-1 and Its Temporal Correlation with Sub-District Statistics. Remote Sensing, 13(8), 1498. https://doi.org/10.3390/rs13081498

