The Synergy of Entrepreneurial Leadership and Team Diversity: Pathways to Entrepreneurial Success in Pakistan’s SMEs
Abstract
1. Introduction
2. Literature Review
2.1. Entrepreneurial Leadership
2.2. Entrepreneurial Success
2.3. Team Diversity
2.4. Theoretical Background and Hypotheses Formation
Theoretical Ground
2.5. Hypotheses Formation
2.5.1. Entrepreneurial Leadership and Entrepreneurial Success
2.5.2. Entrepreneurial Leadership and Team Diversity
2.5.3. Team Diversity and Entrepreneurial Success
2.5.4. Team Diversity as Moderator of Entrepreneurial Leadership and Entrepreneurial Success Relation
2.6. Proposed Model
2.7. Operational Definitions of the Research Concepts
3. Research Methodology
3.1. Participants and Procedure
3.2. Measures
3.2.1. Entrepreneurial Leadership Scale (ELS)
3.2.2. Entrepreneurial Success Scale (ESS)
3.2.3. Team Diversity Scale (TDS)
3.3. Data Analysis
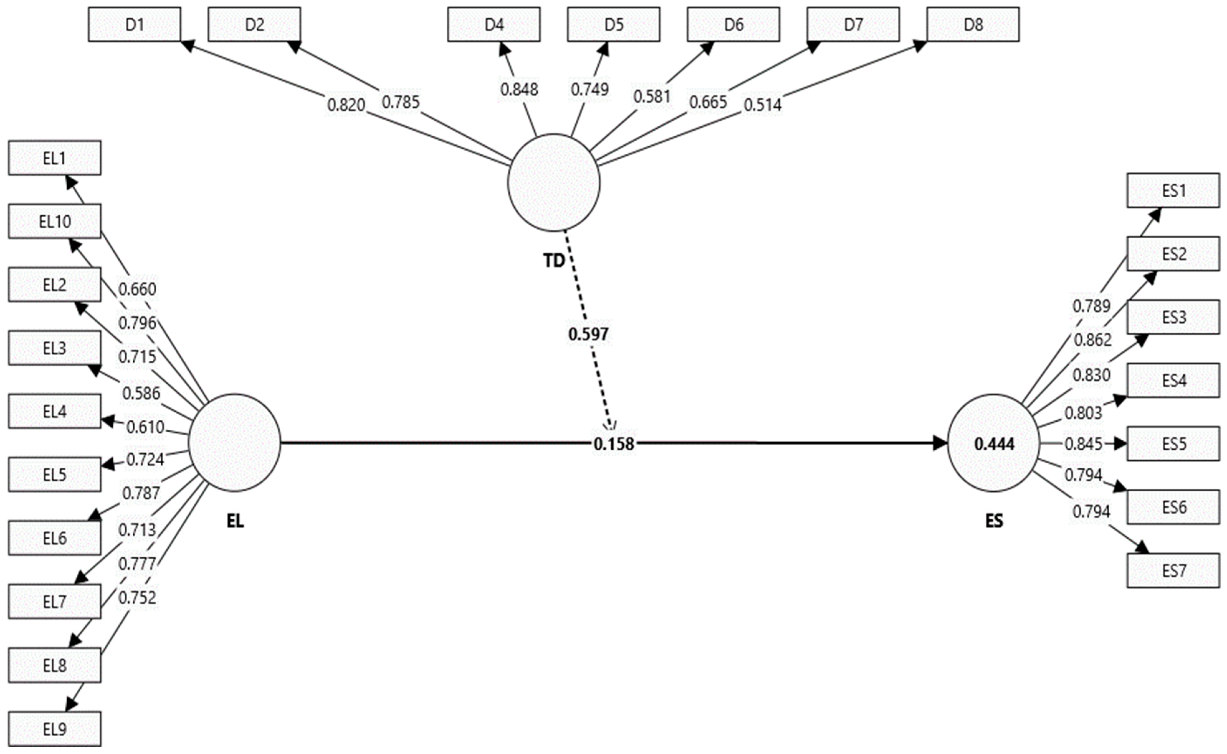
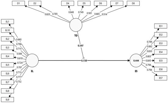
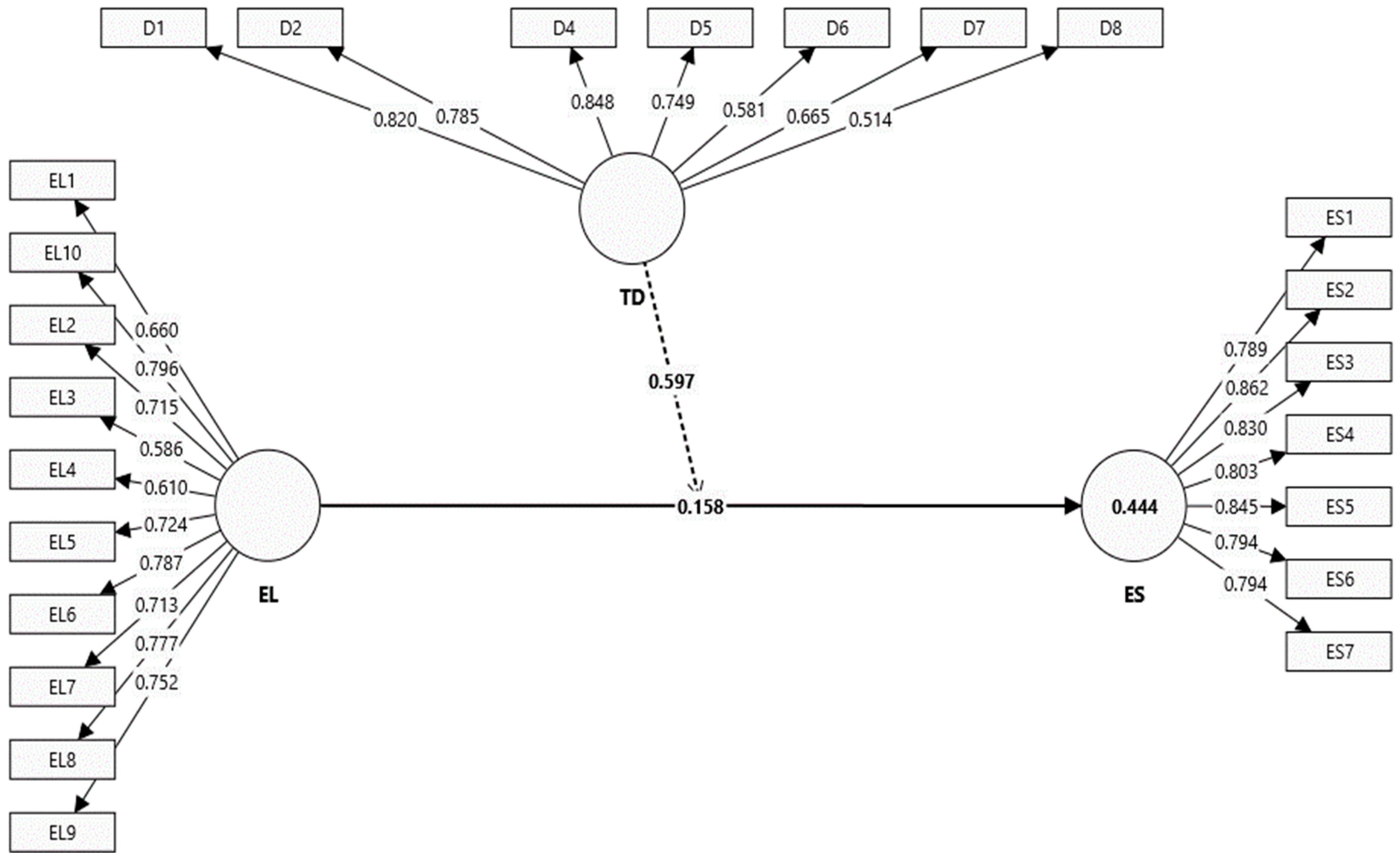
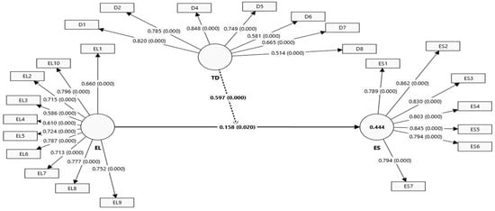
4. Results
4.1. Descriptive Statistics and Reliability Analysis
4.2. Principal Component Analysis
4.3. Discriminant Validity
4.4. Model Fitness
4.5. Moderation Results
5. Discussion
6. Conclusions
7. Implications
8. Limitations and Recommendations
Author Contributions
Funding
Institutional Review Board Statement
Informed Consent Statement
Data Availability Statement
Conflicts of Interest
Appendix A
| Code | Questions | Source |
| EL: Item1 | I can set high standards of performance. | [31,34] |
| EL: Item2 | I have a vision of the future and imagination. | |
| EL: Item3 | I predict potential future events. | |
| EL: Item4 | I can display and express powerful positive emotions for the work. | |
| EL: Item5 | I’m able to make transactions with others and negotiate effectively. | |
| EL: Item6 | Usually, I’m looking for continuous improvement in my performance. | |
| EL: Item7 | I may inspire other people’s feelings, convictions, values, and behaviors. | |
| EL: Item8 | I can make decisions firmly and quickly. | |
| EL: Item9 | I instill trust in others by putting faith in them. | |
| EL: Item10 | I always offer courage, confidence, or hope through reassuring and advising. | |
| ES: Item1 | I feel like I run a successful business. | [6,106] |
| ES: Item2 | I can control my business. | |
| ES: Item3 | I can balance the work and family interface. | |
| ES: Item4 | Having pride in my job is more important than making lots of money. | |
| ES: Item5 | Giving the job to people gives me great satisfaction. | |
| ES: Item6 | My satisfaction is more important than making money. | |
| ES: Item7 | I am just as optimistic now as when I started the business. | |
| ES: Item8 | Having a flexible lifestyle is more important than making lots of money. | |
| ES: Item9 | Being my boss gives me more personal satisfaction. | |
| TD: Item1 | Our team comprises members from diverse backgrounds. | [100,101] |
| TD: Item2 | Diverse perspectives within our team enhance our problem-solving capabilities. | |
| TD: Item3 | We actively promote an inclusive work environment. | |
| TD: Item4 | Team diversity positively impacts our innovation outcomes. | |
| TD: Item5 | We ensure equal opportunities for all team members regardless of their background. | |
| TD: Item6 | Our diverse team improves our understanding of different markets and customers. | |
| TD: Item7 | We have diversity and inclusion policies in place. | |
| TD: Item8 | We celebrate cultural differences within our team. | |
| TD: Item9 | Our team diversity helps us to attract a wider talent pool. | |
| TD: Item10 | We believe that diversity drives innovation and creativity. |
References
- Nguyen, P.V.; Huynh, H.T.N.; Lam, L.N.H.; Le, T.B.; Nguyen, N.H.X. The impact of entrepreneurial leadership on SMEs’ performance: The mediating effects of organizational factors. Heliyon 2021, 7, 1–13. [Google Scholar] [CrossRef] [PubMed]
- Mubashar, A.; bin Tariq, Y. Capital budgeting decision-making practices: Evidence from Pakistan. J. Adv. Manag. Res. 2019, 16, 142–167. [Google Scholar] [CrossRef]
- Bilal, M.; Chaudhry, S.; Amber, H.; Shahid, M.; Aslam, S.; Shahzad, K. Entrepreneurial leadership and employees’ proactive behaviour: Fortifying self determination theory. J. Open Innov. Technol. Mark. Complex. 2021, 7, 176. [Google Scholar] [CrossRef]
- Nazir, M.A.; Khan, R.S.; Khan, M.R. Identifying prosperity characteristics in small and medium-sized enterprises of Pakistan: Firm, strategy and characteristics of entrepreneurs. J. Asia Bus. Stud. 2024, 18, 21–43. [Google Scholar] [CrossRef]
- Alshebami, A.S. Surviving the Storm: The Vital Role of Entrepreneurs’ Network Ties and Recovering Capabilities in Supporting the Intention to Sustain Micro and Small Enterprises. Sustainability 2024, 16, 8474. [Google Scholar] [CrossRef]
- Fatma Sonmez Cakir, Z.A. Analysis of Leader Effectiveness in Organization and Knowledge Sharing Behavior on Employees and Organization. SAGE Open 2020, 2020, 1–14. [Google Scholar] [CrossRef]
- Hussain, N.; Li, B. Entrepreneurial leadership and entrepreneurial success: The role of knowledge management processes and knowledge entrepreneurship. Front. Psychol. 2022, 13, 829959. [Google Scholar] [CrossRef] [PubMed]
- Ranjan, S. Entrepreneurial leadership: A review of measures, antecedents, outcomes and moderators. Asian Soc. Sci. 2018, 14, 104. [Google Scholar] [CrossRef]
- Fisher, R.; Maritz, A.; Lobo, A. Evaluating entrepreneurs’ perception of success: Development of a measurement scale. Int. J. Entrep. Behav. Res. 2014, 20, 478–492. [Google Scholar] [CrossRef]
- Ireland, R.D.; Hitt, M.A.; Sirmon, D.G. A model of strategic entrepreneurship: The construct and its dimensions. J. Manag. 2003, 29, 963–989. [Google Scholar]
- McCarthy, D.J.; Puffer, S.M.; Darda, S.V. Convergence in entrepreneurial leadership style: Evidence from Russia. Calif. Manag. Rev. 2010, 52, 48–72. [Google Scholar] [CrossRef]
- Yang, Z.; Zhou, X.; Zhang, P. Centralization and innovation performance in an emerging economy: Testing the moderating effects. Asia Pac. J. Manag. 2015, 32, 415–442. [Google Scholar] [CrossRef]
- Zaech, S.; Baldegger, U. Leadership in start-ups. Int. Small Bus. J. 2017, 35, 157–177. [Google Scholar] [CrossRef]
- Valaei, N.; Rezaei, S. Job satisfaction and organizational commitment: An empirical investigation among ICT-SMEs. Manag. Res. Rev. 2016, 39, 1663–1694. [Google Scholar] [CrossRef]
- Cai, W.; Lysova, E.I.; Khapova, S.N.; Bossink, B.A. Does entrepreneurial leadership foster creativity among employees and teams? The mediating role of creative efficacy beliefs. J. Bus. Psychol. 2019, 34, 203–217. [Google Scholar] [CrossRef]
- Hewlett, S.A.; Marshall, M.; Sherbin, L. How diversity can drive innovation. Harv. Bus. Rev. 2013, 91, 30. [Google Scholar]
- Wang, J.; Cheng, G.H.L.; Chen, T.; Leung, K. Team creativity/innovation in culturally diverse teams: A meta-analysis. J. Organ. Behav. 2019, 40, 693–708. [Google Scholar] [CrossRef]
- Schoss, S.; Urbig, D.; Brettel, M.; Mauer, R. Deep-level diversity in entrepreneurial teams and the mediating role of conflicts on team efficacy and satisfaction. Int. Entrep. Manag. J. 2020, 18, 1173–1203. [Google Scholar] [CrossRef]
- Santos, S.C.; Cardon, M.S. What’s love got to do with it? Team entrepreneurial passion and performance in new venture teams. Entrep. Theory Pract. 2019, 43, 475–504. [Google Scholar] [CrossRef]
- Alshanty, A.M.; Emeagwali, O.L. Market-sensing capability, knowledge creation and innovation: The moderating role of entrepreneurial-orientation. J. Innov. Knowl. 2019, 4, 171–178. [Google Scholar] [CrossRef]
- Al Mamun, A.; Ibrahim, M.D.; Yusoff, M.N.H.B.; Fazal, S.A. Entrepreneurial leadership, performance, and sustainability of micro-enterprises in Malaysia. Sustainability 2018, 10, 1591. [Google Scholar] [CrossRef]
- Dwi Widyani, A.A.; Landra, N.; Sudja, N.; Ximenes, M.; Sarmawa, I.W.G. The role of ethical behavior and entrepreneurial leadership to improve organizational performance. Cogent Bus. Manag. 2020, 7, 1747827. [Google Scholar] [CrossRef]
- Latif, K.F.; Nazeer, A.; Shahzad, F.; Ullah, M.; Imranullah, M.; Sahibzada, U.F. Impact of entrepreneurial leadership on project success: Mediating role of knowledge management processes. Leadersh. Organ. Dev. J. 2020, 41, 237–256. [Google Scholar] [CrossRef]
- Taleb, T.S.; Hashim, N.; Zakaria, N. Entrepreneurial leadership and entrepreneurial success: The mediating role of entrepreneurial opportunity recognition and innovation capability. Sustainability 2023, 15, 5776. [Google Scholar] [CrossRef]
- Staniewski, M.W.; Awruk, K. Entrepreneurial success and achievement motivation—A preliminary report on a validation study of the questionnaire of entrepreneurial success. J. Bus. Res. 2019, 101, 433–440. [Google Scholar] [CrossRef]
- Chaniago, H. Investigation of entrepreneurial leadership and digital transformation: Achieving business success in uncertain economic conditions. J. Technol. Manag. Innov. 2023, 18, 18–27. [Google Scholar] [CrossRef]
- Rehman, K.; Lim, K.B.; Yeo, S.F.; Saif, N.; Ameeq, M. The Nexus of Entrepreneurial Leadership and Entrepreneurial Success with a Mediation of Technology Management Processes: From the Perspective of the Small-and Medium-Sized Enterprises of Khyber Pakhtunkhwa, Pakistan. Sustainability 2025, 17, 882. [Google Scholar] [CrossRef]
- Huang, S.; Ding, D.; Chen, Z. Entrepreneurial leadership and performance in C hinese new ventures: A moderated mediation model of exploratory innovation, exploitative innovation and environmental dynamism. Creat. Innov. Manag. 2014, 23, 453–471. [Google Scholar] [CrossRef]
- Barney, J. Firm Resources and Sustained Competitive Advantage. J. Manag. 1991, 17, 99–120. [Google Scholar] [CrossRef]
- Muchiri, M.; McMurray, A. Entrepreneurial orientation within small firms: A critical review of why leadership and contextual factors matter. Small Enterp. Res. 2015, 22, 17–31. [Google Scholar] [CrossRef]
- Hoang, G.; Luu, T.T.; Babalola, M.T. Entrepreneurial leadership: A systematic literature review and research agenda. Leadersh. Organ. Dev. J. 2024; ahead-of-print. [Google Scholar] [CrossRef]
- Domańska, A.; Zajkowski, R. Barriers to gaining support: A prospect of entrepreneurial activity of family and non-family firms in Poland. Equilibrium. Q. J. Econ. Econ. Policy 2022, 17, 191–224. [Google Scholar] [CrossRef]
- Baron, R.A.; Tang, J. The role of entrepreneurs in firm-level innovation: Joint effects of positive affect, creativity, and environmental dynamism. J. Bus. Ventur. 2011, 26, 49–60. [Google Scholar] [CrossRef]
- Gupta, V.K.; Wieland, A.M.; Turban, D.B. Gender characterizations in entrepreneurship: A multi-level investigation of sex-role stereotypes about high-growth, commercial, and social entrepreneurs. J. Small Bus. Manag. 2019, 57, 131–153. [Google Scholar] [CrossRef]
- Ibarra, D.; Bigdeli, A.Z.; Igartua, J.I.; Ganzarain, J. Business model innovation in established SMEs: A configurational approach. J. Open Innov. Technol. Mark. Complex. 2020, 6, 76. [Google Scholar] [CrossRef]
- Goel, R.K.; Nelson, M.A. How do firms use innovations to hedge against economic and political uncertainty? Evidence from a large sample of nations. J. Technol. Transf. 2021, 46, 407–430. [Google Scholar] [CrossRef]
- Renko, M.; El Tarabishy, A.; Carsrud, A.L.; Brännback, M. Understanding and measuring entrepreneurial leadership style. J. Small Bus. Manag. 2015, 53, 54–74. [Google Scholar] [CrossRef]
- Mehmood, M.S.; Jian, Z.; Akram, U. Be so creative they can’t ignore you! How can entrepreneurial leader enhance the employee creativity? Think. Ski. Creat. 2020, 38, 100721. [Google Scholar] [CrossRef]
- Bruni, E.; Bonesso, S.; Gerli, F. Coping with different types of innovation: What do metaphors reveal about how entrepreneurs describe the innovation process? Creat. Innov. Manag. 2019, 28, 175–190. [Google Scholar] [CrossRef]
- Chaniago, H. The effect innovation cloning to small business success: Entrepreneurial perspective. J. Innov. Entrep. 2022, 11, 52. [Google Scholar] [CrossRef] [PubMed]
- Amato, C.; Baron, R.A.; Barbieri, B.; Belanger, J.J.; Pierro, A. Regulatory modes and entrepreneurship: The mediational role of alertness in small business success. J. Small Bus. Manag. 2017, 55, 27–42. [Google Scholar] [CrossRef]
- Peterson, J. Entrepreneurial Leadership: The Art of Launching New Ventures, Inspiring Others, and Running Stuff; HarperCollins Leadership: New York, NY, USA, 2020. [Google Scholar]
- Roberson, Q.; Ryan, A.M.; Ragins, B.R. The evolution and future of diversity at work. J. Appl. Psychol. 2017, 102, 483. [Google Scholar] [CrossRef] [PubMed]
- Karar, W.; Alzubi, A.; Khadem, A.; Iyiola, K. The Nexus of Sustainability Innovation, Knowledge Application, and Entrepreneurial Success: Exploring the Role of Environmental Awareness. Sustainability 2025, 17, 716. [Google Scholar] [CrossRef]
- Tariq, R.; Wang, Y.; Latif, K.F. The impact of entrepreneurial leadership on the project success: The mediating role of knowledge-oriented dynamic capabilities. J. Enterp. Inf. Manag. 2024, 37, 1016–1043. [Google Scholar] [CrossRef]
- Abu-Rumman, A.; Al Shraah, A.; Al-Madi, F.; Alfalah, T. Entrepreneurial networks, entrepreneurial orientation, and performance of small and medium enterprises: Are dynamic capabilities the missing link? J. Innov. Entrep. 2021, 10, 29. [Google Scholar] [CrossRef]
- Bertoldi, B.; Bertoldi, B. The leadership style to lead the evolution of the entrepreneurial essence: A proposal. In Entrepreneurial Essence in Family Businesses: Continuity in Family Capitalism; Springer: Berlin/Heidelberg, Germany, 2021; pp. 115–154. [Google Scholar]
- Arham, A.F.; Sulaiman, N.; Kamarudin, F.H.; Muenjohn, N. Understanding the links between transformational leadership and entrepreneurial orientation in Malaysian SMEs. In The Palgrave Handbook of Leadership in Transforming Asia; Palgrave Macmillan: London, UK, 2017; pp. 541–558. [Google Scholar]
- Gorgievski, M.J.; Ascalon, M.E.; Stephan, U. Small business owners’ success criteria, a values approach to personal differences. J. Small Bus. Manag. 2011, 49, 207–232. [Google Scholar] [CrossRef]
- Angel, P.; Jenkins, A.; Stephens, A. Understanding entrepreneurial success: A phenomenographic approach. Int. Small Bus. J. 2018, 36, 611–636. [Google Scholar] [CrossRef]
- Hu, W.; Xu, Y.; Zhao, F.; Chen, Y. Entrepreneurial passion and entrepreneurial success—The role of psychological capital and entrepreneurial policy support. Front. Psychol. 2022, 13, 792066. [Google Scholar] [CrossRef]
- Seo, Y.W.; Lee, Y.H. Effects of internal and external factors on business performance of start-ups in South Korea: The engine of new market dynamics. Int. J. Eng. Bus. Manag. 2019, 11, 1847979018824231. [Google Scholar] [CrossRef]
- Alstete, J.W. Aspects of entrepreneurial success. J. Small Bus. Enterp. Dev. 2008, 15, 584–594. [Google Scholar] [CrossRef]
- Jenkins, A.; McKelvie, A. What is entrepreneurial failure? Implications for future research. Int. Small Bus. J. 2016, 34, 176–188. [Google Scholar] [CrossRef]
- Shepherd, D.; Wiklund, J. Are we comparing apples with apples or apples with oranges? Appropriateness of knowledge accumulation across growth studies. Entrep. Theory Pract. 2009, 33, 105–123. [Google Scholar] [CrossRef]
- Lumpkin, G.T.; Moss, T.W.; Gras, D.M.; Kato, S.; Amezcua, A.S. Entrepreneurial processes in social contexts: How are they different, if at all? Small Bus. Econ. 2013, 40, 761–783. [Google Scholar] [CrossRef]
- Kirkwood, J.J. How women and men business owners perceive success. Int. J. Entrep. Behav. Res. 2016, 22, 594–615. [Google Scholar] [CrossRef]
- Wach, D.; Stephan, U.; Gorgievski, M. More than money: Developing an integrative multi-factorial measure of entrepreneurial success. Int. Small Bus. J. 2016, 34, 1098–1121. [Google Scholar] [CrossRef]
- Karlsson, C.; Rickardsson, J.; Wincent, J. Diversity, innovation and entrepreneurship: Where are we and where should we go in future studies? Small Bus. Econ. 2021, 56, 759–772. [Google Scholar] [CrossRef]
- Boone, C.; Lokshin, B.; Guenter, H.; Belderbos, R. Top management team nationality diversity, corporate entrepreneurship, and innovation in multinational firms. Strateg. Manag. J. 2019, 40, 277–302. [Google Scholar] [CrossRef]
- Ashikali, T.; Groeneveld, S.; Kuipers, B. The role of inclusive leadership in supporting an inclusive climate in diverse public sector teams. Rev. Public Pers. Adm. 2021, 41, 497–519. [Google Scholar] [CrossRef]
- Alang, T.; Stanton, P.; Rose, M. Enhancing employee voice and inclusion through inclusive leadership in public sector organizations. Public Pers. Manag. 2022, 51, 309–329. [Google Scholar] [CrossRef]
- McMahon, A.M. Does workplace diversity matter? A survey of empirical studies on diversity and firm performance, 2000–2009. J. Divers. Manag. 2010, 5, 37–48. [Google Scholar]
- Sawaean, F.A.; Ali, K.A.; Alenezi, A.A. Entrepreneurial leadership and organisational performance of SMEs in Kuwait: The intermediate mechanisms of innovation management and learning orientation. Interdiscip. J. Inf. Knowl. Manag. 2021, 16, 459–489. [Google Scholar] [CrossRef]
- Grant, R.M. The resource-based theory of competitive advantage: Implications for strategy formulation. Calif. Manag. Rev. 1991, 33, 114–135. [Google Scholar] [CrossRef]
- Ng, H.S.; Kee, D.M.H.; Ramayah, T. The role of transformational leadership, entrepreneurial competence and technical competence on enterprise success of owner-managed SMEs. J. Gen. Manag. 2016, 42, 23–43. [Google Scholar] [CrossRef]
- Alsafadi, Y.; Aljuhmani, H.Y. The influence of entrepreneurial innovations in building competitive advantage: The mediating role of entrepreneurial thinking. Kybernetes 2024, 53, 4051–4073. [Google Scholar] [CrossRef]
- Hart, S.L. A natural-resource-based view of the firm. Acad. Manag. Rev. 1995, 20, 986–1014. [Google Scholar] [CrossRef]
- Alvarez, S.A.; Busenitz, L.W. The entrepreneurship of resource-based theory. J. Manag. 2001, 27, 755–775. [Google Scholar] [CrossRef]
- Aljuhmani, H.Y.; Awwad, R.I.; Albuhisi, B.; Hamdan, S. The Impact of Digital Transformation Leadership Competencies on Firm Performance Through the Lens of Organizational Creativity and Digital Strategy. In Innovative and Intelligent Digital Technologies; Towards an Increased Efficiency; Springer: Berlin/Heidelberg, Germany, 2024; Volume 1, pp. 283–293. [Google Scholar]
- Hameed, I.; Zaman, U.; Waris, I.; Shafique, O. A serial-mediation model to link entrepreneurship education and green entrepreneurial behavior: Application of resource-based view and flow theory. Int. J. Environ. Res. Public Health 2021, 18, 550. [Google Scholar] [CrossRef] [PubMed]
- Nor-Aishah, H.; Ahmad, N.H.; Thurasamy, R. Entrepreneurial leadership and sustainable performance of manufacturing SMEs in Malaysia: The contingent role of entrepreneurial bricolage. Sustainability 2020, 12, 3100. [Google Scholar] [CrossRef]
- Kim, K.; Hann, I.-H. Crowdfunding and the democratization of access to capital—An illusion? Evidence from housing prices. Inf. Syst. Res. 2019, 30, 276–290. [Google Scholar] [CrossRef]
- Gil, A.J.; Rodrigo-Moya, B.; Morcillo-Bellido, J. The effect of leadership in the development of innovation capacity: A learning organization perspective. Leadersh. Organ. Dev. J. 2018, 39, 694–711. [Google Scholar] [CrossRef]
- Villaluz, V.C.; Hechanova, M.R.M. Ownership and leadership in building an innovation culture. Leadersh. Organ. Dev. J. 2019, 40, 138–150. [Google Scholar] [CrossRef]
- Urbano, D.; Audretsch, D.; Aparicio, S.; Noguera, M. Does entrepreneurial activity matter for economic growth in developing countries? The role of the institutional environment. Int. Entrep. Manag. J. 2020, 16, 1065–1099. [Google Scholar] [CrossRef]
- Omri, A.; Frikha, M.A.; Bouraoui, M.A. An empirical investigation of factors affecting small business success. J. Manag. Dev. 2015, 34, 1073–1093. [Google Scholar] [CrossRef]
- Musa, S.; Fontana, A. Entrepreneurial leadership measurement validation in innovation management. In ISPIM Innovation Symposium; The International Society for Professional Innovation Management (ISPIM): Porto, Portugal, 2016. [Google Scholar]
- Viswanathan, M.; Echambadi, R.; Venugopal, S.; Sridharan, S. Subsistence entrepreneurship, value creation, and community exchange systems: A social capital explanation. J. Macromarketing 2014, 34, 213–226. [Google Scholar] [CrossRef]
- Khan, N.; Ahmad, I.; Ilyas, M. Impact of ethical leadership on organizational safety performance: The mediating role of safety culture and safety consciousness. Ethics Behav. 2018, 28, 628–643. [Google Scholar] [CrossRef]
- Newman, A.; Obschonka, M.; Schwarz, S.; Cohen, M.; Nielsen, I. Entrepreneurial self-efficacy: A systematic review of the literature on its theoretical foundations, measurement, antecedents, and outcomes, and an agenda for future research. J. Vocat. Behav. 2019, 110, 403–419. [Google Scholar] [CrossRef]
- Gomez, L.E.; Bernet, P. Diversity improves performance and outcomes. J. Natl. Med. Assoc. 2019, 111, 383–392. [Google Scholar] [CrossRef] [PubMed]
- Lazar, M.; Miron-Spektor, E.; Agarwal, R.; Erez, M.; Goldfarb, B.; Chen, G. Entrepreneurial team formation. Acad. Manag. Ann. 2020, 14, 29–59. [Google Scholar] [CrossRef]
- Mehmood, M.S.; Jian, Z.; Akram, U.; Tariq, A. Entrepreneurial leadership: The key to develop creativity in organizations. Leadersh. Organ. Dev. J. 2021, 42, 434–452. [Google Scholar] [CrossRef]
- Kimbu, A.N.; de Jong, A.; Adam, I.; Ribeiro, M.A.; Afenyo-Agbe, E.; Adeola, O.; Figueroa-Domecq, C. Recontextualising gender in entrepreneurial leadership. Ann. Tour. Res. 2021, 88, 103176. [Google Scholar] [CrossRef]
- Leitch, C.M.; Volery, T. Entrepreneurial leadership: Insights and directions. Int. Small Bus. J. 2017, 35, 147–156. [Google Scholar] [CrossRef]
- Tasheva, S.; Hillman, A.J. Integrating diversity at different levels: Multilevel human capital, social capital, and demographic diversity and their implications for team effectiveness. Acad. Manag. Rev. 2019, 44, 746–765. [Google Scholar] [CrossRef]
- Van Knippenberg, D.; Nishii, L.H.; Dwertmann, D.J. Synergy from diversity: Managing team diversity to enhance performance. Behav. Sci. Policy 2020, 6, 75–92. [Google Scholar] [CrossRef]
- Baptista, R.; Ribeiro, A.S.; Batool, S.N.; Cheng, C.F.; Kraus, S. Entrepreneurial team diversity and start-up growth in consulting and hospitality. Serv. Ind. J. 2024, 44, 1038–1060. [Google Scholar] [CrossRef]
- Mbangula, D.K. An Assessment of How to Build a Diverse Entrepreneurial Leadership Team. In Transformational Concepts and Tools for Entrepreneurial Leadership; IGI Global Scientific Publishing: Hershey, PA, USA, 2025; pp. 1–22. [Google Scholar]
- Yukl, G. How leaders influence organizational effectiveness. Leadersh. Q. 2008, 19, 708–722. [Google Scholar] [CrossRef]
- Bagheri, A.; Harrison, C. Entrepreneurial leadership measurement: A multi-dimensional construct. J. Small Bus. Enterp. Dev. 2020, 27, 659–679. [Google Scholar] [CrossRef]
- Donate, M.J.; de Pablo, J.D.S. The role of knowledge-oriented leadership in knowledge management practices and innovation. J. Bus. Res. 2015, 68, 360–370. [Google Scholar] [CrossRef]
- Maznevski, M.L.; Gomez, C.B.; DiStefano, J.J.; Noorderhaven, N.G.; Wu, P.C. Cultural dimensions at the individual level of analysis: The cultural orientations framework. Int. J. Cross Cult. Manag. 2002, 2, 275–295. [Google Scholar] [CrossRef]
- Zhang, L.; Li, X. How to reduce the negative impacts of knowledge heterogeneity in engineering design team: Exploring the role of knowledge reuse. Int. J. Proj. Manag. 2016, 34, 1138–1149. [Google Scholar] [CrossRef]
- Tabachnick, B.G.; Fidell, L.S.; Ullman, J.B. Using Multivariate Statistics; Pearson: Boston, MA, USA, 2013; Volume 6. [Google Scholar]
- Hair, J.F., Jr.; Hult, G.T.M.; Ringle, C.M.; Sarstedt, M.; Danks, N.P.; Ray, S.; Hair, J.F.; Hult, G.T.M.; Ringle, C.M.; Sarstedt, M.; et al. Evaluation of formative measurement models. In Partial Least Squares Structural Equation Modeling (PLS-SEM) Using R: A Workbook; Springer: Cham, Switzerland, 2021; pp. 91–113. [Google Scholar]
- Podsakoff, P.M.; Mackenzie, S.B.; Lee, J.; Podsakoff, N.P. Common Method Biases in Behavioral Research: A Critical Review of the Literature and Recommended Remedies. J. Appl. Psychol. 2003, 88, 879–903. [Google Scholar] [CrossRef] [PubMed]
- Henseler, J.; Ringle, C.M.; Sarstedt, M. A new criterion for assessing discriminant validity in variance-based structural equation modeling. J. Acad. Mark. Sci. 2015, 43, 115–135. [Google Scholar] [CrossRef]
- Hu, L.T.; Bentle, P.M. Cutoff criteria for fit indexes in covariance structure analysis: Conventional criteria versus new alternatives. Struct. Equ. Model. A Multidiscip. J. 1999, 6, 1–55. [Google Scholar] [CrossRef]
- Bentler, P.M.; Bonett, D.G. Significance tests and goodness of fit in the analysis of covariance structures. Psychol. Bull. 1980, 88, 588. [Google Scholar] [CrossRef]
- Speak, A.; Escobedo, F.J.; Russo, A.; Zerbe, S. Comparing Convenience and Probability Sampling for Urban Ecology Applications. J. Appl. Ecol. 2018, 55, 2332–2342. [Google Scholar] [CrossRef]
- Chatterjee, N.; Das, N.; Srivastava, N.K. A Structural Model Assessing Key Factors Affecting Women’s Entrepreneurial Success: Evidence from India. J. Entrep. Emerg. Econ. 2019, 11, 122–151. [Google Scholar] [CrossRef]
- Wolf, E.J.; Harrington, K.M.; Clark, S.L.; Miller, M.W. Sample Size Requirements for Structural Equation Models: An Evaluation of Power, Bias, and Solution Propriety. Educ. Psychol. Meas. 2013, 73, 913–934. [Google Scholar] [CrossRef] [PubMed]
- Gupta, V.; MacMillan, I.C.; Surie, G. Entrepreneurial Leadership: Developing and Measuring a Cross-Cultural Construct. J. Bus. Ventur. 2004, 19, 241–260. [Google Scholar] [CrossRef]
- Walker, E.; Brown, A. What Success Factors Are Important to Small Business Owners? Int. Small Bus. J. 2004, 22, 577–594. [Google Scholar] [CrossRef]
- Eissa, G.; Chinchanachokchai, S.; Wyland, R. The Influence Of Supervisor Undermining On Self-Esteem, Creativity, And Overall Job Performance: A Multiple Mediation Model. Organ. Manag. J. 2017, 14, 185–197. [Google Scholar] [CrossRef]
- Hechavarria, D.M.; Reynolds, P.D. Cultural norms & business start-ups: The impact of national values on opportunity and necessity entrepreneurs. Int. Entrep. Manag. J. 2009, 5, 417–437. [Google Scholar]
- Kineber, A.F.; Oke, A.; Hamed, M.M.; Alyanbaawi, A.; Elmansoury, A.; Daoud, A.O. Decision Making Model for Identifying the Cyber Technology Implementation Benefits for Sustainable Residential Building: A Mathematical PLS-SEM Approach. Sustainability 2023, 15, 2458. [Google Scholar] [CrossRef]
- Middermann, L.H.; Rashid, L. Cross-country differences in entrepreneurial internationalization tendencies: Evidence from Germany and Pakistan. Adm. Sci. 2019, 9, 54. [Google Scholar] [CrossRef]




| Concept | Operational Definition | Source |
|---|---|---|
| EL | Leadership is characterized by innovation, market responsiveness, risk-taking, and opportunity exploitation. | [34,35] |
| ES | Organizational growth (both financial and non-financial) and resilience. | [53] |
| TD | Teams are characterized by inclusion, enhanced decision-making, increased adaptability, and broader market understanding. | [19] |
| Description | TDI | ENLD | ESC |
|---|---|---|---|
| Mean | 4.40 | 4.65 | 4.30 |
| Median | 4.38 | 4.80 | 4.44 |
| Std. Deviation | 1.077 | 1.714 | 1.359 |
| Skewness | −0.331 | −0.366 | −0.622 |
| Kurtosis | 2.61 | −0.560 | −0.984 |
| Minimum | 1 | 1 | 1 |
| Maximum | 7 | 7 | 7 |
| Variance Inflation factor (VIF) | 1.035 | 1.032 | 2.764 |
| Constructs | Items | Outer Loading | Cronbach’s Alpha | CR (rho_a) | CR (rho_c) | AVE |
|---|---|---|---|---|---|---|
| Entrepreneurial leadership | EL1 | 0.66 | 0.90 | 0.90 | 0.91 | 0.51 |
| (10 × items) | EL2 | 0.72 | ||||
| EL3 | 0.59 | |||||
| EL4 | 0.61 | |||||
| EL5 | 0.72 | |||||
| EL6 | 0.79 | |||||
| EL7 | 0.71 | |||||
| EL8 | 0.78 | |||||
| EL9 | 0.76 | |||||
| EL10 | 0.79 | |||||
| Entrepreneurial success | ES1 | 0.79 | 0.92 | 0.92 | 0.93 | 0.67 |
| (07 × items) | ES2 | 0.86 | ||||
| ES3 | 0.83 | |||||
| ES4 | 0.80 | |||||
| ES5 | 0.84 | |||||
| ES6 | 0.79 | |||||
| ES7 | 0.79 | |||||
| Team diversity | TD1 | 0.82 | 0.84 | 0.87 | 0.88 | 0.52 |
| (08 × items) | TD2 | 0.79 | ||||
| TD4 | 0.85 | |||||
| TD5 | 0.75 | |||||
| TD6 | 0.58 | |||||
| TD7 | 0.67 | |||||
| TD8 | 0.51 |
| HTMT Ratios | Fornell–Larcker Criterion | ||||||
|---|---|---|---|---|---|---|---|
| EL | ES | TD | EL | ES | TD | ||
| EL | EL | 0.715 | |||||
| ES | 0.222 | ES | 0.222 | 0.817 | |||
| TD | 0.271 | 0.212 | TD | 0.267 | 0.204 | 0.718 | |
| TD × EL | 0.063 | 0.664 | 0.126 | ||||
| Saturated Model | Estimated Model | |
|---|---|---|
| SRMR | 0.067 | 0.066 |
| d_ULS | 1.356 | 1.323 |
| d_G | 0.426 | 0.422 |
| Chi-square | 834.758 | 821.293 |
| NFI | 0.818 | 0.82 |
| Coefficient | Mean | SD | T Statistics | p-Values | Decision | |
|---|---|---|---|---|---|---|
| EL -> ES | 0.158 | 0.168 | 0.067 | 2.335 | 0.020 | Accepted |
| EL -> TD | 0.162 | 0.183 | 0.079 | 3.470 | 0.001 | Accepted |
| TD -> ES | 0.085 | 0.086 | 0.067 | 1.26 | 0.028 | Accepted |
| TD × EL -> ES | 0.597 | 0.571 | 0.083 | 7.166 | 0.000 | Accepted |
| 95% Confidence Interval | ||||||
|---|---|---|---|---|---|---|
| Estimates | SE | Lower | Upper | t | Sig | |
| (−1SD) Low | 0.1561 | 0.0589 | 0.0819 | 0.1103 | 3.6151 | 0.0000 |
| Average | 0.2065 | 0.0412 | 0.1255 | 0.2876 | 5.0108 | 0.0000 |
| (+1SD) High | 0.9791 | 0.0568 | 0.8674 | 1.0909 | 17.2313 | 0.0000 |
| Shows the effect of the predictor (ENLD) on the dependent variable (entrepreneurial success) at different levels of the moderator (team diversity) | ||||||
Disclaimer/Publisher’s Note: The statements, opinions and data contained in all publications are solely those of the individual author(s) and contributor(s) and not of MDPI and/or the editor(s). MDPI and/or the editor(s) disclaim responsibility for any injury to people or property resulting from any ideas, methods, instructions or products referred to in the content. |
© 2025 by the authors. Licensee MDPI, Basel, Switzerland. This article is an open access article distributed under the terms and conditions of the Creative Commons Attribution (CC BY) license (https://creativecommons.org/licenses/by/4.0/).
Share and Cite
Rehman, K.; Lim, K.B.; Yeo, S.F.; Ameeq, M.; Asad Ullah, M. The Synergy of Entrepreneurial Leadership and Team Diversity: Pathways to Entrepreneurial Success in Pakistan’s SMEs. Sustainability 2025, 17, 2063. https://doi.org/10.3390/su17052063
Rehman K, Lim KB, Yeo SF, Ameeq M, Asad Ullah M. The Synergy of Entrepreneurial Leadership and Team Diversity: Pathways to Entrepreneurial Success in Pakistan’s SMEs. Sustainability. 2025; 17(5):2063. https://doi.org/10.3390/su17052063
Chicago/Turabian StyleRehman, Khalid, Kah Boon Lim, Sook Fern Yeo, Muhammad Ameeq, and Muhammad Asad Ullah. 2025. "The Synergy of Entrepreneurial Leadership and Team Diversity: Pathways to Entrepreneurial Success in Pakistan’s SMEs" Sustainability 17, no. 5: 2063. https://doi.org/10.3390/su17052063
APA StyleRehman, K., Lim, K. B., Yeo, S. F., Ameeq, M., & Asad Ullah, M. (2025). The Synergy of Entrepreneurial Leadership and Team Diversity: Pathways to Entrepreneurial Success in Pakistan’s SMEs. Sustainability, 17(5), 2063. https://doi.org/10.3390/su17052063

