The Analysis of Present and Future Use of Non-Conventional Water Resources in Heilongjiang Province, China
Abstract
1. Introduction
2. Materials and Methods
2.1. Overview of Water Resources in Heilongjiang Province
2.2. Selection of Indicators
2.3. Selection of Important Indicators
2.4. Forecasting the Potential for Non-Conventional Water Use
2.4.1. BP Neural Network
2.4.2. Prediction of Non-Conventional Water Use Potential Based on Optimization Algorithm BPNN Models
2.5. Modeling of Non-Conventional Water Allocation in Heilongjiang
3. Analysis of Results
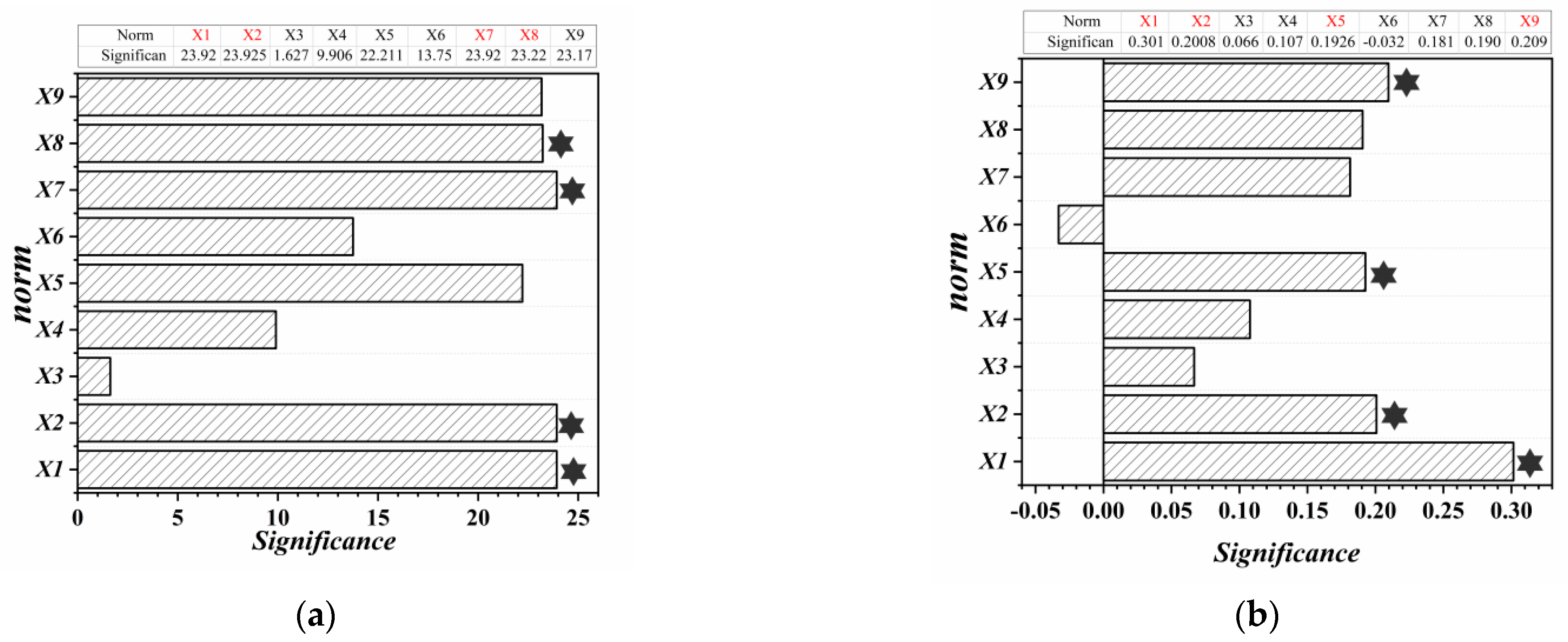
3.1. Screening Results
3.2. Predicted Results
3.3. Configuration Results
4. Discussion
5. Conclusions
Author Contributions
Funding
Data Availability Statement
Conflicts of Interest
References
- Yazdandoost, F.; Noruzi, M.M.; Yazdani, S.A. Sustainability assessment approaches based on water-energy Nexus: Fictions and nonfictions about non-conventional water resources. Sci. Total Environ. 2020, 758, 143703. [Google Scholar] [CrossRef] [PubMed]
- Mariana, M.; Anita, R.; Gloria, D.C.M.; Sanfilippo, U.; Mambretti, S.; Becciu, G. Costs-benefit Analysis for the use of Shallow Groundwater as non-conventional water Resource. Water Resour. Manag. 2023, 37, 2125–2142. [Google Scholar]
- Manzoor, Q.; Vladimir, S.; Sasha, K.O.; Guenther, E. Global Water Scarcity and Non-Conventional Water Resources; Springer: Cham, Switzerland, 2022; pp. 3–17. [Google Scholar]
- Martin-Nagle, R.; Leb, C. Governance of Non-Conventional Water Resources; Springer: Cham, Switzerland, 2022; pp. 257–279. [Google Scholar]
- Qadir, M.; Smakhtin, V.; Koo Oshima, S.; Guenther, E. The Future of Non-Conventional Water Resources; Springer: Cham, Switzerland, 2022; pp. 299–309. [Google Scholar]
- Karimidastenaei, Z.; Avellán, T.; Sadegh, M.; Kløve, B.; Haghighi, A.T. Unconventional water resources: Global opportunities and challenges. Sci. Total Environ. 2022, 827, 154429. [Google Scholar] [CrossRef] [PubMed]
- Batisha, A.F. Greywater in Egypt: The sustainable future of non-conventional water resources. Environ. Sci. Pollut. Res. Int. 2020, 27, 35428. [Google Scholar] [CrossRef] [PubMed]
- Jun, L.; Songbai, S.; Olusola, O.A.; Wang, H.; Jiaping, L.; Zhang, B. Coordinated allocation of conventional and non-conventional water resources considering uncertainty and different stakeholders. J. Hydrol. 2022, 605, 127293. [Google Scholar]
- Wu, X.; Wen, Q.; Hu, L.; Liu, M. Evaluation of non-conventional water Resources Based on Knowledge Granularity. E3S Web Conf. 2020, 144, 01004. [Google Scholar] [CrossRef]
- 2010 China Environmental status Bulletin; Editorial Office of the Ministry of Environmental Protection of the People’s Republic of China: Beijing, China, 2011.
- Feedback Research Services. Multi-Billion Dollar Prospects from Feed-back.com Market Report: U.S. Recycled Water. Eng. Bus. J. 2012. Available online: https://kns.cnki.net/kcms2/article/abstract?v=29axctaKF3xvbe1Z3aEwjdXOYXqXIMl5_oSstHJipdcKt-6E8od_eZRS3-YKZPkbfqan1wYpB7GW0Mal9KbPy0SOLJgRvZhFcwQA2BVcmAn9FaTj2-CTaReqnxVSW8jJfCCwkXcCkCWQzK1OllsZ2A==&uniplatform=NZKPT&language=gb (accessed on 21 March 2024).
- Moosdorf, N.; Oehler, T. Societal use of fresh submarine groundwater discharge: An overlooked water resource. Earth-Sci. Rev. 2017, 171, 338–348. [Google Scholar] [CrossRef]
- Setegn, S.G.; Melesse, A.M.; Haiduk, A.; Webber, D.; Wang, X.; McClain, M.E. Modeling hydrological variability of fresh water resources in the Rio Cobre watershed. Jam. Catena 2014, 120, 81–90. [Google Scholar] [CrossRef]
- Zhang, T. Financial subsidy mechanism of urban non-conventional water resources in China. J. Econ. Water Resour. 2014, 4, 3. [Google Scholar]
- Shi, H.; Wang, L. Discussion on mine water resource utilization and pollution control technology. Min. Technol. 2008, 3, 22. [Google Scholar]
- Ma, C.; Ni, H.; Jiang, Y.; Lin, X. Study on the non-conventional water Subsidy Policy in the Arid Area of Northwest China. Water 2022, 14, 3167. [Google Scholar] [CrossRef]
- Li, Z.; Sun, Z.; Zhang, L.; Zhan, N.; Lou, C.; Lian, J. Investigation of water quality and aquatic ecological succession of a newly constructed river replenished by reclaimed water in Beijing. Heliyon 2023, 9, e17045. [Google Scholar] [CrossRef] [PubMed]
- Lam, K.L.; Kenway, S.J.; Lant, P.A. Energy use for water provision in cities. J. Clean. Prod. 2017, 143, 699–709. [Google Scholar] [CrossRef]
- Ahmad, S.; Jia, H.; Chen, Z.; Li, Q.; Xu, C. Water-energy nexus and energy efficiency: A systematic analysis of urban water systems. Renew. Sustain. Energy Rev. 2020, 134, 110381. [Google Scholar] [CrossRef]
- Larkin, A.; Hoolohan, C.; McLachlan, C. Embracing context and complexity to address environmental challenges in the water-energy-food nexus. Fut 2020, 123, 102612. [Google Scholar] [CrossRef]
- Chen, Y.; Wang, Y.; Ding, T.; Wang, K.; Wu, H. Water footprint and virtual water trade analysis in water-rich basins: Case of the Chaohu Lake Basin in China. Sci. Total Environ. 2022, 843, 156906. [Google Scholar] [CrossRef] [PubMed]
- Liu, G.; Hu, J.; Chen, C.; Xu, L.; Wang, N.; Meng, F.; Giannetti, B.F.; Agostinho, F.; Almeida, C.M.B.; Casazza, M. LEAP-WEAP analysis of urban energy-water dynamic nexus in Beijing (China). Renew. Sustain. Energy Rev. 2021, 136, 110369. [Google Scholar] [CrossRef]
- Razzaq, A.; Liu, H.; Zhou, Y.; Xiao, M.; Qing, P. The competitiveness, bargaining Power, and contract choice in agricultural water markets in Pakistan: Implications for price discrimination and environmental sustainability. Front. Environ. Sci. 2022, 10, 670. [Google Scholar] [CrossRef]
- AmaRazzaq, A.; Qing, P.; Abid, M.; Anwar, M.; Javed, I. Can the informal groundwater markets improve water use efficiency and equity? Evidence from a semi-arid region of Pakistan. Sci. Total Environ. 2019, 666, 849–857. [Google Scholar]
- Wong, H.S.; Sun, N.Z.; Yeh, W.W.G. Optimization of conjunctive use of surface water and groundwater with water quality constraints. In Proceedings of the Aesthetics in the Constructed Environment, Houston, TX, USA, 6–9 April 1997. [Google Scholar]
- Zhang, X.; Ge, X.; Huang, C.; Ren, L.; Wang, C.; Ping, Q.; Yin, G.; Zhang, F. Graph theory-based study on multi-objective spatial optimal allocation of water resources in Fuhe River Watershed. Water Resour. Hydropower Eng. 2021, 52, 21–29. [Google Scholar]
- Höllermann, B.; Giertz, S.; Diekkrüger, B. Benin 2025—Balancing future water availability and demand using the WEAP ‘water evaluation and planning’system. Water Resour. Manag. 2010, 24, 3591–3613. [Google Scholar] [CrossRef]
- Teng, Y.; Guo, H.; Li, H.; Wang, Y.; Dong, H. Research on coordinated utilization allocation of non-conventional water in Harbin. Water Conserv. Sci. Cold Zone Eng. 2023, 6, 73–76. [Google Scholar]
- Grotelüschen, K.; Gaydon, D.S.; Langensiepen, M.; Ziegler, S.; Kwesiga, J.; Senthilkumar, K.; Whitbread, A.M.; Becker, M. Assessing the effects of management and hydro-edaphic conditions on rice in contrasting East African wetlands using experimental and modelling approaches. Agric. Water Manag. 2021, 258, 107146. [Google Scholar] [CrossRef]
- Zhang, L. Main Restricting Factors and Countermeasure Suggestions for Urban Reclaimed Water Utilization in China. Dev. Res. 2016, 3, 3. [Google Scholar]
- Šmidovnik, T.; Grošelj, P. Solution for Convergence Problem in DEMATEL Method: DEMATEL of Finite Sum of Influences. Symmetry 2023, 15, 1357. [Google Scholar] [CrossRef]
- El El Islem Karabadji, N.; Korba, A.A.; Assi, A.; Seridi, H.; Aridhi, S.; Dhifli, W. Accuracy and diversity-aware multi-objective approach for random forest construction. Expert Syst. Appl. 2023, 225, 120138. [Google Scholar] [CrossRef]
- Liu, D.; Luo, W. Reservoir water level prediction based on BP neural network. Comput. Informatiz. Mech. Syst. 2023, 6, 13–15. [Google Scholar]
- Huang, Y.; Xiang, Y.; Zhao, R.; Cheng, Z. Air Quality Prediction Using Improved PSO-BP Neural Network. IEEE Access 2020, 8, 99346–99353. [Google Scholar] [CrossRef]
- Lv, B.; Liu, C.; Li, T.; Meng, F.; Fu, Q.; Ji, Y.; Hou, R. Evaluation of the water resource carrying capacity in Heilongjiang, eastern China, based on the improved TOPSIS model. Ecol. Indic. 2023, 150, 110208. [Google Scholar] [CrossRef]
- Wei, Q.; Li, S.; Xu, J.; Yang, Z.; Liu, Z.; Chen, P.; Liu, Y.; Ding, Y.; Tan, J.; Li, J. Evaluation of surface water quality in Heilongjiang Province, China: Based on different quantities of water quality indicators. Ecol. Indic. 2023, 154, 110472. [Google Scholar] [CrossRef]
- Li, Y.; Han, H.; Sun, Y.; Xiao, X.; Liao, H.; Liu, X.; Wang, E. Risk Evaluation of Ice Flood Disaster in the Upper Heilongjiang River Based on Catastrophe Theory. Water 2023, 15, 2724. [Google Scholar] [CrossRef]
- Kang, J.; Zhao, M. Performance Evaluation Model of Agricultural Enterprise Technology Innovation Based on GA-BP Neural Network. Comput. Intell. Neurosci. 2022, 2022, 7110502. [Google Scholar] [CrossRef] [PubMed]
- Chai, Q.; Han, W.; Wan, F.; Ding, Z.; Wu, F. Study on coordinated allocation of conventional and unconventional water resources in typical regions of North China. Front. Earth Sci. 2023, 11, 1198431. [Google Scholar] [CrossRef]
- Thomy, B.; Morrison, M.; Duncan, R.; Bark, R.H.; Boyle, K.J.; Birtles, P.J. Investigating revealed preferences for urban waterway conditions: A hedonic property valuation study. Aust. J. Agric. Resour. Econ. 2024, 68, 253–269. [Google Scholar] [CrossRef]
- Teng, Y.; Li, T.; Fu, G.; Li, H.; Xu, L. Current situation and countermeasures of unconventional water source utilization in Heilongjiang Province. Hydraul. Sci. Cold Reg. Eng. 2023, 6, 49–52. [Google Scholar]
- Niu, Q.; Ren, C.; Wu, J.; Gao, H. Numerical simulation study on the influence of surface water displacement of groundwater on groundwater level in Songgu overexploitation area. J. Irrig. Drain. 2024, 43, 97–103+112. [Google Scholar] [CrossRef]
- Zhang, T.; Tan, Q.; Wang, S. Optimization Model of Synergistic Utilization of Clean Water and Reclaimed Water in Beijing. Environ. Sci. 2019, 40, 3223–3232. [Google Scholar] [CrossRef] [PubMed]
- Herbert, J.; Shailesh, T. Analytical comparison of cross impact steady state, DEMATEL, and page rank for analyzing complex systems. Expert Syst. Appl. 2023, 225, 120154. [Google Scholar]
- Nakamura, K.; Yano, K.; Komaki, F. Adjacency-based regularization for partially ranked data with non-ignorable missing. Comput. Stat. Data Anal. 2020, 145, 106905. [Google Scholar] [CrossRef]
- Hoarau, A.; Martin, A.; Dubois, J.-C.; Le Gall, Y. Evidential Random Forests. Expert Syst. Appl. 2023, 230, 120652. [Google Scholar] [CrossRef]
- Sheng, L.; Gu, Z.; Chang, F. A novel integration strategy for uncertain knowledge in group decision-making with artificial opinions: A DSFIT-SOA-DEMATEL approach. Expert Syst. Appl. 2024, 243, 122886. [Google Scholar] [CrossRef]
- Liu, X.; Deng, Q.; Huo, Z.; Liu, S.; Luo, Q.; Jiang, C. Sustainability-aware collaborative service composition and recommendation based on multi-attribute correlations. Expert Syst. Appl. 2024, 241, 122642. [Google Scholar] [CrossRef]
- Zhou, W.; Sun, G.; Miwa, S.; Yang, Z.; Li, Z.; Zhang, D.; Wang, J. An intelligent optimization method for the HCSB blanket based on an improved multi-objective NSGA-III algorithm and an adaptive BP neural network. Nucl. Eng. Technol. 2023, 55, 3150–3163. [Google Scholar] [CrossRef]
- Wang, C.-H.; Zhao, Q.; Tian, R. Short-Term Wind Power Prediction Based on a Hybrid Markov-Based PSO-BP Neural Network. Energies 2023, 16, 4282. [Google Scholar] [CrossRef]
- Shi, S.; Liu, J.; Hu, H.; Zhou, H. A research on a GA-BP neural network based model for predicting patterns of oil-water two-phase flow in horizontal wells. Geoenergy Sci. Eng. 2023, 230, 212151. [Google Scholar] [CrossRef]
- Meng, R.; Yang, H.; Bao, X.; Xu, B.; Li, L.; Li, J. Prospect analysis of unconventional water resources utilization and its ecological environmental effects in the Beijing-Tianjin-Hebei Plain. Geol. China 2024, 51, 221–233. [Google Scholar]
- Ma, T.; Liu, J.; Peng, A.; Zheng, J.; Wang, W.; Zheng, H.; Deng, X. Progress in the development and utilization of non-conventional water resources in China. Adv. Water Sci. 2020, 31, 960–969. [Google Scholar] [CrossRef]
- Liang, Y.; Huang, X. Research Progress of Advanced Treatment Technology of Municipal Reclaimed Water in China. People’s Pearl River. 2023, pp. 1–9. Available online: http://kns.cnki.net/kcms/detail/44.1037.TV.20230706.1818.020.html (accessed on 25 April 2024).
- Wang, J.; Liu, C. The present situation, problems and countermeasures of the utilization of non-conventional water resources. China Water Resour. 2019, 4, 57. [Google Scholar]
- Vila-Tojo, S.; Sabucedo, J.M.; Andrade, E.; Gómez-Román, C.; Alzate, M.; Seoane, G. From scarcity problem diagnosis to recycled water acceptance: A perceptive-axiological model (PAM) of low and high contact uses. Water Res. 2022, 217, 118380. [Google Scholar] [CrossRef]
- LópezSerrano María, J.; VelascoMuñoz Juan, F.; AznarSánchez José, A.; Román-Sánchez, I.M. Farmers’ Attitudes towards Irrigating Crops with Reclaimed Water in the Framework of a Circular Economy. Agronomy 2022, 12, 435. [Google Scholar] [CrossRef]
- Li, G.; Su, X.; Jian, M. Current situation, potential analysis and countermeasures of non-ordinary water resources in Hebei Province. Water Resour. Prot. 2005, 21, 58–60. [Google Scholar]










| Norm | Formula | Formula No. | Clarification | |
|---|---|---|---|---|
| Economic benefit (X1) | Agriculture: | X1= Ef + Es + El + Ee | (1) | “i” represents the type of agriculture, “y” represents production, “p” represents the unit price of the product; “w” represents the price of water; “” represents the amount of water used per unit of product. |
| Industry: | (2) | “j” represents the industry type, while “m” represents the amount of water used per unit of industrial output. | ||
| Resident life: | (3) | “l” represents the population type (urban and rural); “n” represents the number of people; “q” represents the water quota. | ||
| Ecological: | (4) | “k” represents the level of consumption; “o” represents the level of house prices; “Ck” represents the capacity to consume; “Co” represents the level of house prices; “m” represents the size of housing; “”represents the growth rate | ||
| Economic cost (X2) | (5) | “l” represents the length of the pipe; “p” represents the unit price; “b” represents the unit maintenance cost; “u” represents the non-conventional water type; “U” represents the treatment capacity; “g” represents the unit treatment cost. | ||
| Water demand potential (X3) | (6) | “ye” represents ecological water use; “s” represents the area of agricultural land; “g” represents industrial output; “” represents the water quotas. | ||
| Water supply capacity (X4) | (7) | “k” represents the type of water supply, unless conventional water, the water supply channels in Heilongjiang Province are surface water and groundwater. | ||
| Urban construction (X5) | (8) | “Sc” represents the built-up area of the urban area; “St” represents the total area. | ||
| Percentage of population in urban areas (X6) | (9) | “Pc” represents the urban population;“Pt” represents the total population. | ||
| Sewage treatment capacity (X7) | (10) | “n” represents the number of wastewater treatment plants; “UW” represents the volume of wastewater treated. | ||
| Sewage treatment rate (X8) | (11) | “Se” represents the volume of sewage discharged. | ||
| Density of pipe network (X9) | (12) | “St” represents the area covered by the pipe network; “Sc” represents the total area of the region. | ||
Disclaimer/Publisher’s Note: The statements, opinions and data contained in all publications are solely those of the individual author(s) and contributor(s) and not of MDPI and/or the editor(s). MDPI and/or the editor(s) disclaim responsibility for any injury to people or property resulting from any ideas, methods, instructions or products referred to in the content. |
© 2024 by the authors. Licensee MDPI, Basel, Switzerland. This article is an open access article distributed under the terms and conditions of the Creative Commons Attribution (CC BY) license (https://creativecommons.org/licenses/by/4.0/).
Share and Cite
Guo, H.; Sun, Y.; Li, T.; Teng, Y.; Dong, H.; Li, H.; Liu, G. The Analysis of Present and Future Use of Non-Conventional Water Resources in Heilongjiang Province, China. Sustainability 2024, 16, 3727. https://doi.org/10.3390/su16093727
Guo H, Sun Y, Li T, Teng Y, Dong H, Li H, Liu G. The Analysis of Present and Future Use of Non-Conventional Water Resources in Heilongjiang Province, China. Sustainability. 2024; 16(9):3727. https://doi.org/10.3390/su16093727
Chicago/Turabian StyleGuo, Hongcong, Yingna Sun, Tienan Li, Yun Teng, He Dong, Hui Li, and Gengwei Liu. 2024. "The Analysis of Present and Future Use of Non-Conventional Water Resources in Heilongjiang Province, China" Sustainability 16, no. 9: 3727. https://doi.org/10.3390/su16093727
APA StyleGuo, H., Sun, Y., Li, T., Teng, Y., Dong, H., Li, H., & Liu, G. (2024). The Analysis of Present and Future Use of Non-Conventional Water Resources in Heilongjiang Province, China. Sustainability, 16(9), 3727. https://doi.org/10.3390/su16093727

