Next Article in Journal
Analysis of the Impact of Policies and Meteorological Factors on Industrial Electricity Demand in Jiangsu Province
Next Article in Special Issue
Sources and Application Modes of Phosphorus in a No-Till Wheat–Soybean Cropping System
Previous Article in Journal
An Educational Robotics Approach to Drawing and Studying Central Trochoids at the University Level
Previous Article in Special Issue
Economic Dynamics as the Main Limitation for Agricultural Sustainability in a Colombian Indigenous Community
 
 
Font Type:
Arial Georgia Verdana
Font Size:
Aa Aa Aa
Line Spacing:
Column Width:
Background:
Article

Problems of Sustainable Agriculture with Regard to the Destruction of the European Corn Borer in Maize Plantations

1
Faculty of Mechanical Engineering, Bydgoszcz University of Science and Technology, 85-796 Bydgoszcz, Poland
2
Faculty of Agriculture and Biotechnology, Bydgoszcz University of Science and Technology, 85-796 Bydgoszcz, Poland
3
Faculty of Mechanical Engineering, Poznan University of Technology, 60-965 Poznań, Poland
*
Author to whom correspondence should be addressed.
Sustainability 2024, 16(22), 9685; https://doi.org/10.3390/su16229685
Submission received: 18 September 2024 / Revised: 30 October 2024 / Accepted: 5 November 2024 / Published: 7 November 2024

Abstract

This article describes the results of the studies related to the occurrence of the European corn borer (Ostrinia nubilalis Hbn) pest carried out at the Technical University of Bydgoszcz. The studies concerned the real occurrence of the pest in corn stubble (cultivated variety SY Collosseum). The research issue undertaken is in line with an IPM (integrated pest management) system and is important since the feeding of the European corn borer can lead to large, direct yield losses estimated nationally at an average of up to about 20%, which does not differ significantly from that of world crops. Corn, for the purposes of this study, was harvested for green fodder in September, and for grain in November 2022, using a John Deere X9 1110 harvester. The average stubble height when cut for green fodder was 280 mm, while for grain it was 265 mm. The experimental studies conducted clearly showed that European corn borer larvae colonized as much as 12% of corn samples harvested for grain at an average stubble height of 155 mm, and 19% of corn samples harvested for grain at an average height of 75 mm. The conducted studies also showed that the average diameter of the stems at the height of the residence of the corn borer larvae when harvested for green fodder is 19.80 mm, and 21.80 mm for grain. The studies conducted by the authors showed the randomness of the locations of the pest larvae, which clearly indicates that the generally known and used mechanical methods of its control are not fully effective. Therefore, the authors presented their own design of a machine construction (filed with the patent office of the Republic of Poland) for destroying the European corn borer in a mechanical way without the use of crop protection chemicals. The presented research problem in this paper is of national and global importance considering the fact that corn is grown on an area of nearly 162 million hectares, where we have to deal with the European corn borer pest. In the case of implementing the design of the construction of a machine for destroying the pest, there will be no need to use chemical pesticides, which will significantly contribute to environmental protection.

1. Introduction

Maize is a cereal that is cultivated on a large scale in many parts of the world. The most popular of its species is maize (Zea mays L.), which is used for its properties and versatility in various economic sectors, including among others the following:
  • In the food industry for the production of flour, glucose syrup, breakfast cereals and corn oil and as an ingredient in many processed products;
  • For animal feed: the main ingredient in feed for cattle, pigs and poultry;
  • In the chemical and biofuel industry for the production of bioethanol and biodegradable plastics, as well as modified starches used in various industrial processes;
  • In the pharmaceutical industry as a raw material for the production of medicines and diet supplements [1].
The volume of maize grain production both in the EU and worldwide fluctuates mainly due to weather and economic conditions. In recent years, an upward trend has been observed, especially in regions with stable climatic conditions and high demand for feed and biofuels. The area sown each year is successively increasing and will reach 36.8 million hectares in the 2023/2024 season. The leading global producers of maize grain are the United States, China and Brazil. In the European Union, the biggest producers are France and Poland, which is second on the list of producers as of 2022, with a projected 17% share of the European Union production. The statistics for the grain maize harvest in the European Union were as follows: in 2022—53 million tons; in 2023—66 million tons; in 2024, it is forecast at 69 million tons. On the other hand, on a global scale, in 2022, 1.15 billion tons were harvested, with 1.21 billion tons in 2023, and 1.22 billion tons are projected to be harvested in 2024 [1].
Maize is of great importance in the global economy due to its versatile use, while its production is dependent on weather conditions and pests that affect the yields obtained. One of the predominant groups of pests is the European corn borer (Ostrinia nubilalis Hbn.), whose feeding can lead to direct yield losses estimated at up to an average of 20% nationwide [2,3,4].
In Poland, the European corn borer reproduces one generation per year. The first butterflies in maize plantations are usually observed from the middle of June. The turn of June/July is the period when the pest lays its eggs. The caterpillars of the European corn borer are usually present on maize plants from the end of June until the end of the plants’ vegetation period, i.e., until September, October or November. The first fully grown caterpillars (in the L5 developmental stage) that are capable of overwintering properly usually appear from the middle of August or early September. The pest overwinters in the fully grown larval stage (L5) and is triggered by the shortened day length and a drop in temperature [5,6]. Surveys are also carried out in other regions of the world [7] during perennial periods [8].
The economic threshold of harmfulness caused by the corn borer is the finding of 6–8 egg deposits per 100 plants at wax maturity, 15% of plants damaged in grain crops, or 30–40% in crops grown for CCM (Corn-Cob-Mix) and silage. Therefore, the reproduction of the pest is often addressed in the literature [9,10].
At present, protection against pests is one of the basic measures in maize cultivation; however, increasing acreage and warming of the climate are encouraging the spread and appearance of new pests. The most important pest of maize is the European corn borer, the development of which is favoured by any simplification of agro-technology, maize monoculture and the practice of leaving crop residues in the field.
Therefore, the authors of this study have conducted surveys aiming to determine the extent of the occurrence of the European corn borer in fields belonging to the Bydgoszcz University of Technology. The main objectives of these activities were as follows:
(a)
Determine the relationship between the residence height of European corn borer larvae in stubble and the height of stalk cutting during harvesting for green fodder and grain;
(b)
Determine the relationship between the residence height of European corn borer larvae in stubble and the diameter of corn stalks (at the residence height of the larvae) for plants destined for green fodder and grain.
Implementing the objectives of the actions formulated in points a and b will expand the body of knowledge on the residence of the European corn borer in the corn stubble in terms of cutting height and stalk diameter during the harvest of corn for green fodder and for grain.

2. Materials and Methods

The authors’ own research involved 3 stages: collection of residues after maize harvest in the field, laboratory evaluation of larvae colonization in the stalk residues and analysis of the results of the research.
Entomological surveys were carried out in a field belonging to the Bydgoszcz University of Technology (53.173581, 17.746191). The material for the research was maize (the cultivar SY Collosseum). Sowing was carried out on 25 April on a field where maize was also a forecrop. A row spacing of 750 mm was used, with a sowing rate of 75,000 seeds/ha. Maize plants were growing on soil that had a soil quality class IVb, a pH of 6.0, a nutrient abundance of P2O5 22.4 mg/100 g (very high), K2O 30.6 mg/100 g, (very high) Mg 7.0 mg/100 g. Maize cultivation was carried out using ploughed tillage technology. Fertilizer components were applied in soil and foliar on 20 April: urea 46%N—300 kg/ha; polyphoska 5 (NPK-5-15-30)—200 kg/ha; Yara zinc F—0.5 L/ha. A weed control treatment was carried out at the BBCH 14 stage (10 June): Gardo Gold 500 SE 2.5 L/ha, Impreza max 040 OD 1 L/ha. Diseases and pests were not controlled. Maize for green fodder was harvested in September (stage BBCH 80). A yield of 40 t/ha, 35% DM, was obtained. The harvest was carried out with a self-propelled forage harvester with a rowless harvesting attachment. In contrast, harvesting of maize for grain was performed in November with a John Deere X9 1110 combine, with a Geringhoff 16-row maize attachment, with stalk and leaf cutter. The height of the maize plant shear for the forage cutter (for green fodder) was on average 280 mm, while the combine cut maize for grain at 265 mm from the ground surface, as shown in Figure 1.
The material for testing was always taken in 4 replicates—one replicate was a random selection of 25 maize plant remains. Samples obtained in this way were cut with a knife in order to check whether there was a predeveloped European corn borer larva inside the stalk. The stems without the larvae were left in the field, while those with the larvae in them were carefully protected to prevent the insect from escaping, cut exactly at the level of the field surface, described and sealed in a mill gauze bag Subsequently, in the laboratory, the min and max diameter of the maize stalk at the height at which the European corn borer larva was found was measured with a Limit CDJ, Luna AB, SE-44180 Alingsas, Sweden electronic calliper—from each of the 2 measurements, an average result was determined for each stalk.
To illustrate the research conducted, Figure 2 presents a view of the field from which corn stalks were sampled. A characteristic feature of the harvest shown in Figure 2a, which is for green fodder, is the absence of residual shredded stalks. The cut material undergoes shredding with the drum cutting unit of an agricultural forage harvester and is entirely destined, for example, for animal feed. On the other hand, when corn is harvested for grain, the remaining parts of the plant, i.e., the stalk, leaves and threshed cob are shredded into chaff by the flail cutting unit on the equipment of the combine harvester and left on the field (Figure 2b).
Figure 3 presents the stalks harvested from the field and infested by the European corn borer. The stalks were secured with string to prevent the insect from escaping into the field. Due to the different timing of field work for harvesting corn for grain and for chaff, the number of inhabited stalks is different.
Figure 4 presents an example of a pest larva identified during the research.
For the purposes of analyzing the obtained research results, the Statistica 14 software package was used. The obtained data were summarized and illustrated in graphs. In addition, for each type of crop, corn for green fodder and for grain, the average values of these parameters are indicated on the graphs. Among other things, the following were analyzed:
The height of residence of larvae;
The height of the stem cut;
The maximum diameters of the stem corresponding to the presence of the pest.
In the next step, the correlation of the following variables was conducted:
The height of the stem cut relative to the larvae residence height;
The height of the larvae relative to the diameter of the stem at the insect’s residence height;
The height of the stem cut relative to the height of the insect’s larvae residence in the stem;
The height of the larvae relative to the diameter of the stem at the location of the larvae.
For the above-mentioned relationships, Pearson’s correlation coefficient R was analyzed, and then the coefficient of determination R2 was calculated.

3. Results and Discussion

Studies conducted by the authors showed the presence of the European corn borer larvae in significant numbers (Table 1). From the samples analyzed, it was found that up to 12% of maize samples harvested for green fodder and 19% of samples of plants harvested for grain were colonized by the larvae.
Analyzing the findings described by the authors in relation to other papers [11], in their studies, they noted that during the period of conducting their research, the percentage of plants colonized in the fields by the European corn borer ranged from 20% to even a few larvae per plant, and that the type of damage to maize plants caused by the European corn borer caterpillars depended largely on their abundance [12].
It was found that the average height at which the European corn borer larvae resided in stubble (in maize stalks) when plants were harvested for green fodder was 151.6 mm (Figure 5). However, after one month (at the beginning of November 2022), when plants were harvested for grain, the insects were already found at an average height of 75.6 mm. Also, from other authors, it can be found that in November, the distance of larvae in maize residues ranged from 140 to 230 mm counting from the line of the supporting roots [13].
An analysis of the papers from other researchers confirms the observations of the authors of this article that the later the season, the closer the larvae are located to the ground surface [14]. They also confirm that the distance the larvae are located from the ground surface in late autumn is very important [15], which informs them of the need to completely destroy the stubble in autumn—the post-harvest residue—by ploughing or otherwise damaging the stalks at the end of autumn [15].
In our own research, an assessment of the diameter of the residual stalk where the pest larvae were found showed that, when harvested for forage, the larvae are still quite high from the ground surface (150 mm), and these are not optimal conditions for overwintering as the stalk does not have an optimal diameter for them—198.8 mm was found to be optimal. As the days went by, that is, during the period of harvesting for grain, it was found that the diameter of the maize in which the larvae were found was larger, as much as 218.6 mm (Figure 6).
It follows from this that the larvae digging a downward corridor for proper overwintering should have enough space to successfully survive the overwintering period. It is important to state that it has been noted there is a correlation between the thickness of the maize stalk and the number of larvae—the authors obtained a positive correlation here—indicating that the larvae are more interested in thicker stalks, which give them a better chance of successfully passing through the winter diapause period [13].
In our own studies, the dependence of the residence height of the European corn borer larvae in maize stubble on the height of stalks cut during harvesting intended for green fodder and grain was established—the higher the height of stalks (stubble) left in the field, the higher the height of larvae found in stalks, as shown in Figure 7 and Figure 8.
Similarly, the dependence of the residence height of the European corn borer larvae in stubble on the diameter of maize stalks (at the residence height of the larvae) for plants destined for green fodder and for grain was also established. The results of this study are presented in Figure 9 and Figure 10. In the figures, the coefficient of determination is denoted as R2.

4. Modern Technologies for the Destruction of the European Corn Borer

Among the known methods of control of the European corn borer, we can distinguish between chemical and non-chemical methods.
The difficulty in the use of plant protection products when controlling the pest consists of the fact that the guaranteed effectiveness of the action is related to the timing of the agrotechnical treatment, which falls during the panicle period [16]. At that time, the plants are high enough that specialized sprayers with a stilt design must be used [17,18]. Studies conducted on a long-term basis have shown that the effects of chemicals on the European corn borer are not sufficiently effective [19].
The non-chemical methods of corn protection against the European corn borer are as follows: correct agrotechnology, crop rotation, selection of varieties less susceptible to the pest, ploughing, discing, balanced fertilization (especially with nitrogen), spatial isolation (from other corn fields, corn residues and other host plants, among others, hops, millet), use of biopreparations, early harvesting of the crop, shredding and deep ploughing of crop residues immediately after harvesting, collection of crop residues from the field and their processing into briquettes, and deep autumn ploughing. These last recommendations (shredding of crop residues), in the authors’ opinion, is a measure that fits perfectly into the criteria of integrated pest management (IPM) [13,20]. IPM has become officially recognized and promoted by various agricultural and environmental organizations and government agencies around the world as part of sustainable agriculture and environmental practices. Through the IPM approach, farmers can effectively manage pests while minimizing the negative impacts on ecosystems, human and animal health and ensuring safe and sustainable food production [20]. There are also studies available in the literature related to the use of natural substances and microbial activities in the control of the corn borer [21,22].
However, in agriculture, strip-till or direct seeding methods are increasingly being used, resulting in an increasing problem with pests, including the European corn borer, which, in the case of strip-till, for example, has better conditions to survive the winter and to reproduce. The issue of new cultivation methods, in terms of pathogen development, is also being addressed by scientists [23,24].
The management of stubble and crop residues should be carried out as soon as possible after the completion of harvesting, because the longer the period of their decomposition after mixing with the soil, the more nutrients will be available to plants the following year. In addition, the larvae of the European corn borer overwinter in the stubble. For this reason, it is recommended to additionally grind the stubble after corn with rotary shredders, which, however, is associated with high energy expenditure. The importance of this treatment is not negligible, which is also addressed in the literature in terms of the development of the pest [25].
Definitely the most effective method is active machines. In addition to those dedicated to mulching plant residues and, in a number of cases, also mixing them into the soil, there are often used machines that are constructed for the shredding of cuttings or branches. They use chains or flails as working elements. The devices used for active mulching are usually based on flail shredding units. Their working elements can be knives, hammers and knife-hammers. They constitute the most popular group of mulchers. They are driven from the tractor’s power take-off. The designs of these devices differ in working width (1–6 m), and thus in productivity and power requirements. Adjustment of the height of the stubble left behind is controlled by skids, jockey wheels or a combination of these. Another solution is rotary mulchers, in which the working elements are blades rotating in a horizontal plane. It is possible to find solutions in which counter blades are used to improve shredding of crop residues.

5. Patents

The authors designed a machine for destroying the European corn borer. There are known numerous design solutions of machines for grinding the aboveground layer of corn stubble using the impact method. The researchers of Bydgoszcz University of Technology have been working for a long time with scientists from Poznan University of Technology in order to develop the design of a machine to effectively neutralize the European corn borer. The first solutions for new equipment for mulching crop residues have been developed. However, the authors’ later research, presented in this article on the location of pests in corn elements, showed the disadvantages and inconveniences of the existing machines. The disadvantages and inconveniences of the known design solutions of mulchers are the relatively low productivity with high power requirements of the agricultural tractor and practically no destructive effect on the roots of corn stubble, where, according to the literature data and the authors’ own research, a great number of corn borer larvae nest after harvesting corn for grain or animal feed. As a result, it provides very good conditions for overwintering and destroying new corn plantations.
The purpose of this invention is to remove known disadvantages and inconveniences by constructing a machine with a new design of the working unit for shredding corn stubble, especially its aboveground and underground layer—roots. The machine, with a new design of the working unit, will provide an increase in the effectiveness of destroying the European corn borer and will be characterized by a higher efficiency of the process while decreasing the power requirements of the agricultural tractor.
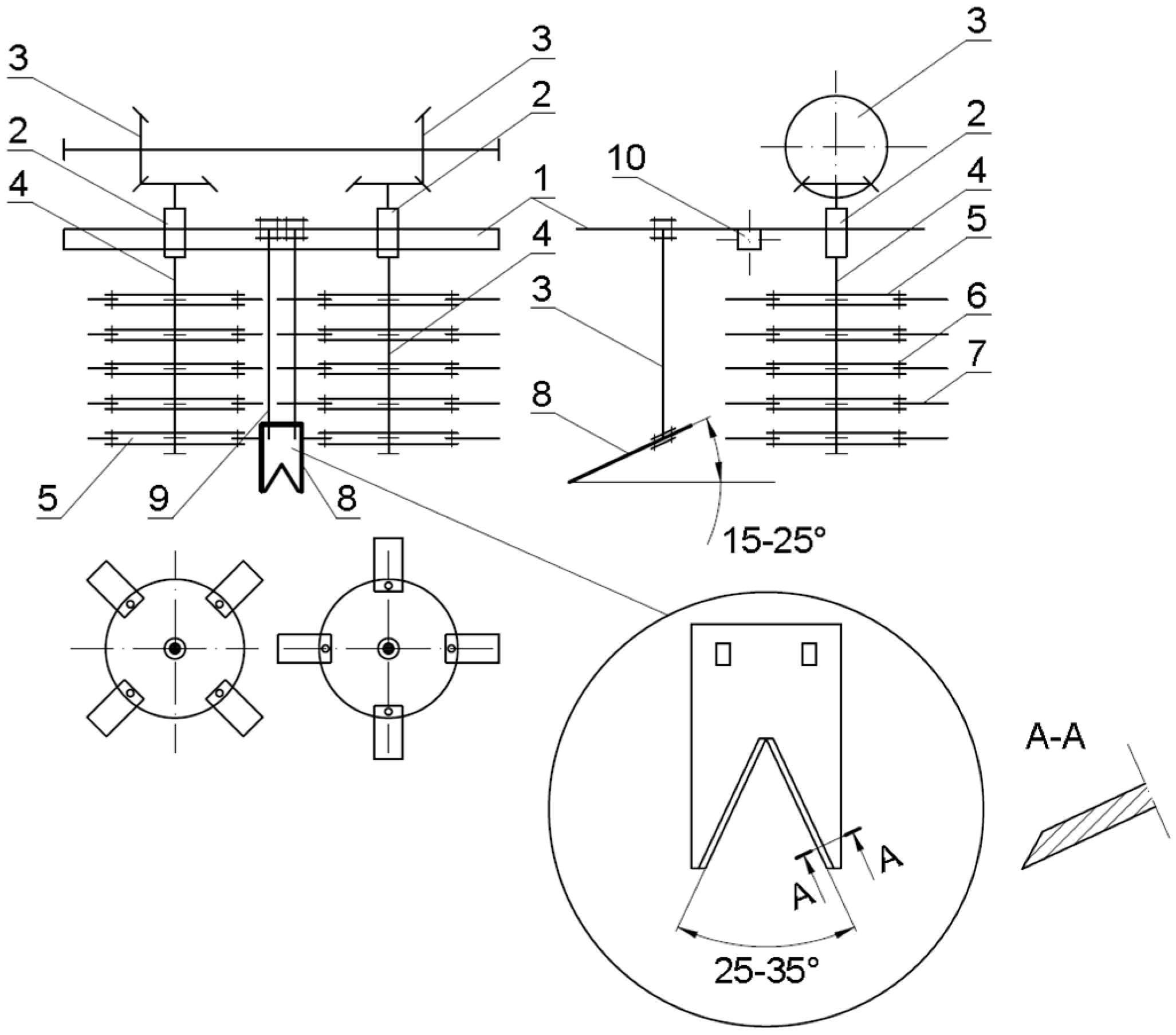
The objective of this invention is the working unit of a machine for the in-row shredding of corn stubble, both its aboveground and underground layers. The diagram of the working unit, a new structural solution of the machine for the effective control of the European corn borer, is shown in Figure 11. The structural solution of the machine designed by the authors will ensure an increase in the effectiveness of the destruction of the European corn borer pest, and will also ensure an increase in the efficiency of the process while decreasing the energy demand for its implementation.
The essence of this invention is the working unit of a machine with a frame structure suspended from the TUZ of an agricultural tractor, to which two separate rotors are attached in the form of shafts equipped with discs, with rectangular flails fixed detachably through pins. Between the rotors but at the front, a specially designed working element is embedded, which is used to undercut the soil and pull out the roots with the stubble stalks. The above- and belowground elements of the corn are then shredded by the flails. Shredding the material, that is, cutting it into small pieces, will also ensure the destruction of the European corn borer.
The working unit of the machine for the in-row pulling out of the soil and shredding of corn stubble consists of a body (1), in which two rotors (2), driven by means of bevel gears (3), are symmetrically seated and bearing. The rotor consists of a shaft (4), on which at least five double-discs (5) are seated. Between the discs, plate-type flails (7) for shredding stubble with roots are fixed by means of pins (6). On the perimeter of the discs, four flails are fixed symmetrically. The rotor beaters grind the corn stubble into pieces after it has been pulled out of the soil by means of a pulling work piece (8) mounted on two identical shanks (9), which are attached to the body. The given working unit is mounted on the supporting frame (10) of the machine, which is suspended from the three-point linkage of an agricultural tractor and is driven from its PTO power take-off shaft through a Cardan shaft, a main gear of the angular type and intermediate gears of the angular type to individual rotors.

6. Conclusions

  • The conducted experimental studies clearly showed that corn borer larvae colonized as much as 12% of corn samples harvested for grain at an average stubble height of 155 mm and 19% of corn samples harvested for grain at an average height of 75 mm, and it should be considered that a large amount of this pest remained in the stubble.
  • The conducted experimental studies also showed that the average diameter of stalks at the residence height of European corn borer larvae when harvested for green fodder is 198 mm, and 218 mm for grain.
  • The experimental studies confirm the relationship between the date of corn harvest and the distance of the location of the larva from the ground surface. The later the harvest, the closer to the ground surface the corn borer larva is located. Therefore, the results obtained unequivocally indicate variable random locations of the pest. This proves the argument of this article’s authors, which is that effective control by currently known mechanical methods does not occur due to the presence of European corn borer larvae at different heights of stubble.
  • The presented design of our own construction of a machine (submitted to the patent office of the Republic of Poland) for destroying the European corn borer in a mechanical way without the need to use plant protection chemicals will, in the opinion of the authors of this paper, meet the requirement of not only destroying the European corn borer larvae residing in the stubble stalks but also in their roots.

Author Contributions

Conceptualization, M.Z., Ł.G. and A.B.; methodology, A.B., J.K. and R.L.; formal analysis, M.Z. and R.L.; investigation, R.L., J.K. and S.S.; writing—original draft preparation, M.Z., R.L. and A.B.; writing—review and editing, M.Z. and R.L.; visualization, M.Z.; supervision, A.B. and Ł.G. All authors have read and agreed to the published version of the manuscript.

Funding

This research was carried out with a grant from the Minister of Science and Higher Education as part of Scientific Research conducted at the Faculty of Mechanical Engineering of the PBS.

Institutional Review Board Statement

Not applicable.

Informed Consent Statement

Not applicable.

Data Availability Statement

All the computational data from mathematical simulations are included in the article.

Conflicts of Interest

The authors declare no conflicts of interest, and the funders had no role in the design of this study, in the writing of the manuscript, or in the decision to publish the results.

References

  1. Gus, S. Production of Agricultural and Horticultural Crops in 2022; Statistics Poland, Agriculture Department, 2023, ISSN 2353-5180. Available online: https://stat.gov.pl/en/topics/agriculture-forestry/agricultural-and-horticultural-crops/production-of-agricultural-and-horticultural-crops-in-2022,2,7.html (accessed on 4 November 2024).
  2. Bereś, P. Study on the Improvement of Integrated Maize Protection Against the Western Corn Rootworm (Diabrotica Virgifera Virgifera LeConte) and the European Corn Borer (Ostrinia nubilalis Hbn.); Scientific Dissertations of the Plant Protection Institute–National Research Institute: Poznan, Poland, 2013. [Google Scholar]
  3. Ginting, S.; Zarkani, A.; Hadi Wibowo, R. Sipriyadi New Invasive Pest, Spodoptera Frugiperda (J. e. Smith) (Lepidoptera: Noctuidae) Attacking Corn in Bengkulu, Indonesia. Serangga 2020, 25, 105–117. [Google Scholar]
  4. Silva, G.A.; Santos, I.B.; Campos, S.O.; Galdino, T.V.S.; Morais, E.G.F.; Martins, J.C.; Ferreira, L.R.; Guedes, R.N.C.; Picanço, M.C. Spatial distribution and losses by grain destroying insects in transgenic corn expressing the toxin Cry1Ab. PLoS ONE 2018, 13, e0201201. [Google Scholar] [CrossRef] [PubMed]
  5. Andreadis, S.S.; Vryzas, Z.; Papadopoulou-Mourkidou, E.; Savopoulou-Soultani, M. Age-Dependent Changes in Tolerance to Cold and Accumulation of Cryoprotectants in Overwintering and Non-Overwintering Larvae of European Corn Borer Ostrinia Nubilalis. Physiol. Èntomol. 2008, 33, 365–371. [Google Scholar] [CrossRef]
  6. Keszthelyi, S.; Egri, H.B.; Horváth, D.; Csóka, Á.; Kovács, G.; Donko, T. Nutrient Content Restructuring and CT-Measured Density, Volume Attritions on Damaged Beans Caused by Acanthoscelides Obtectus Say (Coleoptera: Chrysomelidae). J. Plant Prot. Res. 2018, 58, 91–95. [Google Scholar] [CrossRef]
  7. Zhu, R.; Hao, F.; Ma, D. Research on Polygon Pest-Infected Leaf Region Detection Based on YOLOv8. Agriculture 2023, 13, 2253. [Google Scholar] [CrossRef]
  8. Smith, J.L.; Farhan, Y. Monitoring resistance of Ostrinia nubilalis (Lepidoptera: Crambidae) in Canada to Cry toxins produced by Bt corn. J. Econ. Èntomol. 2023, 116, 916–926. [Google Scholar] [CrossRef]
  9. Al-Danoon, O.; Mazumder, S.; Chaudhary, B.P.; Nukala, V.; Bishop, B.; Cahoon, G.; Mohanty, S. Structural and Functional Characterization of European Corn Borer, Ostrinia nubilalis, Pheromone Binding Protein 3. J. Agric. Food Chem. 2021, 69, 14013–14023. [Google Scholar] [CrossRef]
  10. Kontowski, Ł.; Bereś, P.K. Flight dynamics of European Corn Borer (Ostrinia nubilalis Hbn.) in the Warmian-Masurian Voivodeship in 2020–2023—first date. Prog. Plant Prot. 2023, 63, 253–260. [Google Scholar] [CrossRef]
  11. Camerini, G.; Groppali, R.; Tschorsnig, H.P.; Maini, S. Influence of Ostrinia nubilalis Larval Density and Location in the Maize Plant on the Tachinid Fly Lydella Thompsoni. Bull. Insectology 2016, 69, 301–306. [Google Scholar]
  12. Bereś, P. Damage Caused by Ostrinia nubilalis Hbn. to Fodder Maize (Zea mays L.), Sweet Maize (Zea mays Var. Saccharata [Sturtev.] L.H. Bailey) and Sweet Sorghum (Sorghum bicolor [L.] Moench) near Rzeszów (South-Eastern Poland) in 2008–2010. Acta Sci. Pol. Agric. 2012, 11, 3–16. [Google Scholar]
  13. Sándor, K.; Holló, G. Evaluation of Influencing Factors on the Location and Displacement of Ostrinia nubilalis Larvae in Maize Stalks Measured by Computed Tomography. J. Plant Prot. Res. 2019, 59, 95–101. [Google Scholar] [CrossRef]
  14. Hsu, Y.T.; Shen, T.C.; Hwang, S.Y. Soil Fertility Management and Pest Responses: A Comparison of Organic and Synthetic Fertilization. J. Econ. Èntomol. 2009, 102, 160–169. [Google Scholar] [CrossRef] [PubMed]
  15. Roger-Estrade, J.; Anger, C.; Bertrand, M.; Richard, G. Tillage and Soil Ecology: Partners for Sustainable Agriculture. Soil Tillage Res. 2010, 111, 33–40. [Google Scholar] [CrossRef]
  16. Magagnoli, S.; Lanzoni, A.; Masetti, A.; Depalo, L.; Albertini, M.; Ferrari, R.; Spadola, G.; Degola, F.; Restivo, F.M.; Burgio, G. Sustainability of Strategies for Ostrinia nubilalis Management in Northern Italy: Potential Impact on Beneficial Arthropods and Aflatoxin Contamination in Years with Different Meteorological Conditions. Crop. Prot. 2021, 142, 105529. [Google Scholar] [CrossRef]
  17. Milne, A.E.; Bell, J.R.; Hutchison, W.D.; van den Bosch, F.; Mitchell, P.D.; Crowder, D.; Parnell, S.; Whitmore, A.P. The Effect of Farmers’ Decisions on Pest Control with Bt Crops: A Billion Dollar Game of Strategy. PLOS Comput. Biol. 2015, 11, e1004483. [Google Scholar] [CrossRef]
  18. Ivezić, A.; Mimić, G.; Trudić, B.; Blagojević, D.; Kuzmanović, B.; Kaitović, Ž.; Petrović, K. Development of a Predictive Model of the Flight Dynamics of the European Corn Borer, Ostrinia nubilalis Hübner, 1796 (Lepidoptera: Pyralidae), in the Vojvodina Region, Serbia—Implications for Integrated Pest Management. Agronomy 2023, 13, 1494. [Google Scholar] [CrossRef]
  19. Georgescu, E.; Toader, M.; Cana, L.; Risnoveanu, L. Researches Concerning European Corn Borer (Ostrinia nubilalis Hbn.) Control, in South-East of the Romania. Sci. Pap. Ser. A Agron. 2019, 62, 301–308. [Google Scholar]
  20. Sari, S.P.; Suliansyah, I.; Nelly, N.; Hamid, H.; Dwipa, I. Corn Pests and Evaluation of the Implementation of Integrated Pest Management in West Sumatra, Indonesia. Int. J. Adv. Sci. Eng. Inf. Technol. 2023, 13, 91–96. [Google Scholar] [CrossRef]
  21. Camerini, G.; Masanta, M.; Maini, S. Ostrinia nubilalis in Northern Italy: Egg Parasitoids and Control Trials on Three Sweet Pepper Landraces in Open Field Cultivations. Bull. Insectol. 2023, 76, 305–313. [Google Scholar]
  22. Razinger, J.; Vasileiadis, V.P.; Giraud, M.; van Dijk, W.; Modic, Š.; Sattin, M.; Urek, G. On-Farm Evaluation of Inundative Biological Control of Ostrinia nubilalis (Lepidoptera: Crambidae) by Trichogramma brassicae (Hymenoptera: Trichogrammatidae) in Three European Maize-Producing Regions. Pest Manag. Sci. 2016, 72, 246–254. [Google Scholar] [CrossRef] [PubMed]
  23. Wang, H.; Li, X.; Li, X.; Wang, J.; Li, X.; Guo, Q.; Yu, Z.; Yang, T.; Zhang, H. Long-Term No-Tillage and Different Residue Amounts Alter Soil Microbial Community Composition and Increase the Risk of Maize Root Rot in Northeast China. Soil Tillage Res. 2020, 196, 104452. [Google Scholar] [CrossRef]
  24. Gaibor-Fernández, R.; Rodríguez-Rodríguez, S.; Reyes-Pérez, J.J.; Jiménez-Pizarro, M.; González-Rosales, B.; Jacas-Vega, L.; Rivas-García, T.; Hernández-Montiel, L.G. Spodoptera Frugiperda Management in Zea mays L. Using Vinasse and Corn-Mulberry Mulching. Trop. Subtrop. Agroecosyst. 2023, 26. [Google Scholar] [CrossRef]
  25. Chen, N.; Li, X.; Shi, H.; Yan, J.; Zhang, Y.; Hu, Q. Evaluating the Effects of Plastic Film Mulching Duration on Soil Nitrogen Dynamic and Comprehensive Benefit for Corn (Zea mays L.) Field. Agric. Water Manag. 2023, 286, 108404. [Google Scholar] [CrossRef]
Figure 1. Cutting height of maize stalks during harvesting for green fodder and for grain.
Figure 1. Cutting height of maize stalks during harvesting for green fodder and for grain.
Sustainability 16 09685 g001
Figure 2. View of the field after corn harvest: (a) harvesting corn for green fodder, (b) harvesting corn for grain.
Figure 2. View of the field after corn harvest: (a) harvesting corn for green fodder, (b) harvesting corn for grain.
Sustainability 16 09685 g002
Figure 3. View of collected samples for testing: (a) parts of corn stalks harvested for green fodder, (b) parts of corn stalks harvested for grain.
Figure 3. View of collected samples for testing: (a) parts of corn stalks harvested for green fodder, (b) parts of corn stalks harvested for grain.
Sustainability 16 09685 g003
Figure 4. View of an exemplary cut corn stalk with the pest visible in its centre.
Figure 4. View of an exemplary cut corn stalk with the pest visible in its centre.
Sustainability 16 09685 g004
Figure 5. Residence height of the European corn borer larvae in maize stubble intended for green fodder and grain.
Figure 5. Residence height of the European corn borer larvae in maize stubble intended for green fodder and grain.
Sustainability 16 09685 g005
Figure 6. Maize stalk diameter at the residence height of the European corn borer larvae for plants intended for green fodder and for grain.
Figure 6. Maize stalk diameter at the residence height of the European corn borer larvae for plants intended for green fodder and for grain.
Sustainability 16 09685 g006
Figure 7. Dependence of the residence height of European corn borer larvae in maize stubble on the height of stalk cutting during harvest intended for green fodder.
Figure 7. Dependence of the residence height of European corn borer larvae in maize stubble on the height of stalk cutting during harvest intended for green fodder.
Sustainability 16 09685 g007
Figure 8. Dependence of the residence height of the European corn borer larvae in maize stubble on the height of stalk cutting during harvest intended for grain.
Figure 8. Dependence of the residence height of the European corn borer larvae in maize stubble on the height of stalk cutting during harvest intended for grain.
Sustainability 16 09685 g008
Figure 9. Dependence of the residence height of European corn borer larvae in stubble on maize stalk diameter (at the height of larvae residence) for plants intended for green fodder.
Figure 9. Dependence of the residence height of European corn borer larvae in stubble on maize stalk diameter (at the height of larvae residence) for plants intended for green fodder.
Sustainability 16 09685 g009
Figure 10. Dependence of the European corn borer larvae residence height in stubble on maize stalk diameter (at larval residence height) designed for grain crops.
Figure 10. Dependence of the European corn borer larvae residence height in stubble on maize stalk diameter (at larval residence height) designed for grain crops.
Sustainability 16 09685 g010
Figure 11. New design of the working unit of the machine for effective control of the European corn borer in corn plantations: 1—body; 2—rotors; 3—angle-tooth gearbox; 4—shaft; 5—disc; 6—pins; 7—flappers; 8—extractor unit; 9—extractor unit shanks; 10—support frame.
Figure 11. New design of the working unit of the machine for effective control of the European corn borer in corn plantations: 1—body; 2—rotors; 3—angle-tooth gearbox; 4—shaft; 5—disc; 6—pins; 7—flappers; 8—extractor unit; 9—extractor unit shanks; 10—support frame.
Sustainability 16 09685 g011
Table 1. Occurrence under field conditions of the European corn borer larvae in stubble in the post-harvest period of maize for green fodder and for grain.
Table 1. Occurrence under field conditions of the European corn borer larvae in stubble in the post-harvest period of maize for green fodder and for grain.
DesignationReplication
1234On Average
For green fodder [%]8284812
For grain [%]1616202419
Disclaimer/Publisher’s Note: The statements, opinions and data contained in all publications are solely those of the individual author(s) and contributor(s) and not of MDPI and/or the editor(s). MDPI and/or the editor(s) disclaim responsibility for any injury to people or property resulting from any ideas, methods, instructions or products referred to in the content.

Share and Cite

MDPI and ACS Style

Zastempowski, M.; Lamparski, R.; Bochat, A.; Kaszkowiak, J.; Sendel, S.; Gierz, Ł. Problems of Sustainable Agriculture with Regard to the Destruction of the European Corn Borer in Maize Plantations. Sustainability 2024, 16, 9685. https://doi.org/10.3390/su16229685

AMA Style

Zastempowski M, Lamparski R, Bochat A, Kaszkowiak J, Sendel S, Gierz Ł. Problems of Sustainable Agriculture with Regard to the Destruction of the European Corn Borer in Maize Plantations. Sustainability. 2024; 16(22):9685. https://doi.org/10.3390/su16229685

Chicago/Turabian Style

Zastempowski, Marcin, Robert Lamparski, Andrzej Bochat, Jerzy Kaszkowiak, Sebastian Sendel, and Łukasz Gierz. 2024. "Problems of Sustainable Agriculture with Regard to the Destruction of the European Corn Borer in Maize Plantations" Sustainability 16, no. 22: 9685. https://doi.org/10.3390/su16229685

APA Style

Zastempowski, M., Lamparski, R., Bochat, A., Kaszkowiak, J., Sendel, S., & Gierz, Ł. (2024). Problems of Sustainable Agriculture with Regard to the Destruction of the European Corn Borer in Maize Plantations. Sustainability, 16(22), 9685. https://doi.org/10.3390/su16229685

Note that from the first issue of 2016, this journal uses article numbers instead of page numbers. See further details here.

Article Metrics

Back to TopTop