Energy and Exergy Analysis of Transcritical CO2 Cycles for Heat Pump Applications
Abstract
1. Introduction
- The reference cycle and also the most important cycle modifications are analyzed;
- The optimal operating conditions are more exhaustively explained by means of a comprehensive exergy analysis including the entire cycle, not just the irreversibility in the gas cooler;
- The performance is assessed with reference to a constant heat demand, while in the literature, the compressor displacement is often taken as a constant, and taking into account a wide range of possible rated operating conditions (with regard to the temperature profile of the heat sink and the ambient temperature).
2. Methods
2.1. General Assumptions
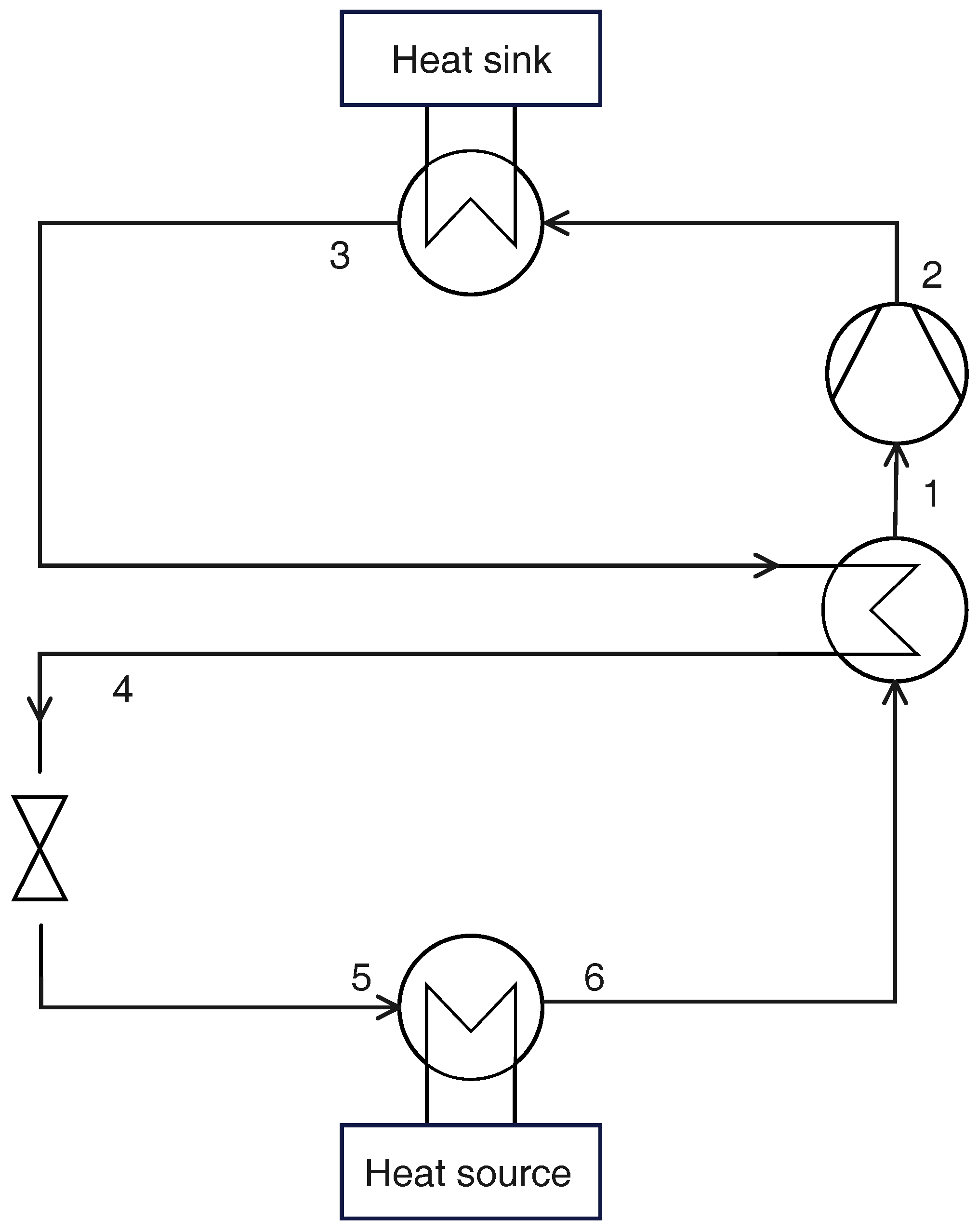
2.2. Reference Cycle
2.2.1. Thermodynamic States
- Evaporation temperature , with the corresponding pressure ;
- Superheating at the compressor inlet ;
- Gas cooler pressure ;
- Temperature at the gas cooler exit .
2.2.2. Cycle Performance
2.2.3. Design Parameters
- 1.
- : rate of heat transferred in the gas cooler;
- 2.
- : water inlet temperature at the gas cooler;
- 3.
- : water temperature glide in the gas cooler;
- 4.
- : minimum temperature difference between CO2 and water in the gas cooler;
- 5.
- : air inlet temperature in the evaporator;
- 6.
- : air temperature decrease in the evaporator;
- 7.
- : minimum temperature difference between air and CO2 in the evaporator;
- 8.
- : superheating at the compressor inlet;
- 9.
- : compressor overall efficiency;
- 10.
- : compressor mechanical efficiency;
- 11.
- : gas cooler pressure.
2.2.4. Constrained Optimization
2.3. Cycle with Internal Heat Exchanger
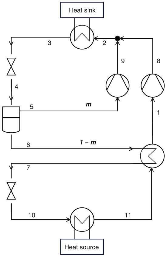
2.4. Parallel Compression
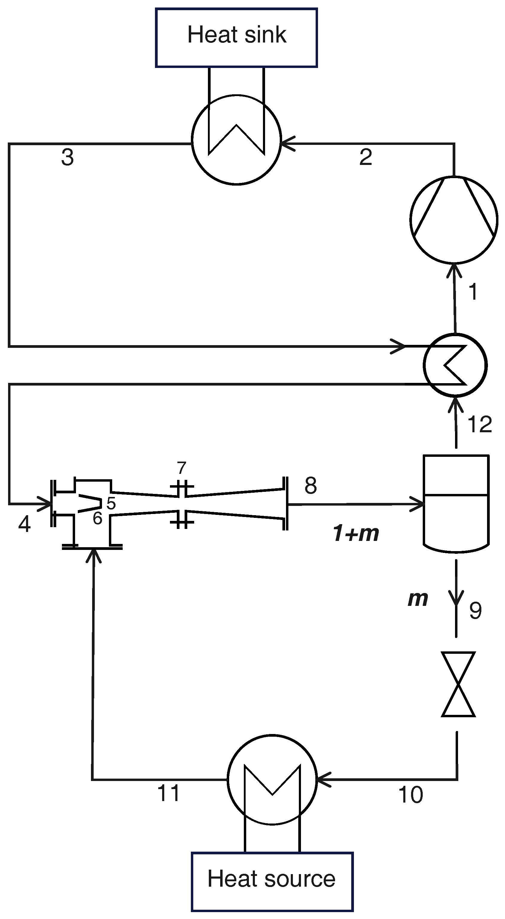
2.5. Cycle with Ejector
3. Results and Discussion
3.1. Influence of Gas Cooler Pressure (Cycle Optimization)
3.2. Optimized Cycles: Influence of End-User Temperature Profile and Ambient Temperature
3.2.1. Reference Cycle
3.2.2. Cycle Modifications
4. Conclusions
- 1.
- The temperature profile of the end user determines the number and locations of pinch points in the gas cooler for the maximum COP configuration: for relatively low inlet temperature and high temperature glides, the optimal pressure is the one that gives rise to two pinch points, one at the cold end and another inside the gas cooler (2PP configurations), while for relatively high inlet temperatures and low temperature glides, the optimal pressure is higher than the one that results in two pinch points, and in the optimal configuration, there is only one pinch point in the gas cooler, located at the cold end (1PP configurations).
- 2.
- The transition from the 2PP to the 1PP region mainly depends on the average water temperature and the temperature glide, and is explained by the exergy destruction that takes place not only in the gas cooler but also in the valve.
- 3.
- The optimal gas cooler pressure increases with the average water temperature but at different rates in the 2PP and 1PP regions. In particular, the rate of increase is much higher for 1PP configurations.
- 4.
- The flow rate of CO2 changes with the average water temperature in different ways in the 2PP and 1PP regions: it increases in the former and decreases in the latter. Furthermore, it decreases with the ambient air temperature.
- 5.
- The cycle with IHX and ejector is the most efficient among those analyzed: with respect to the reference cycle, the COP increases by 13.3–26.1% and the second-law efficiency by 21.0–37.6%, depending on the operating conditions.
Author Contributions
Funding
Data Availability Statement
Conflicts of Interest
Abbreviations
| 1PP | Configurations with optimal pressure resulting in one gas cooler pinch point |
| 2PP | Configurations with optimal pressure resulting in two gas cooler pinch point |
| ASHP | Air Source Heat Pump |
| COP | Coefficient Of Performance |
| HTF | Heat Transfer Fluid |
| HP | Heat Pump |
| IHX | Internal Heat Exchanger |
| PC | Parallel Compression |
Appendix A. Optimized Thermodynamic Cycles


References
- International Energy Agency. The Future of Heat Pumps; OECD: Paris, France, 2022. [Google Scholar] [CrossRef]
- Bellocchi, S.; Manno, M.; Noussan, M.; Prina, M.G.; Vellini, M. Electrification of Transport and Residential Heating Sectors in Support of Renewable Penetration: Scenarios for the Italian Energy System. Energy 2020, 196, 117062. [Google Scholar] [CrossRef]
- Simon, S.; Xiao, M.; Harpprecht, C.; Sasanpour, S.; Gardian, H.; Pregger, T. A Pathway for the German Energy Sector Compatible with a 1.5 °C Carbon Budget. Sustainability 2022, 14, 1025. [Google Scholar] [CrossRef]
- Gaur, A.S.; Fitiwi, D.Z.; Curtis, J. Heat Pumps and Our Low-Carbon Future: A Comprehensive Review. Energy Res. Soc. Sci. 2021, 71, 101764. [Google Scholar] [CrossRef]
- Faraldo, F.; Byrne, P. A Review of Energy-Efficient Technologies and Decarbonating Solutions for Process Heat in the Food Industry. Energies 2024, 17, 3051. [Google Scholar] [CrossRef]
- Ong, B.H.Y.; Bhadbhade, N.; Olsen, D.G.; Wellig, B. Characterizing Sector-Wide Thermal Energy Profiles for Industrial Sectors. Energy 2023, 282, 129028. [Google Scholar] [CrossRef]
- Zuberi, M.J.S.; Hasanbeigi, A.; Morrow, W. Techno-Economic Evaluation of Industrial Heat Pump Applications in US Pulp and Paper, Textile, and Automotive Industries. Energy Effic. 2023, 16, 19. [Google Scholar] [CrossRef]
- Schoeneberger, C.; Dunn, J.B.; Masanet, E. Technical, Environmental, and Economic Analysis Comparing Low-Carbon Industrial Process Heat Options in U.S. Poly(vinyl chloride) and Ethylene Manufacturing Facilities. Environ. Sci. Technol. 2024, 58, 4957–4967. [Google Scholar] [CrossRef]
- United Nations. Montreal Protocol on Substances That Deplete the Ozone Layer. 1987. Available online: https://treaties.un.org/doc/Treaties/1989/01/19890101%2003-25%20AM/Ch_XXVII_02_ap.pdf (accessed on 15 July 2024).
- United Nations. Amendment to the Montreal Protocol on Substances That Deplete the Ozone Layer. 2016. Available online: https://treaties.un.org/doc/Treaties/2016/10/20161015%2003-23%20PM/Ch_XXVII-2.f-English%20and%20French.pdf (accessed on 15 July 2024).
- Wu, D.; Hu, B.; Wang, R.Z. Vapor Compression Heat Pumps with Pure Low-GWP Refrigerants. Renew. Sustain. Energy Rev. 2021, 138, 110571. [Google Scholar] [CrossRef]
- Zühlsdorf, B.; Jensen, J.K.; Elmegaard, B. Heat Pump Working Fluid Selection—Economic and Thermodynamic Comparison of Criteria and Boundary Conditions. Int. J. Refrig. 2019, 98, 500–513. [Google Scholar] [CrossRef]
- Vannoni, A.; Sorce, A.; Traverso, A.; Massardo, A.F. Techno-Economic Analysis of Power-to-Heat Systems. E3S Web Conf. 2021, 238, 03003. [Google Scholar] [CrossRef]
- Li, Z.; Jiang, H.; Chen, X.; Liang, K. Comparative Study on Energy Efficiency of Low GWP Refrigerants in Domestic Refrigerators with Capacity Modulation. Energy Build. 2019, 192, 93–100. [Google Scholar] [CrossRef]
- Bergamini, R.; Jensen, J.K.; Elmegaard, B. Thermodynamic Competitiveness of High Temperature Vapor Compression Heat Pumps for Boiler Substitution. Energy 2019, 182, 110–121. [Google Scholar] [CrossRef]
- Lorentzen, G. Revival of Carbon Dioxide as a Refrigerant. Int. J. Refrig. 1994, 17, 292–301. [Google Scholar] [CrossRef]
- Stene, J. Residential CO2 Heat Pump System for Combined Space Heating and Hot Water Heating. Int. J. Refrig. 2005, 28, 1259–1265. [Google Scholar] [CrossRef]
- Diniz, H.A.G.; Paulino, T.F.; Pabon, J.J.G.; Maia, A.A.T.; Oliveira, R.N. Dynamic Model of a Transcritical CO2 Heat Pump for Residential Water Heating. Sustainability 2021, 13, 3464. [Google Scholar] [CrossRef]
- Banks, A.; Grist, C.; Heller, J.; Lim, H. Field Measurement of Central CO2 Heat Pump Water Heater for Multifamily Retrofit. Sustainability 2022, 14, 8048. [Google Scholar] [CrossRef]
- Wang, D.; Yu, B.; Hu, J.; Chen, L.; Shi, J.; Chen, J. Heating Performance Characteristics of CO2 Heat Pump System for Electrical Vehicle in a Cold Climate. Int. J. Refrig. 2018, 85, 27–41. [Google Scholar] [CrossRef]
- Groll, E.A.; Kim, J.H. Review of Recent Advances toward Transcritical CO2 Cycle Technology. HVAC&R Res. 2007, 13, 499–520. [Google Scholar] [CrossRef]
- Liao, S.M.; Zhao, T.S.; Jakobsen, A. A Correlation of Optimal Heat Rejection Pressures in Transcritical Carbon Dioxide Cycles. Appl. Therm. Eng. 2000, 20, 831–841. [Google Scholar] [CrossRef]
- Dai, B.; Dang, C.; Li, M.; Tian, H.; Ma, Y. Thermodynamic Performance Assessment of Carbon Dioxide Blends with Low-Global Warming Potential (GWP) Working Fluids for a Heat Pump Water Heater. Int. J. Refrig. 2015, 56, 1–14. [Google Scholar] [CrossRef]
- Wang, S.; Tuo, H.; Cao, F.; Xing, Z. Experimental Investigation on Air-Source Transcritical CO2 Heat Pump Water Heater System at a Fixed Water Inlet Temperature. Int. J. Refrig. 2013, 36, 701–716. [Google Scholar] [CrossRef]
- Adamson, K.M.; Walmsley, T.G.; Carson, J.K.; Chen, Q.; Schlosser, F.; Kong, L.; Cleland, D.J. High-Temperature and Transcritical Heat Pump Cycles and Advancements: A Review. Renew. Sustain. Energy Rev. 2022, 167, 112798. [Google Scholar] [CrossRef]
- Ji, H.; Pei, J.; Cai, J.; Ding, C.; Guo, F.; Wang, Y. Review of Recent Advances in Transcritical CO2 Heat Pump and Refrigeration Cycles and Their Development in the Vehicle Field. Energies 2023, 16, 4011. [Google Scholar] [CrossRef]
- Rony, R.U.; Yang, H.; Krishnan, S.; Song, J. Recent Advances in Transcritical CO2 (R744) Heat Pump System: A Review. Energies 2019, 12, 457. [Google Scholar] [CrossRef]
- Cao, F.; Ye, Z.; Wang, Y. Experimental Investigation on the Influence of Internal Heat Exchanger in a Transcritical CO2 Heat Pump Water Heater. Appl. Therm. Eng. 2020, 168, 114855. [Google Scholar] [CrossRef]
- Taslimi Taleghani, S.; Sorin, M.; Poncet, S. Analysis and Optimization of Exergy Flows inside a Transcritical CO2 Ejector for Refrigeration, Air Conditioning and Heat Pump Cycles. Energies 2019, 12, 1686. [Google Scholar] [CrossRef]
- Haida, M.; Banasiak, K.; Smolka, J.; Hafner, A.; Eikevik, T.M. Experimental Analysis of the R744 Vapour Compression Rack Equipped with the Multi-Ejector Expansion Work Recovery Module. Int. J. Refrig. 2016, 64, 93–107. [Google Scholar] [CrossRef]
- Zhu, Y.; Huang, Y.; Li, C.; Zhang, F.; Jiang, P.X. Experimental Investigation on the Performance of Transcritical CO2 Ejector–Expansion Heat Pump Water Heater System. Energy Convers. Manag. 2018, 167, 147–155. [Google Scholar] [CrossRef]
- Liu, Y.; Sun, Y.; Tang, D. Analysis of a CO2 Transcritical Refrigeration Cycle with a Vortex Tube Expansion. Sustainability 2019, 11, 2021. [Google Scholar] [CrossRef]
- Sarkar, J.; Agrawal, N. Performance Optimization of Transcritical CO2 Cycle with Parallel Compression Economization. Int. J. Therm. Sci. 2010, 49, 838–843. [Google Scholar] [CrossRef]
- López Paniagua, I.; Jiménez Álvaro, Á.; Rodríguez Martín, J.; González Fernández, C.; Nieto Carlier, R. Comparison of Transcritical CO2 and Conventional Refrigerant Heat Pump Water Heaters for Domestic Applications. Energies 2019, 12, 479. [Google Scholar] [CrossRef]
- Mancinelli, C.; Manno, M.; Salvatori, M.; Zaccagnini, A. Thermal Energy Storage as a Way to Improve Transcritical CO2 Heat Pump Performance by Means of Heat Recovery Cycles. Energy Storage Sav. 2023, 2, 532–539. [Google Scholar] [CrossRef]
- Wang, Z.; Zhang, Y.; Wang, F.; Li, G.; Xu, K. Performance Optimization and Economic Evaluation of CO2 Heat Pump Heating System Coupled with Thermal Energy Storage. Sustainability 2021, 13, 13683. [Google Scholar] [CrossRef]
- Liu, X.; Fu, R.; Wang, Z.; Lin, L.; Sun, Z.; Li, X. Thermodynamic Analysis of Transcritical CO2 Refrigeration Cycle Integrated with Thermoelectric Subcooler and Ejector. Energy Convers. Manag. 2019, 188, 354–365. [Google Scholar] [CrossRef]
- Yang, J.; Zhang, X.; Wang, L.; Du, Y.; Han, Y. Performance Analysis of Transcritical CO2 Quasi-Secondary Compression Cycle with Ejector Based on Pinch Point. Designs 2023, 7, 89. [Google Scholar] [CrossRef]
- Chen, Y.G. Pinch Point Analysis and Design Considerations of CO2 Gas Cooler for Heat Pump Water Heaters. Int. J. Refrig. 2016, 69, 136–146. [Google Scholar] [CrossRef]
- Chen, Y.G. Optimal Heat Rejection Pressure of CO2 Heat Pump Water Heaters Based on Pinch Point Analysis. Int. J. Refrig. 2019, 106, 592–603. [Google Scholar] [CrossRef]
- Cui, Q.; Wang, C.; Gao, E.; Zhang, X. Pinch Point Characteristics and Performance Evaluation of CO2 Heat Pump Water Heater under Variable Working Conditions. Appl. Therm. Eng. 2022, 207, 118208. [Google Scholar] [CrossRef]
- Bell, I.H.; Wronski, J.; Quoilin, S.; Lemort, V. Pure and Pseudo-pure Fluid Thermophysical Property Evaluation and the Open-Source Thermophysical Property Library CoolProp. Ind. Eng. Chem. Res. 2014, 53, 2498–2508. [Google Scholar] [CrossRef]
- The Mathworks. Constrained Nonlinear Optimization Algorithms. Available online: https://it.mathworks.com/help/optim/ug/constrained-nonlinear-optimization-algorithms.html#brnpd5f (accessed on 26 August 2024).
- Minetto, S. Theoretical and Experimental Analysis of a CO2 Heat Pump for Domestic Hot Water. Int. J. Refrig. 2011, 34, 742–751. [Google Scholar] [CrossRef]
- Kornhauser, A.A. The Use of an Ejector as a Refrigerant Expander, 1990. In International Refrigeration and Air Conditioning Conference; Purdue University: West Lafayette, IN, USA, 1990; Paper 82; Available online: https://docs.lib.purdue.edu/iracc/82/ (accessed on 20 March 2024).
- Liu, R.; Gao, F.; Liang, K.; Wang, L.; Wang, M.; Mi, G.; Li, Y. Thermodynamic Evaluation of Transcritical CO2 Heat Pump Considering Temperature Matching under the Constraint of Heat Transfer Pinch Point. J. Therm. Sci. 2021, 30, 869–879. [Google Scholar] [CrossRef]
- Cecchinato, L.; Corradi, M.; Fornasieri, E.; Zamboni, L. Carbon Dioxide as Refrigerant for Tap Water Heat Pumps: A Comparison with the Traditional Solution. Int. J. Refrig. 2005, 28, 1250–1258. [Google Scholar] [CrossRef]
















| Parameter | Range | Parameter | Value | Parameter | Value |
|---|---|---|---|---|---|
| 20–50 °C | 100 | 0.85 | |||
| 20–60 K | 3 | 0.85 | |||
| −20–0 °C | 3 | 0.80 | |||
| 3 | 0.95 | ||||
| 5 | |||||
| 0.90 | |||||
| Equation (4) |
| Case | |||
|---|---|---|---|
| A | 20 | 50 | 0 |
| B | 40 | 30 | 0 |
Disclaimer/Publisher’s Note: The statements, opinions and data contained in all publications are solely those of the individual author(s) and contributor(s) and not of MDPI and/or the editor(s). MDPI and/or the editor(s) disclaim responsibility for any injury to people or property resulting from any ideas, methods, instructions or products referred to in the content. |
© 2024 by the authors. Licensee MDPI, Basel, Switzerland. This article is an open access article distributed under the terms and conditions of the Creative Commons Attribution (CC BY) license (https://creativecommons.org/licenses/by/4.0/).
Share and Cite
Gambini, M.; Manno, M.; Vellini, M. Energy and Exergy Analysis of Transcritical CO2 Cycles for Heat Pump Applications. Sustainability 2024, 16, 7511. https://doi.org/10.3390/su16177511
Gambini M, Manno M, Vellini M. Energy and Exergy Analysis of Transcritical CO2 Cycles for Heat Pump Applications. Sustainability. 2024; 16(17):7511. https://doi.org/10.3390/su16177511
Chicago/Turabian StyleGambini, Marco, Michele Manno, and Michela Vellini. 2024. "Energy and Exergy Analysis of Transcritical CO2 Cycles for Heat Pump Applications" Sustainability 16, no. 17: 7511. https://doi.org/10.3390/su16177511
APA StyleGambini, M., Manno, M., & Vellini, M. (2024). Energy and Exergy Analysis of Transcritical CO2 Cycles for Heat Pump Applications. Sustainability, 16(17), 7511. https://doi.org/10.3390/su16177511

