Power Flow Optimization Strategy of Distribution Network with Source and Load Storage Considering Period Clustering
Abstract
1. Introduction
- (1)
- Based on the k-means clustering method, the equivalent load curve is clustered in different periods, so as to dynamically determine the weight coefficient of the objective function according to the periods;
- (2)
- A solution method based on particle swarm optimization is proposed, which can effectively solve the model.
- (3)
- Based on the proposed power flow optimization method of distribution network considering time period clustering, the power flow optimization of the IEEE33 system in a certain area is analyzed, and the objective function values are all decreased, thus improving the economy and security of the distribution network.
2. Multi-Objective Power Flow Optimization Model of Distribution Network with Source and Load Storage
2.1. Establishment of Objective Function
- (2)
- Objective function : the node voltage deviation is the smallest; that is, the voltage distribution is the most reasonable [16].
- (3)
- Objective function : minimum power loss.
2.2. Constraints
2.2.1. Power Flow Constraint
2.2.2. Power Balance Constraints
2.2.3. Bus Voltage Constraint
2.2.4. Unit Output Constraint
2.2.5. Energy Storage Operation Constraints
2.2.6. Climbing Constraint
2.2.7. Branch Current Constraint
2.3. Power Flow Optimization Mathematical Model
3. Determination of Weighting Factors of Optimization Model Based on k-Means Clustering
3.1. k-Means Clustering Analysis
3.2. Elbow Rule Determines the Best Clustering Number k
3.3. Determination of Weighting Factor
4. Solution of Mathematical Model
5. Analysis of Example
5.1. Basic Data
5.2. Analysis of Power Flow Optimization Results Based on PSO
5.2.1. Time-Interval Clustering Results of Equivalent Load Curve
5.2.2. Determination of Power Flow Optimization Scheme
5.2.3. DNMPFO Results under Different Schemes
- (1)
- Units Output results under each scheme
- (2)
- Voltage results under each scheme
- (3)
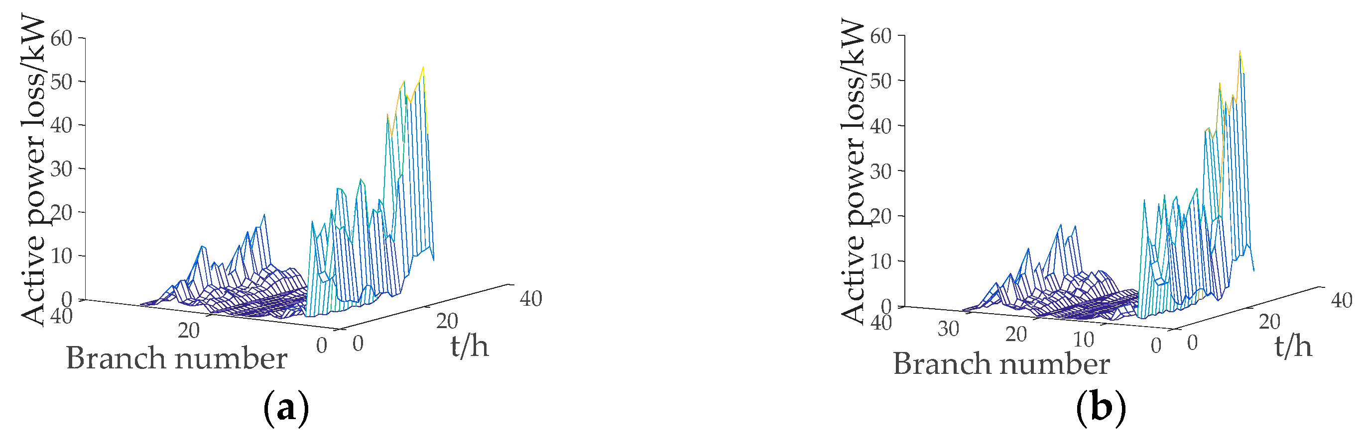
- Network loss results under each scheme
- (4)
- Comparison results of different schemes
6. Conclusions
- (1)
- When establishing the DNMPFO model, taking the lowest total cost, the lowest voltage deviation and the lowest power loss including fuel cost, operation and maintenance cost, power purchase cost and pollutant emission control cost as objective functions, and comprehensively considering multiple constraints such as power flow constraint, climbing constraint and energy storage operation constraint, it can be more in line with the actual operation situation of distribution network, and the comprehensive optimization effect is better;
- (2)
- K-means clustering is used to divide the equivalent load after the superposition of PV, WT and load output for 24 h a day into different periods, and FCE is used to dynamically determine the weighting factor of each period, so that the determination of the weighting factor is more reasonable and the subsequent optimization effect is better;
- (3)
- The results of PSO algorithm show that the calculation results of this strategy can effectively reduce the economic cost, improve the voltage deviation and reduce the power loss, thus improving the economy and reliability of power grid operation.
Author Contributions
Funding
Informed Consent Statement
Data Availability Statement
Conflicts of Interest
References
- Zhao, M.; Hengxu, Z.; Haoran, Z.; Mengxue, W.; Yuanyuan, S. New mission and challenge of power distribution and consumption system under dual-carbon target. Proc. CSEE 2022, 42, 6931–6945. [Google Scholar]
- Zhigang, Z.; Chongqing, K. Challenges and prospects for constructing the new-type power system towards a carbon neutrality future. Proc. CSEE 2022, 42, 2806–2819. [Google Scholar]
- Xiping, M.; Rong, J.; Chen, L.; Weizhou, W.; Rui, X. Review of researches on loss reduction in context of high penetration of renewable power generation. Power Syst. Technol. 2022, 46, 4305–4315. [Google Scholar]
- Chengzhou, L.; Ligang, W.; Yumeng, Z.; Hangyu, Y.; Zhuo, W.; Liang, L.; Ningling, W.; Zhiping, Y.; Maréchal, F.; Yongping, Y. A multi-objective planning method for multi-energy complementary distributed energy system: Tackling thermal integration and process synergy. J. Clean. Prod. 2023, 390, 135905. [Google Scholar] [CrossRef]
- Zhonghui, Z.; Dayong, L.; Jun, L.; Yanyu, X.; Junwei, X. Source-network-load-storage bi-level collaborative planning model of active distribution network with sop based on adaptive ε-dominating multi-objective particle swarm optimization algorithm. Power Syst. Technol. 2022, 46, 2199–2212. [Google Scholar]
- Mengyi, L.; Xiaoyan, Q.; Zhirong, Z.; Changshu, Z.; Youlin, Z. Multi-objective reactive power optimization of distribution network considering output correlation between wind turbines and photovoltaic units. Power Syst. Technol. 2020, 44, 1892–1899. [Google Scholar]
- Chunyan, L.; Chenyu, Z.; Bo, H.; Zhengyu, C.; Qinglong, L. Two-stage clustering algorithm of typical wind-PV-load scenario generation for reliability evaluation. Electr. Eng. Energy 2021, 40, 1–9. [Google Scholar]
- Lili, W.; Hao, W.; Zhouyang, R.; Yihao, S. Evaluation of renewable energy accommodation capacityof high voltage distribution networks considering regulation potential of flexible resources. Electr. Power 2022, 55, 124–131. [Google Scholar]
- Huankun, Z.; Fanfei, Z.; Yu, F.; Chaochao, H.; Lingyu, Z. Bi-level distributed power planning based on e-c-k-means clustering and sop optimization. Acta Energ. Sol. Sin. 2022, 43, 127–135. [Google Scholar]
- Jiaxin, G.; Jing, B.; Guoqing, L.; He, W. Wind power fluctuation considered calculation of interval optimal power flow in AC/DC system and configuration of DCPFC. Mod. Electr. Power 2020, 37, 613–623. [Google Scholar]
- Sachin Sharma, K.; Niazi, R.; Kusum, V.; Tanuj, R. Coordination of different DGs, BESS and demand response for multi-objective optimization of distribution network with special reference to Indian power sector. Int. J. Electr. Power Energy Syst. 2020, 121, 106074. [Google Scholar] [CrossRef]
- Zhao, H.; Pengbo, M.; Mengmeng, W.; Baling, F.; Ming, Z. A Hierarchical Strategy for Multi-Objective Optimization of Distribution Network Considering DGs and V2G-Enabled EVs Integration. Front. Energy Res. 2022, 10, 869844. [Google Scholar]
- Yang, X.; Wang, L. Optimization of distributed power distribution network based on probabilistic load flow. Acta Energ. Sol. Sin. 2021, 42, 71–76. [Google Scholar]
- Qifen, L.; Yihan, Z.; Yongwen, Y.; Liting, Z.; Chen, J. Demand-Response-Oriented Load Aggregation Scheduling Optimization Strategy for Inverter Air Conditioner. Energies 2022, 16, 337. [Google Scholar] [CrossRef]
- Guan, W.; Zhongfu, T.; Qingkun, T.; Shenbo, Y.; Hongyu, L.; Xionghua, J.; De, G.; Xueying, S. Multi-Objective Robust Scheduling Optimization Model of Wind, Photovoltaic Power, and BESS Based on the Pareto Principle. Sustainability 2019, 11, 305. [Google Scholar] [CrossRef]
- Al-Kaabi, M.; Dumbrava, V.; Eremia, M. Single and Multi-Objective Optimal Power Flow Based on Hunger Games Search with Pareto Concept Optimization. Energies 2022, 15, 8328. [Google Scholar] [CrossRef]
- Zailin, P.; Xiaofang, M. Distribution Network Planning; Electric Power Press: Beijing, China, 2015; pp. 180–197. [Google Scholar]
- Jun, D.; Zongnan, Z.; Menghan, L.; Jing, G.; Kongge, Z. Optimal scheduling of integrated energy system based on improved grey wolf optimization algorithm. Sci. Rep. 2022, 12, 1–19. [Google Scholar]
- Rauf, A.; Kassas, M.; Khalid, M. Data-Driven Optimal Battery Storage Sizing for Grid-Connected Hybrid Distributed Generations Considering Solar and Wind Uncertainty. Sustainability 2023, 14, 110002. [Google Scholar] [CrossRef]
- Ciwei, G.; Wei, W.; Tao, C. Capacity Planning of Electric-hydrogen Integrated Energy Station Based on Reversible Solid Oxide Battery. Proc. CSEE 2022, 42, 6155–6170. [Google Scholar]
- Yanbo, C.; Yanhu, M.; Guodong, Z.; Zhixiang, S.; Donghui, C. Coordinated planning of thermo-electrolytic coupling for multiple chp units considering demand response. Power Syst. Technol. 2022, 46, 3821–3832. [Google Scholar]
- Shouxiang, W.; Qi, L.; Qianyu, Z.; Zhuoran, L.; Kai, W. Improved particle swarm optimization algorithm for multi-objective voltage optimization of ac/dc distribution network considering the randomness of source and loads. Proc. CSU-EPSA 2021, 33, 10–17. [Google Scholar]
- Zhaolong, Z.; Shaishai, Z.; Bo, Z. A fast classification method based on factor analysis and K-means clustering for retired electric vehicle batteries. Power Syst. Prot. Control 2021, 49, 41–47. [Google Scholar]
- Fangfang, Z.; Xiaofang, M.; Lidi, W.; Nannan, Z. Operation Optimization Method of Distribution Network with Wind Turbine and Photovoltaic Considering Clustering and Energy Storage. Sustainability 2023, 15, 2184. [Google Scholar] [CrossRef]
- Yang, H.; Qian, L.; Fang, F.; Yuchen, H. Dynamic interval modeling of ultra-short-term output of wind farm based on finite difference operating domains. Power Syst. Technol. 2022, 46, 1346–1357. [Google Scholar]
- Changjuan, L.; Yunlong, C.; Jiyan, L.; Xuemei, Z.; Xiaoyu, W. Ensemble learning-based day-ahead power forecasting of distributed photovoltaic generation. Electr. Power 2022, 55, 38–45. [Google Scholar]
- Xiaofang, M.; Lidi, M.; Xiaoning, W.; Yingnan, W.; Ran, L. Improve operation characteristics in three-phase four-wire low-voltage distribution network using distributed generation. Power Syst. Technol. 2018, 2018, 4091–4100. [Google Scholar]
- Xiaojuan, L.; Jianjun, W.; Yuen, C.W.; Qian, L. Multi-objective Intercity Carpooling Route Optimization Considering Carbon Emission. Sustainability 2023, 15, 2261. [Google Scholar] [CrossRef]
- Shuqin, S.; Chenyue, W.; Wenli, Y.; Mingnan, L.; Yujie, L. Optimal power flow calculation method based on random attenuation factor particle swarm optimization. Power Syst. Prot. Control 2021, 49, 43–52. [Google Scholar]
- Zhen, S.; Xiaosong, Z.; Xufeng, Y.; Wei, X.; Yong, Y. Optimization of peak load shifting in distribution network based on improved mopso algorithm. Sci. Technol. Eng. 2020, 20, 3984–3989. [Google Scholar]
- Yunhao, H.; Wu, Z.; Yiqi, J.; Shixuan, W. Research on photovoltaic mppt control based on adaptive mutation particle swarm optimization algorithm. Acta Energ. Sol. Sin. 2022, 43, 219–225. [Google Scholar]










| Period | |
|---|---|
| 0:00–4:00 | 0.2294 |
| 4:00–8:00 | 0.0287 |
| 8:00–12:00 | 0.4932 |
| 12:00–16:00 | 0.9462 |
| 16:00–20:00 | 0.3823 |
| 20:00–24:00 | 0.4251 |
| Parameter | Value |
|---|---|
| cg | 0.9462 |
| sg | 0.3823 |
| ηMG | 0.4251 |
| Unit Type | |
|---|---|
| PV | 0.3456 |
| WT | 0.5386 |
| ESS | 0.2610 |
| Parameter | Value |
|---|---|
| 0.19 | |
| 0.80 | |
| 0.30 | |
| ε | 0.001 |
| Parameter | Value |
|---|---|
| 0.9 | |
| 0.4 | |
| 2.0 | |
| 0.5 | |
| 2.5 |
| Period Sequence | Time Period |
|---|---|
| Period 1 | 12:00~15:00 |
| Period 2 | 2:00~7:00, 10:00~11:00, 16:00~17:00 |
| Period 3 | 24:00~1:00, 8:00~9:00, 18:00 |
| Period 4 | 19:00~23:00 |
| Parameter | Period 1 | Period 2 | Period 3 | Period 4 |
|---|---|---|---|---|
| (ten thousand yuan) | 4.5833 | 2.9135 | 3.2874 | 4.1105 |
| ) | 0.9729 | 1.2616 | 1.3901 | 1.7288 |
| ) | 0.0691 | 0.1134 | 0.1393 | 0.2092 |
| (ten thousand yuan) | 5.0894 | 4.5857 | 3.6964 | 4.4428 |
| ) | 1.1313 | 1.5232 | 1.5409 | 1.8572 |
| ) | 0.0921 | 0.1559 | 0.1739 | 0.2421 |
| Parameter | Period 1 | Period 2 | Period 3 | Period 4 |
|---|---|---|---|---|
| 0.8383 | 0.9043 | 0.5760 | 0.5809 | |
| 0.7310 | 0.7969 | 0.7608 | 0.9567 | |
| 0.7545 | 0.8189 | 0.7977 | 0.9615 |
| Parameter | Period 1 | Period 2 | Period 3 | Period 4 |
|---|---|---|---|---|
| 0.3607 | 0.3588 | 0.2699 | 0.2324 | |
| 0.3146 | 0.3162 | 0.3564 | 0.3828 | |
| 0.3247 | 0.3249 | 0.3737 | 0.3847 |
| Type | Before Optimization | Scheme 1 | Scheme 2 |
|---|---|---|---|
| Total cost (ten thousand yuan) | 82,333.3 | 81,673.9 | 80,176.9 |
| Total VD | 34.9305 | 32.3813 | 31.4875 |
| Total power loss | 3716.2 | 3190.2 | 3041.6 |
Disclaimer/Publisher’s Note: The statements, opinions and data contained in all publications are solely those of the individual author(s) and contributor(s) and not of MDPI and/or the editor(s). MDPI and/or the editor(s) disclaim responsibility for any injury to people or property resulting from any ideas, methods, instructions or products referred to in the content. |
© 2023 by the authors. Licensee MDPI, Basel, Switzerland. This article is an open access article distributed under the terms and conditions of the Creative Commons Attribution (CC BY) license (https://creativecommons.org/licenses/by/4.0/).
Share and Cite
Zheng, F.; Meng, X.; Wang, L.; Zhang, N. Power Flow Optimization Strategy of Distribution Network with Source and Load Storage Considering Period Clustering. Sustainability 2023, 15, 4515. https://doi.org/10.3390/su15054515
Zheng F, Meng X, Wang L, Zhang N. Power Flow Optimization Strategy of Distribution Network with Source and Load Storage Considering Period Clustering. Sustainability. 2023; 15(5):4515. https://doi.org/10.3390/su15054515
Chicago/Turabian StyleZheng, Fangfang, Xiaofang Meng, Lidi Wang, and Nannan Zhang. 2023. "Power Flow Optimization Strategy of Distribution Network with Source and Load Storage Considering Period Clustering" Sustainability 15, no. 5: 4515. https://doi.org/10.3390/su15054515
APA StyleZheng, F., Meng, X., Wang, L., & Zhang, N. (2023). Power Flow Optimization Strategy of Distribution Network with Source and Load Storage Considering Period Clustering. Sustainability, 15(5), 4515. https://doi.org/10.3390/su15054515

