Next Article in Journal
Efficiency Optimization in Multi-Branch Converters through Dynamic Control
Next Article in Special Issue
The Mediating Role of Dynamic Capability on the Relationship between E-Leadership Qualities and Innovation Management: Insights from Malaysia’s Medical Device Industry
Previous Article in Journal
Optimal Charging Station Placement and Scheduling for Electric Vehicles in Smart Cities
Previous Article in Special Issue
Teachers’ Experience and Perceptions of Sustainable Digitalization in School Education: An Existential Phenomenological Study of Teachers in Romania, Greece, Cyprus, Iceland, and The Netherlands
 
 
Font Type:
Arial Georgia Verdana
Font Size:
Aa Aa Aa
Line Spacing:
Column Width:
Background:
Technical Note

A System That Allows Users to Have a Job Interview Experience

by
Pelin Vardarlıer
The School of Business, Istanbul Medipol University, Istanbul 34810, Türkiye
Sustainability 2023, 15(22), 16031; https://doi.org/10.3390/su152216031
Submission received: 29 September 2023 / Revised: 4 November 2023 / Accepted: 6 November 2023 / Published: 17 November 2023

Abstract

:
Today, corporate companies spend a lot of time on and attach importance to job interviews in recruitment. In job interviews, they select or eliminate many of the candidates using interview techniques. This poses a serious problem, especially for candidates who have not had job interview experience, even though they meet sufficient requirements. Because these candidates do not have previous interview experience, they experience more difficulties in this process. In this regard, the study is about a system created in a virtual environment that allows a job interview experience through a user interface. The system subject of the study is a model consisting of a user interface unit, server, interview information database, language processing unit, behavior analysis unit, virtual interview unit, reporting unit, and social media integration unit. This proposed model has been detailed modularly through the web-based system.

1. Introduction

The process of preparing for job interviews is a crucial step for candidates seeking employment opportunities. However, financial constraints can pose significant challenges for individuals aiming to enroll in preparatory courses or seek professional consulting services. Furthermore, the absence of practical interview simulations within these conventional training methods can leave candidates unprepared for the actual interview setting, leading to heightened anxiety and suboptimal performance. Candidates have access to questions that they may encounter in the interview from applications and services provided over the Internet or on mobile platforms. However, candidates make an effort to do this and try to find useful information from a lot of scattered sources. Even if the candidates know the questions, as they cannot experience the interview atmosphere, they are nervous about the actual interview, and they cannot show sufficient performance.
While digital platforms and applications have attempted to bridge this gap by providing interview-related resources, the fragmented nature of these offerings often results in a disjointed learning experience for candidates. Consequently, there remains a pressing need for a comprehensive system that not only offers access to a diverse range of interview questions but also facilitates a simulated interview environment to enhance candidates’ preparedness and confidence.
This research proposal outlines the development of a novel system designed to provide users with a realistic job interview experience. Central to this system is a sophisticated scoring mechanism that objectively evaluates users’ performance during simulated interview sessions, enabling them to gauge their preparedness and identify areas for improvement. Additionally, the proposed model integrates social networking services, fostering a collaborative environment for interview management and fostering a community-driven approach to professional development. This holistic system seeks to address the existing gaps in traditional interview preparation methods, empowering candidates to excel in the competitive job market.
In this regard, there are currently simulation applications for job interviews [1,2,3]. Some digital platforms are provided for candidates in other similarly featured applications [4]. However, since these platforms cannot provide a sufficient interface, they cannot provide the candidates with an adequate environment for interview practice. For this reason, a system is needed that allows candidates to have job interview experience by providing candidates with a real environment during interview exercises. The aim of the proposed model in this study is to create a system that allows users to have an experience with job interviews. Another purpose of this is that it is a system with a scoring mechanism that allows the measurement of the user’s success in interview simulations presented in stages. In addition, it is intended that users have a system feature that offers social networking services through interview management.

2. The System and Method

The system consists of a total of six modules: a business module, training module, interview module, social module, pricing, and evaluation modules.

2.1. Business Module

This module was planned to make the necessary backend and interface improvements for the integration of user-accessible content into the system. Tests of the developed operating module will also be completed in this regard. An exemplary business-based interview system is shown in Figure 1 through a detailed flowchart.
According to the business module, interviews, job offers, resumes, and interviews can be reported to the employer thanks to the employer and job seeker interface. An example process flowchart for the proposed model is given in this regard.

2.2. Training Module

The necessary improvements for creating and managing a job-seeking user and a human resources specialist are planned to be made according to the flowchart specified in the training module.
According to the flowchart specified in Figure 2, an integrated scoring system must be developed within the system. Thanks to this system, users can earn points by viewing course content and completing assignments and tests. Thanks to the gamification module, users will be able to gain various achievements according to the points they receive. This system demonstrates a simple gamification module that tracks points earned through completing assignments and displays achievements based on the total points accumulated. Feedback will be given according to the behavior of the users in the system and various reports will be presented to the users.

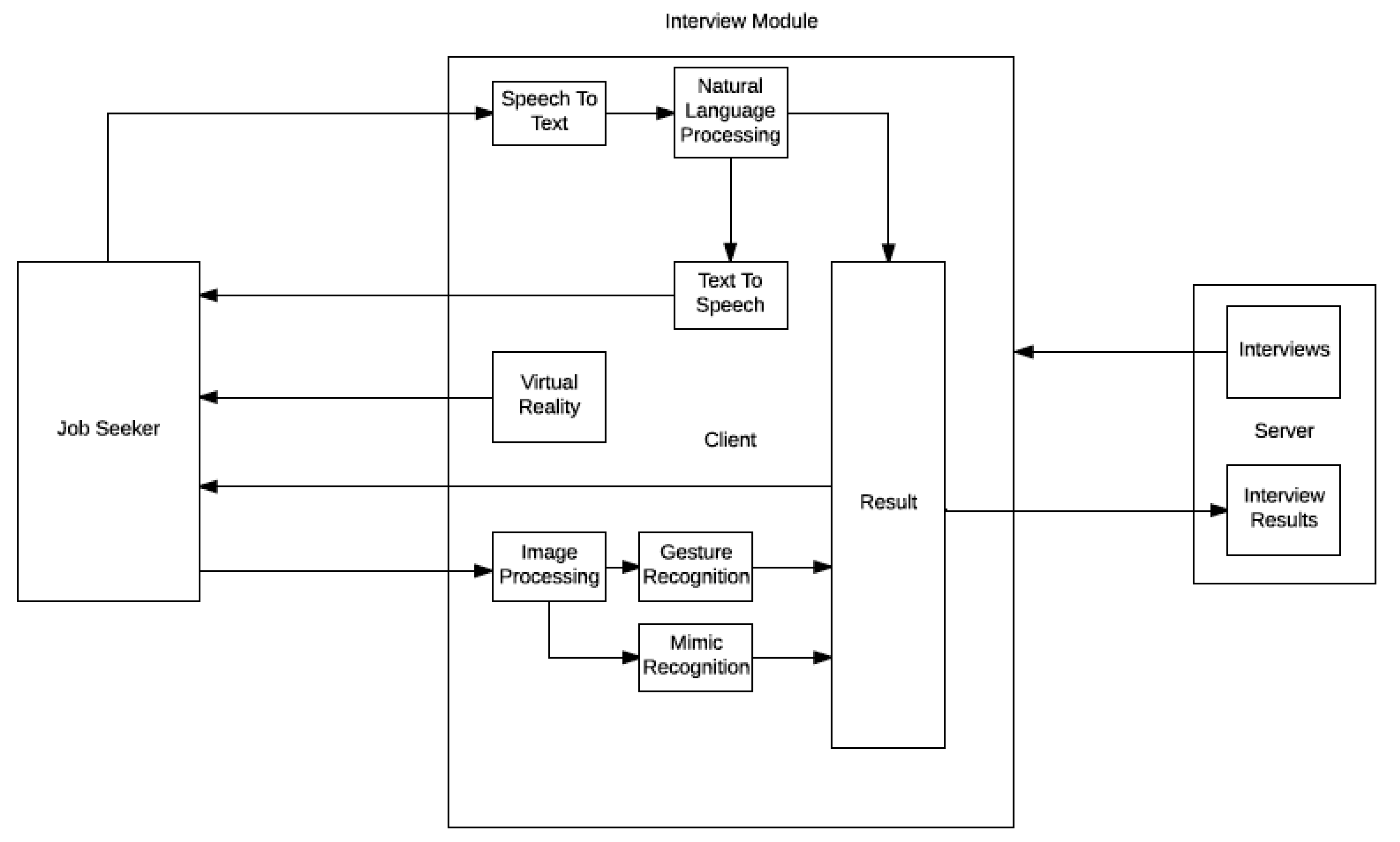
2.3. Interview Module

An interview module will be developed in the system that will be used on the website. In this way, interviews will also be accessible through web browsers. Web services that both web and mobile clients will need will be developed and integrated into the system used.
According to the regulation specified in Figure 3, the interview module will be developed for natural language processing in Turkish and programmed for the appropriate sectors. It is thought that the system will have the ability to recognize body movements, emotions, and facial expressions using image analysis. A ChatBot system will be developed and be able to provide advice and guidance to users on all kinds of platforms.
Candidate interviews can be conducted via ChatBot. Users can create their own characters based on their own physical characteristics. It will be possible for users to create public profiles and share these profiles with employers. At the same time, the system will allow user profiles to be converted into a CV. With the virtual reality feature, it will be ensured that the person gains a good job interview experience in a gamified environment, that it evaluates the performance of the user by scoring them during the work experience, that it detects the emotion changes via a device that the users wear on their arms, and that the user can access this environment via a wearable computer. In other words, the person who is going to be interviewed will be put in a virtual environment and the person’s movements (mimics) will be measured through virtual reality in that environment. In this way, it will increase the interview experience and measure the person’s facial expressions through virtual reality, with the ability to provide users with a job interview experience.

2.4. Social Module

The networked flowchart of the communication between the user and the employer is shown in Figure 4. According to the arrangement in Figure 4, user profile creation and the user’s self-history and job application will be provided through this system and transfer will be possible thanks to its easy integration with social networks.
At the same time, the user will be able to share this experience with friends through social networks.

2.5. Pricing Module

The remuneration system between the job seeker and the employer is shown in Figure 5.
The payment system and the approval mechanism, as well as their integration with other modules, are shown in the flowchart in Figure 5.

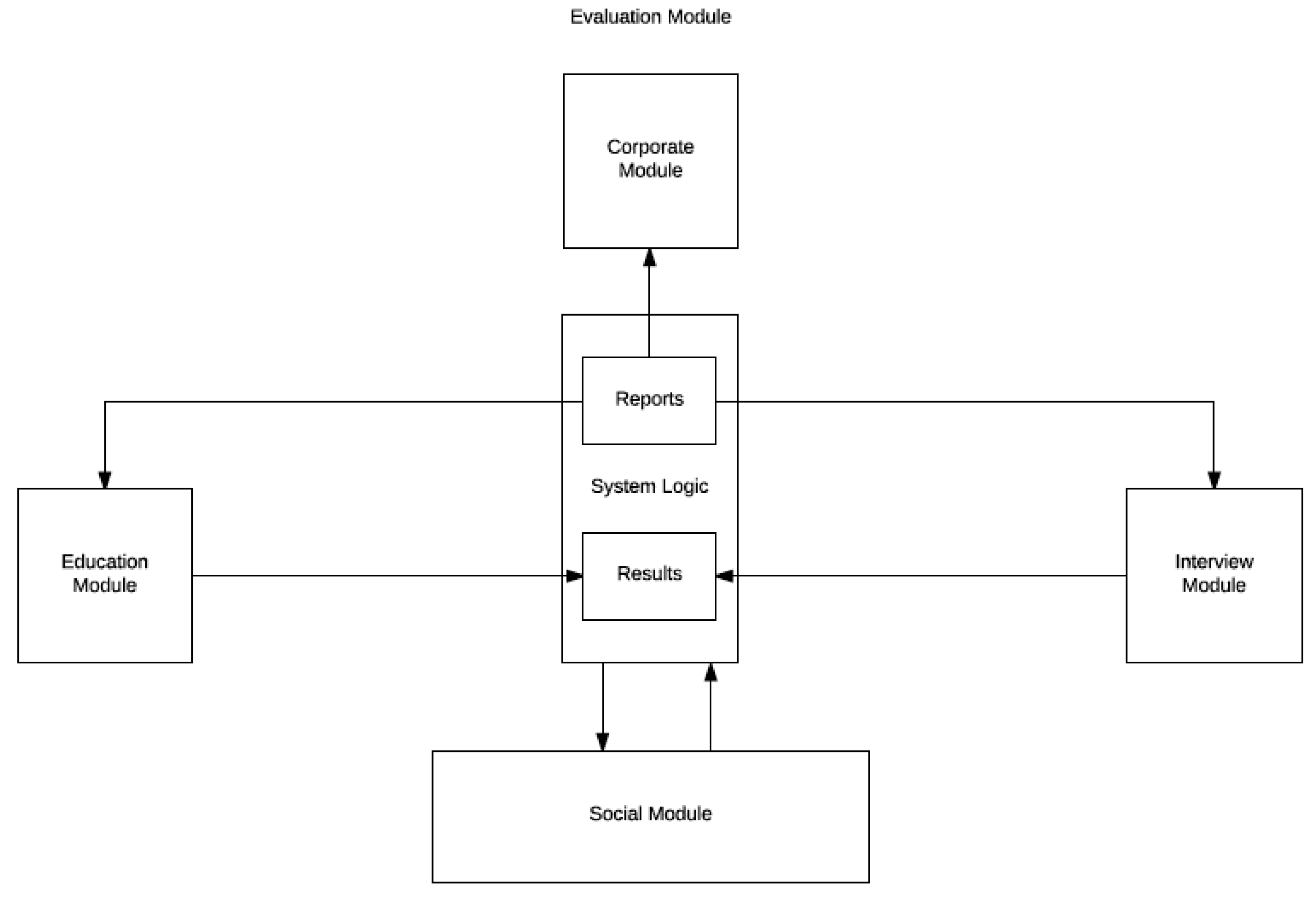
2.6. Evaluation Module

In the evaluation module, feedback will be given according to the behavior of users in the system and various reports will be presented.
It should be noted that the arrangement shown in Figure 6 is only intended to facilitate the description of the various applications described here. The figures do not describe every aspect of the teachings described here and do not limit the scope of the prompts. Extensive tests will be carried out to confirm that the developed software works correctly. A specified group of students will be taken for beta testing.
The area of the invention is decidedly related to a system that allows users to experience job interviews through a user interface.

3. Context and Theoretical Background

The 21st century has witnessed rapid advancements, particularly in the realm of emerging technologies. Revolutionary information technology solutions that promise to revolutionize lifestyles are gaining global prominence. The recent surge in digitalization and multimedia has transformed communication into a wellspring of information and knowledge. The term “virtual reality” (VR) was first introduced in 1986. According to intellectual artist Jaron Lanier, VR is a technology that stimulates the senses and creates the illusion of a digital presence in a created space. In subsequent years, the game development industry witnessed fierce competition, with pioneering products such as Nintendo’s Virtual Boy making significant inroads in the gaming console market [5]. Virtual reality represents a novel technology that emerged from the gaming industry, traditionally renowned for its recreational value rather than its practicality. Nevertheless, with technological advancements, highly beneficial and productivity-enhancing applications are surfacing [6]. Employers can now provide applicants with immersive job insights using 360-degree videos, enabling candidates to make informed decisions regarding their application or interview schedule. Virtual reality stands out as an intriguing and innovative approach to delivering precise job previews, potentially providing an exceptional candidate experience for well-resourced businesses. Unlike conventional videos, virtual reality fosters deeper interactions between recruiters and applicants, fostering a more engaging recruitment process [7].
Looking at the job market, it is known that talent is not enough without the desire and commitment to work during the personnel selection process and job interviews. Interviews conducted by human resources also look at how mentally prepared a person is and how good their work ethic is. Kumar et al.’s [8] conducted research on the design and development of an application that automated the human resources interview process. In their study, they noted that every question asked and every answer given was difficult to be represented as perfectly true or completely false and that they could not be encoded. With this technology, virtual reality brings a different perspective to training and interview methods. Accordingly, Çavas et al.’s [9] conducted a study aiming to provide a small amount of information about virtual reality. At the same time, the study aimed to explain how and for what purposes virtual reality is used in education. Virtuality is one of the most interesting layers of reality. In fact, the concept of virtual defines what is real but not concrete. “Virtual reality”, on the other hand, has been described as an alternative world consisting of many computer drawings and involving responding to human reactions [9]. Designs that are modeled in virtual environments can not only be used as images but also in analysis programs. It is important to mention the structures modeled on the computer and the programs that allow the simulation of circulation in space. For this reason, communication between people is provided by the development of virtual models [10]. In addition to being an interactive system for interview management, the systems created in this context build communication channels for multiple customer interactions used by a specific person [11,12]. A case-based lesson planning system used in another study showed that the system input and output were well designed and contributed to case access. During the requirement creation process, all issues related to the construction of the lesson plan were examined to determine the necessary inputs, processes, and outputs in the built system [13].
Considering the literature, there are examples of studies conducted for handling interviews during the recruitment process using a system created in a virtual environment [8,11,12,13,14,15,16]. It has been observed that interview systems are also used in the fields of gamification [9,17,18,19]. (virtual reality, and business simulation. Considering that the systems implemented in enterprises are designed to motivate users and solve problems, gamification adapts game thinking and mechanisms to real life. In addition, it can also be considered as a system whose main purpose is not to entertain; it allows the main goal to be achieved through entertaining.
In mobile games, many competencies of the candidate and their personality traits can be analyzed to assess whether they are compatible with the work. This process is mainly used in the elimination phase of candidates. Games can be played accompanied by a video interview or performed in the form of an event in a meeting room. This simulation system, implemented by providing an interactive and creative environment, makes the recruitment process better-quality and high-performance. Candidates whose tension is reduced in a virtual setting by isolating themselves from the environment can also express themselves more clearly. Mobile games will be more effective in recruitment negotiations. With the simulation game that has been prepared, they have to reach the targets and try to fulfill the given tasks on time. At the end of the process, the result of the game is evaluated and the candidates who are not suitable are eliminated.
The ability to measure an applicant’s personality during the selection process helps recruiters, hiring managers, and the applicant to make better hiring decisions. In addition, it shows that the textual content of answers to standard interview questions about past behaviors and situational judgment can be used to reliably extract personality traits. The ability of algorithms to objectively infer a candidate’s personality using only the textual content of interview answers presents important opportunities to eliminate subjective biases inherent in the human interviewer’s decision regarding the candidate’s personality [16].
The system in this study is one that enables users to gain job interview experience. It was designed as a system that allows interviews to be conducted online using a remote server computer and facilitates the job interview experience of the users. Given the years in which the studies were suggested to be similar and the present day in which this project was planned, the interviews have changed in parallel with technological development due to technological advances in the past time periods. Therefore, the target of this system is a model for job interviews using a web environment. In addition, iOS and Android mobile applications have also been developed, aimed at providing users with a job interview experience.
A system that enables users to simulate a job interview experience can contribute to sustainability in various ways [20,21,22,23]. By offering a virtual job interview experience, this system can help reduce the carbon footprint associated with in-person interviews. Candidates will not need to travel to interview locations, resulting in fewer emissions from transportation. However, this also raises the question of whether the environmental benefits of this virtual system outweigh the potential additional expenses and outlays related to the construction and operation of the computer package or software necessary for conducting these virtual interviews.
A system for job interviews eliminates the need for physical spaces, printed materials, and additional resources typically used in traditional interviews. This conservation of resources aligns with sustainable practices. Some companies and organizations have implemented remote hiring practices that significantly reduce or eliminate the need for in-person contact during the recruitment process. One such example is Automattic, the company behind WordPress.com. Automattic is known for its remote workforce and has a distributed team that operates virtually across the globe [24]. They often conduct job interviews and hiring processes entirely remotely, without the need for physical spaces or in-person meetings. This virtual approach allows them to recruit and hire talented individuals from various locations, fostering a diverse and inclusive work environment while minimizing the need for personal contact during the hiring process [25].
A system for job interviews saves time for both candidates and employers. A reduced interview duration means less energy consumption and a more efficient use of time, promoting sustainability. Interview systems can be designed to be inclusive and accessible for individuals with disabilities or those who face mobility challenges. Ensuring equal access to job opportunities contributes to social sustainability. In terms of global reach, such systems can connect candidates with potential employers worldwide, increasing access to job opportunities and supporting economic sustainability by facilitating global labor market integration. In regard to cost savings, virtual interviews often reduce costs associated with travel, accommodation, and venue rentals, benefiting both candidates and employers and aligning with financial sustainability principles. A job interview system can collect data and feedback to improve the interview process over time, making it more efficient and effective. In the context of the growing trend toward remote work, virtual interview systems are well aligned with sustainable remote work practices, as they reduce the need for a physical office presence.
However, it is essential to consider the potential drawbacks of virtual interview systems, such as the need to ensure fair and unbiased assessment and to address any technology-related disparities among candidates. Ensuring the ethical and equitable use of such systems is crucial for maximizing their positive impact on sustainability in the context of job interviews.

4. Brief Description of the Drawings

The accompanying drawings included as part of the present description serve to describe and teach the principles of the present invention, together with the presently preferred embodiment and the general description given above, and the detailed description of the preferred embodiment given below. This system (1) consists of the following: the user interface unit (2), the server (3), the interview information database (4), the language processing unit (5), the behavioral analysis unit (6), the virtual interview unit (7), the reporting unit (8), and the social media integration unit (9). “The concept of a computer system that allows users to acquire experience for a job interview”, performed to achieve the purpose of this invention, is shown in Figure 7, and the subject of the invention is expressed as a schematic block diagram of the system.
The pieces in Figure 7 are individually numbered and their equivalents are given below.
  • System;
  • User interface unit;
  • Server;
  • Interview information database;
  • Language processing unit;
  • Behavior analysis unit;
  • Virtual interview unit;
  • Reporting unit;
  • Social media integration unit.
The system subject of the invention (1) that provides users with a job interview experience must have the following:
  • At least one user interface unit (2) that interacts with the user (K), provides a virtual interview environment to the user (K), and can measure the mimics and movements of the user (K).
  • At least one server (3) that receives the information generated by the user (K) from the user interface unit (2) and transmits the virtual environment and interview information to the user interface unit (2).
  • At least one interview information database (4) that records job interview content information containing different scenarios for job interviews in different sectors.
  • At least one language processing unit (5) that receives the answers generated by the user (K) in voice or text format from the server (3) through the hardware included in the user interface unit (2) and optionally provides text-to-speech and voice-to-text conversion.
  • At least one behavior analysis unit (6) that analyzes the user (K) images taken through the hardware included in the user interface unit (2) and interprets the gestures and mimics of the user (K) in accordance with the defined rules.
  • At least one virtual interview unit (7) that contains the data required for the hardware of the user interface unit (2) to create a virtual reality environment and provides the user (K) with the virtual interview environment in communication with the relevant units.
  • A reporting unit (8) that receives, stores, and shares the evaluation data generated by the language processing unit (5), the behavior analysis unit (6), and the virtual interview unit (7), using the data of the user (K).
  • At least one social media integration unit (9) that integrates it with social media platforms so that the users (K) can share the results of their job interview experiences.
To create a system that provides users with a comprehensive job interview experience, the training process must involve a diverse and extensive training database. Several companies specialize in offering training databases and resources tailored for various purposes. One such company that provides training data for machine learning models is Appen. Appen specializes in providing high-quality, human-annotated data for a wide range of applications, including natural language processing, computer vision, and speech recognition.
Appen’s services include data collection, annotation, and validation, allowing for the creation of custom training datasets that can be specifically tailored to the needs of the job interview experience system. The company’s expertise in data collection and annotation can ensure that the training database is enriched with a diverse range of interview scenarios, questions, and candidate responses from various industries and job positions.
By utilizing a company like Appen for the training database, the system can benefit from high-quality and accurately annotated data, which are essential for training the model to provide users with a realistic and effective job interview experience. Furthermore, Appen’s experience in providing training data for machine learning models can help ensure that the system is trained using a comprehensive and relevant dataset, leading to an enhanced user experience and improved system performance.

5. Detailed Description

The user interface unit (2) in the system (1) of the invention is the unit that contains different hardware where users interact. The user interface unit (2) in its most basic form is a device such as a mobile device, computer, or tablet that runs an application for interview simulation. In the most basic application of the user interface unit (2), the interview information received from the server (3) is displayed to the user (K) through a certain interface, and the user (K) transmits the response preferences created by the user (K) to the server (3).
The user interface unit (2) is configured to allow the user (K) to create voice or text input in response to the interview information displayed. The user interface unit (2) includes equipment such as a microphone for creating voice input.
The user interface unit (2) includes equipment such as a camera that allows you to take the necessary images to conduct a behavior analysis of the user (K). The user interface unit (2) receives the images and transmits the relevant image data to the server (3) for analysis.
The user interface unit (2), in an embodiment of the invention, includes sensors that detect depth and motion as well as the imaging equipment and transmits the data received from the relevant sensors to the server (3) in order to measure the behavior of the user (K).
The user interface unit (2) contains the necessary equipment to create a virtual reality image for the user (K). The user interface unit (2) provides the display of the data received from the server (3) to the user (K) by means of hardware that enables the display of virtual reality data such as VR glasses to the user (K) in a virtual environment. The user interface unit (2) transmits the data it receives from the different hardware it contains to the server (3) using certain protocols.
The server (3) is located in the system (1), communicating with the user interface unit (2) and providing the data exchange necessary for the interview simulation. The server (3) transmits the data received from the interview information database (4) and the virtual interview unit (7) in accordance with certain definitions to the user interface unit (2) if the user (K) requests an interview simulation through the user interface unit (2). The server (3) receives the necessary data and transmits them to the user interface unit (2) by contacting the relevant units in accordance with the preference entries created by the user (K) to the data shown to the user (K).
The server (3) collects the data generated by the video and audio hardware contained in the user interface unit (2) and transmits them to the language processing unit (5) and behavior analysis unit (6) if the user (K) initiates the interview simulation.
The server (3) makes a request from the virtual interview unit (7) according to the user’s (K) virtual environment preferences, receives the relevant media data, and transmits them to the user interface unit (2). In an application of the invention, the server (3) combines the data it receives from the virtual interview unit (7) and the interview information associated with the data it receives from the database (4) and transmits them to the user interface unit (2).
In an application of the invention, the server (3) transmits its information, such as profile and resume information, to the reporting unit (8), where the user (K) creates an input through the user interface unit (2).
If the server (3) creates a request for the user (K) to share the results of the interview on social platforms, it transmits the relevant request to the social media integration unit (9) and directs the response of the social media integration unit (9) to the user interface unit (2).
The interview information database (4) in the system (1) of the invention is the unit that records the information regarding the scenarios used for the interview simulation. The interview information database (4) contains data based on possible interview dialogues according to different scenarios on a sector basis. The interview information database (4), in an application of the invention, records interview simulation scenarios by rating them and allows the user (K) to experience different interview scenarios in stages. The interview information database (4) transfers the requested information to the server (3) if the server (3) makes a request.
The language processing unit (5) in the system (1) of the present invention is the unit that conducts audio and text format conversion. The language processing unit (5) converts the text format user (K) responses that the server (5) receives from the user interface unit (2) into a voiced format. The language processing unit (5) can also convert data from audio format to text format according to preference. The language processing unit (5) transmits the relevant data to the server (3) if the server (3) requests it after it has converted the data that the server (3) transmits. The language processing unit (5) transmits the data it converts to the reporting unit (8) and ensures that the user (K) and the user’s (K) relevant interview information are recorded together.
The behavioral analysis unit (6) being used in the system (1) is the unit that analyzes the image and sensor data transmitted by the server (5). The behavior analysis unit (6) detects the emotional state of the user (K) by analyzing the relevant data if the server (3) transmits the image and sensor data detected by the hardware contained in the user interface unit (2). The behavior analysis unit (6) analyzes the image data it receives from the server (3) using image processing methods and determines the user’s (K) facial expressions and gestures. The behavior analysis unit (6) performs the determination process by comparing the mimics and gestures it detects with the reference values it records.
The behavior analysis unit (6) analyzes the user movement data detected by the sensors contained in the user interface unit (2) and determines the emotion analysis based on the user’s (K) movements which are based on the reference values it contains, and transmits the data it creates to the reporting unit (8).
The virtual interview unit (7) in the system (1) of the invention is the unit that enables the storage and evaluation of the media data presented to the user (K) via virtual reality. The virtual interview unit (7) transmits the requested media data to the server (3) if the server (3) requests this. The virtual interview unit (7) contains virtual reality data from different scenarios and transmits data from the relevant scenario to the server (3) upon request. The virtual interview unit (7) contains media data and modeled virtual character data that the user (K) can process and provides the user (K) with a representation of the hardware contained in the user interface. The data transmitted by the virtual interview unit (7) to the server (3) are combined with the scenario dialogues contained in the interview information database (4), providing the user (K) with a three-dimensional virtual interview environment. In one application of the invention, the virtual interview unit (7) transmits the virtual interview data to the user interface unit (2), providing access to the user interface unit (2) after the server (3) transmits the user’s (K) interview simulation request.
The reporting unit (8) in the system (1) of the invention is the unit that records the information generated as a result of the interview simulation by categorizing it. The reporting unit (8) records the information obtained from the server (3), language processing unit (5), behavior analysis unit (6), and virtual interview unit (7). The reporting unit (8) records the data by associating it with the user (K) profile.
In an application of the invention, the reporting unit (8) allows authorized employers to review interview simulations, profiles, and resumes through the service it provides through a data network. The social media integration unit (9) in the system (1) of the invention is the unit that provides the necessary integrations for the user (K) to share. The social media integration unit (9), which receives the user’s (K) sharing request from the server (3), shares the data transmitted together with the sharing request with the desired people by providing a link to the desired social media platform. The social media integration unit (9) implements the relevant protocol to connect the system to each platform to integrate it into social media platforms.
Thanks to the system subject to the invention (1), operations are carried out for users to gain interview experience before the interview. In this system (1), users are able to gain interview experience according to different scenarios for job interviews by connecting to the server (3) if they have a user interface unit (2). Practical training, staged interview simulations, and interview-related exams can be performed according to the requests of the users through the user interface unit (2). If the user interface unit (2) contains virtual reality hardware, users can experience different job interview scenarios through the virtual environment. In addition, contracted institutions can prepare interview content for users and review the interview results experienced by users. In addition to training and interview simulations, users can create profiles and resume information, record them within the system (1), and allow institutions to view their relevant information. Within the scope of this invention, training can be created through virtual reality and certificates can be given in a healthier way by measuring the success of the users in education according to all kinds of behaviors and responses. The system (1) subject to the invention allows users to gain all kinds of experience before a job interview.

6. Conclusions

This invention is organized to be an interview system and aims to conduct an interview through the system depending on the network according to the arrangement made. Although the concept of virtual reality is only related to a small part of this project, the main application that is intended to be implemented is an interview system that will facilitate the work experience. In this sense, the system offers a real and pure experience. The purpose of this invention is to target the interview experience and make the user ready for the next interview. For this reason, it is a system that allows the evaluation of candidates through virtual reality technology or a hologram without any mutual meetings with the HR authority, where the users gain experience through the system. Its aim is to ensure that the most suitable candidate is selected using advanced analysis systems instead of by conducting interviews and evaluations. Candidates will be evaluated according to the analysis of their footprint, sharing, purchasing habits, and hobbies on social media. The virtual interview environment serves the purpose of the system, as it will produce similar or better results than the authentic interview environment, and virtual environments can be used for interview purposes.
Employees can experience reduced anxiety through more authentic job previews in virtual reality (VR), where they will be immersed in seemingly real but simulated scenarios. VR provides an immersive experience, utilizing technology to place individuals in alternate settings like an operating room or a fire scene. Tools such as Google Cardboard, Oculus Rift, and Samsung’s Gear VR provide users with the necessary “goggles” for full immersion, although the standard desktop PC can also create a similar effect [26]. Jet.com, an American e-commerce company, utilizes virtual reality to offer job seekers insights into the corporate culture, office environment, and even the company’s “happy hour” festivities. Similarly, Deutsche Bahn, a German railway corporation, employs virtual reality to simulate the conductor role and its associated responsibilities for prospective employees. As previously highlighted, excessive turnover costs can swiftly erode a company’s profit margin. Realistic job previews can enhance employee satisfaction while simultaneously reducing recruitment expenses and staff attrition costs.
Additionally, it has been found that VR can be useful in managing tension, reducing stress, and enhancing the sense of presence in demanding environments such as job interviews. Several studies have indicated that the use of virtual reality environments in healthcare has a positive effect on individuals with autism and psychiatric issues [27]. This alone can be seen as a significant fairness advantage over traditional interviewing techniques. Personal bias toward interviewees can be further reduced when combined with computational approaches [28] and video-based communication [29]. Virtual reality and other digital environments have been successfully deployed for training purposes, particularly for effective interview preparation. VR can also be an excellent tool to provide prospective employees, both internal employees considering a move and external candidates, with a more accurate understanding of what to expect in the job.
Facilitating the interview experience of users using this targeted invention within the interview system for employees and spending the employer’s time and budget on an expert candidate who has passed the interview stages will eliminate unnecessary workload. The system aims to prevent the loss of time by identifying a candidate in line with the employer’s expectations. Interview simulations, which are structured using the system, show the candidate’s professional technical skills and special abilities, and are applied via a remote connection, can be performed by highlighting the characteristics required by the employer and the job. The questions to be asked and the techniques to be applied can be analyzed through the system and can be accessed at any desired time from the database. A gamified environment with virtual reality is intended to measure behavior in an environment that is different from a person’s natural environment. In this invention, virtual reality was mentioned as an option for the candidate to experience this and this was supported by different applications. Systems in virtual environments where users can experience different things also fulfil this purpose. The actual system is based on an image simulation system. Thanks to this system, the user will have the chance to experience the work in advance of the office environment in which they will work. Thanks to simulation games providing virtual environment interview experience with or without virtual reality support, candidates can face the problems that existing employees deal with during the day, make a decision to solve these problems, and then see the effects of the decision on their work, whether the results are positive or negative.
Due to the novelty of the technology and the subjective nature of personal discrimination, the specific literature on VR in job interviews is limited. However, related studies suggest that VR technology appears promising in reducing conceptual bias and offers opportunities for an increase in equity for disadvantaged people. At present, there is no dedicated software for conducting job interviews in virtual reality. While the existing programs are effective, their imperfections add to the challenges faced by participants. VR technology remains expensive and is more accessible to financially robust businesses. Therefore, businesses should currently prioritize the immersive potential that virtual reality offers.
In light of all of these evaluations, modeling the candidates to be interviewed in a virtual reality environment, creating a virtual travel environment, and interviewing more than one candidate at the same time will be beneficial in terms of time and cost. By creating a database of interview information with the system subject to the invention, tests for candidates can be conducted and reports using behavioral analysis units can be produced; movements on social media can also be examined and an evaluation can be made about the candidate with the data obtained from doing so. In the next stage, the candidate will actually have the interview in a virtual environment, and the candidate’s digital twin will be used. In this way, the candidate will be able to evaluate their interview thanks to interactive image files that can ask them questions in the interview that they have been in with themself. Based on the answers given by the candidate in the virtual interview environment, the candidate will evaluate whether the candidate’s digital twin can pass the interview in an environment where gamification dynamics and virtual reality opportunities are used, and the candidate will gain a different interview experience. Because they will be able to see themself answering, they will gain awareness of themself in the interview.
Job interview systems offer various opportunities to promote sustainability in terms of reducing environmental impact, conserving resources, enhancing inclusivity, and streamlining human resources processes. However, organizations must be mindful of ethical considerations, potential biases, and the need for equitable access to technology to ensure that these systems contribute positively to sustainability in the hiring process. Virtual interviews can help organizations to diversify their talent pool by reaching candidates from different geographical locations and backgrounds. Promoting diversity is a cornerstone of sustainable business practices.

7. Patents

This app states all of its benefits, including those given in advance. Patent Application of the Turkish Patent and Trademark Office Ser. No: 2017/05553, contents filed 14 April 2017, is hereby incorporated by reference in its entirety.

Funding

This research received no external funding.

Data Availability Statement

The data presented in this study are available on request from the corresponding author.

Conflicts of Interest

The author declares no conflict of interest.

References

  1. Jones, H.; Sabouret, N. TARDIS—A Simulation Platform with an Affective Virtual Recruiter for Job Interviews. IDGEI (Intelligent Digital Games for Empowerment and Inclusion). 2013. Available online: https://perso.limsi.fr/sabouret/ps/idgei2013.pdf (accessed on 9 September 2023).
  2. Anderson, K.; André, E.; Baur, T.; Bernardini, S.; Chollet, M.; Chryssafidou, E.; Damian, I.; Ennis, C.; Egges, A.; Gebhard, P.; et al. The TARDIS framework: Intelligent virtual agents for social coaching in job interviews. In International Conference on Advances in Computer Entertainment Technology; Springer: Cham, Switzerland, 2013; pp. 476–491. [Google Scholar]
  3. Stanica, I.; Dascalu, M.I.; Bodea, C.N.; Moldoveanu, A.D.B. VR job interview simulator: Where virtual reality meets artificial intelligence for education. In Proceedings of the 2018 Zooming Innovation in Consumer Technologies Conference (ZINC), Novi Sad, Serbia, 30–31 May 2018; pp. 9–12. [Google Scholar]
  4. Buil, I.; Catalán, S.; Martínez, E. Understanding applicants’ reactions to gamified recruitment. J. Bus. Res. 2020, 110, 41–50. [Google Scholar] [CrossRef]
  5. Żmigrodzka, M. Development of virtual reality technology in the aspect of educational applications. Mark. Instytucji Nauk. Badaw. 2017, 4, 117–134. [Google Scholar]
  6. Song, X.; Vardarlıer, P. Technology Matters: The Efficacy of Virtual Realistic Job Preview and Its Effect on Job Commitment in Hybrid Staffing Context. In Multidimensional and Strategic Outlook in Digital Business Transformation: Human Resource and Management Recommendations for Performance Improvement; Springer International Publishing: Cham, Switzerland, 2023; pp. 127–140. [Google Scholar]
  7. Beti, R.A.; Al-Khatib, F.; Cook, D.M. The efficacy of using virtual reality for job interviews and its effects on mitigating discrimination. In International Conference on Computing and Information Technology; Springer: Cham, Switzerland, 2018; pp. 43–52. [Google Scholar]
  8. Kumar, K.; Kumar, A.; Abhishek, K.; Singh, D.K. Automation of HR Interview System Using JESS Inference Engine. In Proceedings of the 2014 Fourth International Conference on Communication Systems and Network Technologies, Bhopal, India, 7–9 April 2014; pp. 1102–1105. [Google Scholar]
  9. Çavas, B.; Çavas, P.H.; Can, B.T. Egitimde sanal gerceklik. TOJET Turk. Online J. Educ. Technol. 2004, 3, 110–116. [Google Scholar]
  10. Güç, B.; Karadayı, A. WEB üzerinden etkileşimli bir model önerisi üniversite kampüsü örneği. In TMMOB Harita ve Kadastro Mühendisleri Odası Ulusal Coğrafi Bilgi Sistemleri Kongresi; KTÜ: Trabzon, Türkiye, 2007; pp. 1–11. [Google Scholar]
  11. El Dokor, T.; King, J.E.; Holmes, J.E.; Gigliotto, J.R.; Glomski, W.E. Method and System for Vision-Based Interaction in a Virtual Environment. U.S. Patent No. 60,899,971, 18 September 2008. [Google Scholar]
  12. Aimone, C.A.; Coleman, T.; Garten, A.S.; Vidyarthi, K.J.M.; Pino, L.L.G.; Chabior, M.A.; Baranowski, P.H.; Rupsingh, R.R.; Ashby, M.; Tadich, P.V. System and Method for Enhanced Training Using a Virtual Reality Environment and Bio-Signal Data. U.S. Patent No. 2016/0077547 A1, 17 March 2016. [Google Scholar]
  13. Saad, A.; Dawson, C. Requirement elicitation techniques for an improved case-based lesson planning system. J. Syst. Inf. Technol. 2018, 20, 19–32. [Google Scholar] [CrossRef]
  14. Shin, S.; Park, E.; Sun, D.H.; You, T.K.; Lee, M.J.; Hwang, S.; Paik, H.Y.; Joung, H. Development and evaluation of a web-based Computer-Assisted Personal Interview System (CAPIS) for open-ended dietary assessments among Koreans. Clin. Nutr. Res. 2014, 3, 115–125. [Google Scholar] [CrossRef] [PubMed]
  15. Cordero, A. System, Method, and Software for Individuals to Experience an Interview Simulation and to Develop Career and Interview Skills. U.S. Patent Application No 10/764,575, 23 September 2004. [Google Scholar]
  16. Jayaratne, M.; Jayatilleke, B. Predicting Personality Using Answers to Open-Ended Interview Questions. IEEE Access 2020, 8, 115345–115355. [Google Scholar] [CrossRef]
  17. Saka, E. Eğitsel Amaçlı Sanal Gerçeklik Oyunlarına Yönelik Araştırmaların Incelenmesi: Bir Meta-Sentez Çalışması. Master’s Thesis, Trabzon Üniversitesi, Lisansüstü Eğitim Enstitüsü, Trabzon, Turkey, 2019. [Google Scholar]
  18. Miltenoff, P.; Martinova, G.; Todorova, R. Gaming and gamification in academic and library settinga: Bibliographic overview. In Proceedings of the 2nd International Conference on Education, Social Sciences and Humanities, Istanbul, Turkey, 8–10 June 2015. [Google Scholar]
  19. Tița, V.; Nijloveanu, D.; Popescu, D.A.; Bold, N. The description of the model of a gamification-based environment for business simulation using the Unified Model Language (UML) methods. Sci. Pap. Ser.-Manag. Econ. Eng. Agric. Rural. Dev. 2019, 19, 437–441. [Google Scholar]
  20. Wong, K.D.; Fan, Q. Building information modeling (BIM) for sustainable building design. Facilities 2013, 31, 138–157. [Google Scholar] [CrossRef]
  21. Bocken, N.; Short, S.; Rana, P.; Evans, S. A value mapping tool for sustainable business modelling. Corp. Gov. 2013, 13, 482–497. [Google Scholar] [CrossRef]
  22. Bähr, K.; Fliaster, A. The twofold transition: Framing digital innovations and incumbents’ value propositions for sustainability. Bus. Strategy Environ. 2023, 32, 920–935. [Google Scholar] [CrossRef]
  23. Oliveira-Dias, D.; Kneipp, J.M.; Bichueti, R.S.; Gomes, C.M. Fostering business model innovation for sustainability: A dynamic capabilities perspective. Manag. Decis. 2022, 60, 105–129. [Google Scholar] [CrossRef]
  24. Mateosian, R. The Future of Work. IEEE Micro 2015, 35, 54–56. [Google Scholar] [CrossRef]
  25. Berkun, S. The Year without Pants: WordPress.com and the Future of Work; John Wiley & Sons: Hoboken, NJ, USA, 2013. [Google Scholar]
  26. Grensing-Pophal, L. Using VR for More Realistic Training, Learning & Development. HR Daily Advisor, 17 January 2018. Available online: https://hrdailyadvisor.blr.com/2018/01/17/using-vr-realistic-training/(accessed on 9 September 2023).
  27. Bell, M.D.; Weinstein, A. Simulated job interview skill training for people with psychiatric disability: Feasibility and tolerability of virtual reality training. Schizophr. Bull. 2011, 37 (Suppl. 2), 91–97. [Google Scholar] [CrossRef] [PubMed]
  28. Savage, D.D.; Bales, R. Video games in job interviews: Using algorithms to minimize discrimination and unconscious bias. ABAJ Lab. Emp. L. 2016, 32, 211. [Google Scholar]
  29. Kroll, E.; Ziegler, M. Discrimination due to Ethnicity and Gender: How susceptible are video-based job interviews? Int. J. Sel. Assess. 2016, 24, 161–171. [Google Scholar]
Figure 1. Business module.
Figure 1. Business module.
Sustainability 15 16031 g001
Figure 2. Training module.
Figure 2. Training module.
Sustainability 15 16031 g002
Figure 3. Interview module.
Figure 3. Interview module.
Sustainability 15 16031 g003
Figure 4. Social module.
Figure 4. Social module.
Sustainability 15 16031 g004
Figure 5. Pricing module.
Figure 5. Pricing module.
Sustainability 15 16031 g005
Figure 6. Evaluation module.
Figure 6. Evaluation module.
Sustainability 15 16031 g006
Figure 7. Schematic block diagram of the system subject to the invention.
Figure 7. Schematic block diagram of the system subject to the invention.
Sustainability 15 16031 g007
Disclaimer/Publisher’s Note: The statements, opinions and data contained in all publications are solely those of the individual author(s) and contributor(s) and not of MDPI and/or the editor(s). MDPI and/or the editor(s) disclaim responsibility for any injury to people or property resulting from any ideas, methods, instructions or products referred to in the content.

Share and Cite

MDPI and ACS Style

Vardarlıer, P. A System That Allows Users to Have a Job Interview Experience. Sustainability 2023, 15, 16031. https://doi.org/10.3390/su152216031

AMA Style

Vardarlıer P. A System That Allows Users to Have a Job Interview Experience. Sustainability. 2023; 15(22):16031. https://doi.org/10.3390/su152216031

Chicago/Turabian Style

Vardarlıer, Pelin. 2023. "A System That Allows Users to Have a Job Interview Experience" Sustainability 15, no. 22: 16031. https://doi.org/10.3390/su152216031

APA Style

Vardarlıer, P. (2023). A System That Allows Users to Have a Job Interview Experience. Sustainability, 15(22), 16031. https://doi.org/10.3390/su152216031

Note that from the first issue of 2016, this journal uses article numbers instead of page numbers. See further details here.

Article Metrics

Back to TopTop