The Impact of Digitization on the Formation of a New Model for Geospatial Data
Abstract
1. Introduction
- Enabling easy access to data from planning documents, with a high level of transparency.
- Creating national (regional/local) digital portal of homogeneous and high-quality geospatial data.
- It is necessary to establish a new model for geospatial data, an eSpace system, which includes a centralized electronic database of planning documents and all data related to land in Serbia, relevant for the use of space and construction.
- Establishing the ePlan system, for the sake of an efficient production system of a centralized electronic database of planning documents and all data related to land in Serbia.
- Establishing an efficient distribution system of a centralized electronic database of planning documents and all data related to land in Serbia.
2. Research Background
2.1. Digitization of Spatial Planning in the Republic of Slovenia
- Common infrastructure for spatial information;
- Spatial Information System (SIS);
- Information renewal of real estate records (land cadastre, building cadastre, etc.)—new IT system of the Geodetic Administration;
- Accepting new and improving existing data (graphical accuracy of the cadastre, scanning of archives, establishment of a database of built-up land—construction plots according to the principles of mass registration in the cadastre);
- Information and project management.
- Database;
- eConstruction database on the construction of buildings;
- ePlan—register of spatial plans and register of regimes;
- Data on built-up land (residential land, records of construction land).
- An application for managing the procedure (workflow) during the development and adoption of plans, which supports the collection of data, conditions, etc., data exchange via web services, informing stakeholders, control mechanisms for the application of standards, and public participation. The limitation that exists is that the new plan cannot be adopted if it has not been prepared and adopted in this system.
- Register of spatial plans—GIS database.
- Register of legal regulations.
- GIS database, maintained by holders of public authority and owners of legal regulations.
- A system for monitoring the state of development in the field of urban planning.
2.2. Digitization of Spatial Planning in the Republic of North Macedonia
- Real estate cadastre;
- Infrastructure cadastre;
- Central database of legal regimes (not established);
- Graphic register of construction land;
- Manual for creating spatial and urban plans—eUrbanism.
- Introduction of widely adopted technical GIS standards on the method of creating and storing urban plans in the central GIS database, which enables a transparent overview of locations where urban plans are in force, ownership of cadastral plots, construction land according to attributes, construction plots on state land, etc.;
- It is complementary with the “eUrbanism” system, which facilitates participation and the procedures for making, adopting and implementing plans.
3. Research Approach
- Legality—the authorities, its component institutions and the people working within it must act in accordance with the laws;
- Equality—people who use the services offered by the administration must be given equal treatment;
- Transparency—citizens must be allowed to participate in making administrative decisions, and have access to various information that may be of interest to them;
- Proportionality—there must be a balance between the needs of the people and the decisions taken by the administration, and it must analyze the impact that the measures taken have on the people;
- Impartiality—employees must act and solve problems objectively;
- Continuity—the administration must not interrupt its activity;
- Adaptability—people’s needs are constantly changing, and the administration must keep up with them.
3.1. Approach Method and Technique
- For representatives of local self-government units;
- For representatives of holders of public authority.
3.2. Analysis of Research Results
- Most local self-governments always announce the start date of work on spatial and urban plans.
- Twenty-five percent of local self-governments announce the start date of work on the general urban plan, while the rest did not prepare this type of plans.
- In the process of drafting planning documents with the delivery of conditions, holders of public authorities at the republic level are most often late, and this is less often the case at the local level.
- Fifty percent of local self-governments organize a consultative process in the process of drafting planning documents.
- The consultative process is most often organized through the collection of proposals through the website of local governments, holding round tables or focus groups.
- The average number of comments per plan, during public inspection, is generally less than 10.
- Challenges for digitization are seen by most local governments in the insufficient number of personnel or in their inadequate training. Some of them state that they are aware that these shortcomings can be eliminated by educating the joint services of several local governments, while others suggest that it is necessary to find a way to hire additional quality staff.
- Commissions for plans of local self-governments generally meet once a month or as needed.
- Electronic sessions of the Commission for Local Self-Government Plans are rarely organized, although in most cases (63%) they are foreseen by the Rules of Procedure of the Commission, and the reason given is the insufficient equipment of local self-governments, which often do not have multimedia rooms, licensed software for online meetings or good internet.
- Most representatives of local self-governments enter data into the General regulation plan in CAD format (Figure 3). More precisely, on the basis of the answers received, the percentage ratio of the entry of plans in CAD format can be observed:
- ○
- 48% of local self-government units enter data into the General Regulation plan;
- ○
- 46% of local self-government units enter data into the Detailed regulation plan;
- ○
- 34% of local self-government units enter data into the Space plan;
- ○
- 29% of local self-government units enter data into the Urban project.
- The largest number of holders of public authority derive their authority from the Law on Planning and Construction and the regulations adopted on the basis of that law, but also from sectoral laws such as the Law on Energy, the Law on Water, the Law on Communal Activities, etc., as well as from the acts of LGUs.
- Ninety-five percent of holders of public authority participate in the process of drafting planning documents by giving conditions, although other ways are mentioned, such as providing information, giving consent or opinions.
- Seventy-nine percent of holders of public authority state that they always submit documentation within the deadline (most of them within 6–15 days) (Figure 4).
- The majority of holders of public authority do not cooperate with other authorities or holders in the process of drawing up conditions, which enables them to act within the deadlines because they do not depend on the promptness of others.
- The majority of holders of public authority submit conditions (substances, consents, information) from their jurisdiction in analog form, i.e., in paper form, and less than 5% in CAD format or GIS database (Figure 5). More precisely, the percentage of data that are in paper format, and refer to the deadline for submitting documentation, are as follows:
- ○
- 56% of the data refer to Conditions;
- ○
- 34% of the data refer to Substrates;
- ○
- 52% of the data refer to Agreements;
- ○
- 53% of data on Information.
- No representative of the holder of public authority stated that some regulation, which governs their operations and competences, is a potential problem for the digitization of the process of creating spatial and urban plans.
- Sixty-five percent of holders of public authority believe that they have personal resources of adequate education (Figure 6).
- In 76% of cases, in the process of creating or reading documentation, representatives of public authority holders use Microsoft Office tools, but also other open and free software (Libre Office 7.2.4.1, Open Office Writer 4.1.11, etc.) (Figure 7). According to the answers received, the system software used by the employees participating in the planning documentation has the following structure:
- ○
- 76% of representatives know how to use the Central Record of the Unified Procedure;
- ○
- 2% of the representatives know how to use the service mode of the organ;
- ○
- 24% of representatives know how to use GIS tools;
- ○
- 50% of representatives know how to use CAD tools;
- ○
- 6% of representatives know how to use the Central Register of planning documents.
- Software used by holders of public authorizations to create documentation:
- ○
- CAD tools v.24.1 tools—52%;
- ○
- Microsoft Office 2019—76%;
- ○
- GIS 10.8 tools 23%.
- Software used by holders of public authority to read documents of other bodies:
- ○
- CAD tools—60%;
- ○
- Microsoft Office—77%;
- ○
- GIS tools 21%.
- The majority of holders of public authority find the challenges of digitization of their actions in human and technical capacities (on average, each service has four engaged employees who work on the creation or reading of documentation related to spatial plans) (Figure 8).
- A large number of holders of public authorities point out that the age of their equipment is the main problem for the digitization of the procedure (on average, computers are 6 years old).
- Eighty-two percent of public authority holders never engage external experts in the development of conditions for spatial and urban plans.
3.3. Analysis of the Legal Framework on Data on Planning Documents
- Prescribe the establishment of a central database of all valid planning documents, which ensures their continuous public availability.
- Through the ePlan information system, as part of the unification of the electronic procedure, it is necessary to obtain the approvals prescribed by the Law on planning documents, as well as control procedures by the commission that controls the compliance of planning documents.
- Through the ePlan information system, prescribe that local planning documents and conditions in the area are monitored.
- The obligation to implement a unified procedure through the ePlan information system, in the process of adopting all valid planning documents.
- The unified procedure for the adoption of spatial and urban plans is fully implemented electronically, through the ePlan information system.
- The unified procedure includes plan makers, as well as all holders of public authority who are involved in that procedure, with deadlines for action appropriate to the electronic procedure.
- To communicate in the unified procedure exclusively through the exchange of electronic documents and submissions, except in the case of a special attachment that refers to special measures of organization and preparation of the territory for the needs of the country’s defense.
- Prescribe the level of authentication required to access the ePlan information system.
- Prescribe that the data, i.e., planning documents registered in the central database of planning documents, produce legal effects towards conscientious third parties, which would give that database the status of a register.
- Establish a central base of legal regimes of holders of public authority.
- Prescribe the obligation of all holders of public authority to register their legal regimes in the central database of legal regimes.
- Establish a mechanism that will ensure the completeness of the central database of legal regulations and its compliance with the law and valid planning documentation, and in particular ensure that a sufficient volume of data are entered into the central database of legal regulations, so that location conditions can be issued based on them without additional inquiries.
4. New Model for Geospatial Data
4.1. Model of Business Process
- Data production;
- Distribution database;
- Distribution of data.
- The Data Production process involves the collection of data from local self-governments (LSG) and holders of public authorizations related to a number of attributes:
- Collection of urban and spatial plans managed by LSG, in the appropriate format’
- Collection of data from the Ecadaster database managed by RGA (data on cadastral municipality, cadastral plot, area, legal property data);
- Collection of data from the Address Register database managed by RGA;
- Collection of data from the database for granting building permits managed by the Serbian Business Registers Agency;
- Collection of data from the Disaster Risk Register on geographic location, data on hydrographic features, data on relief, data on meteorological-climatic features, data on demographic features, data on agriculture, data on material and cultural assets and protected natural assets, and data on plant cover in order to recognize the risks of floods, landslides, forest fires, earthquakes, epidemics and pandemics and other risks;
- Other data from relevant databases.
- 2.
- The distribution database implies the creation of the ePlan IS system, which contains a unique central database that will enable:
- Establishing a central database of planning documents;
- Ensuring that spatial and urban plans are adopted through the IS system ePlan;
- Establishing a central base of legal regimes.
- 3.
- Data distribution implies a joint presentation of the situation in space, data monitoring, as well as joint geoinformation distribution components. In this way, we form the eSpace database. The publication of all geospatial data must be performed exclusively through the central eSpace portal.
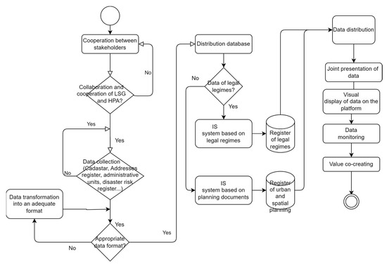
4.2. The Flow Chart of the Process
- All data are in one place;
- The data are digitized and easy access is enabled;
- Data are visible and transparent;
- All stakeholders communicate with each other and share their data.
4.3. Steps to Form a New Model for Geospatial Data
- Develop and implement a unique ePlan information system through which planning documents and other legal regulations governing the use of space will be produced;
- Establish an Internal Portal for professional users, as an entry point for all actors in the process of spatial and urban planning, as well as holders of public authority to regulate conditions for the use of space;
- Provide electronic communication between all participants in the system for complete interactivity;
- Standardize the content, methodology and format of planning documents;
- Provide a software application for the technical control of planning documents during their creation, as well as their entry into the central database of planning documents;
- Consolidate all legal acts in the same place with planning documentation;
- Improve the capacity of human resources of representatives of local self-government units to perform tasks in the field of urban planning, by establishing intermunicipal cooperation;
- Provide systemic and public support in the implementation of the concept;
- Establish the Central portal eSpace, which should ensure easy availability in one place of all relevant information related to the conditions of use of space in Serbia, including construction conditions;
- Establish an open data portal on land use conditions in Serbia (Cadastre of immovable property and utilities maintained by the Republic Geodetic Authority of the Republic of Serbia (RGA); Central records of the unified procedure for issuing building permits maintained by the Agency for Economic Registers; Register of immovable properties in public ownership maintained by the Republic property directorate of the Republic of Serbia, etc.).
- The basis for understanding the principles of universal design in order to achieve co-creation in practice through an integral procedure from design to monitoring.
- Incentives to empower all users to respond to the geospatial environment by active participation through the platform.
- The basis for the possible automation of the data processing process of various databases and the complete automation of the decision-making process on the accessibility of a certain urban environment.
- The Government-to-Consumer (G2C) model is used by potential investors and citizens to obtain information about locations. The G2C model is primarily concerned with obtaining information about the location by local governments.
- The Government-to-Business (G2B) model is represented in communication between local governments and other institutions. This communication includes information between individual legal entities. The basis of the G2B model concerns the provision of information, which aims to increase efficiency, reduce transaction costs and provide real-time information for all participants in the chain [38].
5. Conclusions
Author Contributions
Funding
Institutional Review Board Statement
Informed Consent Statement
Data Availability Statement
Acknowledgments
Conflicts of Interest
References
- Wang, S.; Chen, S.; Gao, W. Information Services as a Method to Evaluate the Sustainability of Intangible Dimensions of a Historic Urban Landscape: A Case Study in Guangzhou, China. Sustainability 2023, 15, 8. [Google Scholar] [CrossRef]
- Jovanovic Milenkovic, M.; Brajovic, B.; Milenkovic, D.; Vukmirovic, D.; Jeremic, V. Beyond the equal-weight framework of the Networked Readiness Index: A multilevel I-distance methodology. Inf. Dev. 2016, 32, 1120–1136. [Google Scholar] [CrossRef]
- Vukmirovic, A.; Rajnai, Z.; Radojicic, M.; Vukmirović, J.; Jovanovic-Milenkovic, M. Infrastructural Model for the Healthcare System based on Emerging Technologies. Acta Polytech. Hung. 2018, 15, 33–48. [Google Scholar] [CrossRef]
- Simonofski, A.; Asensio, E.S.; De Smedt, J.; Snoeck, M. Citizen participation in smart cities: Evaluation framework proposal. In Proceedings of the 2017 IEEE 19th Conference on Business Informatics, Thessaloniki, Greece, 24–27 May 2017; IEEE: Danvers, MA, USA, 2017; Volume 1, pp. 227–236. [Google Scholar]
- Jovanovic-Milenkovic, M.; Rikanovic, S. Smart city concept: Digital platform of investment locations. In Proceedings of the 10th IPMA Research Conference Value Co-Creation in the Project Society, Belgrade, Serbia, 19–21 June 2022. [Google Scholar] [CrossRef]
- Stupar, A.; Mihajlov, V.; Lalovic, K.; Colic, R.; Petrovic, F. Participative Placemaking in Serbia: The Use of the Limitless GIS Application in Increasing the Sustainability of Universal Urban Design. Sustainability 2019, 11, 5459. [Google Scholar] [CrossRef]
- Kyunghun, M.; Moonyoung, Y.; Katsunori, F. A Comparison of a Smart City’s Trends in Urban Planning before and after 2016 through Keyword Network Analysis. Sustainability 2019, 11, 3155. [Google Scholar] [CrossRef]
- White, S.S.; Ellis, C. Sustainability, the environment, and new urbanism: An assessment and agenda for research. J. Archit. Plan. Res. 2007, 24, 125–142. [Google Scholar]
- Petersen, S.A.; Pourzolfaghar, Z.; Alloush, I.; Ahlers, D.; Krogstie, J.; Helfert, M. Value-added services, virtual enterprises and data spaces inspired Enterprise architecture for smart cities. In Proceedings of the 20th Working Conference on Virtual Enterprises (PRO-VE), Turin, Italy, 15 September 2019; pp. 393–402. [Google Scholar] [CrossRef]
- Sabri, S.; Witte, P. Digital technologies in urban planning and urban management. J. Urban Manag. 2023, 12, 1–3. [Google Scholar] [CrossRef]
- Furtado, L.S.; da Silva, T.L.C.; Ferreira, M.G.F.; de Macedo, J.A.F.; Cavalcanti, J.K.D.M.L. A framework for Digital Transformation towards Smart Governance: Using big data tools to target SDGs in Ceará, Brazil. J. Urban Manag. 2023, 12, 74–87. [Google Scholar] [CrossRef]
- Mortaheb, R.; Jankowski, P. Smart city re-imagined: City planning and GeoAI in the age of big data. J. Urban Manag. 2023, 12, 4–15. [Google Scholar] [CrossRef]
- Jiang, H.; Geertman, S.; Witte, P. The contextualization of smart city technologies: An international comparison. J. Urban Manag. 2023, 12, 33–43. [Google Scholar] [CrossRef]
- Christmann, G.; Schinagl, M. Digitalisation in everyday urban planning activities: Consequences for embodied practices, spatial knowledge, planning processes, and workplaces. J. Urban Manag. 2023, 12, 141–150. [Google Scholar] [CrossRef]
- Hjelmager, J.; Moellering, H.; Cooper, A.; Delgado, T.; Rajabifard, A.; Rapant, P.; Danko, D.; Huet, M.; Laurent, D.; Aalders, H.; et al. An initial formal model for spatial data infrastructures. Int. J. Geogr. Inf. Sci. 2008, 22, 1295–1309. [Google Scholar] [CrossRef]
- Ministry of Construction, Transport and Infrastructure of the Republic of Serbia. Proposal for a Policy Concept on the Reform of E-Space—A Policy Concept on the Reform of Spatial and Urban Planning in the Republic of Serbia; Ministry of Construction, Transport and Infrastructure of the Republic of Serbia: Belgrade, Serbia, 2022.
- Coman, C.; Netedu, A.; Damean, S.L.; Toderici, O.F.; Briciu, V.A.; Pascu, M.L.; Bularca, M.C. Improving the Quality of Community Public Services-Case Study: General Directorate of Personal Records, Brașov. Sustainability 2023, 15, 816. [Google Scholar] [CrossRef]
- Berkel, A.R.; Singh, P.M.; van Sinderen, M.J. An information security architecture for smart cities. In Proceedings of the 8th International Symposium on Business Modeling and Software Design, Vienna, Austria, 2–4 July 2018; pp. 167–184. [Google Scholar]
- Bokolo, A.; Petersen, S.A.; Helfert, M. Improving Digitization of Urban Mobility Services with Enterprise Architecture. In Digital Transformation in Norwegian Enterprises; Mikalef, P., Parmiggiani, E., Eds.; Springer: Cham, Switzerland, 2022. [Google Scholar] [CrossRef]
- Surveying and Planning through Electronic Applications and Referrals. Available online: https://www.spear.land.vic.gov.au/spear/pages/eplan/about/about-the-eplan-process.shtml (accessed on 18 November 2022).
- Nummi, P.; Staffans, A.; Helenius, O. Digitalizing planning culture: A change towards information model-based planning in Finland. J. Urban Manag. 2022, in press. [Google Scholar] [CrossRef]
- Official Gazette. Electronic Administration Development Program in the Republic of Serbia for the Period from 2020 to 2022; Number 85/2020; Official Gazette: Belgrade, Serbia, 2020.
- Official Gazette. Strategy of Sustainable Urban Development of the Republic of Serbia until 2030; Number 47/19; Official Gazette: Belgrade, Serbia, 2019.
- Steiner, F.; Butler, K. Planning and Urban Design Standards, American Planning Association; John Wiley & Sons, Inc.: Hoboken, NJ, USA, 2007. [Google Scholar]
- Prostorski Informacijski Sistem. Available online: http://www.pis.gov.si/ (accessed on 25 September 2022).
- Čok, G.; Mrak, G.; Breznik, J.; Foški, M.; Zavodnik, L.A. Spatial Regulation Instruments of Work at Home: The Case of Slovenia as a Post-Transition Country. Sustainability 2022, 14, 4254. [Google Scholar] [CrossRef]
- Agencija za Katastar na Nedviznosti. Available online: https://www.katastar.gov.mk/en/registers/graphical-register-of-construction-land/ (accessed on 18 December 2022).
- Li, G.; Wang, L.; Wu, C.; Xu, Z.; Zhuo, Y.; Shen, X. Spatial Planning Implementation Effectiveness. Rev. Res. Prospect. Land 2022, 11, 1279. [Google Scholar] [CrossRef]
- Jashari, M.; Pepaj, I. The Role of the Principle of Transparency and Accountability in Public Administration. Acta Univ. Danub. 2018, 10, 60–69. [Google Scholar]
- Marin, C.; Ruxanda, M. Cetateanul, Factor de Decizie in Administratia Publica Locala. Res. Sci. Today 2011, 2, 141. [Google Scholar]
- Working Group Led by Representatives of the Ministry of Construction, Transport and Infrastructure of the Republic of Serbia, The Republic Geodetic Authority, National alliance for Local Economic Development, Together to Digital Spatial and Urban Plans, 2021, Belgrade, Serbia. Available online: https://www.mgsi.gov.rs/cir/dokumenti/javni-uvid (accessed on 20 February 2021).
- Jugović, A. Public Administration: Main Factor in Successful Management of Coastal Area Development in Republic of Croatia. Interdiscip. Descr. Complex Syst. Indecs 2012, 10, 16–27. [Google Scholar] [CrossRef][Green Version]
- Huxley, M.; Inch, A. International Encyclopedia of Human Geography, 2nd ed.; Audrey, K., Ed.; Elsevier: Amsterdam, The Netherlands, 2020; pp. 87–92. [Google Scholar] [CrossRef]
- Hersperger, M.; Thurnheer-Wittenwiler, C.; Tobias, S.; Folvig, S.; Fertner, C. Digitalization in land-use planning: Effects of digital plan data on efficiently, transparency and innovation. Eur. Plan. Stud. 2021, 30, 2537–2553. [Google Scholar] [CrossRef]
- Official Gazette. Law on Planning and Construction (No. 72/2009, 81/2009-Amended, 64/2010-Decision of the Constitutional Court, 24/2011, 121/2012, 42/2013-Decision of the Constitutional Court, 50/2013-Decision of the Constitutional Court, 98/2013-Decision of the Constitutional Court, 132/2014, 145/2014, 83/2018, 31/2019, 37/2019-Other Laws, 9/2020 and 52/2021). Available online: https://www.paragraf.rs/propisi/zakon_o_planiranju_i_izgradnji.html (accessed on 30 June 2021).
- Ren, Y.; Li, B. Digital Transformation, Green Technology Innovation and Enterprise Financial Performance: Empirical Evidence from the Textual Analysis of the Annual Reports of Listed Renewable Energy Enterprises in China. Sustainability 2023, 15, 712. [Google Scholar] [CrossRef]
- Zhai, H.Y.; Yang, M.; Chan, K.C. Does digital transformation enhance a firm’s performance? Evidence from China. Technol. Soc. 2022, 68, 101841. [Google Scholar] [CrossRef]
- Jovanović Milenković, M.; Radojičić, Z.; Milenković, D.; Vukmirović, D. Applying electronic documents in development of the healthcare information system in the Republic of Serbia. Comput. Sci. Inf. Syst. 2009, 6, 111–126. [Google Scholar] [CrossRef]
- Ma, D.; Zhu, Q. Innovation in emerging economics: Research on the digital economy driving high-quality green development. J. Bus. Res. 2022, 145, 801–813. [Google Scholar] [CrossRef]
- Dey, K.; Saha, S. Influence of procurement decisions in two-period green supply chain. J. Clean. Prod. 2018, 90, 388–402. [Google Scholar] [CrossRef]
- Adner, R.; Puranam, P.; Zhu, F. What is different about digital strategy? From quantitative to qualitative change. Strat. Sci. 2019, 4, 253–261. [Google Scholar] [CrossRef]
- Eraydın, A.; Tasan-Kok, T. Resilience Thinking in Urban Planning; Springer: Berlin/Heidelberg, Germany, 2013. [Google Scholar] [CrossRef]
- Etingoff, K. Sustainable Cities: Urban Planning Challenges and Policy; CRC Press: Boca Raton, FL, USA, 2016. [Google Scholar]
- Cajot, S.; Peter, M.; Bahu, J.-M.; Guignet, F.; Koch, A.; Maréchal, F. Obstacles in energy planning at the urban scale. Sustain. Cities Soc. 2017, 30, 223–236. [Google Scholar] [CrossRef]
- Della Spina, L.; Lorè, I.; Scrivo, R.; Viglianisi, A. An Integrated Assessment Approach as a Decision Support System for Urban Planning and Urban Regeneration Policies. Buildings 2017, 7, 85. [Google Scholar] [CrossRef]
- Pedro, J.; Silva, C.; Duarte Pinheiro, M. Integrating GIS spatial dimension into BREEAM communities sustainability assessment to support urban planning policies, Lisbon case study. Land Use Policy 2019, 83, 424–434. [Google Scholar] [CrossRef]
- Winden, W.; De, L.; Carvalho, L. How digitalization changes cities: Innovation for the urban economy of tomorrow. Cities Digit. 2017, 1–24. [Google Scholar] [CrossRef]
- PwC. Innovative City Strategies for Delivering Sustainable Competitiveness, Report Prepared for the iUrban International Conference of PwC Public Sector Practice; Euricur, PwC and HIS: Rotterdam, The Netherlands, 2014. [Google Scholar]
- Carvalho, L.; van Tuijl, E. Manchester: Digital Strategy. In Delivering Sustainable Competitiveness: Revisiting the Organising Capacity of Cities; Carvalho, L., van den Berg, L., Galal, H., Teunisse, P., Eds.; Routledge: Abingdon, UK, 2017. [Google Scholar]
- e-Governance Project Lifecycle Reading Supplement Handbook, Printed & Published by National Institute for Smart Government. Available online: https://www.meity.gov.in/writereaddata/files/e-Governance_Project_Lifecycle_Participant_Handbook-5Day_CourseV1_20412.pdf (accessed on 10 December 2022).
- Goodspeed, R.; Hackel, C. Lessons for developing a planning support system infrastructure: The case of Southern California’s Scenario Planning Model. Environ. Plan. B Urban Anal. City Sci. 2017, 46, 777–796. [Google Scholar] [CrossRef]
- Assarkhaniki, Z.; Sabri, S.; Rajabifard, A. Using open data to detect the structure and pattern of informal settlements: An outset to support inclusive SDGs’ achievement. Big Earth Data 2021, 5, 497–526. [Google Scholar] [CrossRef]
- Rehman, M.A.; Ishak, M.S.B. Role of Governmental Regulatory Controlling Procedures between Political Hazards and Risk Management. Eur. Proj. Manag. J. 2022, 12, 34–49. [Google Scholar] [CrossRef]
- The Republic Geodetic Authority, NSDI Strategic Actions Plan, Belgrade, Serbia. 2021. Available online: https://en.rgz.gov.rs/content/pages/english/Structure/NSDI%20Strategic%20Actions%20Plan-4.pdf (accessed on 10 December 2022).
- International Smart Cities Network (ISCN), Data Strategies for a Common Good-oriented Urban Development International. 2022. Available online: https://www.smart-city-dialog.de/wp-content/uploads/2022/01/Publication-Data-Strategies-for-Common-Good-oriented-Urban-Development-Int.pdf (accessed on 14 December 2022).
- Official Gazette. Action Plan for the Implementation of the Strategy of Sustainable Urban Development of the Republic of Serbia until 2030 for the Period from 2021 to 2022; Number 28/2021; Official Gazette: Belgrade, Serbia, 2021.
- Obradović, V. Contemporary Trends in the Public Sector Project Management. Eur. Proj. Manag. J. 2018, 8, 52–56. [Google Scholar] [CrossRef]















| Representatives of Public Authorities | Level | Region of Serbia % |
|---|---|---|
| The national level | 12 | |
| The provincial level | 2 | |
| The local level | 48 | |
| Šumadija and Western Serbia | 33% | |
| Vojvodina | 26% | |
| The other regions | 41% |
| Area | % |
|---|---|
| Water, gas, sewage | 42% |
| Electricity | 16% |
| Heating | 8% |
| Environment | 6% |
| Traffic/roads | 6% |
| Cleanliness | 5% |
| Sanitary conditions | 2% |
| Cable network | 3% |
| Railway | 2% |
| Greenery | 2% |
| N/A | 2% |
| Forests | 2% |
| Waterways | 2% |
| Ski resorts | 2% |
| In total | 100% |
| The Following Needs to Be Done | Local Self-Government Units | Public Authority Holders |
|---|---|---|
| 1. | Review and reduce the number of types of planning documents; | Digitize the process of obtaining conditions in the process of creating planning documentation |
| 2. | Digitize the entire process of preparation, coordination and monitoring of the preparation of planning documents | Establish rules on the use of available formats for all participants in the procedure |
| 3. | Centralize the procedure for adopting planning documents for local self-government units that have limited capacity | Implement a phased introduction of digitization, depending on the provided staff, equipment and financial resources |
| 4. | Acquire the IT equipment necessary for the digitization of the procedure for adopting planning documents | Review and take into account the current situation for registration in the cadastre of underground lines |
| 5. | Conduct regular employee training for the use of the information system | Make sure that copies of the plan and other documentation is sent in .dwg format, if the plot is georeferenced |
| 6. | Network the participants in the process of preparation, coordination and monitoring of the planning documents. | Send documentation in editable digital form, and spatial data in .shp format, through geoweb service. |
| 7. | Digitize the entire procedure, standardization and formatting of documentation (text and graphics) for the purposes of issuing conditions with up-to-date accompanying data from the real estate cadastre in digital format. | Work on the creation of a unified cadastre of underground utility installations to which all holders of public authority would have access. |
Disclaimer/Publisher’s Note: The statements, opinions and data contained in all publications are solely those of the individual author(s) and contributor(s) and not of MDPI and/or the editor(s). MDPI and/or the editor(s) disclaim responsibility for any injury to people or property resulting from any ideas, methods, instructions or products referred to in the content. |
© 2023 by the authors. Licensee MDPI, Basel, Switzerland. This article is an open access article distributed under the terms and conditions of the Creative Commons Attribution (CC BY) license (https://creativecommons.org/licenses/by/4.0/).
Share and Cite
Jovanovic-Milenkovic, M.; Petrovic, F. The Impact of Digitization on the Formation of a New Model for Geospatial Data. Sustainability 2023, 15, 16009. https://doi.org/10.3390/su152216009
Jovanovic-Milenkovic M, Petrovic F. The Impact of Digitization on the Formation of a New Model for Geospatial Data. Sustainability. 2023; 15(22):16009. https://doi.org/10.3390/su152216009
Chicago/Turabian StyleJovanovic-Milenkovic, Marina, and Filip Petrovic. 2023. "The Impact of Digitization on the Formation of a New Model for Geospatial Data" Sustainability 15, no. 22: 16009. https://doi.org/10.3390/su152216009
APA StyleJovanovic-Milenkovic, M., & Petrovic, F. (2023). The Impact of Digitization on the Formation of a New Model for Geospatial Data. Sustainability, 15(22), 16009. https://doi.org/10.3390/su152216009

