Research on Coal Mine Goaf Restoration Based on Stability of Overlying Rocks and Numerical Simulation Analysis: A Case Study of Jingmen Garden Expo Park
Abstract
:1. Introduction
2. Data and Methods
2.1. Study Area
2.2. Data Acquisition
2.2.1. Engineering Geological Conditions of the Goaf in Garden Expo Park
2.2.2. Selection of Physical and Mechanical Geotechnical Soil Parameters in the Garden Expo Park Goaf
2.3. Research Methods
2.3.1. Analysis of the Deformation Mechanism of the Mining Area of Garden Expo Park
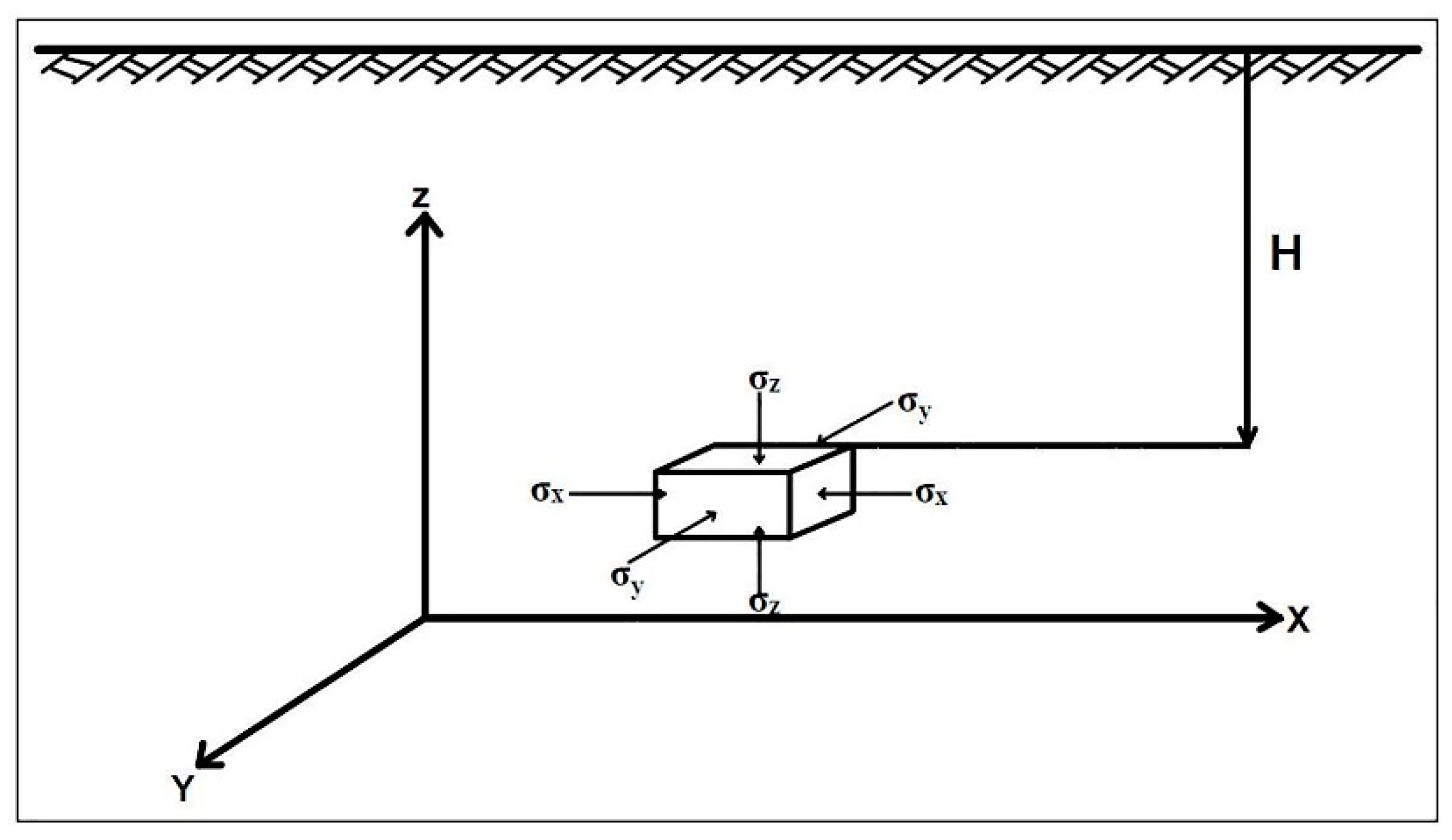
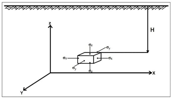
2.3.2. Theoretical Analysis of the Stability of the Goaf in Garden Expo Park and Establishment of a Numerical Model
- (1)
- Analysis of cavitation and fracture zone
- (2)
- Analysis of the natural balance method
- (3)
- Building a numerical model of moving deformation
- Calculation range
- Boundary conditions
- Constitutive model selection
- Initial stress calculation
- Simulate and Solve
2.3.3. Ecological Restoration Model of the Mined-Out Area of Jingmen Garden Expo Park
- (1)
- General restoration area: Most of these areas adopt a natural restoration mode or artificial assistance mode [31]. The natural recovery mode mainly employs measures such as setting up warning signs, tying galvanized barbed wire, planting fence thorns, and setting up protective fences for enclosure, while the manual auxiliary mode mainly adopts measures such as slope adjustment, waste gravel cleaning, topsoil backfilling, and land leveling.
- (2)
- Key restoration areas: In these areas, an engineering restoration mode or transformation utilization mode is generally adopted [32]. Backfilling, fencing, and landscaping measures can be adopted for deep quarrying pits [33,34]. For mining land with a gentle slope (slope less than 35°), measures such as laying grass blankets, planting bags, foreign soil, laying three-dimensional nets, and laying geogrids can be adopted. For slopes greater than 35° and less than 70°, soil bagging, spraying and mixing plants, and retaining wall greening measures can be adopted. For slopes greater than 70°, floating board planting troughs, ecological concrete, construction of fish scale pits and swallow nests, spraying slope protection, hanging net spraying, drilling and climbing vines, greening, landscaping, and other measures can be utilized [35]. For abandoned mines with a soil slope of more than 10 m and a rock slope of more than 20 m, slope-cutting and grading measures may be adopted if the surrounding land allows.
3. Results
3.1. Analysis of the Calculation Results for the Stability of the Mined-Out Area of the Garden Expo Park
3.1.1. Overlying Rock Stability Analysis
3.1.2. Numerical Simulation Analysis of Goaf Movement Deformation
- (1)
- Section Displacement Stress Analysis
- (2)
- Goaf Stability Analysis
3.2. Comprehensive Evaluation and Restoration Design of Goaf Site in Garden Expo Park
3.2.1. Goaf Stability and Suitability Evaluation
- (1)
- Stability evaluation
- (2)
- Suitability evaluation
3.2.2. Goaf Restoration Design
- (1)
- Poor Suitability Zone
- Quarry rehabilitation
- Slope re-greening
- (2)
- Basic Suitability Zone
- (3)
- Suitability Zone
4. Discussion
- (1)
- The caving and fissure zone analysis method and natural balance method were used in the stability analysis of the goaf, and the minimum and maximum thicknesses of the overlying rock mass in the three key exploration areas of the goaf due to the surrounding rock pressure were obtained: these values were 40.19 m and 48.33 m in key exploration area 1; 36.45 m and 44.24 m in key exploration area 2; and 49.77 m and 57.57 m in key exploration area 3, respectively.
- (2)
- A numerical model of the mobile deformation of the mining area was established, and its profile stress and displacement were analyzed using FLAC(3D) finite difference method simulation calculation. The results of profile stress analysis showed a tensile strength of 0.49 MPa, while the allowable tensile strength of the rock was 0.33 MPa. The results of displacement analysis showed that the maximum vertical displacement was 4.5 cm and the maximum horizontal displacement was 1.5 cm. In summary, the top plate of the mining area and the overlying rock are in an unstable state.
- (3)
- According to the calculation results, the suitability of the site was evaluated and the site was divided into three categories—poor suitability zone, basic suitability zone, and suitability zone—for which different ecological restoration plans were proposed.
5. Conclusions
Author Contributions
Funding
Institutional Review Board Statement
Informed Consent Statement
Data Availability Statement
Conflicts of Interest
References
- Yu, D.; Xun, B.; Shi, P.; Shao, H.; Liu, Y. Ecological restoration planning based on connectivity in an urban area. Ecol. Eng. 2012, 46, 24–33. [Google Scholar] [CrossRef]
- Pierce, A.L.; Heyder, M.; Tregonning, G.; Laborgne, P.; Wilhelmi, O.; Wendel, J. Examining knowledge of the nexus at the urban scale. In Handbook on the Water-Energy-Food Nexus; Edward Elgar Publishing: Cheltenham, UK, 2022; pp. 193–209. [Google Scholar]
- Huang, B.; Xing, K.; Ness, D.; Liao, L.; Huang, K.; Xie, P.; Huang, J. Rethinking carbon–neutral built environment: Urban dynamics and scenario analysis. Energy Build. 2022, 255, 111672. [Google Scholar] [CrossRef]
- Lyu, X.; Yang, K.; Fang, J. Utilization of resources in abandoned coal mines for carbon neutrality. Sci. Total Environ. 2022, 822, 153646. [Google Scholar] [CrossRef]
- Wang, F.; Zhu, H.; Li, Y.; Gu, D.; Gao, Y.; Feng, J.; Shu, B.; Li, C.; Wu, S.; Liu, Q. Microwave heating mechanism and Self-healing performance of scrap tire pyrolysis carbon black modified bitumen. Constr. Build. Mater. 2022, 341, 127873. [Google Scholar] [CrossRef]
- Aung, T.S.; Fischer, T.B.; Shengji, L. Evaluating environmental impact assessment (EIA) in the countries along the belt and road initiatives: System effectiveness and the compatibility with the Chinese EIA. Environ. Impact Assess. Rev. 2020, 81, 106361. [Google Scholar] [CrossRef]
- Asr, E.T.; Kakaie, R.; Ataei, M.; Mohammadi, M.R.T. A review of studies on sustainable development in mining life cycle. J. Clean. Prod. 2019, 229, 213–231. [Google Scholar] [CrossRef]
- Li, J.; Lin, B. Landscape planning of stone mine park under the concept of ecological environment restoration. Arab. J. Geosci. 2022, 15, 671. [Google Scholar] [CrossRef]
- Tong, L.; Liu, L.; Qiu, Y.; Liu, S. Tunneling in abandoned coal mine areas: Problems, impacts and protection measures. Tunn. Undergr. Space Technol. 2013, 38, 409–422. [Google Scholar] [CrossRef]
- Yin, Z.; Feng, D. Landscape planning and design of Zhanggongdi City Park based on human ecology. IOP Conf. Ser. Earth Environ. Sci. 2021, 760, 012057. [Google Scholar] [CrossRef]
- Heesche, J.; Braae, E.M.; Jørgensen, G. Landscape-Based Transformation of Young Industrial Landscapes. Land 2022, 11, 908. [Google Scholar] [CrossRef]
- Wu, C.; Zhang, Y.; Zhang, J.; Chen, Y.; Duan, C.; Qi, J.; Cheng, Z.; Pan, Z. Comprehensive Evaluation of the Eco-Geological Environment in the Concentrated Mining Area of Mineral Resources. Sustainability 2022, 14, 6808. [Google Scholar] [CrossRef]
- Bogdanov, V.; Marquis-Favre, C.; Cottet, M.; Beffara, B.; Perrin, F.; Dumortier, D.; Ellermeier, W. Nature and the City: Audiovisual interactions in pleasantness and psychophysiological reactions. Appl. Acoust. 2022, 193, 108762. [Google Scholar] [CrossRef]
- Vujcic, M.; Tomicevic-Dubljevic, J.; Grbic, M.; Lecic-Tosevski, D.; Vukovic, O.; Toskovic, O. Nature based solution for improving mental health and well-being in urban areas. Environ. Res. 2017, 158, 385–392. [Google Scholar] [CrossRef]
- Li, W.; Zhang, S.; Lu, C. Exploration of China’s net CO2 emissions evolutionary pathways by 2060 in the context of carbon neutrality. Sci. Total Environ. 2022, 831, 154909. [Google Scholar] [CrossRef]
- Shu-Zhi, L.I. Present Status and Outlook on Land Damage and Reclamation Technology of Mining Subsidence Area in China. Coal Sci. Technol. 2014, 1, 93–97. [Google Scholar]
- Farina, A. Human-Dependent Landscapes around the World—An Ecological Perspective. In Principles and Methods in Landscape Ecology; Springer: Berlin/Heidelberg, Germany, 2022; pp. 339–399. [Google Scholar]
- Wu, J.; Zhang, S.; Luo, Y.; Wang, H.; Zhao, Y. Assessment of risks to habitat connectivity through the stepping-stone theory: A case study from Shenzhen, China. Urban For. Urban Green. 2022, 71, 127532. [Google Scholar] [CrossRef]
- Jain, M.K.; Das, A. Impact of mine waste leachates on aquatic environment: A review. Curr. Pollut. Rep. 2017, 3, 31–37. [Google Scholar] [CrossRef]
- Jouini, M.; Royer-Lavallée, A.; Pabst, T.; Chung, E.; Kim, R.; Cheong, Y.-W.; Neculita, C.M. Sustainable Production of Rare Earth Elements from Mine Waste and Geoethics. Minerals 2022, 12, 809. [Google Scholar] [CrossRef]
- Chen, C. Research on the Recycling Utilization of Mining Wasteland-Comment on “Surface Space Ecological Development and Key Technology of Mining Wasteland”. Min. Res. Dev. 2020, 40, 193. [Google Scholar]
- Venkateswarlu, K.; Nirola, R.; Kuppusamy, S.; Thavamani, P.; Naidu, R.; Megharaj, M. Abandoned metalliferous mines: Ecological impacts and potential approaches for reclamation. Rev. Environ. Sci. Bio/Technol. 2016, 15, 327–354. [Google Scholar] [CrossRef]
- Farjana, S.H.; Huda, N.; Mahmud, M.P.; Saidur, R. A review on the impact of mining and mineral processing industries through life cycle assessment. J. Clean. Prod. 2019, 231, 1200–1217. [Google Scholar] [CrossRef]
- China Coal Construction Association. Code for Investigation of Geotechnical Engineering in the Coal Mine Goaf; China Plan Publishing House: Beijing, China, 2017. [Google Scholar]
- Chen, J.; Xu, C.; Wang, Y.; Li, D.; Song, M. Carbon neutrality based on vegetation carbon sequestration for China’s cities and counties: Trend, inequality and driver. Resour. Policy 2021, 74, 102403. [Google Scholar] [CrossRef]
- Muthusaravanan, S.; Sivarajasekar, N.; Vivek, J.; Paramasivan, T.; Naushad, M.; Prakashmaran, J.; Gayathri, V.; Al-Duaij, O.K. Phytoremediation of heavy metals: Mechanisms, methods and enhancements. Environ. Chem. Lett. 2018, 16, 1339–1359. [Google Scholar] [CrossRef]
- Qiu, Z.; Feng, Z.; Song, Y.; Li, M.; Zhang, P. Carbon sequestration potential of forest vegetation in China from 2003 to 2050: Predicting forest vegetation growth based on climate and the environment. J. Clean. Prod. 2020, 252, 119715. [Google Scholar] [CrossRef]
- Shi, C. Engineering Geology Handbook, 5th ed.; China Construction Industry Press: Beijing, China, 2018. [Google Scholar]
- Feng, X.; Liu, G.; Chen, J.; Chen, M.; Liu, J.; Ju, W.; Sun, R.; Zhou, W. Net primary productivity of China’s terrestrial ecosystems from a process model driven by remote sensing. J. Environ. Manag. 2007, 85, 563–573. [Google Scholar] [CrossRef]
- Arnberger, A.; Eder, R. Are urban visitors’ general preferences for green-spaces similar to their preferences when seeking stress relief? Urban For. Urban Green. 2015, 14, 872–882. [Google Scholar] [CrossRef]
- Chen, C.L.; Zhang, H. Do You Live Happily? Exploring the Impact of Physical Environment on Residents’ Sense of Happiness. IOP Conf. Ser. Earth Environ. Sci. 2018, 112, 012012. [Google Scholar] [CrossRef]
- Danya, K.; Jin, J. Does happiness data say urban parks are worth it? Landsc. Urban Plan. 2018, 178, 1–11. [Google Scholar]
- Huang, X.; Wang, H.; Shan, L.; Xiao, F. Constructing and optimizing urban ecological network in the context of rapid urbanization for improving landscape connectivity. Ecol. Indic. 2021, 132, 108319. [Google Scholar] [CrossRef]
- Li, A.; Zheng, H. Energy security and sustainable design of urban systems based on ecological network analysis. Ecol. Indic. 2021, 129, 107903. [Google Scholar] [CrossRef]
- Hong, X.; Liu, J.; Wang, G.; Jiang, Y.; Wu, S.; Lan, S. Factors influencing the harmonious degree of soundscapes in urban forests: A comparison of broad-leaved and coniferous forests. Urban For. Urban Green. 2019, 39, 18–25. [Google Scholar] [CrossRef]






















| Name | Time of Mine Construction | Design Annual Output /10,000 tons | Shutdown Time |
|---|---|---|---|
| Jingmen Duodao Yinshan Coal Mine Co. | 2003 | 3 | 2011 |
| Jingmen Duodao Zhaochonggou Coal Mine | 2003 | 3 | 2011 |
| Yinshan Coal Mine, Duodao Development Zone, Jingmen City | 1993 | 1 | 2002 |
| Jingmen Duodao General Branch Coal Mine | 1992 | 0.5 | 1995 |
| Labor and Employment Office, Duodao Street Office | 1998 | 0.2 | 2000 |
| Yaoshan Coal Mine, Shuangxi Service Company, Dongbao District | 1991 | 0.5 | 2000 |
| Yinjiashan Coal Mine in Shuangxi Village | 1994 | 0.2 | 1996 |
| Source | Lithology | Density ρ (g/cm3) | Elastic Modulus E (GPa) | Poisson’s Ratio ν | Natural Compressive Strength (MPa) | Cohesion c (KPa) | Internal Friction Angle φ (°) |
|---|---|---|---|---|---|---|---|
| Engineering Geology Handbook | Mudstone | 2.0–2.7 | 1.3–2.1 | 0.16–0.25 | 20–40 | ||
| Sandstone | 2.2–3.0 | 2.78–5.4 | 0.05–0.2 | 47–180 | |||
| Our data | Muddy natural sandstone (natural) | 2.6 | 1.35 | 0.123 | 44.5 | 2.16 | 40 |
| Silty mudstone (natural) | 2.55 | 2.6 | 0.204 | 34.8 | 2.06 | 39 | |
| Suggested value | Strong–moderately weathered siltstone | 2.55 | 1.3 | 0.12 | 40.0 | 2.1 | 40 |
| Strong–moderately weathered mudstone | 2.50 | 2.5 | 0.09 | 32.0 | 2.0 | 35 | |
| Coal seam | 2.50 | 0.92 | 0.08 | 12.2 | 1.7 | 28 |
| Roadway Width | Rock Mass Density | Building Base Unit Pressure | Friction Angle in Rock | Critical Depth of Rock Mass below Basement | Evaluation |
|---|---|---|---|---|---|
| B | γ | P0 | φ | H0 | H < H0, unstable H0 < H < 1.5 H0, poor stability H < 1.5 H0 stable |
| m | kN/m3 | KN | ° | m | |
| 10.0 | 26.00 | 0.00 | 40.00 | 54.95 |
| Calculation Part | Mining Horizon | Seam Spacing (m) | Layer Thickness (m) | Cumulative Thickness (m) | Caving Belt Height (m) | Fracture Zone Height (m) |
|---|---|---|---|---|---|---|
| Key Exploration Area 1 | VII4 | 0.4 | 2.4 | 7.9 ± 2.2 | 32.26 ± 5.6 | |
| VII2 | 55.6 | 0.4 | ||||
| VI5 | 86.4 | 0.4 | ||||
| VI4 | 46.3 | 0.8 | ||||
| VI3 | 38.7 | 0.4 | ||||
| Key Exploration Area 2 | VI5 | 0.6 | 2.0 | 7.04 ± 2.2 | 29.41 ± 5.6 | |
| VI4 | 42.5 | 1.0 | ||||
| VI3 | 29.7 | 0.4 | ||||
| Key Exploration Area 3 | VII5 | 0.4 | 3.85 | 10.36 ± 2.2 | 39.41 ± 5.6 | |
| VII4 | 38.4 | 0.55 | ||||
| VII2 | 57.8 | 0.6 | ||||
| VI5 | 91.2 | 0.7 | ||||
| VI4 | 38.2 | 1.1 | ||||
| VI3 | 40.1 | 0.5 |
| Building floors | 5th floor | 7th floor | 10% of the self-weight stress of the foundation (kN/m2) | |
| Substrate uniform load (kN/m2) | 180 | 220 | ||
| Substrate additional pressure (kN/m2) | 140 | 180 | ||
| Additional stress in the foundation at depth Z(m) below the ground surface σz (kN/m2) | 2.5 | 67.2 | 76.8 | 5.0 |
| 4.5 | 25.2 | 28.8 | 10.2 | |
| 6.5 | 14.56 | 16.6 | 15.4 | |
| Depth of impact (m) | 6.5 | 7.0 | ||
| Remarks: Calculated according to a width of the low-rise strip foundation of 2.0 m and 3.0 m. | ||||
| Area | Layers | Height of Collapse Fracture Zone (m) | 1.4 Hc (m) | Depth of Impact (m) | Critical Height (m) | 1.4 Hc + Hb (m) | Actual Mining Depth (m) | Stable Condition |
|---|---|---|---|---|---|---|---|---|
| Key Exploration Area 1 | 5 | 48.33 | 67.66 | 6.5 | 54.83 | 74.16 | 0–275 | Comprehensive assessment of the stability of the foundation in the goaf: mining depth > 90 m is a more stable site, mining depth ≤ 90 m is not suitable for construction sites. |
| 7 | 7.0 | 55.33 | 74.66 | |||||
| Key Exploration Area 2 | 5 | 44.24 | 61.94 | 6.5 | 50.74 | 68.44 | 10–253 | |
| 7 | 7.0 | 51.24 | 68.94 | |||||
| Key Exploration Area 3 | 5 | 57.57 | 80.60 | 6.5 | 64.07 | 87.1 | 18–280 | |
| 7 | 7.0 | 64.57 | 87.6 |
| Suitability Zoning | Number | Partition Area (km2) | Site Hazards | Planning and Design Suggestions |
|---|---|---|---|---|
| Poor suitability zones | 1 | 0.5082 | Greater hazard | Disposal sites, green spaces, landscaped areas, roads, squares, temporary facilities |
| Basic suitability zones | 2 | 0.241 | Moderate hazard | Roads, squares, low-rise buildings |
| Suitability zones | 3 | 0.6731 | Less hazard | Various buildings |
Disclaimer/Publisher’s Note: The statements, opinions and data contained in all publications are solely those of the individual author(s) and contributor(s) and not of MDPI and/or the editor(s). MDPI and/or the editor(s) disclaim responsibility for any injury to people or property resulting from any ideas, methods, instructions or products referred to in the content. |
© 2023 by the authors. Licensee MDPI, Basel, Switzerland. This article is an open access article distributed under the terms and conditions of the Creative Commons Attribution (CC BY) license (https://creativecommons.org/licenses/by/4.0/).
Share and Cite
Xu, Z.; Xu, W.; Zhou, P.; Zhu, Z.; Zhao, J.; Gao, P. Research on Coal Mine Goaf Restoration Based on Stability of Overlying Rocks and Numerical Simulation Analysis: A Case Study of Jingmen Garden Expo Park. Sustainability 2023, 15, 1464. https://doi.org/10.3390/su15021464
Xu Z, Xu W, Zhou P, Zhu Z, Zhao J, Gao P. Research on Coal Mine Goaf Restoration Based on Stability of Overlying Rocks and Numerical Simulation Analysis: A Case Study of Jingmen Garden Expo Park. Sustainability. 2023; 15(2):1464. https://doi.org/10.3390/su15021464
Chicago/Turabian StyleXu, Zaicheng, Wei Xu, Peng Zhou, Zhenhua Zhu, Junyi Zhao, and Peng Gao. 2023. "Research on Coal Mine Goaf Restoration Based on Stability of Overlying Rocks and Numerical Simulation Analysis: A Case Study of Jingmen Garden Expo Park" Sustainability 15, no. 2: 1464. https://doi.org/10.3390/su15021464
APA StyleXu, Z., Xu, W., Zhou, P., Zhu, Z., Zhao, J., & Gao, P. (2023). Research on Coal Mine Goaf Restoration Based on Stability of Overlying Rocks and Numerical Simulation Analysis: A Case Study of Jingmen Garden Expo Park. Sustainability, 15(2), 1464. https://doi.org/10.3390/su15021464

