Shaking Table Test for Seismic Response of Nuclear Power Plant on Non-Rock Site
Abstract
1. Introduction
2. Overview of the Test
2.1. Background of the Project
2.2. The Shaking Table
2.3. Annular Layered Shear Box
2.4. Design and Modeling of Superstructure
2.5. Model of Soil Mass
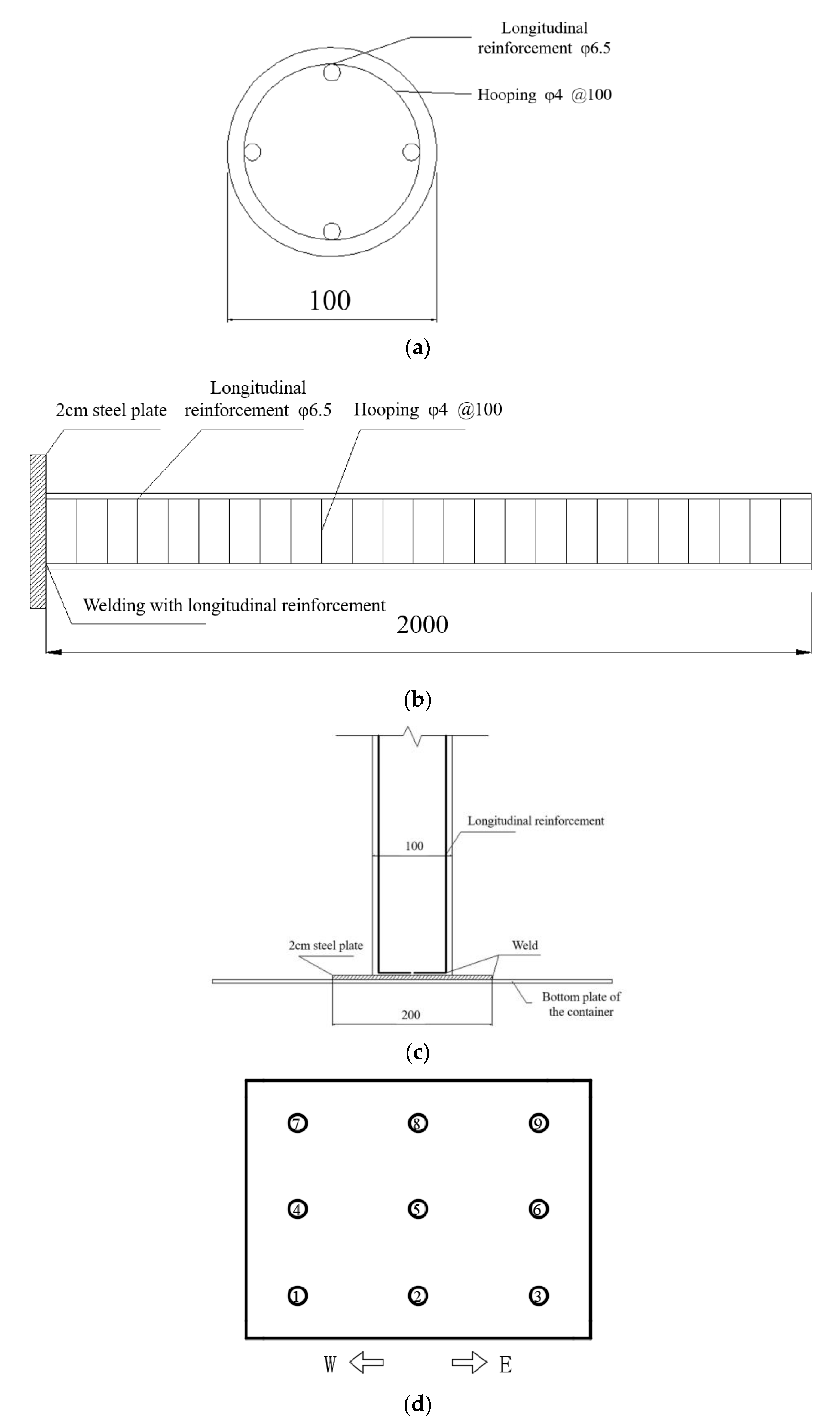
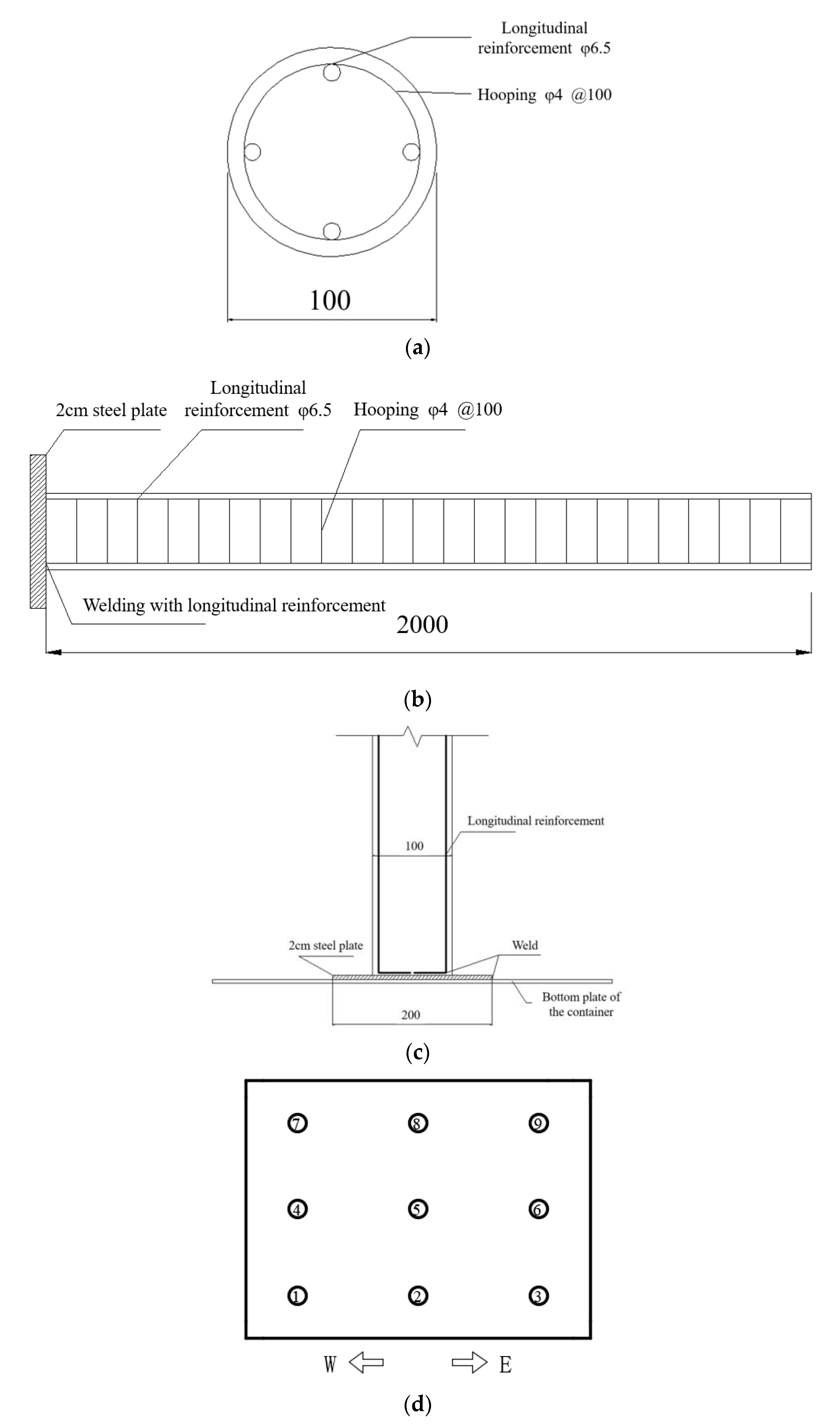
2.6. Model of Pile Group Foundation
2.7. Instrumentation
2.8. Scheme of Dynamic Load Input
3. Analysis of Test Results
3.1. Experimental Phenomena and Structural System’s Natural Frequency
3.2. Test Results Comparison of Seismic Motion Unidirectional and Three Directional Input
3.3. Comparison of Structures with Different Foundations Test Results
4. Conclusions
- (1)
- The Arias intensity amplification factor at different heights of the safety-related plant is related to the frequency components of seismic motion input, which is larger under RG1.60 seismic motion input than that of the other two natural seismic motion input cases. That is because RG1.60 seismic motion has more components near the natural frequency of the soil–structure system model. In addition, the high-frequency components of the RG1.60 seismic motion cause a more severe vertical rocking motion of the nuclear power plant than the other two natural seismic motions.
- (2)
- When the seismic motion is input in three directions simultaneously, the Arias intensity value, displacement, and degree of vertical rocking motion of the safety-related plant are largerthan in unidirectional input cases. The shape of the floor spectrum is basically the same as that of the unidirectional input, and the peak period changes little.
- (3)
- The Arias intensity value and rocking motion amplitude of the pile group-foundation safety-related plant are less than those of the raft-foundation safety-related plant. In most frequency bands, the value of the Fourier amplitude spectrum at the top of the raft-foundation structure is greater than that of the pile group-foundation structure. The reason for this is that the frequency of the input seismic motion is lower than the natural frequency of the test model system, and the natural frequency of the pile-foundation model system is higher than that of the raft-foundation model system, so the amplification effect is weakened. The displacement of the safety-related plant on different foundation forms is basically the same because the frequency of the input displacement is low and far away from the natural frequency of the model systems.
Author Contributions
Funding
Institutional Review Board Statement
Informed Consent Statement
Data Availability Statement
Conflicts of Interest
References
- Du, N. Exploration and practice of quality assurance for haixing nuclear power plant soft foundation treatment. In Proceedings of the Progress Report on China Nuclear Science and Technology (Roll VI)-Proceedings of the 2019 Annual Academic Meeting of the Chinese Nuclear Society Volume 10 (Nuclear Safety Subsection and Nuclear Security Subsection), Baotou, China, 20–23 August 2019; pp. 70–77. [Google Scholar]
- Wang, F. Study on the Effect of Non-Rock Site on Seismic Behavior of Safety-Related Nuclear Structure; Institute of Geophysics, China Earthquake Administration: Beijing, China, 2021. [Google Scholar]
- Chen, J.; Ma, J.; Jiang, D. Dynamic analysis for isolation structures of nuclear power plants. Ind. Constr. 2016, 46, 105–110. [Google Scholar]
- Ying, J.; Wang, R.; Yu, Z. Earthquake response analysis of soil-pile-nuclear power station auxiliary workshop structure interaction system. Earthq. Eng. Eng. Dyn. 1995, 1, 44–52. [Google Scholar]
- Sayed, M.; Kim, D.; Cho, S.G. Seismic Analysis of Base Isolated Nuclear Power Plant Considering Nonlinear Pile-Soil Interaction; Transactions, SMiRT-22: San Francisco, CA, USA, 2013; pp. 18–23. [Google Scholar]
- Li, W.; Yin, X.; Wang, G. Seismic response analysis of nuclear power plant on soil foundation considering pile-soil-structure dynamic interaction. J. Seismol. Res. 2016, 39, 40–45+180. [Google Scholar]
- Wang, G.; Zhang, R.; Zhao, J. Analysis on seismic bearing capacity of natural and pile foundations about a coastal nuclear power plant in soft ground. J. Seismol. Res. 2016, 39, 15–21+179–180. [Google Scholar]
- Luo, C.; Yang, X.; Zhan, C.; Jin, X.; Ding, Z. Nonlinear 3D finite element analysis of soil-pile-structure interaction system subjected to horizontal earthquake excitation. Soil Dyn. Earthq. Eng. 2016, 84, 145–156. [Google Scholar] [CrossRef]
- Zou, D.G.; Sui, Y.; Chen, K. Plastic damage analysis of pile foundation of nuclear power plants under beyond-design basis earthquake excitation. Soil Dyn. Earthq. Eng. 2020, 136, 106179. [Google Scholar] [CrossRef]
- Yang, J.; Ma, Y.; Cai, J. Research on the seismic response analysis of nuclear island buildings with pile foundation. Ind. Constr. 2021, 51, 31–36. [Google Scholar]
- Zhu, S.; Chen, G.; Jiang, P.; Chen, W.; Gao, W. 3D nonlinear response characteristics of the pile-raft-supported AP1000 nuclear island building in soft deposits subjected to strong ground motions. Eng. Mech. 2021, 38, 129–142. [Google Scholar]
- Chen, S.L.; Lv, H.; Zhou, G.L. Partitioned analysis of soil-structure interaction for nuclear island building. Earthq. Eng. Struct. Dyn. 2022, 51, 2220–2247. [Google Scholar] [CrossRef]
- Ha, J.G.; Lee, S.H.; Kim, D.S.; Choo, Y.W. Simulation of soil–foundation–structure interaction of Hualien large-scale seismic test using dynamic centrifuge test. Soil Dyn. Earthq. Eng. 2014, 61–62, 176–187. [Google Scholar] [CrossRef]
- Li, X.; Wang, X.; He, Q. Shaking table tests for evaluation of seismic behavior of nuclear power plants on non-rock site. Nucl. Power Eng. 2017, 38, 31–35. [Google Scholar]
- Wang, X.H.; Li, X.J.; Liu, A.W.; He, Q.; Hou, C. Seismic analysis of soil-structure system of nuclear power plant on non-rock site via shaking table test. Soil Dyn. Earthq. Eng. 2020, 136, 106209. [Google Scholar]
- Peng, L.Y.; Kang, Y.J.; Tang, Z.Y.; Chen, H.T. Seismic Performance of CAP1400 Nuclear Power Station considering Foundation Uplift. Shock. Vib. 2018, 2018, 16. [Google Scholar] [CrossRef]
- Zhang, X.; Yan, W.; Sun, Y.; Chen, S.; He, H. Shaking table test of nuclear power plant considering uniform hazard spectrum. Nucl. Power Eng. 2018, 39, 80–84. [Google Scholar]
- Zhou, Z.; Guo, J.; Wei, X.; Zhang, J. Research of Coupling effect of horizontal and vertical seismic response of nuclear structures considering SSI effect. Struct. Eng. 2018, 34, 82–87. [Google Scholar]
- Zhou, Z.; Zhou, L.; Zhao, J. Shaking table test study of AP1000 base-isolated nuclear power plant. Earthq. Eng. Eng. Dyn. 2020, 40, 64–72. [Google Scholar]
- Gao, Y.; Wang, T.; Dai, J. Experimental research on seismic responses of a new type of nuclear power plant under different site conditions. Eng. Mech. 2020, 37, 116–124. [Google Scholar]
- Jing, L.; Wang, G.; Li, J.; Sun, Y.; Zhou, Z.; Qi, W. Shaking table tests and numerical simulations of dynamic interaction of soil-pile-nuclear island system. Chin. J. Geotech. Eng. 2022, 44, 163–172+207–208. [Google Scholar]
- GB50011-2010; Ministry of Housing and Urban-Rural Development of the People’s Republic of China. Code for Seismic Design of Buildings. China Architecture Press: Beijing, China, 2010.
- GB50267-2019; Ministry of Housing and Urban-Rural Development of the People’s Republic of China. Code for Seismic Design of Nuclear Power Plants. China Planning Press: Beijing, China, 2019.
- Arias, A. A Measure of Earthquake Intensity, in Seismic Design for Nuclear Power Plants; MIT Press: Cambridge, UK, 1970. [Google Scholar]















| The Prototype | The Structural Model with Raft Foundation | The Structural Model with Pile Group Foundation | |
|---|---|---|---|
| In X direction | 5.20 | 20.20 | 20.67 |
| In Y direction | 3.91 | 16.55 | 17.75 |
| Conditions | Pile Group Foundation Model | Raft Foundation Model |
|---|---|---|
| Before the test | 16.10 | 14.14 |
| After the test | 16.14 | 13.92 |
| Type of Seismic Motion | Unidirectional Input | Multi-Directional Input | ||||
|---|---|---|---|---|---|---|
| 0.05 g | 0.10 g | 0.20 g | 0.05 g | 0.10 g | 0.20 g | |
| RG1.60 | 1.172 | 4.005 | 12.139 | 1.546 | 5.493 | 13.666 |
| Landers | 0.317 | 1.402 | 7.472 | 0.499 | 2.084 | 11.342 |
| Chichi | 1.345 | 4.351 | 19.160 | 1.316 | 6.262 | 23.674 |
Disclaimer/Publisher’s Note: The statements, opinions and data contained in all publications are solely those of the individual author(s) and contributor(s) and not of MDPI and/or the editor(s). MDPI and/or the editor(s) disclaim responsibility for any injury to people or property resulting from any ideas, methods, instructions or products referred to in the content. |
© 2023 by the authors. Licensee MDPI, Basel, Switzerland. This article is an open access article distributed under the terms and conditions of the Creative Commons Attribution (CC BY) license (https://creativecommons.org/licenses/by/4.0/).
Share and Cite
Lu, X.; Jing, L.; Ma, Y.; Yang, J.; Qi, W. Shaking Table Test for Seismic Response of Nuclear Power Plant on Non-Rock Site. Sustainability 2023, 15, 10366. https://doi.org/10.3390/su151310366
Lu X, Jing L, Ma Y, Yang J, Qi W. Shaking Table Test for Seismic Response of Nuclear Power Plant on Non-Rock Site. Sustainability. 2023; 15(13):10366. https://doi.org/10.3390/su151310366
Chicago/Turabian StyleLu, Xinyu, Liping Jing, Ying Ma, Jianhua Yang, and Wenhao Qi. 2023. "Shaking Table Test for Seismic Response of Nuclear Power Plant on Non-Rock Site" Sustainability 15, no. 13: 10366. https://doi.org/10.3390/su151310366
APA StyleLu, X., Jing, L., Ma, Y., Yang, J., & Qi, W. (2023). Shaking Table Test for Seismic Response of Nuclear Power Plant on Non-Rock Site. Sustainability, 15(13), 10366. https://doi.org/10.3390/su151310366
