Urban Flood-Risk Assessment: Integration of Decision-Making and Machine Learning
Abstract
:1. Introduction
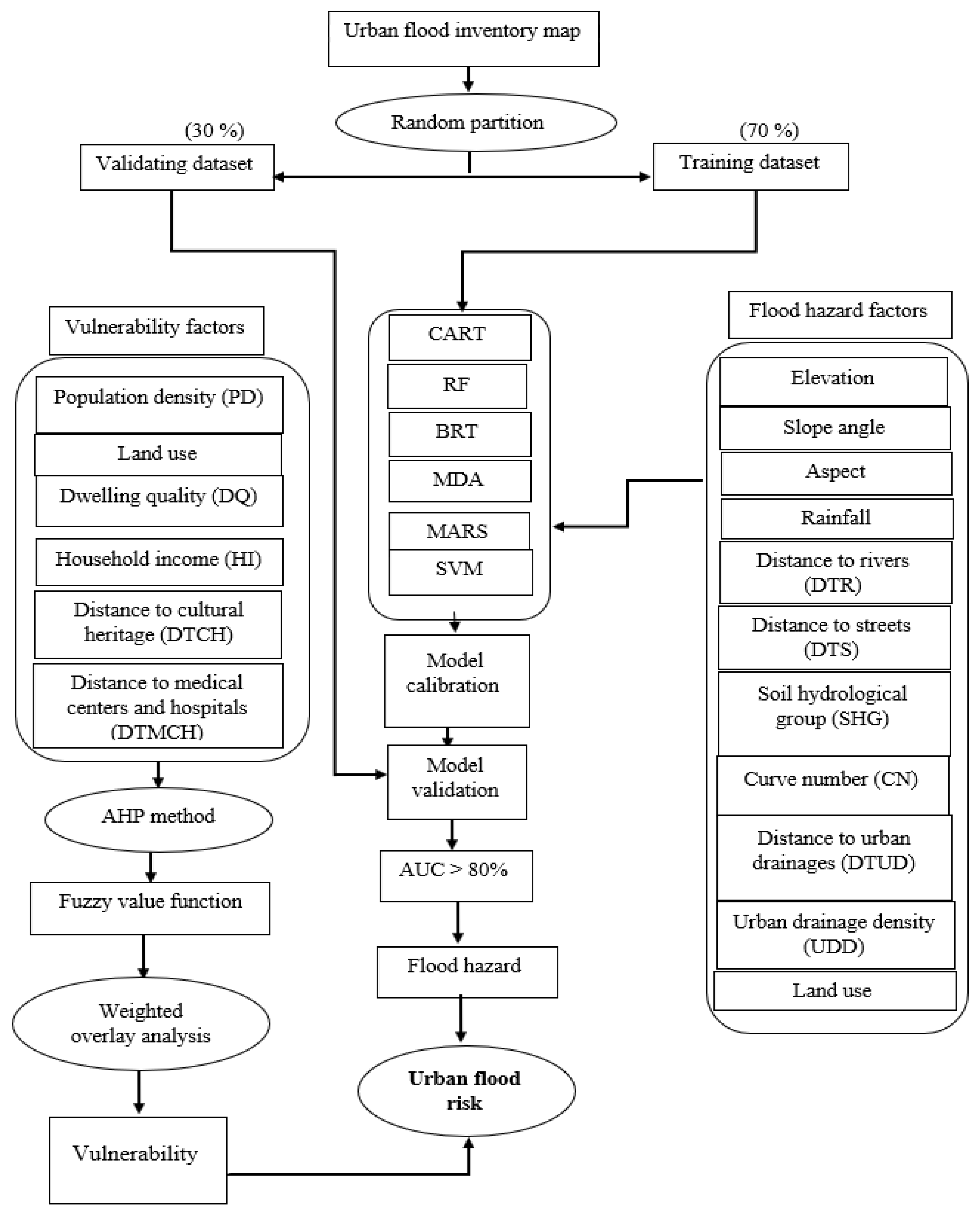
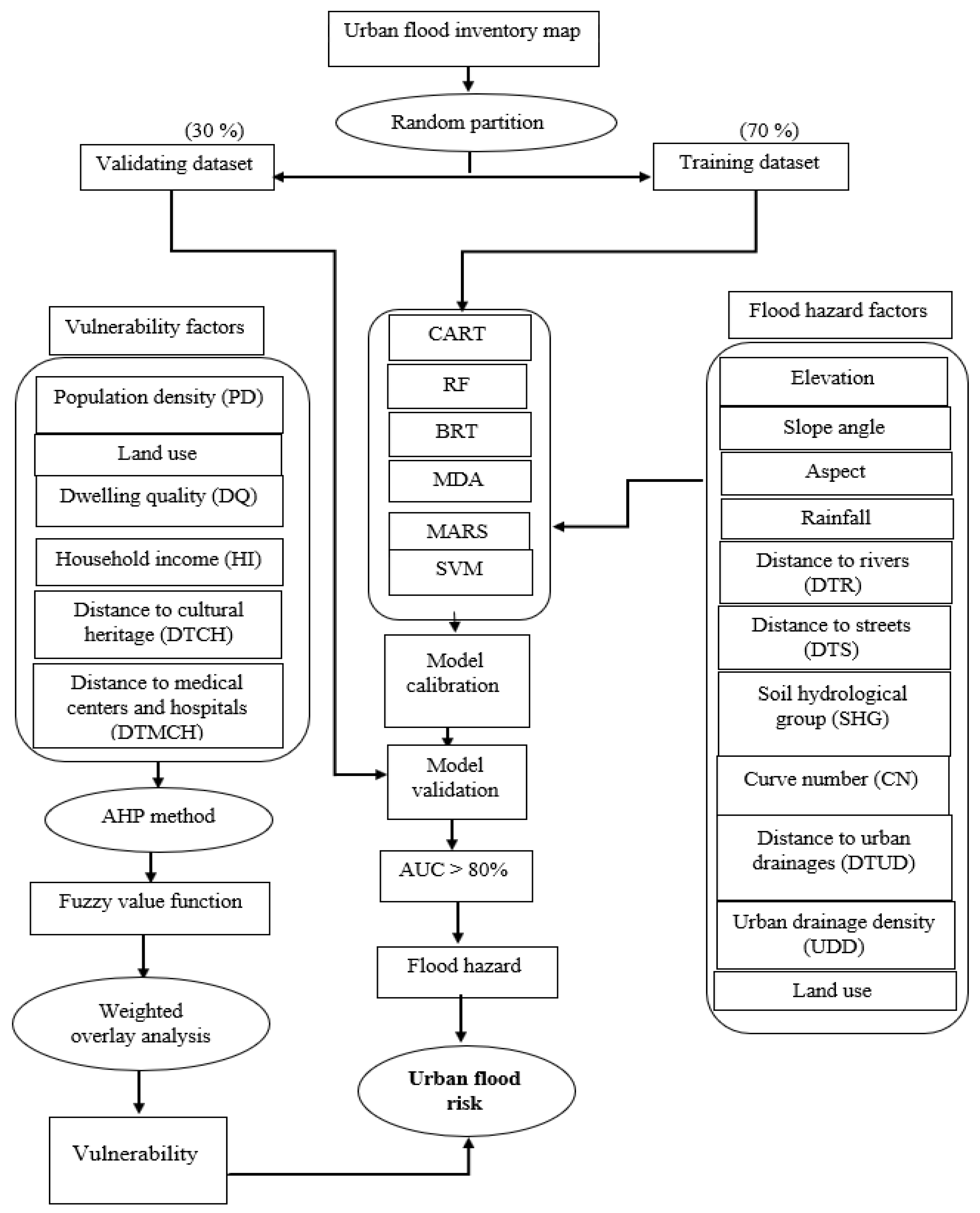
2. Materials and Methods
2.1. Study Area
2.2. Urban Flood Observations
2.3. Urban Flood Vulnerability
2.4. Urban Flood-Hazard Evaluation
2.4.1. Elevation
2.4.2. Slope Angle
2.4.3. Aspect
2.4.4. Rainfall
2.4.5. Distance to Rivers (DTR)
2.4.6. Distance to Streets (DTS)
2.4.7. Soil Hydrological Group (SHG)
2.4.8. Curve Number (CN)
2.4.9. Distance to Urban Drainage (DTUD)
2.4.10. Urban Drainage Density (UDD)
2.4.11. Land Use
2.5. Hazard Modeling
2.6. Performance Evaluation
2.7. Urban Flood-Risk Assessment
3. Results
3.1. Modeling Results
3.2. Urban Flood-Hazard Map
3.3. Importance of Flood-Hazard Factors
3.4. Importance of Vulnerability Indicators Using the AHP Method
3.5. Urban Flood-Vulnerability Maps
3.6. Urban Flood-Risk Map
4. Discussion
5. Conclusions
Author Contributions
Funding
Institutional Review Board Statement
Informed Consent Statement
Data Availability Statement
Acknowledgments
Conflicts of Interest
References
- Alexander, M.; Viavattene, C.; Faulkner, H.; Priest, S. A GIS-Based Flood Risk Assessment Tool: Supporting Flood Incident Management at the Local Scale; ACADEMIA: San Francisco, CA, USA, 2011. [Google Scholar]
- Feng, L.H.; Lu, J. The Practical Research on Flood Forecasting Based on Artificial Neural Networks. Expert Syst. Appl. 2010, 37, 2974–2977. [Google Scholar] [CrossRef]
- Klaus, S.; Kreibich, H.; Merz, B.; Kuhlmann, B.; Schröter, K. Large-scale, seasonal flood risk analysis foagricultural crops in Germany. Environ. Earth Sci. 2016, 1289, 75. [Google Scholar]
- Modarres, R.; Sarhadi, A.; Burn, D.H. Changes of extreme drought and flood events in Iran. Glob. Planet. Chang. 2016, 144, 67–81. [Google Scholar] [CrossRef]
- Aminyavari, S.; Saghafian, B.; Sharifi, E. Assessment of Precipitation Estimation from the NWP Models and Satellite Products for the Spring 2019 Severe Floods in Iran. Remote Sens. 2019, 11, 2741. [Google Scholar] [CrossRef] [Green Version]
- Hosseini, F.S.; Khalighi, S.H.S.; Salajegheh, A.; Moghaddamnia, A.; Choubin, B. Towards a Flood Vulnerability Assessment of Watershed Using Integration of Decision Making Trial and Evaluation Laboratory, Analytical Network Process, and Fuzzy Theories. Environ. Sci. Pollut. Res. 2021, 28, 62487–62498. [Google Scholar] [CrossRef] [PubMed]
- De Bruijn, K. Resilience and flood risk management. Water Policy 2004, 6, 53–65. [Google Scholar] [CrossRef]
- Overton, I. Modelling floodplain inundation on a regulated river: Integrating GIS, remote sensing and hydrological models. River Res. Appl. 2005, 21, 991–1001. [Google Scholar] [CrossRef]
- Wijayarathne, D.B.; Coulibaly, P. Identification of hydrological models for operational flood forecasting in St. John’s, Newfoundland, Canada. Hydrol. Reg. Stud. 2020, 27, 100646. [Google Scholar] [CrossRef]
- Wiles, J.J.; Levine, N.S. A combined GIS and HEC model for the analysis of the effect of urbanization on flooding; the Swan Creek watershed, Ohio. Environ. Eng. Geosci. 2002, 8, 47–61. [Google Scholar] [CrossRef]
- Miguez, M.G.; Battemarco, B.P.; de Sousa, M.M.; Rezende, O.M.; Veról, A.P.; Gusmaroli, G. Pires and G. Gusmaroli. Urban Flood Simulation Using MODCEL—An Alternative Quasi-2D Conceptual Model. Water 2017, 9, 445. [Google Scholar] [CrossRef] [Green Version]
- Kauffeldt, A.; Wetterhall, F.; Pappenberger, F.; Salamon, P.; Thielen, J. Technical review of large-scale hydrological models for implementation in operational flood forecasting schemes on continental level. Environ. Model. Softw. 2016, 75, 68–76. [Google Scholar] [CrossRef]
- Burgan, H.I.; Icaga, Y. Flood analysis using Adaptive Hydraulics (AdH) model in Akarcay Basin. Tek. Dergi 2019, 30, 9029–9051. [Google Scholar] [CrossRef]
- Unduche, F.; Tolossa, H.; Senbeta, D.; Zhu, E. Evaluation of four hydrological models for operational flood forecasting in a Canadian Prairie watershed. Hydrol. Sci. J. 2018, 63, 1133–1149. [Google Scholar] [CrossRef] [Green Version]
- Mobini, S.; Becker, P.; Larsson, R.; Berndtsson, R. Systemic inequity in urban flood exposure and damage compensation. Water 2020, 12, 3152. [Google Scholar] [CrossRef]
- Nachappa, T.G.; Piralilou, S.T.; Gholamnia, K.; Ghorbanzadeh, O.; Rahmati, O.; Blaschke, T. Flood susceptibility mapping with machine learning, multi-criteria decision analysis and ensemble using Dempster Shafer Theory. J. Hydrol. 2020, 2020, 125275. [Google Scholar] [CrossRef]
- Luu, C.; von Meding, J.A. Flood Risk Assessment of Quang Nam, Vietnam Using Spatial Multicriteria Decision Analysis. Water 2018, 10, 461. [Google Scholar] [CrossRef]
- Ouma, Y.O.; Tateishi, R. Urban flood vulnerability and risk mapping using integrated multi-parametric AHP and GIS: Methodological overview and case study assessment. Water 2014, 6, 1515–1545. [Google Scholar] [CrossRef]
- Danumah, J.H.; Odai, S.N.; Saley, B.M.; Szarzynski, J.; Thiel, M.; Kwaku, A.; Kouame, F.K.; Akpa, L.Y. Flood risk assessment and mapping in Abidjan district using multi-criteria analysis (AHP) model and geoinformation techniques, (cote d’ivoire). Geoenviron. Disasters 2016, 3, 10. [Google Scholar] [CrossRef] [Green Version]
- Zarei, M.; Bozorg-Haddad, O.; Baghban, S.; Delpasand, N.; Goharian, E.; Loáiciga, H.A. Machine-learning algorithms for forecast-informed reservoir operation (FIRO) to reduce flood damages. Sci. Rep. 2021, 11, 24295. [Google Scholar] [CrossRef]
- Mateo-Garcia, G.; Veitch-Michaelis, J.; Smith, L.; Vlad Oprea, S.; Schumann, G.; Gal, Y.; Baydin, A.G.; Backes, D. Towards global flood mapping onboard low cost satellites with machine learning. Sci. Rep. 2021, 11, 7249. [Google Scholar] [CrossRef]
- Dong, B.; Xia, J.; Zhou, M.; Li, Q.; Ahmadian, R.; Falconer, R.A. Integrated modeling of 2D urban surface and 1D sewer hydrodynamic processes and flood risk assessment of people and vehicles. Sci. Total Environ. 2022, 827, 154098. [Google Scholar] [CrossRef]
- Musolino, G.; Ahmadian, R.; Falconer, R. Comparison of flood hazard assessment criteria for pedestrians with a refined mechanics-based method. J. Hydrol. X 2020, 9, 100067. [Google Scholar] [CrossRef]
- Tehrany, M.S.; Kumar, L.; Shabani, F. A novel GIS-based ensemble technique for flood susceptibility mapping using evidential belief function and support vector machine: Brisbane, Australia. PeerJ 2019, 7, e7653. [Google Scholar] [CrossRef]
- Chen, W.; Li, Y.; Xue, W.; Shahabi, H.; Li, S.; Hong, H.; Wang, X.; Bian, H.; Zhang, S.; Pradhan, B.; et al. Modeling flood susceptibility using data-driven approaches of naïve Bayes tree, alternating decision tree, and random forest methods. Sci. Total Environ. 2020, 701, 134979. [Google Scholar] [CrossRef]
- Berk, R.A. Classification and Regression Trees (CART). In Statistical Learning from a Regression Perspective; Springer Series in Statistics; Springer: New York, NY, USA, 2008. [Google Scholar]
- Zhao, G.; Pang, B.; Xu, Z.; Yue, J.; Tu, T. Mapping flood susceptibility in mountainous areas on a national scale in China. Sci. Total Environ. 2018, 615, 1133–1142. [Google Scholar] [CrossRef]
- Shafizadeh-Moghadam, H.; Valavi, R.; Shahabi, H.; Chapi, K.; Shirzadi, A. Novel forecasting approaches using combination of machine learning and statistical models for flood susceptibility mapping. J. Environ. Manag. 2018, 217, 1–11. [Google Scholar] [CrossRef] [Green Version]
- Friedman, J.H. Multivariate Adaptive Regression Splines. Ann. Stat. 1991, 19, 1–67. [Google Scholar] [CrossRef]
- Friedman, J.H. Fast MARS; Technical Report; Department of Statistics, Stanford University: Stanford, CA, USA, 1993; p. 110. [Google Scholar]
- Hair, J.F.; Black, W.C.; Babin, B.J.; Anderson, R.E.; Tatham, R.L. Multivariate data analysis. N. J. 1998, 5, 207–219. [Google Scholar]
- Tehrany, M.S.; Pradhan, B.; Mansor, S.; Ahmad, N. Flood susceptibility assessment using GIS-based support vector machine model with different kernel types. Catena 2015, 125, 91–101. [Google Scholar] [CrossRef]
- Rahmati, O.; Pourghasemi, H.R. dentification of Critical Flood Prone Areas in Data-Scarce and Ungauged Regions: A Comparison of Three Data Mining Models. Water Resour. Manag. 2017, 31, 1473–1487. [Google Scholar] [CrossRef]
- Lawrence, R.L.; Wright, A. Rule-Based Classification Systems Using Classification and regression tree (CART) Analysis. Photogramm. Eng. Remote Sens. 2001, 12, 1137–1142. [Google Scholar]
- Timofeev, E.A. Random minimal trees. Theory Probab. Appl. 1984, 29, 134–141. [Google Scholar] [CrossRef]
- Belgiu, M.; Drăgu, L. Random forest in remote sensing: A review of applications and future directions. ISPRS J. Photogramm. Remote Sens. 2016, 114, 24–31. [Google Scholar] [CrossRef]
- Cutler, A.; Cutler, D.R.; Stevens, J.R. Random Forests BT—Ensemble Machine Learning: Methods and Applications. In Ensemble machine learning; Springer: Boston, MA, USA, 2012; Volume 45, pp. 157–175. [Google Scholar]
- Cutler, D.R.; Edwards, T.C.; Beard, K.H.; Cutler, A.; Hess, K.T.; Gibson, J.; Lawler, J.J. Random forests for classification in ecology. Ecology 2007, 88, 2783–2792. [Google Scholar] [CrossRef]
- Yang, R.M.; Zhang, G.L.; Liu, F.; Lu, Y.Y.; Yang, F.; Yang, F.; Yang, M.; Zhao, Y.G.; Li, D.C. Comparison of boosted regression tree and random forest models for mapping topsoil organic carbon concentration in an alpine ecosystem. Ecol. Indic. 2016, 60, 870–878. [Google Scholar] [CrossRef]
- Schapire, R.E. The boosting approach to machine learning: An overview. Nonlinear Estim. Classif. 2003, 171, 149–171. [Google Scholar]
- Zhao, G.; Pang, B.; Xu, Z.; Peng, D.; Xu, L. Assessment of urban flood susceptibility using semi-supervised machine learning model. Sci. Total Environ. 2019, 659, 940–949. [Google Scholar] [CrossRef]
- Sharma, A.; Tiwari, K.N.; Bhadoria, P.B.S. Effect of land use land cover change on soil erosion potential in an agricultural watershed. Environ. Monit. Assess. 2011, 173, 789–801. [Google Scholar] [CrossRef]
- National Statistics Center of Iran. General Population and Housing Census and Agricultural Census. 2016. Available online: https://www.amar.org.ir/2016/11/16 (accessed on 27 February 2022).
- Tarh-O-Kavosh Consulting Engineers. Rasht Comprehensive Planning (RCP); Final Report; Tarh-O-Kavosh Consulting Engineers: Rasht, Iran, 2015. [Google Scholar]
- Hosseini, O. Identifying the most important causes of floods in Rasht (case study of Rasht). In Proceedings of the 3rd National Conference of Flood Management and Engineering, Tehran, Iran, 30 October 2015. [Google Scholar]
- Munyai, R.B.; Musyoki, A.; Nethengwe, N.S. An assessment of flood vulnerability and adaptation: A case study of Hamutsha-Muungamunwe village, Makhado municipality. Jamba J. Disaster Risk Stud. 2019, 11, 1–8. [Google Scholar] [CrossRef] [Green Version]
- Saaty, T.L. The Analytic Hierarchy Process: Planning, Priority Setting, Resource Allocation; Mc Graw-Hill: New York, NY, USA, 1980. [Google Scholar]
- Yalcin, A. GIS-based landslide susceptibility mapping using analytical hierarchy process and bivariate statistics in Ardesen (Turkey): Comparisons of results and confirmations. Catena 2008, 72, 1–12. [Google Scholar] [CrossRef]
- Bidwai, D.; Suman, S.; Joy, S. Flood Risk Assessment Using Analytical Hierarchy Process (AHP) and Machine Learning: A Comparison. In Case Studies & Projects, Environment, Machine Learning; Omdena: Trieste, Italy, 2021. [Google Scholar]
- Brouwer, R.; Akter, S.; Brander, L.; Haque, E. Socioeconomic vulnerability and adaptation to environmental risk: A case study of climate change and flooding in Bangladesh. Risk Anal. 2007, 27, 313–326. [Google Scholar] [CrossRef] [Green Version]
- Ward, P.S.; Shively, G.E. Disaster risk, social vulnerability, and economic development. Disasters 2017, 41, 324–351. [Google Scholar] [CrossRef]
- Versini, P.A.; Gaume, E.; Andrieu, H. Assessment of the susceptibility of roads to flooding based on geographical information—Test in a flash flood prone area (the Gard region, France). Nat. Hazards Earth Syst. Sci. 2010, 10, 793–803. [Google Scholar] [CrossRef] [Green Version]
- United States Department of Agriculture. Chapter 7—Hydrologic soil groups. In National Engineering Handbook; United States Department of Agriculture: Washington, DC, USA, 2007; p. 630. [Google Scholar]
- Gittleman, M.; Farmer, C.J.; Kremer, P.; McPhearson, T. Estimating stormwater runoff for community gardens in New York City. Urban Ecosyst. 2017, 20, 129–139. [Google Scholar] [CrossRef] [Green Version]
- USDA; SCS. Urban hydrology for small watersheds. Tech. Release 1986, 55, 2–6. [Google Scholar]
- Zhan, X.; Huang, M.L. ArcCN-Runoff: An ArcGIS tool for generating curve number and runoff maps. Environ. Model. Softw. 2004, 19, 875–879. [Google Scholar] [CrossRef]
- Darabi, H.; Shahedi, K.; Solaimani, K.; Miryaghoubzadeh, M. Prioritization of subwatersheds based on flooding conditions using hydrological model, multivariate analysis and remote sensing technique. Water Environ. J. 2014, 28, 382–392. [Google Scholar] [CrossRef]
- Menberu, M.W.; Haghighi, A.T.; Ronkanen, A.K.; Kværner, J.; Kløve, B. Runoff curve numbers for peat-dominated watersheds. J. Hydrol. Eng. 2014, 20, 04014058. [Google Scholar] [CrossRef]
- Komolafe, A.A.; Herath, S.; Avtar, R. Methodology to Assess Potential Flood Damages in Urban Areas under the Influence of Climate Change. Nat. Hazards Rev. 2018, 19, 05018001. [Google Scholar] [CrossRef]
- Mahmoud, S.H.; Gan, T.Y. Urbanization and climate change implications in flood risk management: Developing an efficient decision support system for flood susceptibility mapping. Sci. Total Environ. 2018, 636, 152–167. [Google Scholar] [CrossRef]
- Yalcin, A.; Reis, S.; Aydinoglu, A.C.; Yomralioglu, T. A GIS-based comparative study of frequency ratio, analytical hierarchy process, bivariate statistics and logistics regression methods for landslide susceptibility mapping in Trabzon, NE Turkey. Catena 2011, 85, 274–287. [Google Scholar] [CrossRef]
- Naimi, B.; Araújo, M.B. sdm: A reproducible and extensible R platform for species distribution modelling. Ecography 2016, 39, 368–375. [Google Scholar] [CrossRef] [Green Version]
- Breiman, L.; Friedman, J.; Olshen, R.; Stone, C. Classification and Regression Trees (Wadsworth Statistics/Probability); Chapman and Hall: New York, NY, USA, 1984. [Google Scholar]
- Brownlee, J. Master Machine Learning Algorithms; Machine Learning Mastery: San Francisco, CA, USA, 2016. [Google Scholar]
- Breiman, L. Random forests. Mach. Learn 2001, 45, 5–32. [Google Scholar] [CrossRef] [Green Version]
- Aertsen, W.; Kint, V.; de Vos, B.; Deckers, J.; van Orshoven, J.; Muys, B. Predicting forest site productivity in temperate lowland from forest floor, soil and litterfall characteristics using boosted regression trees. Plant Soil 2012, 354, 157–172. [Google Scholar] [CrossRef] [Green Version]
- Elith, J.; Leathwick, J.R.; Hastie, T. A working guide to boosted regression trees. J. Anim. Ecol. 2008, 77, 802–813. [Google Scholar] [CrossRef]
- Abe, S. Multiclass Support Vector Machines; Royal Holloway University of London: London, UK, 2010; pp. 113–161. [Google Scholar]
- Sokolova, M.; Japkowicz, N.; Szpakowicz, S. Beyond Accuracy, F-Score and ROC: A Family of Discriminant Measures for Performance Evaluation; AAAI Workshop—Technical Report; Association for the Advancement of Artificial Intelligence: Menlo Park, CA, USA, 2006; pp. 1015–1021. [Google Scholar]
- Mosavi, A.; Ozturk, P.; Chau, K.W. Flood prediction using machine learning models: Literature review. Water 2018, 10, 1536. [Google Scholar] [CrossRef] [Green Version]
- Wilks, D.S. Cluster Analysis. In Statistical Methods in the Atmospheric Sciences; Elsevier: Amsterdam, The Netherlands, 2011; pp. 603–616. [Google Scholar]
- Levine, R.A.; Wilks, D.S. Statistical Methods in the Atmospheric Sciences. J. Am. Stat. Assoc. 2000, 344, 95. [Google Scholar] [CrossRef]
- Frattini, P.; Crosta, G.; Carrara, A. Techniques for evaluating the performance of landslide susceptibility models. Eng. Geol. 2010, 111, 62–72. [Google Scholar] [CrossRef]
- Yesilnacar, E.K. The Application of Computational Intelligence to Landslide Susceptibility Mapping in Turkey. Ph.D. Thesis, University of Melbourne, Melbourne, Australia, 2005; p. 200. [Google Scholar]
- Zêzere, J.L.; Garcia, R.A.C.; Oliveira, S.C.; Reis, E. Probabilistic landslide risk analysis considering direct costs in the area north of Lisbon (Portugal). Geomorphology 2008, 94, 467–495. [Google Scholar] [CrossRef]
- Chung, C.J.F.; Fabbri, A.G. Systematic procedures of landslide hazard mapping for risk assessment using spatial prediction models. In Landslide Hazard Risk; John Wiley & Sons: Hoboken, NJ, USA, 2012; pp. 139–174. [Google Scholar]
- Batuwita, R.; Palade, V. Class Imbalance Learning Methods for Support Vector Machines. In Imbalanced Learning; John Wiley & Sons: Hoboken, NJ, USA, 2013. [Google Scholar]
- Xie, C.; Luo, C.; Yu, X. Financial distress prediction based on SVM and MDA methods: The case of Chinese listed companies. Qual. Quant. 2011, 45, 671–686. [Google Scholar] [CrossRef]
- Judith, T. Principles of Map Design; The Guilford Press: New York, NY, USA, 2010; p. 167. [Google Scholar]
- Slocum, T. Thematic Cartography and Geovisualization; Pearson Prentice Hall: Upper Saddle River, NJ, USA; New York, NY, USA, 2009; p. 60. [Google Scholar]
- Kourgialas, N.N.; Karatzas, G.P. Flood management and a GIS modeling method to assess flood hazard areas—A case study. Hydrol. Sci. J. 2012, 56, 212–225. [Google Scholar] [CrossRef]
- Skinner, C.J.; Rao, J.N.K. Estimation in dual frame survey with complex design. J. Am. Stat. Assoc. 1996, 91, 349–356. [Google Scholar] [CrossRef]
- Samanlioglu, F.; Ayağ, Z. Fuzzy ANP-based PROMETHEE II approach for evaluation of machine tool alternatives. J. Intell. Fuzzy Syst. 2016, 30, 2223–2235. [Google Scholar] [CrossRef]
- Azareh, A.; Rafiei Sardooi, E.; Choubin, B.; Barkhori, S.; Shahdadi, A.; Adamowski, J.; Shamshirband, S. Incorporating multi-criteria decision-making and fuzzy-value functions for flood susceptibility assessment. Geocarto Int. 2021, 36, 2345–2365. [Google Scholar] [CrossRef]
- Yang, W.; Xu, K.; Lian, J.; Ma, C.; Bin, L. Integrated flood vulnerability assessment approach based on TOPSIS and Shannon entropy methods. Ecol. Indic. 2018, 89, 269–280. [Google Scholar] [CrossRef]
- Pham, B.T.; Avand, M.; Janizadeh, S.; Van Phong, T.; Al-Ansari, N.; Ho, L.S.; Das, S.; Van Le, H.; Amini, A.; Bozchaloei, S.K.; et al. GIS Based Hybrid Computational Approaches for Flash Flood Susceptibility Assessment. Water 2020, 12, 683. [Google Scholar] [CrossRef] [Green Version]
- Darabi, H.; Haghighi, A.T.; Mohamadi, M.A.; Rashidpour, M.; Ziegler, A.D.; Hekmatzadeh, A.A.; Kløve, B. Urban flood risk mapping using data-driven geospatial techniques for a flood-prone case area in Iran. Hydrol. Res. 2020, 51, 127–142. [Google Scholar] [CrossRef] [Green Version]
- Falah, F.; Rahmati, O.; Rostami, M.; Ahmadisharaf, E.; Daliakopoulos, I.N.; Pourghasemi, H.R. Artificial Neural Networks for Flood Susceptibility Mapping in Data-Scarce Urban Areas. In Spatial Modeling in GIS and R for Earth and Environmental Sciences; Elsevier: Amsterdam, The Netherlands, 2019; pp. 323–336. [Google Scholar]
- Ogden, F.L.; Pradhan, N.R.; Downer, C.W.; Zahner, J.A. Relative importance of impervious area, drainage density, width function, and subsurface storm drainage on flood runoff from an urbanized catchment. Water Resour. 2011, 47. [Google Scholar] [CrossRef] [Green Version]











| Factor | Type | Relationship with Vulnerability | 
|---|---|---|
| Population density (PD) | Social | Higher number of people, higher vulnerability | 
| Land use | Physical | Based on expert knowledge | 
| Dwelling quality (DQ) | Economic | Higher dwelling quality, lower vulnerability | 
| Household income (HI) | Economic | Higher income, lower vulnerability | 
| Distance to cultural heritage (DTCH) | Social | Higher DTCH, lower vulnerability | 
| Distance to medical centers and hospitals (DTMCH) | Social | Higher DTMCH, higher vulnerability | 
| Criterion | CART | RF | BRT | MARS | MDA | SVM | 
|---|---|---|---|---|---|---|
| Accuracy | 0.985 | 0.931 | 0.901 | 0.869 | 0.854 | 0.831 | 
| POD | 0.985 | 0.924 | 0.906 | 0.871 | 0.833 | 0.794 | 
| FAR | 0.015 | 0.061 | 0.077 | 0.108 | 0.108 | 0.169 | 
| Precision | 0.985 | 0.938 | 0.923 | 0.892 | 0.892 | 0.831 | 
| Criterion | CART | RF | BRT | MARS | MDA | SVM | 
|---|---|---|---|---|---|---|
| Accuracy | 0.892 | 0.875 | 0.857 | 0.821 | 0.811 | 0.768 | 
| POD | 0.867 | 0.839 | 0.827 | 0.801 | 0.788 | 0.759 | 
| FAR | 0.071 | 0.071 | 0.111 | 0.133 | 0.143 | 0.214 | 
| Precision | 0.929 | 0.928 | 0.889 | 0.867 | 0.857 | 0.786 | 
| AUC | 0.947 | 0.941 | 0.921 | 0.916 | 0.889 | 0.781 | 
| Flood Hazard | CART | RF | BRT | MARS | MDA | SVM | ||||||
|---|---|---|---|---|---|---|---|---|---|---|---|---|
| (km2) | (%) | (km2) | (%) | (km2) | (%) | (km2) | (%) | (km2) | (%) | (km2) | (%) | |
| Very high | 20.6 | 21.7 | 14.1 | 14.8 | 21.7 | 22.8 | 24.9 | 26.3 | 32.2 | 33.9 | 1.6 | 1.7 | 
| High | 19.1 | 20.1 | 15.2 | 15.9 | 14.8 | 15.6 | 10.1 | 10.6 | 37.1 | 39.1 | 1.8 | 1.9 | 
| Moderate | 21.2 | 22.3 | 29.2 | 30.7 | 14.4 | 15.2 | 9.6 | 10.1 | 7.9 | 8.3 | 2.3 | 2.5 | 
| Low | 7.3 | 7.7 | 22.8 | 23.9 | 20.5 | 21.5 | 12.4 | 13.1 | 6.7 | 7.1 | 85.9 | 90.5 | 
| Very low | 26.8 | 28.2 | 13.7 | 14.7 | 23.6 | 24.9 | 37.9 | 39.9 | 11.1 | 11.6 | 3.2 | 3.4 | 
| Total | 95 | 100 | 95 | 100 | 95 | 100 | 95 | 100 | 95 | 100 | 95 | 100 | 
| Indicator | Weight | 
|---|---|
| Population density (PD) | 0.363 | 
| Land use | 0.279 | 
| Dwelling quality (DQ) | 0.158 | 
| Household income (HI) | 0.087 | 
| Distance to cultural heritage (DTCH) | 0.064 | 
| Distance to medical centers and hospitals (DTMCH) | 0.049 | 
| Total | 1.000 | 
| Indicator | Membership Function | 
|---|---|
| Population density (PD) | Linear increasing | 
| Dwelling quality (DQ) | Linear decreasing | 
| Household income (HI) | Linear decreasing | 
| Distance to cultural heritage (DTCH) | Linear decreasing | 
| Distance to medical centers and hospitals (DTMCH) | Linear increasing | 
| Land use | User-defined (0 for barren land; 0.1 for green space and water bodies; 0.3 for sports venues; 0.6 for urban facilities and equipment, cultural heritage, and tourist places; 0.8 for offices, religious venues, commercial service venues, and animal husbandry; 0.9 for agricultural areas, roads and streets, educational venues, medical services, and industrial areas; and 1 for residential areas) | 
| Flood Vulnerability | km2 | 
|---|---|
| Very high | 22.3 | 
| High | 14.7 | 
| Moderate | 18.8 | 
| Low | 11.9 | 
| Very low | 27.3 | 
| Total | 95 | 
| Risk Class | km2 | 
|---|---|
| Very high | 4.3 | 
| High | 8.8 | 
| Moderate | 14.8 | 
| Low | 22.7 | 
| Very low | 44.4 | 
| Total | 95 | 
| Publisher’s Note: MDPI stays neutral with regard to jurisdictional claims in published maps and institutional affiliations. | 
© 2022 by the authors. Licensee MDPI, Basel, Switzerland. This article is an open access article distributed under the terms and conditions of the Creative Commons Attribution (CC BY) license (https://creativecommons.org/licenses/by/4.0/).
Share and Cite
Taromideh, F.; Fazloula, R.; Choubin, B.; Emadi, A.; Berndtsson, R. Urban Flood-Risk Assessment: Integration of Decision-Making and Machine Learning. Sustainability 2022, 14, 4483. https://doi.org/10.3390/su14084483
Taromideh F, Fazloula R, Choubin B, Emadi A, Berndtsson R. Urban Flood-Risk Assessment: Integration of Decision-Making and Machine Learning. Sustainability. 2022; 14(8):4483. https://doi.org/10.3390/su14084483
Chicago/Turabian StyleTaromideh, Fereshteh, Ramin Fazloula, Bahram Choubin, Alireza Emadi, and Ronny Berndtsson. 2022. "Urban Flood-Risk Assessment: Integration of Decision-Making and Machine Learning" Sustainability 14, no. 8: 4483. https://doi.org/10.3390/su14084483
APA StyleTaromideh, F., Fazloula, R., Choubin, B., Emadi, A., & Berndtsson, R. (2022). Urban Flood-Risk Assessment: Integration of Decision-Making and Machine Learning. Sustainability, 14(8), 4483. https://doi.org/10.3390/su14084483
 
         
                                                




 
       