Analyzing Safety Concerns of (e-) Bikes and Cycling Behaviors at Intersections in Urban Area
Abstract
:1. Introduction
2. Literature Review
| Contributing Factors | Factors Causing Severe Injury | Factors Causing Risky Behavior | |
|---|---|---|---|
| Environmental factor | |||
| Traffic condition | Signals |
| |
| Speed limit |
| ||
| Traffic density | - | ||
| Road characteristic | Road layout |
| |
| Road condition |
| ||
| Road illumination | |||
| Natural environment | Weather | ||
| Time of day |
| ||
| Human factor | - | ||
| Demographic character | Age | ||
| Gender | |||
| Physical character | Protective equipment |
|
|
| Alcohol or drug |
| - | |
| Type of vehicle | - | ||
| Psychological character | Riding habits |
|
|
| Risk perception |
| ||
| Conformity tendency | - | ||
| Riding behavior | Distractions | - | |
| Traffic violation | - | ||
| Improper behavior | - | ||
3. Methodology
3.1. Research Design
3.2. Data Collection
3.3. Establish the Bayesian-Structural Equation Model
3.3.1. Structural Equation Model
3.3.2. Model Fitting
3.3.3. Model Assessment
3.3.4. Model Interpretation
3.4. Model Development
4. Results
4.1. Model Assessment
4.2. Results Analysis
4.2.1. Factor Analysis
- (1)
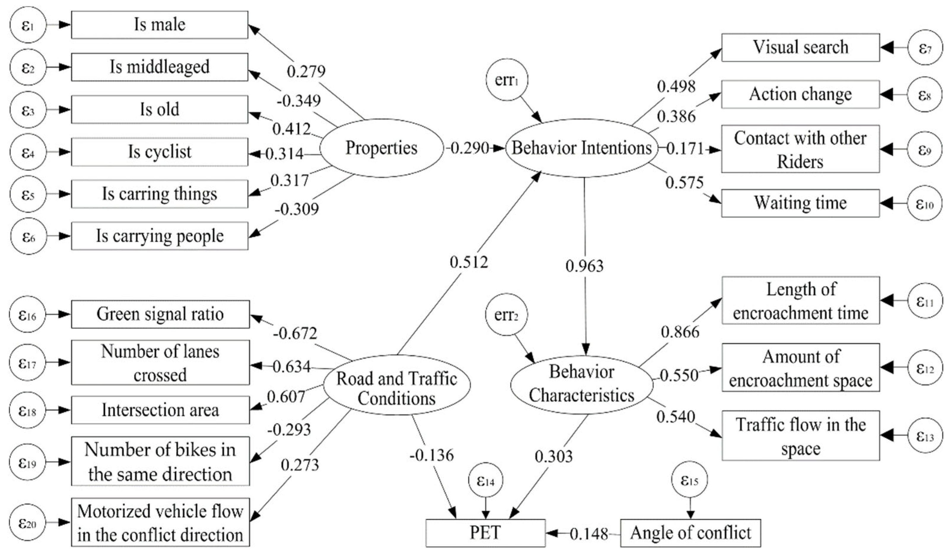
- On the measurement model of properties of riders, age shows the most significant effect on properties, followed by loading situation. Being middle-aged (factor loading = 0.349, p < 0.05) and being old (factor loading = 0.412, p < 0.05) have relatively significant effects on personal properties. Therefore, other conditions being equal, the elderly are most prone to dangerous riding behavior, followed by young riders and middle-aged riders. Carrying things (factor loading = 0.317, p < 0.05) is positively correlated to personal properties, while carrying people (factor loading = −0.309, p < 0.05) is negatively correlated. This means that riders carrying things are more likely to induce dangerous behaviors, and carrying people has a certain inhibitory effect on riders’ dangerous behaviors. Male riders and E-riders are more likely to induce dangerous behaviors than female riders and bicycle riders.
- (2)
- Among the measured variables corresponding to the traffic road environment, the green signal ratio (factor loading = −0.672, p < 0.001) and the number of bikes (factor loading = −0.293, p < 0.05) in the same direction show a negative impact. It is found that when the intersection has a high green signal ratio and a large number of riders in the same direction, it is friendlier to riders, and the green signal ratio has a greater impact. The mean values for the number of lanes crossed (factor loading = 0.634, p < 0.01), intersection area (factor loading = 0.607, p < 0.01), and motorized vehicle flow (factor loading = 0.273, p < 0.01) in the conflict direction are all positive. When the number of other riders in the direction is large, the intersection has a certain deterrent effect on riders who violate the regulations.
- (3)
- Among the four measured variables corresponding to the dangerous behavior tendency, waiting time (factor loading = 0.575, p < 0.01), visual search (factor loading = 0.498, p < 0.05), and action change (factor loading = 0.386, p < 0.05) are observed to represent the anxious psychology. They all show significant positive relationships with the increase in dangerous behavior tendency. It indicates that riders are prone to dangerous behaviors under the comprehensive consideration of the waiting time and the tolerable time. In contrast, the contact with other has riders has relatively little effect on the behavior tendency (factor loading = 0.171, p < 0.05).
- (4)
- Concerning the temporal and spatial characteristics of riders’ behaviors, we observe that all measured variables present significant factor loadings, equal to or higher than 0.50 at the 0.05 level. Among them, the length of encroachment time (factor loading = 0.866, p < 0.01) is most correlated to the state of the rider’s encroachment on the time and space of the motorized vehicle. It is able to represent the speed and pause of the rider during encroachment. So the observation of the length of encroachment in the time dimension has a greater impact on the characterization of dangerous behaviors.
4.2.2. Path Analysis
5. Discussions
5.1. Results of BSEM
5.2. Implications for Intervention Strategies
6. Conclusions
Author Contributions
Funding
Institutional Review Board Statement
Informed Consent Statement
Data Availability Statement
Acknowledgments
Conflicts of Interest
References
- Zhao, L. Research on urban road traffic accident characteristics and countermeasures. Auto Safety 2018, 5, 68–70. [Google Scholar]
- Chen, Q.; Dai, B. Characteristics and casualty analysis of two- wheeler accidents in china, data source: The china in-depth accident study (cidas). SAE Tech. Pap. 2018, 2018, e01487191. [Google Scholar]
- Yan, X.; Ma, M.; Huang, H.; Abdel-Aty, M.; Wu, C. Motor vehicle-bicycle crashes in beijing: Irregular maneuvers, crash patterns, and injury severity. Accid. Anal. Prev. 2011, 43, 1751–1758. [Google Scholar] [CrossRef]
- Piatkowski, D.P.; Marshall, W.E. More than just the helmet: The relationship between bicycle helmet use and non-bicycling risk-taking behaviors among american adolescents. Travel Behav. Soc. 2020, 20, 313–321. [Google Scholar] [CrossRef]
- Liu, J.; Jones, S.; Adanu, E.K.; Li, X. Behavioral pathways in bicycle-motor vehicle crashes: From contributing factors, pre-crash actions, to injury severities. J. Saf. Res. 2021, 77, 229–240. [Google Scholar] [CrossRef] [PubMed]
- Mannering, F.L.; Shankar, V.; Bhat, C.R. Unobserved heterogeneity and the statistical analysis of highway accident data. Anal. Methods Accid. Res. 2016, 11, 1–16. [Google Scholar] [CrossRef]
- Aghighi, A.; Goli, A.; Malmir, B.; Tirkolaee, E.B. The stochastic location-routing-inventory problem of perishable products with reneging and balking. J. Ambient Intell. Humaniz. Comput. 2021, 38, 1–20. [Google Scholar] [CrossRef]
- Goli, A.; Tirkolaee, E.B.; Aydin, N.S. Fuzzy integrated cell formation and production scheduling considering automated guided vehicles and human factors. IEEE Trans. Fuzzy Syst. 2021, 29, 3686–3695. [Google Scholar] [CrossRef]
- Meng, L.I.; Han, W.X.; Ke, S.H.I. Traffic conflict identification technology of vehicle intersection based on vehicle video trajectory extraction. Procedia Comput. Sci. 2017, 109, 963–968. [Google Scholar] [CrossRef]
- Mannering, F.; Bhat, C.R.; Shankar, V.; Abdel-Aty, M. Big data, traditional data and the tradeoffs between prediction and causality in highway-safety analysis. Anal. Methods Accid. Res. 2020, 25, 100113. [Google Scholar] [CrossRef]
- Peesapati, L.N.; Hunter, M.P.; Rodgers, M.O. Can post encroachment time substitute intersection characteristics in crash prediction models? J. Saf. Res. 2018, 66, 205–211. [Google Scholar] [CrossRef] [PubMed]
- Robartes, E.; Chen, T.D. The effect of crash characteristics on cyclist injuries: An analysis of virginia automobile-bicycle crash data. Accid. Anal. Prev. 2017, 104, 165–173. [Google Scholar] [CrossRef] [PubMed]
- Isaksson-Hellman, I.; Töreki, J. The effect of speed limit reductions in urban areas on cyclists’ injuries in collisions with cars. Traffic Inj. Prev. 2019, 20, 39–44. [Google Scholar] [CrossRef] [PubMed]
- Boukis, A.; Punjaisri, K.; Balmer, J.M.T.; Kaminakis, K.; Papastathopoulos, A. Unveiling front-line employees’ brand construal types during corporate brand promise delivery: A multi-study analysis. J. Bus. Resear. 2021, 131, 673–685. [Google Scholar] [CrossRef]
- Chen, P.; Shen, Q. Built environment effects on cyclist injury severity in automobile-involved bicycle crashes. Accid. Anal. Prev. 2016, 86, 239–246. [Google Scholar] [CrossRef]
- Guo, M.; Zhao, X.; Yao, Y.; Yan, P.; Wu, D. A study of freeway crash risk prediction and interpretation based on risky driving behavior and traffic flow data. Accid. Anal. Prev. 2021, 160, 106328. [Google Scholar] [CrossRef]
- Salon, D.; McIntyre, A. Determinants of pedestrian and bicyclist crash severity by party at fault in san francisco, ca. Accid. Anal. Prev. 2018, 110, 149–160. [Google Scholar] [CrossRef]
- Kim, J.K.; Kim, S.; Ulfarsson, G.F.; Porrello, L.A. Bicyclist injury severities in bicycle-motor vehicle accidents. Accid. Anal. Prev. 2007, 39, 238–251. [Google Scholar] [CrossRef]
- Depreitere, B.; Van Lierde, C.; Maene, S.; Plets, C.; Sloten, J.V.; Van Audekercke, R.; Van der Perre, G.; Goffin, J. Bicycle-related head injury: A study of 86 cases. Accid. Anal. Prev. 2004, 36, 561–567. [Google Scholar] [CrossRef]
- Useche, S.A.; Esteban, C.; Alonso, F.; Montoro, L. Are latin american cycling commuters “at risk”? A comparative study on cycling patterns, behaviors, and crashes with non-commuter cyclists. Accid. Anal. Prev. 2021, 150, 105915. [Google Scholar] [CrossRef]
- Behnood, A.; Mannering, F. Determinants of bicyclist injury severities in bicycle-vehicle crashes: A random parameters approach with heterogeneity in means and variances. Anal. Methods Accid. Res. 2017, 16, 35–47. [Google Scholar] [CrossRef]
- Zhang, W.; Zhou, C.; Huang, W.; Tao, H.; Wang, K.; Feng, Z.; Hu, Z. Investigating factors affecting riders’ behaviors of occupying motorized vehicle lanes on urban streets. Accid. Anal. Prev. 2019, 122, 127–133. [Google Scholar] [CrossRef] [PubMed]
- Liu, Y.T.; Yang, X.B.; Pan, L.; Si, B.F. Analysis of waiting endurance behavior for pedestrians and bicyclists at signal intersections. Shandong Sci. 2016, 29, 62–68. [Google Scholar]
- Chaney, R.A.; Payne, H. Urban college student bicycle commuting: A look at differences in riding behavior by gender. J. Community Med. Health Educ. 2017, 7, 519. [Google Scholar] [CrossRef] [Green Version]
- Du, J.; Zhao, H.; Yu, Y.; Hu, Q. A method to extract causality for safety events in chemical accidents from fault trees and accident reports. Comput. Intell. Neurosci. 2020, 2020, 1–12. [Google Scholar] [CrossRef]
- Johnson, M.; Charlton, J.; Oxley, J.; Newstead, S. Why do cyclists infringe at red lights? An investigation of australian cyclists’ reasons for red light infringement. Accid. Anal. Prev. 2013, 50, 840–847. [Google Scholar] [CrossRef]
- Wu, C.; Yao, L.; Zhang, K. The red-light running behavior of electric bike riders and cyclists at urban intersections in china: An observational study. Accid. Anal. Prev. 2012, 49, 186–192. [Google Scholar] [CrossRef]
- Huan, M.; Yang, X.; Jia, B. Red-light running behavior of non-motor vehicles based on survival analysis. Beijing Ligong Daxue Xuebao/Trans. Beijing Inst. Technol. 2013, 33, 815–819. [Google Scholar]
- Russo, B.J.; Savolainen, P.T.; Schneider, W.H.; Anastasopoulos, P.C. Comparison of factors affecting injury severity in angle collisions by fault status using a random parameters bivariate ordered probit model. Anal. Methods Accid. Res. 2014, 2, 21–29. [Google Scholar] [CrossRef]
- Moore, D.N.; Schneider, W.H.; Savolainen, P.T.; Farzaneh, M. Mixed logit analysis of bicyclist injury severity resulting from motor vehicle crashes at intersection and non-intersection locations. Accid. Anal. Prev. 2011, 43, 621–630. [Google Scholar] [CrossRef]
- Boufous, S.; de Rome, L.; Senserrick, T.; Ivers, R. Risk factors for severe injury in cyclists involved in traffic crashes in victoria, australia. Accid. Anal. Prev. 2012, 49, 404–409. [Google Scholar] [CrossRef] [PubMed]
- Ding, C.; Wu, X.; Yu, G.; Wang, Y. A gradient boosting logit model to investigate driver’s stop-or-run behavior at signalized intersections using high-resolution traffic data. Transp. Res. Part C Emerg. Technol. 2016, 72, 225–238. [Google Scholar] [CrossRef]
- Goli, A.; Khademi-Zare, H.; Tavakkoli-Moghaddam, R.; Sadeghieh, A.; Sasanian, M.; Kordestanizadeh, R.M. An integrated approach based on artificial intelligence and novel meta-heuristic algorithms to predict demand for dairy products: A case study. Netw. Comput. Neural Syst. 2021, 32, 1–35. [Google Scholar] [CrossRef] [PubMed]
- He, Y.; Sun, C.; Huang, H.; Jiang, L.; Ma, M.; Wang, P.; Wu, C. Safety of micro-mobility: Riders’ psychological factors and risky behaviors of cargo ttws in china. Transp. Res. Part F Traffic Psychol. Behav. 2021, 80, 189–202. [Google Scholar] [CrossRef]
- Lee, J.; Chung, J.; Son, B. Analysis of traffic accident size for korean highway using structural equation models. Accid. Anal. Prev. 2008, 40, 1955–1963. [Google Scholar] [CrossRef] [PubMed]
- Wang, C.; Xu, C.; Xia, J.; Qian, Z. The effects of safety knowledge and psychological factors on self-reported risky driving behaviors including group violations for e-bike riders in china. Transp. Res. Part F Traffic Psychol. Behav. 2018, 56, 344–353. [Google Scholar] [CrossRef]
- Wang, K.H.; Chen, Y.C. Improvement of welding residual stress measurement based on the blind-hole method using finite element analysis. J. Technol. 2014, 29, 17–25. [Google Scholar]
- Schreiber, J.B.; Stage, F.K.; King, J.; Nora, A.; Barlow, E.A. Reporting structural equation modeling and confirmatory factor analysis results: A review. J. Educ. Res. 2006, 99, 323–338. [Google Scholar] [CrossRef]
- Langford, B.C.; Chen, J.; Cherry, C.R. Risky riding: Naturalistic methods comparing safety behavior from conventional bicycle riders and electric bike riders. Accid. Anal. Prev. 2015, 82, 220–226. [Google Scholar] [CrossRef]
- Boele-Vos, M.J.; Van Duijvenvoorde, K.; Doumen, M.; Duivenvoorden, C.; Louwerse, W.; Davidse, R. Crashes involving cyclists aged 50 and over in the netherlands: An in-depth study. Accid. Anal. Prev. 2017, 105, 4–10. [Google Scholar] [CrossRef]
- Wang, X.; Luo, J. Traffic conflict characteristics and influential factors at signalized intersections. Urban Transp. China 2016, 14, 60–66. [Google Scholar]
- Zhang, Y.; Wu, C. The effects of sunshields on red light running behavior of cyclists and electric bike riders. Accid. Anal. Prev. 2013, 52, 210–218. [Google Scholar] [CrossRef] [PubMed]
- Fraboni, F.; Marín Puchades, V.; De Angelis, M.; Pietrantoni, L.; Prati, G. Red-light running behavior of cyclists in italy: An observational study. Accid. Anal. Prev. 2018, 120, 219–232. [Google Scholar] [CrossRef] [PubMed]
- Bradley, G. Safe people and safe places: Psychological contributions to industrial accident prevention. J. Appl. Soc. Behav. 1997, 2, 1–14. [Google Scholar]
- Verschuur, W.L.; Hurts, K. Modeling safe and unsafe driving behaviour. Accid. Anal. Prev. 2008, 40, 644–656. [Google Scholar] [CrossRef]
- Rimmö, P.; Åberg, L. On the distinction between violations and errors: Sensation seeking associations. Transp. Res. Part F Traffic Psychol. Behav. 1999, 2, 151–166. [Google Scholar] [CrossRef]
- Gettman, D.; Pu, L.; Sayed, T.; Shelby, S. Surrogate Safety Assessment Model and Validation: Final Report; Turner-Fairbank Highway Research Center: Washington, DC, USA, 2008. [Google Scholar]
- Long, K.; Zhang, Y.; Zou, Z.; Gu, J.; Hao, W. Vehicle and non-motorized vehicle traffic conflict recognition at signalized lntersection based on vehicle trajectory. J. Transp. Syst. Eng. Inf. Technol. 2021, 21, 69–74. [Google Scholar]
- Ma, Y.; Qi, S.; Wu, H.; Fan, L. Traffic conflict ldentification model based on post encroachment time algorithm in ramp merging area. J. Transp. Syst. Eng. Inf. Technol. 2018, 18, 142–148. [Google Scholar]
- Tofighi, D.; MacKinnon, D.P. Monte carlo confidence intervals for complex functions of indirect effects. Struct. Equ. Model. A Multidiscip. J. 2016, 23, 194–205. [Google Scholar] [CrossRef]
- Cheung, S.H.; Bansal, S. A new gibbs sampling based algorithm for bayesian model updating with incomplete complex modal data. Mech. Syst. Signal Process. 2017, 92, 156–172. [Google Scholar] [CrossRef]
- Song, X.-Y.; Lee, S.-Y. A tutorial on the bayesian approach for analyzing structural equation models. J. Math. Psychol. 2012, 56, 135–148. [Google Scholar] [CrossRef]
- Byrne, B.M. Structural Equation Modeling with Amos: Basic Concepts, Applications, and Programming (3~Sed); Routledge: New York, NY, USA, 2016. [Google Scholar]
- Depaoli, S.; Van de Schoot, R. Improving transparency and replication in bayesian statistics: The wambs-checklist. Psychol. Methods. 2017, 22, 240. [Google Scholar] [CrossRef] [PubMed]
- Scheines, R.; Hoijtink, H.; Boomsma, A. Bayesian estimation and testing of structural equation models. Psychometrika 1999, 64, 37–52. [Google Scholar] [CrossRef] [Green Version]
- Van Poucke, E.; Matthyssens, P.; Weeren, A. Enhancing cost savings through early involvement of purchasing professionals in sourcing projects: Bayesian estimation of a structural equation model. J. Purch. Supply Manag. 2016, 22, 299–310. [Google Scholar] [CrossRef]
- Hair, J.F.; Black, B.; Babin, B.J.; Anderson, R. Multivariate Data Analysis; Prentice Hall: Upper Saddle River, NJ, USA, 2011. [Google Scholar]
- Kang, H.; Ahn, J.-W. Model setting and interpretation of results in research using structural equation modeling: A checklist with guiding questions for reporting. Asian Nurs. Res. 2021, 15, 157–162. [Google Scholar] [CrossRef]
- Yang, X.; Liu, D.; Fu, Q.; Li, T.; Hou, R.; Li, Q.; Li, M.; Meng, F. Characteristics of greenhouse gas emissions from farmland soils based on a structural equation model: Regulation mechanism of biochar. Environ. Res. 2022, 206, 112303. [Google Scholar] [CrossRef]
- Sun, M.; Sun, X.; Shan, D. Pedestrian crash analysis with latent class clustering method. Accid. Anal. Prev. 2019, 124, 50–57. [Google Scholar] [CrossRef]
- Ravishankar, K.V.R.; Nair, P.M. Pedestrian risk analysis at uncontrolled midblock and unsignalised intersections. J. Traffic Transp. Eng. 2018, 5, 137–147. [Google Scholar] [CrossRef]
- Frings, D.; Parkin, J.; Ridley, A.M. The effects of cycle lanes, vehicle to kerb distance and vehicle type on cyclists’ attention allocation during junction negotiation. Accid. Anal. Prev. 2014, 72, 411–421. [Google Scholar] [CrossRef]
- Gao, X.; Zhao, J.; Gao, H. Red-light running behavior of delivery-service e-cyclists based on survival analysis. Traffic Inj. Prevent. 2020, 21, 558–562. [Google Scholar] [CrossRef]
- Shen, X.; Zhang, F.; Lv, H.; Wei, S.; Sun, Z. The application and extension of the theory of planned behavior to an analysis of delivery riders’ red-light running behavior in china. Accid. Anal. Prev. 2020, 144, 105640. [Google Scholar] [CrossRef] [PubMed]
- Ma, S.; Liu, C.; Tang, D.; Yin, X. Illegal crossing behavior of non-motorized based on propagation model. J. Transp. Syst. Eng. Inf. Technol. 2018, 18, 172–177. [Google Scholar]
- Tang, T.; Wang, H.; Zhou, X.; Gong, H. Understanding electric bikers’ red-light running behavior: Predictive utility of theory of planned behavior vs prototype willingness model. J. Adv. Transp. 2020, 2020, 1–13. [Google Scholar] [CrossRef]
- Yang, H.; Liu, X.; Su, F.; Cherry, C.; Liu, Y.; Li, Y. Predicting e-bike users’ intention to run the red light: An application and extension of the theory of planned behavior. Transp. Res. Part F Traffic Psychol. Behav. 2018, 58, 282–291. [Google Scholar] [CrossRef]
- Sivasankaran, S.K.; Balasubramanian, V. Exploring the severity of bicycle–vehicle crashes using latent class clustering approach in india. J. Saf. Res. 2020, 72, 127–138. [Google Scholar] [CrossRef]
- Schleinitz, K.; Petzoldt, T.; Kröling, S.; Gehlert, T.; Mach, S. (e-)cyclists running the red light—The influence of bicycle type and infrastructure characteristics on red light violations. Accid Anal. Prev. 2019, 122, 99–107. [Google Scholar] [CrossRef]
- Yu, R.; Zhao, H.; Zhang, C.; Wang, Z. Analysis of risk-taking behaviors of electric bicycle riders in response to pedestrian countdown signal devices. Traffic Inj. Prev. 2019, 20, 1–7. [Google Scholar] [CrossRef]
- Zheng, Y.; Ma, Y.; Li, N.; Cheng, J. Personality and behavioral predictors of cyclist involvement in crash-related conditions. Int. J. Environ. Res. Public Health 2019, 16, 4881. [Google Scholar] [CrossRef] [Green Version]




| Variable | Meaning (Unit) |
|---|---|
| Properties | |
| Is male | 1 = male; 0 = female |
| Is middle aged | 1 = middle aged; 0 = not middle aged |
| Is old | 1 = old; 0 = not old |
| Is rider | 1 = rider; 0 = E-rider |
| Is carrying things | 1 = carrying things; 0 = not carrying things |
| Is carrying people | 1 = carrying people; 0 = not carrying people |
| Behavioral intentions | |
| Visual search | The number of head turns of the rider upon reaching an intersection (times) |
| Action change | The number of times a rider changes his position or posture by moving or swinging |
| Contact with other riders | The number of contact between the rider and other riders, such as spoken words, eye contact, gestures, etc. (times) |
| Waiting time | The time difference between the moment the rider begins to take dangerous behavior and the next passable moment (seconds) |
| Behavior characteristics | |
| Length of encroachment time | Duration of the entire cycle of dangerous behavior (seconds) |
| Amount of encroachment space | The product of the width of the bike (1 m) and the length of the trajectory when the rider behaves dangerously (m2) |
| Traffic flow in the space | The total number of motor vehicles in conflicting directions of the rider’s when the rider behaves dangerously (PCU) |
| Road and traffic conditions | |
| Green signal ratio | The green signal ratio of the intersection where the rider is located |
| Number of lanes crossed | The total number of lanes in each direction that a rider needs to cross when crossing an intersection |
| Intersection area | The area of the intersection where the rider is located (m2) |
| Amount of bikes in the same direction | The total number of bikes in the same direction as the rider’s in a minute (PCU/min) |
| Motorized vehicle flow in the conflict direction | The flow of motor vehicles in all directions that conflict with the riding direction of the rider (PCU/min) |
| Endogenous measured variable | |
| PET | 0 = potential collision (3.6 s < PET ≤ 5 s); 1 = ordinary potential collision (2.5 s < PET ≤ 3.6 s); 2 = serious potential collision (PET ≤ 2.5 s) |
| Other measured variable | |
| Angle of conflict (θ) | 0 = θ ∈ [0,45]; 1 = θ ∈ (45,135]; 2 = θ ∈ (135,180] |
| Properties | Road and Traffic Conditions | Behavior Intentions | |
|---|---|---|---|
| Behavior Characteristics | 0.279 *** | 0.493 ** | 0.000 |
| PET | 0.085 ** | 0.149 ** | 0.292 ** |
Publisher’s Note: MDPI stays neutral with regard to jurisdictional claims in published maps and institutional affiliations. |
© 2022 by the authors. Licensee MDPI, Basel, Switzerland. This article is an open access article distributed under the terms and conditions of the Creative Commons Attribution (CC BY) license (https://creativecommons.org/licenses/by/4.0/).
Share and Cite
Wang, J.; Chen, Y.; Chen, D. Analyzing Safety Concerns of (e-) Bikes and Cycling Behaviors at Intersections in Urban Area. Sustainability 2022, 14, 4231. https://doi.org/10.3390/su14074231
Wang J, Chen Y, Chen D. Analyzing Safety Concerns of (e-) Bikes and Cycling Behaviors at Intersections in Urban Area. Sustainability. 2022; 14(7):4231. https://doi.org/10.3390/su14074231
Chicago/Turabian StyleWang, Jian, Ye Chen, and Dawei Chen. 2022. "Analyzing Safety Concerns of (e-) Bikes and Cycling Behaviors at Intersections in Urban Area" Sustainability 14, no. 7: 4231. https://doi.org/10.3390/su14074231
APA StyleWang, J., Chen, Y., & Chen, D. (2022). Analyzing Safety Concerns of (e-) Bikes and Cycling Behaviors at Intersections in Urban Area. Sustainability, 14(7), 4231. https://doi.org/10.3390/su14074231
