Coordinated Frequency Control of an Energy Storage System with a Generator for Frequency Regulation in a Power Plant
Abstract
1. Introduction
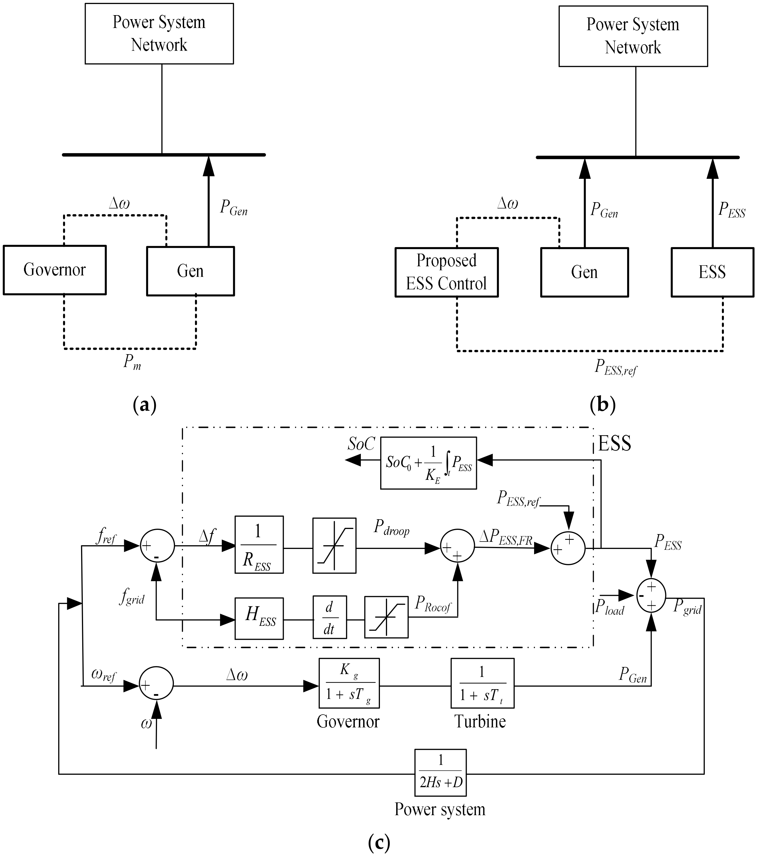
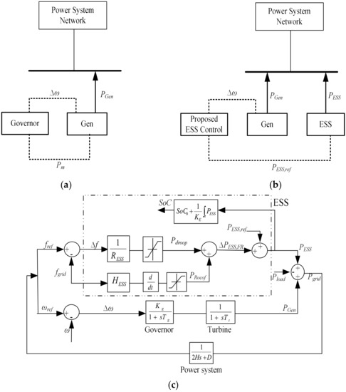
2. Power System Architecture
2.1. Test System Model
2.2. ESS Modeling and Control Scheme
2.2.1. Voltage Source Inverter Model
2.2.2. P/Q Control Scheme
3. Proposed Control Strategy Implementation
3.1. System Frequency Dynamics
3.2. Generator Modeling Dynamics
3.3. Proposed Adaptive Control Method
3.4. ESS Control Algorithm
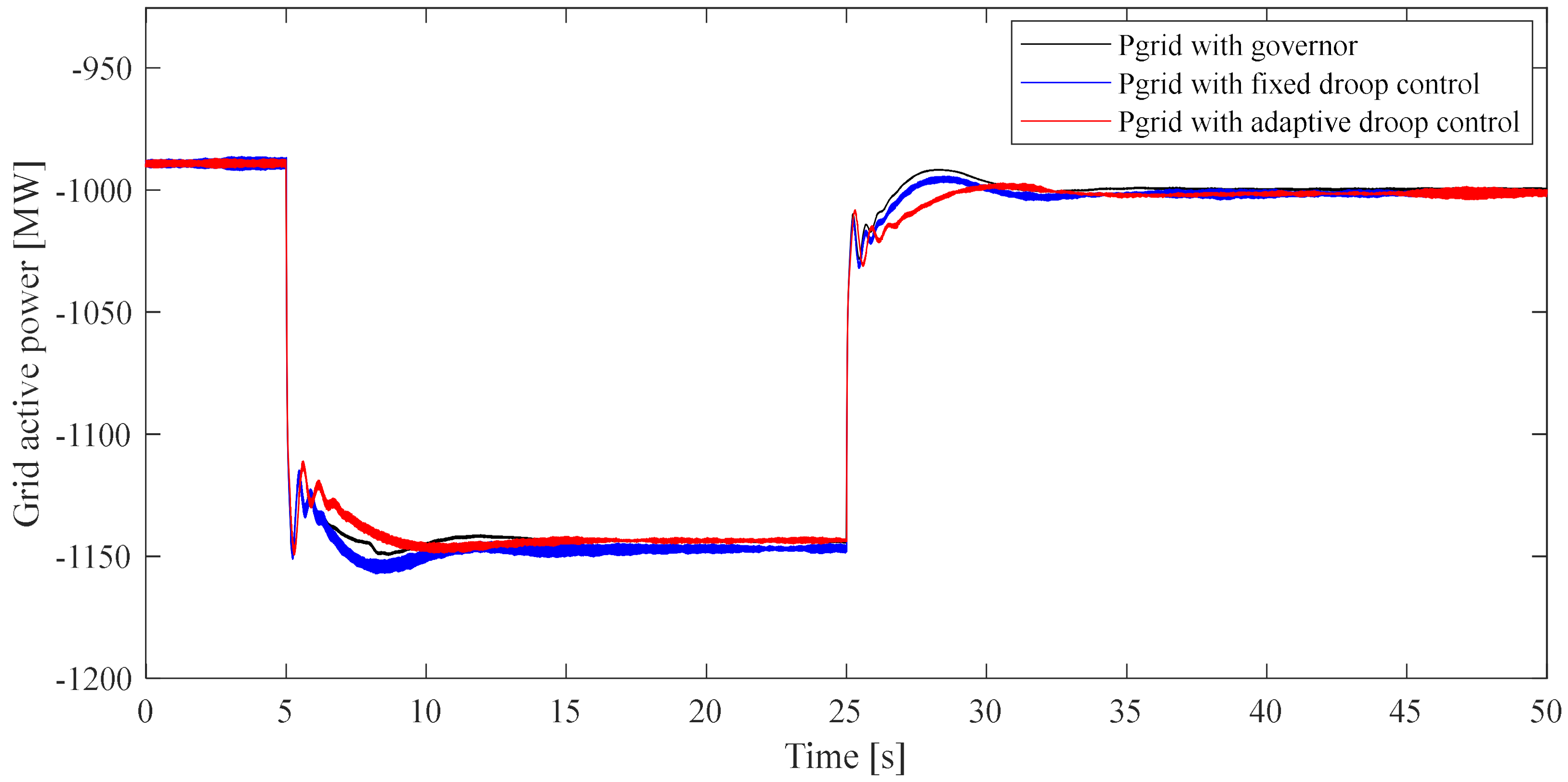
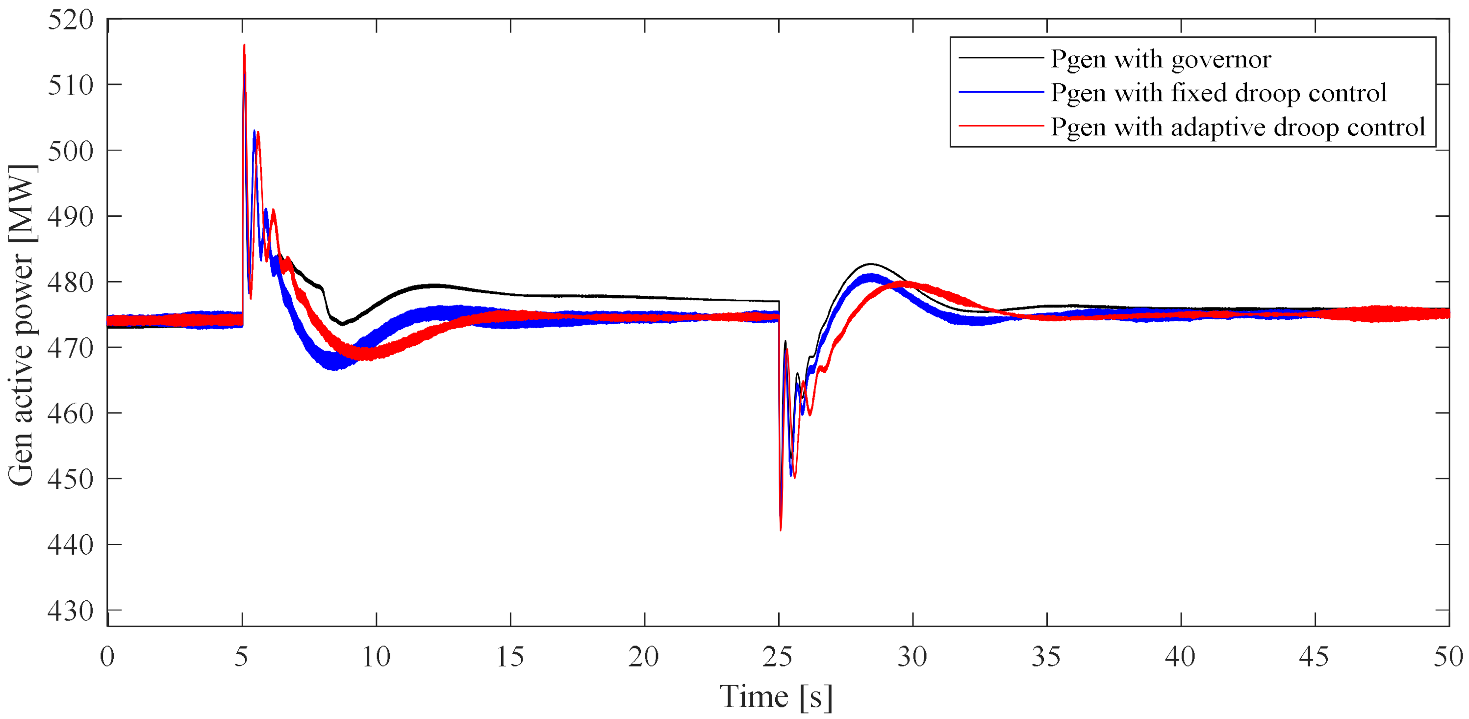
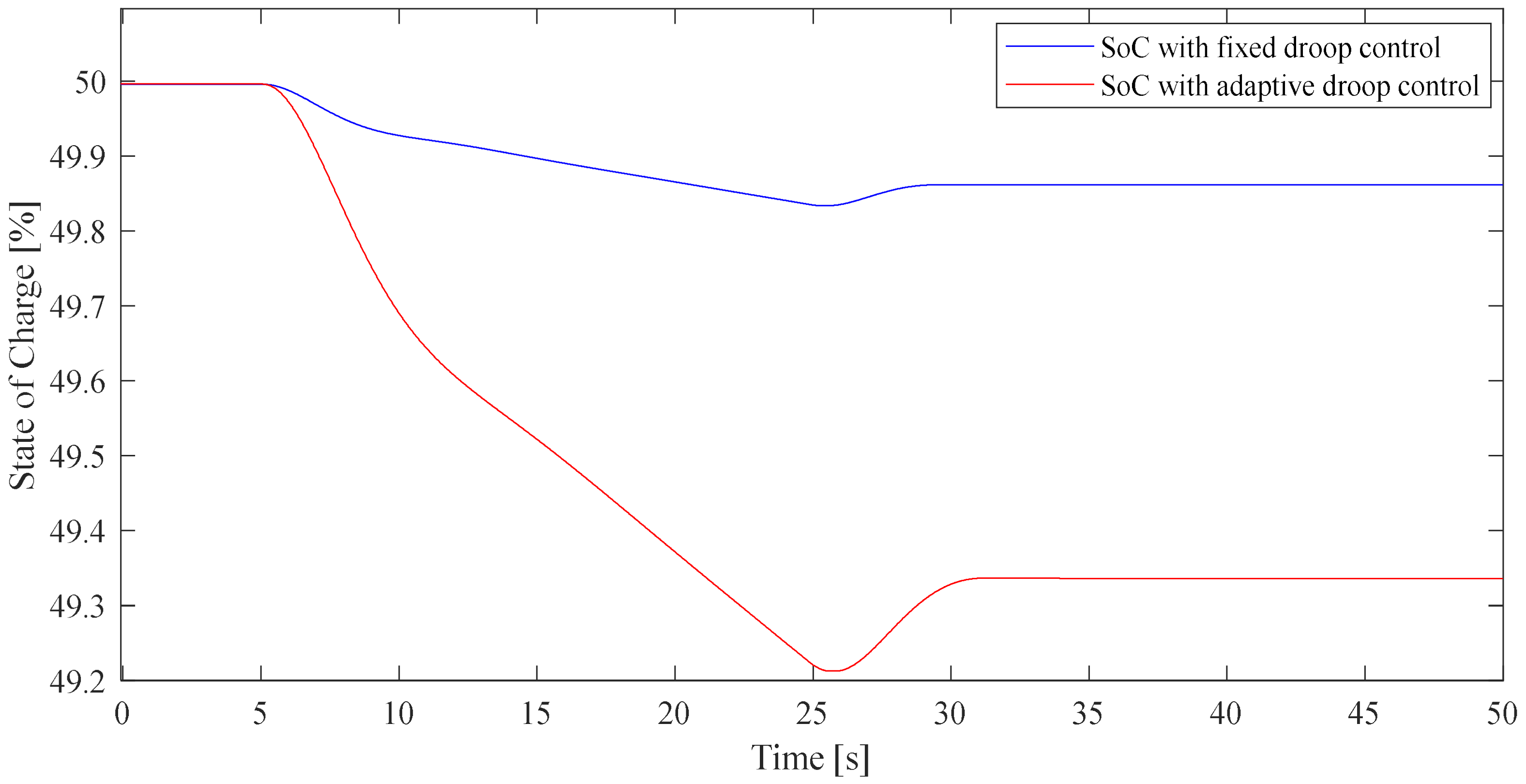
4. Simulation Analysis and Results
4.1. Frequency Variation
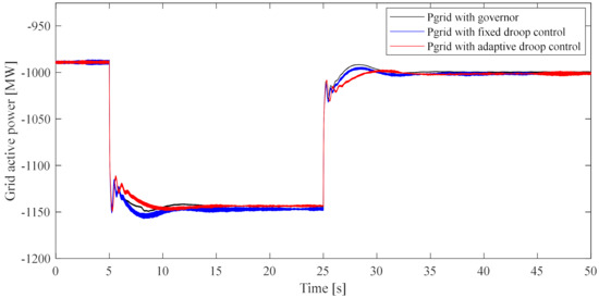
4.2. Active Power Output
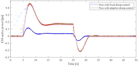
4.3. ESS Active Power
4.4. SoC Response
5. Conclusions
Author Contributions
Funding
Institutional Review Board Statement
Informed Consent Statement
Conflicts of Interest
References
- Barelli, L.; Bidini, G.; Bonucci, F.; Castellini, L.; Castellini, S.; Ottaviano, A.; Pelosi, D.; Zuccari, A. Dynamic Analysis of a Hybrid Energy Storage System (H-ESS) Coupled to a Photovoltaic (PV) Plant. Energies 2018, 11, 396. [Google Scholar] [CrossRef]
- IEC T120. Available online: http://www.iec.ch/dyn/www/f?p=103:7:11494349307735::::FSP_ORG_ID,FSP_LANG_ID:9463,25 (accessed on 4 April 2022).
- Kundur, P.; Balu, N.J.; Lauby, M.G. Power System Stability and Control, 2nd ed.; The EPRI Power System Engineering Series; McGraw-Hill: New York, NY, USA, 1994; ISBN 0-07-035958-X. [Google Scholar]
- Timur, Y.; Maximilian, J.Z.; William, H. Control of Energy Storage. Energies 2017, 10, 1010. [Google Scholar]
- Aho, J.; Buckspan, A.; Laks, J.; Fleming, P.; Jeong, Y.; Dunne, F.; Churchfield, M.; Pao, L.; Johnson, K. A tutorial of wind turbine control for supporting grid frequency through active power control. In Proceedings of the 2012 American Control Conference (ACC), Montreal, QC, Canada, 27–29 June 2012; IEEE: Piscataway, NJ, USA, 2012; pp. 3120–3131. [Google Scholar]
- Pan, X.; Xu, H.; Lu, C.; Song, J. Energy storage system control strategy in frequency regulation. In Proceedings of the 2016 IEEE International Conference on Automation Science and Engineering (CASE), Fort Worth, TX, USA, 21–26 August 2016; IEEE: Piscataway, NJ, USA, 2016; pp. 664–669. [Google Scholar]
- Castillo, M.D.; Lim, G.P.; Yoon, Y.; Chang, B. Application of Frequency Regulation Control on the 4 MW / 8 MWh Battery Energy Storage System (BESS) in Jeju Island, Republic of Korea. J. Energy 2015, 1, 287–295. [Google Scholar]
- Kirby, B. Frequency Regulation Basics and Trends, ORNL/TM-2004/291; Technical Report; Oak Ridge National Laboratory: Oak Ridge, TN, USA, 2005. [Google Scholar]
- Fang, C.; Tang, Y.; Ye, R.; Lin, Z.; Zhu, Z.; Wen, B.; Ye, C. Adaptive Control Strategy of Energy Storage System Participating in Primary Frequency Regulation. Processes 2020, 8, 687. [Google Scholar] [CrossRef]
- Leitermann, O. Energy Storage for Frequency Regulation on the Electric Grid. Ph.D. Thesis, Massachusetts Institute of Technology, Cambridge, MA, USA, 2012. [Google Scholar]
- Federal Energy Regulatory Commission. Frequency Regulation Compensation in the Organized Wholesale Power Markets. 2011. Available online: https//www.jonesday.com/en/insights/2011/10 (accessed on 6 June 2022).
- Lim, G.P.; Park, C.W.; Labios, R.; Yoon, Y.B. Development of the control system for fast-responding frequency regulation in power systems using large-scale energy storage systems. KEPCO J. Electr. Power Energy 2015, 1, 9–13. [Google Scholar] [CrossRef]
- Tielens, P.; Van Hertem, D. Grid inertia and frequency control in power systems with high penetration of renewables. In Proceedings of the Young Researchers Symposium in Electrical Power Engineering, Delft, The Netherlands, 16–17 April 2012. [Google Scholar]
- Dreidy, M.; Mokhlis, H.; Mekhilef, S. Inertia response and frequency control techniques for renewable energy sources: A review. Renew. Sustain. Energy Rev. 2017, 69, 144–155. [Google Scholar] [CrossRef]
- Yoon, M.; Lee, J.; Song, S.; Yoo, Y.; Jang, G.; Jung, S.; Hwang, S. Utilization of Energy Storage System for Frequency Regulation in Large-Scale Transmission System. Energies 2019, 12, 3898. [Google Scholar] [CrossRef]
- Zhang, Y.J.; Zhao, C.; Tang, W.; Low, S.H. Profit-maximizing planning and control of battery energy storage systems for primary frequency control. IEEE Trans. Smart Grid 2016, 9, 712–723. [Google Scholar] [CrossRef]
- Li, Y.; He, L.; Liu, F.; Li, C.; Cao, Y.; Shahidehpour, M. Flexible voltage control strategy considering distributed energy storages for DC distribution network. IEEE Trans. Smart Grid 2017, 10, 163–172. [Google Scholar] [CrossRef]
- Nguyen-Hoang, N.-D.; Shin, W.; Lee, C.; Chung, I.-Y.; Kim, D.; Hwang, Y.-H.; Youn, J.; Maeng, J.; Yoon, M.; Hur, K.; et al. Operation Method of Energy Storage System Replacing Governor for Frequency Regulation of Synchronous Generator without Reserve. Energies 2022, 15, 798. [Google Scholar] [CrossRef]
- Manitoba HVDC Research Centre. PSCAD/EMTDC User’s Manual Guide v.4.5; Manitoba HVDC Center: Winnipeg, MB, Canada, 2013. [Google Scholar]
- Ibrahim, L.O.; Sung, Y.M.; Hyun, D.; Yoon, M. A Feasibility Study of Frequency Regulation Energy Storage System Installation in a Power Plant. Energies 2020, 13, 5365. [Google Scholar] [CrossRef]
- Gkavanoudis, S.I.; Oureilidis, K.O.; Kryonidis, G.C.; Demoulias, C.S. A Control Method for Balancing the SoC of Distributed Batteries in Islanded Converter-Interfaced Microgrids. Adv. Power Electron. 2016, 2016, 8518769. [Google Scholar] [CrossRef]
- Oudalov, A.; Chartouni, D.; Ohler, C. Optimizing a battery energy storage system for primary frequency control. IEEE Trans. Power Syst. 2007, 22, 1259–1266. [Google Scholar] [CrossRef]
- Machowski, J.; Lubosny, Z.; Bialek, J.W.; Bumby, J.R. Power System Dynamics: Stability and Control; John Wiley & Sons: Hoboken, NJ, USA, 2020. [Google Scholar]
- Tremblay, O.; Dessaint, L.A. Experimental Validation of a Battery Dynamic Model for EV Applications. World Electr. Veh. J. 2009, 3, 289–298. [Google Scholar] [CrossRef]
- Shepard, C.M. Design of Primary and Secondary Cells. J. Electrochem. Soc. 1965, 112, 657. [Google Scholar] [CrossRef]
- Shim, J.W.; Verbič, G.; Kim, H.; Hur, K. On droop control of energy-constrained battery energy storage systems for grid frequency regulation. IEEE Access 2019, 7, 166353–166364. [Google Scholar] [CrossRef]
- Zhu, Z.; Ye, C.; Wu, S. Comprehensive control method of energy storage system to participate in primary frequency regulation with adaptive state of charge recovery. Int. Trans. Electr. Energy Syst. 2021, 31, e13220. [Google Scholar] [CrossRef]
- El-Bidairi, K.S.; Nguyen, H.D.; Mahmoud, T.S.; Jayasinghe SD, G.; Guerrero, J.M. Optimal sizing of Battery Energy Storage Systems for dynamic frequency control in an islanded microgrid: A case study of Flinders Island, Australia. Energy 2020, 195, 117059. [Google Scholar] [CrossRef]










| System Parameters | ||
|---|---|---|
| Parameters | Value | Unit |
| Generator rated power () | 612 | MVA |
| Power conversion system (PCS) rating | 25 | MW |
| Inverter DC power rating | 25 | kW |
| Total system load | 1650/315 | MW/MVAR |
| System frequency | 60 | Hz |
| Offset frequency | 59.8–60.2 | Hz |
| ESS size/capacity | 6.25 | MWh |
| ESS rating () | 25 | MW |
| State of Charge initial () | 50 | % |
| System sampling time | 50 | microsec |
| Droop rate () | 4.62 | % |
| Inertia constant (H) | 3 | s |
| PI Gain Values | ||
|---|---|---|
| PI Controller | ||
| PIA1 | 7.93651 | 0.0008521 |
| PIA2 | 8.52314 | 0.0006523 |
| PIB1 | 4.1746 | 0.000254 |
| PIB2 | 1.8574 | 0.000234 |
Publisher’s Note: MDPI stays neutral with regard to jurisdictional claims in published maps and institutional affiliations. |
© 2022 by the authors. Licensee MDPI, Basel, Switzerland. This article is an open access article distributed under the terms and conditions of the Creative Commons Attribution (CC BY) license (https://creativecommons.org/licenses/by/4.0/).
Share and Cite
Ibrahim, L.O.; Chung, I.-Y.; Youn, J.; Shim, J.W.; Sung, Y.-M.; Yoon, M.; Suh, J. Coordinated Frequency Control of an Energy Storage System with a Generator for Frequency Regulation in a Power Plant. Sustainability 2022, 14, 16933. https://doi.org/10.3390/su142416933
Ibrahim LO, Chung I-Y, Youn J, Shim JW, Sung Y-M, Yoon M, Suh J. Coordinated Frequency Control of an Energy Storage System with a Generator for Frequency Regulation in a Power Plant. Sustainability. 2022; 14(24):16933. https://doi.org/10.3390/su142416933
Chicago/Turabian StyleIbrahim, Lateef Onaadepo, In-Young Chung, Juyoung Youn, Jae Woong Shim, Youl-Moon Sung, Minhan Yoon, and Jaewan Suh. 2022. "Coordinated Frequency Control of an Energy Storage System with a Generator for Frequency Regulation in a Power Plant" Sustainability 14, no. 24: 16933. https://doi.org/10.3390/su142416933
APA StyleIbrahim, L. O., Chung, I.-Y., Youn, J., Shim, J. W., Sung, Y.-M., Yoon, M., & Suh, J. (2022). Coordinated Frequency Control of an Energy Storage System with a Generator for Frequency Regulation in a Power Plant. Sustainability, 14(24), 16933. https://doi.org/10.3390/su142416933

