Probing Determinants Affecting Intention to Adopt Cloud Technology in E-Government Systems
Abstract
1. Introduction
2. Literature Review
2.1. Barriers of E-Government in Underdeveloped Countries
2.2. Cloud Computing
2.3. Adoption of the Cloud Technology in Terms of E-Government
3. IT Adoption Theories and Cloud Computing Adoption Models at Organization-Level
3.1. TOE (Technology, Organization, and Environment)
3.2. Theory of Innovation Diffusion
4. Justification of Integration of TOE and DOI Theories
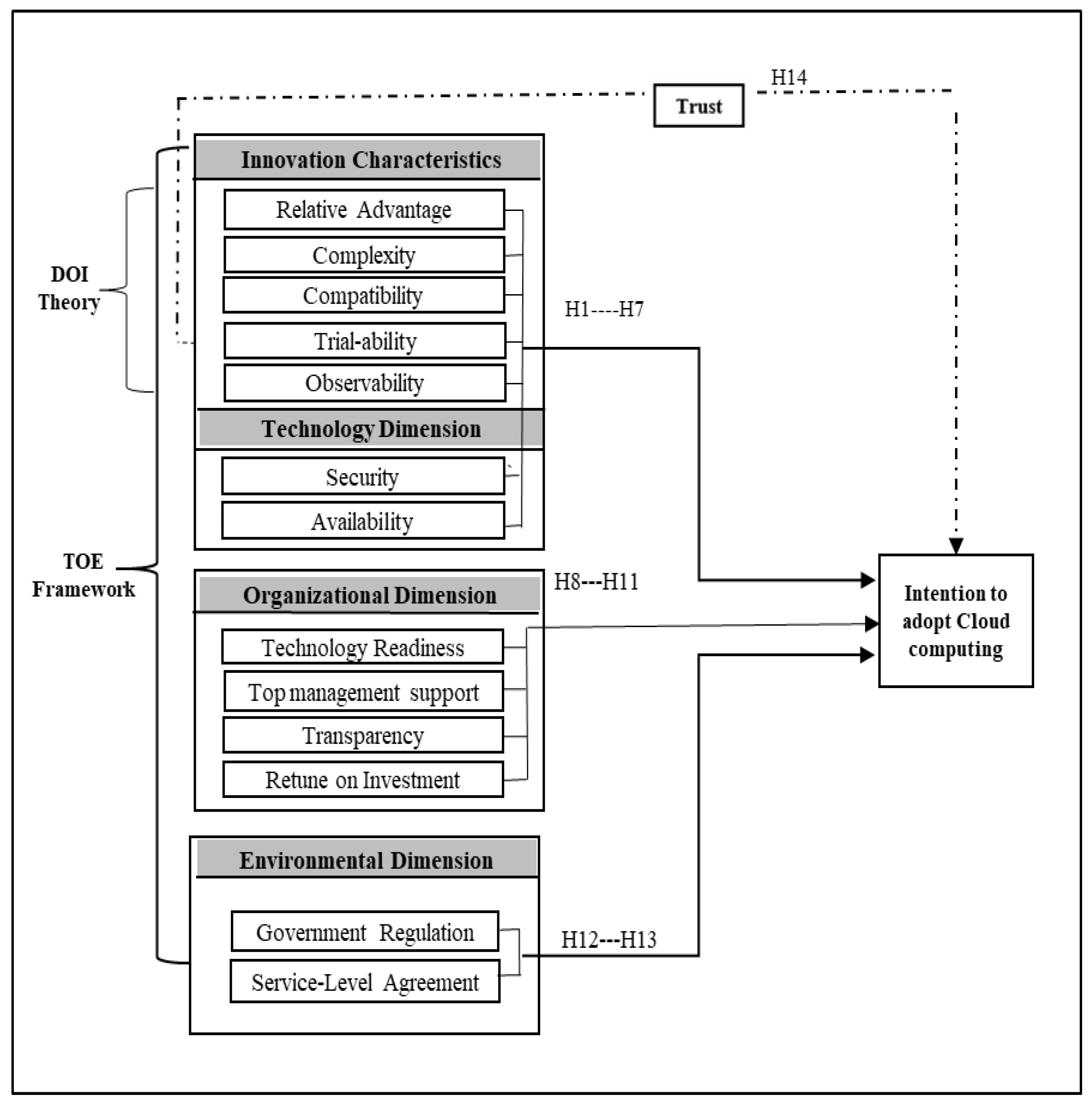
5. Theoretical Foundation and Proposed Model
5.1. Hypotheses Developed Based on the Conceptual Research Model
5.2. Innovation Characteristics Context
5.2.1. Relative Advantage
5.2.2. Compatibility
5.2.3. Complexity
5.2.4. Trialability
5.2.5. Observability
5.3. Technology Context
5.3.1. Security
5.3.2. Availability
5.4. Organizational Context
5.4.1. Technology Readiness
5.4.2. Top Management Support
5.4.3. Transparency
5.4.4. Return on Investment
5.5. Environmental Context
5.5.1. Government Rules and Regulations
5.5.2. Service Level Agreement
6. Trust Mediator Effects
7. Research Methodology
7.1. Research Design
7.2. Instrument Development
7.2.1. Designing Instruments and Developing Scales
7.2.2. Pilot Study, Sampling and Data Collection
7.2.3. Validity and Reliability
Content Validity
Reliability of Scales and Data Analysis
8. Assessment of Outcomes and Discussion
- Statistics summarized:
8.1. Evaluating the Measurement Model
8.2. Initial and Modified Measurement Model
Factor Analysis
8.3. Internal Consistency Reliability
8.4. Convergent Validity
8.5. Discriminant Validity
9. Discussion and Conclusions
10. Future Research and Limitations
Author Contributions
Funding
Institutional Review Board Statement
Informed Consent Statement
Data Availability Statement
Conflicts of Interest
References
- Al-Hujran, O.; Al-Debei, M.M.; Chatfield, A.; Migdadi, M. The imperative of influencing citizen attitude toward e-government adoption and use. Comput. Hum. Behav. 2015, 53, 189–203. [Google Scholar] [CrossRef]
- Adjei-Bamfo, P.; Maloreh-Nyamekye, T.; Ahenkan, A. The role of e-government in sustainable public procurement in developing countries: A systematic literature review. Resour. Conserv. Recycl. 2019, 142, 189–203. [Google Scholar] [CrossRef]
- Gunawong, P.; Gao, P. Understanding e-government failure in the developing country context: A process-oriented study. Inf. Technol. Dev. 2017, 23, 153–178. [Google Scholar] [CrossRef]
- UN. UN E-Government Survey; UN: San Francisco, CA, USA, 2020. [Google Scholar]
- Enrique Hinostroza, J. New Challenges for ICT in Education Policies in Developing Countries: The Need to Account for the Widespread use of ICT for Teaching and Learning Outside the School, in ICT-Supported Innovations in Small Countries and Developing Regions; Springer: Berlin/Heidelberg, Germany, 2018; pp. 99–1119. [Google Scholar]
- Khayer, A.; Talukder, S.; Bao, Y.; Hossain, N. Cloud computing adoption and its impact on SMEs’ performance for cloud supported operations: A dual-stage analytical approach. Technol. Soc. 2020, 60, 101225. [Google Scholar] [CrossRef]
- Khan, H.M.; Chua, F.-F.; Yap, T.T.V. ReSQoV: A Scalable Resource Allocation Model for QoS-Satisfied Cloud Services. Future Int. 2022, 14, 131. [Google Scholar] [CrossRef]
- Liang, Y.; Qi, G.; Wei, K.; Chen, J. Exploring the determinant and influence mechanism of e-Government cloud adoption in government agencies in China. Gov. Inf. Q. 2017, 34, 481–495. [Google Scholar] [CrossRef]
- Joshi, P.; Islam, S.; Islam, S. A Framework for Cloud Based E-Government from the Perspective of Developing Countries. Future Int. 2017, 9, 80. [Google Scholar] [CrossRef]
- Ali, O.; Shrestha, A.; Osmanaj, V.; Muhammed, S. Cloud computing technology adoption: An evaluation of key factors in local governments. Inf. Technol. People 2020, 34, 666–703. [Google Scholar] [CrossRef]
- Vu, K.; Hartley, K.; Kankanhalli, A. Predictors of cloud computing adoption: A cross-country study. Telemat. Inform. 2020, 52, 101426. [Google Scholar] [CrossRef]
- Falah, M.F.; Panduman, Y.Y.F.; Sukaridhoto, S.; Tirie, A.W.C.; Kriswantoro, M.C.; Satria, B.D.; Usman, S. Comparison of cloud computing providers for development of big data and internet of things application. Indones. J. Electr. Eng. Comput. Sci. 2021, 22, 1723–1730. [Google Scholar] [CrossRef]
- Sharma, M.; Gupta, R.; Acharya, P. Analysing the adoption of cloud computing service: A systematic literature review. Glob. Knowl. Mem. Commun. Glob. Knowl. Mem. Commun 2020, 70, 114–153. [Google Scholar] [CrossRef]
- Jones, S.; Irani, Z.; Sivarajah, U.; Love, P.E.D. Risks and rewards of cloud computing in the UK public sector: A reflection on three Organisational case studies. Inf. Syst. Front. 2019, 21, 359–382. [Google Scholar] [CrossRef]
- Nanos, I.; Manthou, V.; Androutsou, E. Cloud Computing Adoption Decision in E-government. In Operational Research in the Digital Era—ICT Challenges; Springer: Berlin/Heidelberg, Germany, 2019; pp. 125–145. [Google Scholar]
- Sharma, S.K.; Al-Badi, A.H.; Govindaluri, S.M.; Al-Kharusi, M.H. Predicting motivators of cloud computing adoption: A developing country perspective. Comput. Hum. Behav. 2016, 62, 61–69. [Google Scholar] [CrossRef]
- Al Hadwera, A.; Tavana, M.; Gillis, D.; Rezania, D. A Systematic Review of Organizational Factors Impacting Cloud-based Technology Adoption Using Technology-Organization-Environment Framework. Int. Things 2021, 15, 100407. [Google Scholar] [CrossRef]
- Abied, O.; Ibrahim, O.; Kamal, S.N.-I.M. Adoption of Cloud Computing in E-Government: A Systematic Literature Review. Pertanika J. Sci. Technol. 2022, 30, 655–689. [Google Scholar] [CrossRef]
- Lin, A.; Chen, N.-C. Cloud computing as an innovation: Percepetion, attitude, and adoption. Int. J. Inf. Manag. 2012, 32, 533–540. [Google Scholar] [CrossRef]
- Janssen, M.; Joha, A. Challenges for Adopting Cloud-Based Software as A Service (saas) in the Public Sector. 2011. Available online: https://aisel.aisnet.org/ecis2011/80 (accessed on 20 July 2022).
- Kshetri, N. Privacy and security issues in cloud computing: The role of institutions and institutional evolution. Telecommun. Policy 2013, 37, 372–386. [Google Scholar] [CrossRef]
- Nkhoma, M.Z.; Dang, D.; de Souza-Daw, A. Contributing Factors of Cloud Computing Adoption: A Technology-Organisation-Environment Framework Approach. In Proceedings of the European Conference on Information Management & Evaluation, Sopot, Poland, 11–12 September 2013. [Google Scholar]
- Wu, Y.; Cegielski, C.G.; Hazen, B.T.; Hall, D.J. Cloud computing in support of supply chain information system infrastructure: Understanding when to go to the cloud. J. Supply Chain Manag. 2013, 49, 25–41. [Google Scholar] [CrossRef]
- Almarabeh, T.; Majdalawi, Y.K.; Mohammad, H. Cloud computing of e-government. Commun. Netw. 2016, 8, 1–8. [Google Scholar] [CrossRef]
- Zissis, D.; Lekkas, D. Securing e-Government and e-Voting with an open cloud computing architecture. Gov. Inf. Q. 2011, 28, 239–251. [Google Scholar] [CrossRef]
- Alshammari, H.H.; Bach, C. Administration security issues in cloud computing. Int. J. Inf. Technol. Converg. Serv. 2013, 3, 1–11. [Google Scholar] [CrossRef]
- Smitha, K.; Thomas, T.; Chitharanjan, K. Cloud based e-governance system: A survey. Procedia Eng. 2012, 38, 3816–3823. [Google Scholar] [CrossRef]
- Al-Hujran, O.; Al-Lozi, E.M.; Al-Debei, M.M.; Maqableh, M. Challenges of cloud computing adoption from the TOE framework perspective. Int. J. E-Bus. Res. (IJEBR) 2018, 14, 77–94. [Google Scholar] [CrossRef]
- Al Mudawi, N.; Beloff, N.; White, M. Issues and Challenges: Cloud Computing e-Government in Developing Countries. Int. J. Adv. Comput. Sci. Appl. 2020, 11, 7–11. [Google Scholar] [CrossRef]
- Ali, O.; Soar, J.; Yong, J. An investigation of the main factors to be considered in cloud computing adoption in Australian regional local councils. Contemp. Issues Bus. Gov. 2015, 21, 72–93. [Google Scholar] [CrossRef]
- Elena, G.; Johnson, C.W. Factors influencing risk acceptance of cloud computing services in the UK government. arXiv 2015, arXiv:1509.06533 2015. [Google Scholar] [CrossRef]
- Wang, W.; Liu, Y.; Liang, Y.; He, K. The influential factors of organization adoption of e-government cloud. In Proceedings of the 2017 International Conference on Financial Management, Education and Social Science (FMESS 2017), Qingdao, China, 25 June 2017. [Google Scholar]
- Mohammed, F.; Ibrahim, O.; Nilashi, M.; Alzurqa, E. Cloud computing adoption model for e-government implementation. Inf. Dev. 2017, 33, 303–323. [Google Scholar] [CrossRef]
- Sallehudin, H.; Razak, R.C.; Ismail, M. Factors Influencing Cloud Computing Adoption in the Public Sector: An Empirical Analysis. J. Entrep. Bus. 2015, 3, 30–45. [Google Scholar] [CrossRef]
- Mustaf, A.; Ibrahim, O.; Mohammed, F. E-government adoption: A systematic review in the context of developing nations. Int. J. Innov. 2020, 8, 59–76. [Google Scholar] [CrossRef]
- Kandil, A.M.N.A.; Soliman, M. Examining the effect of TOE model on cloud computing adoption in Egypt. Bus. Manag. Rev. 2018, 9, 113–123. [Google Scholar]
- Zhang, Y.; Sun, J.; Yang, Z.; Wang, Y. Critical success factors of green innovation: Technology, organization and environment readiness. J. Clean. Prod. 2020, 264, 121701. [Google Scholar] [CrossRef]
- Abraham, A.; Sun, J.; Yang, Z.; Wang, Y. E-government in the public cloud: Requirements and opportunities. Electron. Gov. Int. J. 2020, 16, 260–280. [Google Scholar] [CrossRef]
- Phaphoom, N.; Wang, X.; Samuel, S.; Helmer, S.; Abrahamsson, P. A survey study on major technical barriers affecting the decision to adopt cloud services. J. Syst. Softw. 2015, 103, 167–181. [Google Scholar] [CrossRef]
- Ali, K.E.; Mazen, S.A.; Hassanein, E. A proposed hybrid model for adopting cloud computing in e-government. Future Comput. Inform. J. 2018, 3, 286–295. [Google Scholar] [CrossRef]
- Abied, O.; Ibrahim, O.; Kamal, S.N.-I.M. Proposing a Conceptual Model for Cloud Computing Adoption in the Libyan E-Government. In Proceedings of the 2021 7th International Conference on Research and Innovation in Information Systems (ICRIIS), Johor Bahru, Malaysia, 25–26 October 2021. [Google Scholar]
- Malodia, S.; Dhir, A.; Mishra, M.; Bhatti, Z.A. Future of e-Government: An integrated conceptual framework. Technol. Forecast. Soc. Chang. 2021, 173, 121102. [Google Scholar] [CrossRef]
- Al-rawahna, A.S.M.; Chen, S.-C.; Hung, C.-W. The Barriers of E-Government Success: An Empirical Study from Jordan. Available online: https://ssrn.com/abstract=3498847 (accessed on 13 July 2022).
- Heeks, R.; Stanforth, C. Technological change in developing countries: Opening the black box of process using actor–network theory. Dev. Stud. Res. 2015, 2, 33–50. [Google Scholar] [CrossRef]
- Twizeyimana, J.D.; Andersson, A. The public value of E-Government–A literature review. Gov. Inf. Q. 2019, 36, 167–178. [Google Scholar] [CrossRef]
- Anthopoulos, L.; Reddick, C.G.; Giannakidou, I.; Mavridis, N. Why e-government projects fail? An analysis of the Healthcare.gov website. Gov. Inf. Q. 2016, 33, 161–173. [Google Scholar] [CrossRef]
- Mutimukwe, C.; Kolkowska, E.; Grönlund, Å. Information privacy practices in e-government in an African least developing country, Rwanda. Electron. J. Inf. Syst. Dev. Ctries. 2019, 85, e12074. [Google Scholar] [CrossRef]
- Meiyanti, R.; Utomo, B.; Sensuse, D.I.; Wahyuni, R. E-Government Challenges in Developing Countries: A Literature Review. In Proceedings of the 2018 6th International Conference on Cyber and IT Service Management (CITSM), Parapat, Indonesia, 7–9 August 2018. [Google Scholar]
- Choi, T.; Chandler, S.M. Knowledge vacuum: An organizational learning dynamic of how e-government innovations fail. Gov. Inf. Q. 2020, 37, 101416. [Google Scholar] [CrossRef]
- Glyptis, L.; Christofi, M.; Vrontis, D.; Del Giudice, M.; Dimitriou, S.; Michael, P. E-Government implementation challenges in small countries: The project manager’s perspective. Technol. Forecast. Soc. Chang. 2020, 152, 119880. [Google Scholar] [CrossRef]
- Joshi, P.R.; Islam, S. E-government maturity model for sustainable E-government services from the perspective of developing countries. Sustainability 2018, 10, 1882. [Google Scholar] [CrossRef]
- Arief, A.; Wahab, I.H.A.; Muhammad, M. Barriers and Challenges of e-Government Services: A Systematic Literature Review and Meta-Analyses. In IOP Conference Series: Materials Science and Engineering; IOP Publishing: Bristol, UK, 2021. [Google Scholar]
- Vázquez-López, A.; Barrasa-Rioja, M.; Marey-Perez, M. ICT in rural areas from the perspective of dairy farming: A systematic review. Future Int. 2021, 13, 99. [Google Scholar] [CrossRef]
- Praharaj, S.; Han, J.H.; Hawken, S. Innovative civic engagement and digital urban infrastructure: Lessons from 100 smart cities mission in India. Procedia Eng. 2017, 180, 1423–1432. [Google Scholar] [CrossRef]
- Adam, I.O. Examining E-Government development effects on corruption in Africa: The mediating effects of ICT development and institutional quality. Technol. Soc. 2020, 61, 101245. [Google Scholar] [CrossRef]
- Dias, G.P. Determinants of e-government implementation at the local level: An empirical model. Online Inf. Rev. 2020, 44, 1307–1326. [Google Scholar] [CrossRef]
- Mensah, R.; Cater-Steel, A.; Toleman, M. Factors affecting e-government adoption in Liberia: A practitioner perspective. Electron. J. Inf. Syst. Dev. Ctries. 2020, 87, 147–162. [Google Scholar] [CrossRef]
- Alzahrani, L.; Al-Karaghouli, W.; Weerakkody, V. Analysing the critical factors influencing trust in e-government adoption from citizens’ perspective: A systematic review and a conceptual framework. Int. Bus. Rev. 2017, 26, 164–175. [Google Scholar] [CrossRef]
- Sabani, A. Investigating the influence of transparency on the adoption of e-Government in Indonesia. J. Sci. Technol. Policy Manag. 2020, 12, 236–255. [Google Scholar] [CrossRef]
- Liang, J. Adoption of Mobile Government Cloud from the Perspective of Public Sector. Mob. Inf. Syst. 2021, 2021, 8884594. [Google Scholar] [CrossRef]
- Agbaegbu, J.; Arogundade, O.T.; Misra, S.; Damaševičius, R. Ontologies in Cloud Computing—Review and Future Directions. Future Int. 2021, 13, 302. [Google Scholar] [CrossRef]
- Singh, J.; Dhiman, G. A Survey on Cloud Computing Approaches. Materials Today: Proceedings; Elsevier: Amsterdam, The Netherlands, 2021. [Google Scholar]
- Mell, P.; Grance, T. The NIST Definition of Cloud Computing; National Institute of Standards & Technology: Gaithersburg, MA, USA, 2011. [Google Scholar]
- Floerecke, S.; Lehner, F. Meta-Study of Success-Related Factors of SaaS Providers Based on a Cloud Computing Ecosystem Perspective. In Handbook on Digital Business Ecosystems; Edward Elgar Publishing: Cheltenham, UK, 2022. [Google Scholar]
- Mohammed, F.; Alzahrani, A.I.; Alfarraj, O.; Ibrahim, O. Cloud computing fitness for e-Government implementation: Importance-performance analysis. IEEE Access 2017, 6, 1236–1248. [Google Scholar] [CrossRef]
- Alhammadi, A.; Stanier, C.; Eardley, A. The Determinants of Cloud Computing Adoption in Saudi Arabia. 2015. Available online: https://airccj.org/CSCP/vol5/csit54506.pdf (accessed on 1 May 2022).
- Abu-Shanab, E.; Estatiya, F. Utilizing Cloud Computing in public sector cases from the world. In Proceedings of the 2017 International Conference on Applied System Innovation (ICASI), Sapporo, Japan, 13–17 May 2017; IEEE: Piscataway, NJ, USA, 2017; pp. 1702–1705. [Google Scholar] [CrossRef]
- Kushagra, K.; Dhingra, S. Determinants for adoption of cloud in government sector in India: A review. Int. J. Bus. Inf. Syst. 2019, 32, 170–198. [Google Scholar] [CrossRef]
- Lynn, T.; Fox, G.; Gourinovitch, A.; Rosati, P. Understanding the Determinants and Future Challenges of Cloud Computing Adoption for High Performance Computing. Future Int. 2020, 12, 135. [Google Scholar] [CrossRef]
- Mohammed, F.; Ibrahim, O. Models of Adopting Cloud Computing in the E-Government Context: A Review. J. Teknol. 2015, 73. [Google Scholar] [CrossRef]
- Shin, Y.; Kim, S.; Kim, J. Grounded theory approach on the adaptation process in facility of long-term care elderly. Korean J. Soc. Welf. 2013, 65, 155–182. [Google Scholar]
- Kuiper, E.; Van Dam, F.; Reiter, A.; Janssen, M. Factors influencing the adoption of and business case for Cloud computing in the public sector. In Proceedings of the eChallenges e-2014 Conference Proceedings, Belfast, UK, 29–30 October 2014. [Google Scholar]
- Tornatzky, L.G.; Fleischer, M.; Chakrabarti, A.K. Processes of Technological Innovation; Lexington Books: Lanham, MD, USA, 1990. [Google Scholar]
- Zhu, K. The complementarity of information technology infrastructure and e-commerce capability: A resource-based assessment of their business value. J. Manag. Inf. Syst. 2004, 21, 167–202. [Google Scholar] [CrossRef]
- Rogers, E.M. Diffusion of Innovations: Modifications of a Model for Telecommunications. In Die Diffusion von Innovationen in der Telekommunikation; Springer: Berlin/Heidelberg, Germany, 1995; pp. 25–38. [Google Scholar]
- Sohaib, O.; Naderpour, M.; Hussain, W.; Martinez, L. Cloud computing model selection for e-commerce enterprises using a new 2-tuple fuzzy linguistic decision-making method. Comput. Ind. Eng. 2019, 132, 47–58. [Google Scholar] [CrossRef]
- Rogers, E.M. Diffusion of Innovations; Free Press: New York, NY, USA, 2003; p. 551. [Google Scholar]
- Rogers, E.M.; Singhal, A.; Quinlan, M.M. Diffusion of Innovations. In An Integrated Approach to Communication Theory and Research; Routledge: London, UK, 2014; pp. 432–448. [Google Scholar]
- Oliveira, T.; Martins, M.F. Literature review of information technology adoption models at firm level. Electron. J. Inf. Syst. Eval. 2011, 14, 110–121. [Google Scholar]
- Mohammed, F.; Ibrahim, O.; Ithnin, N. Factors influencing cloud computing adoption for e-government implementation in developing countries: Instrument development. J. Syst. Inf. Technol. 2016, 18, 297–327. [Google Scholar] [CrossRef]
- Morgan, L.; Conboy, K. Factors Affecting the Adoption of Cloud Computing: An Exploratory Study. 2013. Available online: https://mural.maynoothuniversity.ie/6652/1/LM-Factors-Cloud.pdf (accessed on 13 July 2022).
- Ali, O.; Soar, J. Technology Innovation Adoption Theories. In Technology Adoption and Social Issues: Concepts, Methodologies, Tools, and Applications; University of Southern Queensland: Darling Heights, QLD, Australia, 2018; pp. 821–860. [Google Scholar] [CrossRef]
- Chaparro-Peláez, J.; Pereira-Rama, A.; Pascual-Miguel, F.J. Inter-organizational information systems adoption for service innovation in building sector. J. Bus. Res. 2014, 67, 673–679. [Google Scholar] [CrossRef]
- Wisdom, J.P.; Chor, K.H.B.; Hoagwood, K.E.; Horwitz, S.M. Innovation adoption: A review of theories and constructs. Adm. Policy Ment. Health Ment. Health Serv. Res. 2014, 41, 480–502. [Google Scholar] [CrossRef] [PubMed]
- Chau, P.Y.; Tam, K.Y. Factors affecting the adoption of open systems: An exploratory study. MIS Q. 1997, 21, 1–24. [Google Scholar] [CrossRef]
- Micheni, E.M. Using the Technology Organization Environment Framework for Adoption and Implementation of Cloud Computing In Institutions of Higher Learning in Kenya. 2015. Available online: https://www.semanticscholar.org/paper/Using-the-Technology-Organization-Environment-for-Micheni/dbe26dadcc3c80ec6fdd6b1e86ce95881136d00d (accessed on 24 June 2022).
- Mokhtar, S.A.; Al-Sharafi, A.; Ali, S.H.S.; Al-Othmani, A.Z. Identifying the determinants of cloud computing adoption in higher education institutions. In Proceedings of the 2016 International Conference on Information and Communication Technology (ICICTM), Kuala Lumpur, Malaysia, 16–17 May 2016; pp. 115–119. [Google Scholar] [CrossRef]
- Wang, Y.-S.; Li, H.-T.; Li, C.-R.; Zhang, D.-Z. Factors affecting hotels’ adoption of mobile reservation systems: A technology-organization-environment framework. Tour. Manag. 2016, 53, 163–172. [Google Scholar] [CrossRef]
- Chiu, C.-Y.; Chen, S.; Chen, C.-L. An integrated perspective of TOE framework and innovation diffusion in broadband mobile applications adoption by enterprises. Int. J. Manag. Econ. Soc. Sci. (IJMESS) 2017, 6, 14–39. [Google Scholar]
- Arpaci, I. A qualitative study on the adoption of bring your own device (BYOD) practice. Int. J. E-Adopt. (IJEA) 2015, 7, 1–14. [Google Scholar] [CrossRef][Green Version]
- Alkhalil, A.; Sahandi, R.; John, D. An exploration of the determinants for decision to migrate existing resources to cloud computing using an integrated TOE-DOI model. J. Cloud Comput. 2017, 6, 1–20. [Google Scholar] [CrossRef]
- Carreiro, H.; Oliveira, T. Impact of transformational leadership on the diffusion of innovation in firms: Application to mobile cloud computing. Comput. Ind. 2019, 107, 104–113. [Google Scholar] [CrossRef]
- Hiran, K.K.; Henten, A. An integrated TOE–DoI framework for cloud computing adoption in the higher education sector: Case study of Sub-Saharan Africa, Ethiopia. Int. J. Syst. Assur. Eng. Manag. 2020, 11, 441–449. [Google Scholar] [CrossRef]
- Ali, O.; Soar, J.; Shrestha, A. Perceived potential for value creation from cloud computing: A study of the Australian regional government sector. Behav. Inf. Technol. 2018, 37, 1157–1176. [Google Scholar] [CrossRef]
- Hsu, P.-F.; Ray, S.; Li-Hsieh, Y.-Y. Examining cloud computing adoption intention, pricing mechanism, and deployment model. Int. J. Inf. Manag. 2014, 34, 474–488. [Google Scholar] [CrossRef]
- Lutfi, A.; Alshira’H, A.F.; Alshirah, M.H.; Al-Okaily, M.; Alqudah, H.; Saad, M.; Ibrahim, N.; Abdelmaksoud, O. Antecedents and Impacts of Enterprise Resource Planning System Adoption among Jordanian SMEs. Sustainability 2022, 14, 3508. [Google Scholar] [CrossRef]
- Sartipi, F. Diffusion of innovation theory in the realm of environmental construction. J. Constr. Mater. 2020, 1, 2–4. [Google Scholar] [CrossRef]
- Al-Sharafi, M.A.; Arshah, R.A.; Abu-Shanab, E.A. Factors Influencing the Continuous Use of Cloud Computing Services in Organization Level. In Proceedings of the International Conference on Advances in Image Processing, New York, NY, USA, 25–27 August 2017. [Google Scholar]
- Ali, O.; Osmanaj, V. The role of government regulations in the adoption of cloud computing: A case study of local government. Comput. Law Secur. Rev. 2020, 36, 105396. [Google Scholar] [CrossRef]
- Ji, H.; Liang, Y. Exploring the determinants affecting e-government cloud adoption in China. Int. J. Bus. Manag. 2016, 11, 81. [Google Scholar] [CrossRef][Green Version]
- Lee, Y.-H.; Hsieh, Y.-C.; Hsu, C.-N. Adding innovation diffusion theory to the technology acceptance model: Supporting employees’ intentions to use e-learning systems. J. Educ. Technol. Soc. 2011, 14, 124–137. [Google Scholar]
- Stieninger, M.; Nedbal, D.; Wetzlinger, W.; Wagner, G.; Erskine, M.A. Factors influencing the organizational adoption of cloud computing: A survey among cloud workers. Int. J. Inf. Syst. Proj. Manag. 2018, 6, 5–23. [Google Scholar] [CrossRef]
- Kamal, M.M. IT innovation adoption in the government sector: Identifying the critical success factors. J. Enterp. Inf. Manag. 2006, 19, 192–222. [Google Scholar] [CrossRef]
- Alshamaila, Y.; Papagiannidis, S.; Li, F. Cloud computing adoption by SMEs in the north east of England: A multi-perspective framework. J. Enterp. Inf. Manag. 2013, 26, 250–275. [Google Scholar] [CrossRef]
- Chiregi, M. and N.J. Navimipour, Cloud computing and trust evaluation: A systematic literature review of the state-of-the-art mechanisms. J. Electr. Syst. Inf. Technol. 2018, 5, 608–622. [Google Scholar] [CrossRef]
- AlBar, A.M.; Hoque, M.R. Factors affecting cloud ERP adoption in Saudi Arabia: An empirical study. Inf. Dev. 2019, 35, 150–164. [Google Scholar] [CrossRef]
- Wu, J.; Ding, F.; Xu, M.; Mo, Z.; Jin, A. Investigating the Determinants of Decision-Making on Adoption of Public Cloud Computing in E-government. J. Glob. Inf. Manag. 2016, 24, 71–89. [Google Scholar] [CrossRef]
- Hsu, C.-L.; Lin, J.C.-C. Factors affecting the adoption of cloud services in enterprises. Inf. Syst. E-Bus. Manag. 2016, 14, 791–822. [Google Scholar] [CrossRef]
- Kyriakou, N.; Euripides, L.; Paraskevi, D. Factors Affecting Cloud Storage Adoption by Greek Municipalities. In Proceedings of the 13th International Conference on Theory and Practice of Electronic Governance, New York, NY, USA, 23–25 September 2020. [Google Scholar]
- Ogunlolu, I.; Rajanen, D. Cloud Computing Adoption in Organizations: A Literature Review and a Unifying Model. 2019. Available online: http://jultika.oulu.fi/files/nbnfi-fe202001172418.pdf (accessed on 13 June 2022).
- Agrawal, V.K.; Agrawal, V.K.; Taylor, A.R.; Chau, N.N. An Exploratory Study of Factors Driving Decision Maker Intensions to Adopt Cloud Computing. In Information Technology & Management Science; RTU Publishing House: London, UK, 2019; p. 22. [Google Scholar]
- Sun, P. Security and privacy protection in cloud computing: Discussions and challenges. J. Netw. Comput. Appl. 2020, 160, 102642. [Google Scholar] [CrossRef]
- Tabrizchi, H.; Rafsanjani, M.K. A survey on security challenges in cloud computing: Issues, threats, and solutions. J. Supercomput. 2020, 76, 9493–9532. [Google Scholar] [CrossRef]
- Yoo, S.-K.; Kim, B.-Y. A decision-making model for adopting a cloud computing system. Sustainability 2018, 10, 2952. [Google Scholar] [CrossRef]
- Mesbahi, M.R.; Rahmani, A.M.; Hosseinzadeh, M. Reliability and high availability in cloud computing environments: A reference roadmap. Hum.-Cent. Comput. Inf. Sci. 2018, 8, 20. [Google Scholar] [CrossRef]
- Alkhater, N.; Wills, G.; Walters, R. Factors influencing an organisation’s intention to adopt cloud computing in Saudi Arabia. In Proceedings of the 2014 IEEE 6th International Conference on Cloud Computing Technology and Science, Washington, DC, USA, 15–18 December 2014. [Google Scholar]
- Almaiah, M.A.; Al-Khasawneh, A. Investigating the main determinants of mobile cloud computing adoption in university campus. Educ. Inf. Technol. 2020, 25, 3087–3107. [Google Scholar] [CrossRef]
- Shetty, J.P.; Panda, R. An overview of cloud computing in SMEs. J. Glob. Entrep. Res. 2021, 2021, 1–14. [Google Scholar] [CrossRef]
- Senarathna, I.; Wilkin, C.; Warren, M.; Yeoh, W.; Salzman, S. Factors that influence adoption of cloud computing: An empirical study of Australian SMEs. Australas. J. Inf. Syst. 2018, 22. [Google Scholar] [CrossRef]
- Hsu, H.-Y.; Liu, F.-H.; Tsou, H.-T.; Chen, L.-J. Openness of technology adoption, top management support and service innovation: A social innovation perspective. J. Bus. Ind. Mark. 2018, 34, 575–590. [Google Scholar] [CrossRef]
- Oldeweme, A.; Märtins, J.; Westmattelmann, D.; Schewe, G. The role of transparency, trust, and social influence on uncertainty reduction in times of pandemics: Empirical study on the adoption of COVID-19 tracing apps. J. Med. Internet Res. 2021, 23, e25893. [Google Scholar] [CrossRef]
- Ismail, U.M.; Islam, S.; Ouedraogo, M.; Weippl, E. A framework for security transparency in cloud computing. Future Internet 2016, 8, 5. [Google Scholar] [CrossRef]
- Friedrich-Baasner, G.; Fischer, M.; Winkelmann, A. Cloud Computing in SMEs: A Qualitative Approach to Identify and Evaluate Influential Factors. 2018. Available online: https://scholarspace.manoa.hawaii.edu/server/api/core/bitstreams/f46a04aa-d802-4d5b-9ed4-4ee7f546f9f2/content (accessed on 15 July 2022).
- Al Najjar, M.T.; Al Shobaki, M.J.; El Talla, S.A. The Reality of Change Strategies and the Level of Coordination and Transparency in the Readiness of Charitable Institutions in Gaza Strip to Adopt and Implement Cloud Computing. Int. J. Acad. Manag. Sci. Res. (IJAMSR) 2022, 6, 51–69. [Google Scholar]
- Schäfer, N. Making transparency transparent: A systematic literature review to define and frame supply chain transparency in the context of sustainability. Manag. Rev. Q. 2022, 1–26. [Google Scholar] [CrossRef]
- Venkatesh, V.; Thong, J.Y.L.; Chan, F.K.Y.; Hu, P.J.H. Managing citizens’ uncertainty in e-government services: The mediating and moderating roles of transparency and trust. Inf. Syst. Res. 2016, 27, 87–111. [Google Scholar] [CrossRef]
- Kim, C.-K. Anti-corruption initiatives and e-government: A cross-national study. Public Organ. Rev. 2014, 14, 385–396. [Google Scholar] [CrossRef]
- Pauley, W. Cloud provider transparency: An empirical evaluation. IEEE Secur. Priv. 2010, 8, 32–39. [Google Scholar] [CrossRef]
- Almukhlifi, A.; Deng, H.; Kam, B. e-Government adoption in Saudi Arabia: The moderation influence of transparency. J. Adv. Inf. Technol. 2019, 10. [Google Scholar] [CrossRef]
- Cordes, J.J. Using cost-benefit analysis and social return on investment to evaluate the impact of social enterprise: Promises, implementation, and limitations. Eval. Program Plan. 2017, 64, 98–104. [Google Scholar] [CrossRef]
- Shuaib, M.; Samad, A.; Alam, S.; Siddiqui, S.T. Why Adopting Cloud Is Still a Challenge?—A Review on Issues and Challenges for Cloud Migration in Organizations. In Ambient Communications and Computer Systems; Springer: Berlin/Heidelberg, Germany, 2019; pp. 387–399. [Google Scholar]
- Pan, M.-J.; Jang, W.-Y. Determinants of the adoption of enterprise resource planning within the technology-organization-environment framework: Taiwan’s communications industry. J. Comput. Inf. Syst. 2008, 48, 94–102. [Google Scholar]
- Sallehudin, H.; Aman, A.H.M.; Razak, R.C.; Ismail, M.; ABU Bakar, N.A.; Fadzil, A.F.; Baker, R. Performance and Key Factors of Cloud Computing Implementation in the Public Sector. Int. J. Bus. Soc. 2020, 21, 134–152. [Google Scholar] [CrossRef]
- Jaeger, P.T. Information policy, information access, and democratic participation: The national and international implications of the Bush administration’s information politics. Gov. Inf. Q. 2007, 24, 840–859. [Google Scholar] [CrossRef]
- Okai, S.; Uddin, M.; Arshad, A.; Alsaqour, R.; Shah, A. Cloud computing adoption model for universities to increase ICT proficiency. Sage Open 2014, 4, 2158244014546461. [Google Scholar] [CrossRef]
- Qiu, M.M.; Zhou, Y.; Wang, C. Systematic Analysis of Public Cloud Service Level Agreements and Related Business Values. In Proceedings of the 2013 IEEE International Conference on Services Computing, Santa Clara, CA, USA, 28 June–3 July 2013. [Google Scholar]
- Raza, M.H.; Adenola, A.F.; Nafarieh, A.; Robertson, W. The slow adoption of cloud computing and IT workforce. Procedia Comput. Sci. 2015, 52, 1114–1119. [Google Scholar] [CrossRef]
- Singh, J.; Mansotra, V.; Mir, S.A.; Parveen, S. Cloud feasibility and adoption strategy for the INDIAN school education system. Educ. Inf. Technol. 2021, 26, 2375–2405. [Google Scholar] [CrossRef]
- Aleem, A.; Sprott, C.R. Let me in the cloud: Analysis of the benefit and risk assessment of cloud platform. J. Financ. Crime 2013, 20, 6–24. [Google Scholar] [CrossRef]
- Piparo, T.L.; Hodosi, G.; Rusu, L. Service-Level Agreement Negotiation in Cloud Computing Buying Organizations. Int. J. Innov. Digit. Econ. (IJIDE) 2021, 12, 1–16. [Google Scholar] [CrossRef]
- Wibowo, S.; Mubarak, S. Exploring Stakeholders Perceived Risk and Trust Towards Their Intention to Adopt Cloud Computing: A Theoretical Framework. 2020. Available online: https://web.archive.org/web/20210815021214id_/https://aisel.aisnet.org/cgi/viewcontent.cgi?article=1000&context=pacis2020 (accessed on 1 June 2022).
- Min, L.; Zhao, D.; Yu, Y. TOE drivers for cloud transformation: Direct or trust-mediated? Asia Pac. J. Mark. Logist. 2015, 27. [Google Scholar] [CrossRef]
- Yu, Y.; Li, M.; Li, X.; Zhao, J.L.; Zhao, D. Effects of entrepreneurship and IT fashion on SMEs’ transformation toward cloud service through mediation of trust. Inf. Manag. 2018, 55, 245–257. [Google Scholar] [CrossRef]
- Alharbi, S. An empirical investigation on the impact of trust mediated determinants and moderating factors on the adoption of cloud computing. Int. J. Inf. Technol. Comput. Sci. 2017, 9, 12–22. [Google Scholar] [CrossRef]
- Lian, J.-W. Critical factors for cloud based e-invoice service adoption in Taiwan: An empirical study. Int. J. Inf. Manag. 2015, 35, 98–109. [Google Scholar] [CrossRef]
- Lankton, N.K.; McKnight, D.H.; Tripp, J. Technology, humanness, and trust: Rethinking trust in technology. J. Assoc. Inf. Syst. 2015, 16, 1. [Google Scholar] [CrossRef]
- Lankton, N.; McKnight, D.H.; Thatcher, J.B. Incorporating trust-in-technology into Expectation Disconfirmation Theory. J. Strateg. Inf. Syst. 2014, 23, 128–145. [Google Scholar] [CrossRef]
- Li, X.; Hess, T.J.; Valacich, J.S. Why do we trust new technology? A study of initial trust formation with organizational information systems. J. Strateg. Inf. Syst. 2008, 17, 39–71. [Google Scholar] [CrossRef]
- Naqvi, H.F.; Chandio, F.H.; Soomro, A.F.; Abbasi, M.S. Software as a Service Acceptance Model: A User-Centric Perspective in Cloud Computing Context. In Proceedings of the 2018 IEEE 5th International Conference on Engineering Technologies and Applied Sciences (ICETAS), Bangkok, Thailand, 22–23 November 2018. [Google Scholar]
- Raut, R.; Priyadarshinee, P.; Jha, M. Understanding the Mediation Effect of Cloud Computing Adoption in Indian Organization: Integrating TAM-TOE-Risk Model. In Technology Adoption and Social Issues: Concepts, Methodologies, Tools, and Applications; IGI Global: Hershey, PA, USA, 2018; pp. 675–697. [Google Scholar]
- Venters, W.; Whitley, E.A. A critical review of cloud computing: Researching desires and realities. J. Inf. Technol. 2012, 27, 179–197. [Google Scholar] [CrossRef]
- Chong, A.Y.L.; Lin, B.; Ooi, K.B.; Raman, M. Factors affecting the adoption level of c-commerce: An empirical study. J. Comput. Inf. Syst. 2009, 50, 13–22. [Google Scholar]
- Wang, Y.-M.; Wang, Y.-S.; Yang, Y.-F. Understanding the determinants of RFID adoption in the manufacturing industry. Technol. Forecast. Soc. Chang. 2010, 77, 803–815. [Google Scholar] [CrossRef]
- Lansing, J.; Sunyaev, A. Trust in cloud computing: Conceptual typology and trust-building antecedents. ACM Sigmis Database Database Adv. Inf. Syst. 2016, 47, 58–96. [Google Scholar] [CrossRef]
- Lynn, T.; van der Werff, L.; Fox, G. Understanding Trust and Cloud Computing: An Integrated Framework for Assurance and Accountability in the Cloud. In Data Privacy and Trust in Cloud Computing; Palgrave Macmillan: Cham, The Netherlands, 2021; pp. 1–20. [Google Scholar]
- Tams, S.; Thatcher, J.B.; Craig, K. How and why trust matters in post-adoptive usage: The mediating roles of internal and external self-efficacy. J. Strateg. Inf. Syst. 2018, 27, 170–190. [Google Scholar] [CrossRef]
- Van Der Werff, L.; Fox, G.; Masevic, L.; Emeakaroha, V.C.; Morrison, J.P.; Lynn, T.G. Building consumer trust in the cloud: An experimental analysis of the cloud trust label approach. J. Cloud Comput. 2019, 8, 1–17. [Google Scholar] [CrossRef]
- Orlikowski, W.J.; Baroudi, J.J. Studying information technology in organizations: Research approaches and assumptions. Inf. Syst. Res. 1991, 2, 1–28. [Google Scholar] [CrossRef]
- Chih-Pei, H.; Chang, Y.-Y. John, W. Creswell, research design: Qualitative, quantitative, and mixed methods approaches. J. Soc. Adm. Sci. 2017, 4, 205–207. [Google Scholar]
- Lin, H.-F. Understanding the determinants of electronic supply chain management system adoption: Using the technology–organization–environment framework. Technol. Forecast. Soc. Chang. 2014, 86, 80–92. [Google Scholar] [CrossRef]
- Shukur, B.S.; Ghani, M.K.A.; Burhanuddin, M. An analysis of cloud computing adoption framework for Iraqi e-government. Culture 2018, 19, 34. [Google Scholar] [CrossRef]
- M’rhaouarh, I.; Okar, C.; Namir, A.; Chafiq, N. Cloud Computing Adoption in Developing Countries: A Systematic Literature Review. In Proceedings of the 2018 IEEE International Conference on Technology Management, Operations and Decisions (ICTMOD), Marrakech, Morocco, 21–23 November 2018. [Google Scholar]
- Wahsh, M.A.; Dhillon, J. A systematic review of factors affecting the adoption of cloud computing for E-government implementation. J. Eng. Appl. Sci. 2015, 10, 17824–17832. [Google Scholar]
- Chiniah, A.; Mungur, A.E.; Permal, K.N. Evaluation of Cloud Computing Adoption Using a Hybrid TAM/TOE Model. In Information Systems Design and Intelligent Applications; Springer: Berlin/Heidelberg, Germany, 2019; pp. 257–269. [Google Scholar]
- Kundra, V. State of Public Sector Cloud Computing. Federal Chief Information 2010. Available online: https://secure.image.lifeservant.com/siteuploadfiles/VSYM/99B5C5E7-8B46-4D14-A53EB8FD1CEEB2BC/AF86DE15-C29A-8FCE-433B452310249B6E.pdf (accessed on 12 May 2022).
- Gupta, P.; Seetharaman, A.; Raj, J.R. The usage and adoption of cloud computing by small and medium businesses. Int. J. Inf. Manag. 2013, 33, 861–874. [Google Scholar] [CrossRef]
- Tehrani, S.R.; Shirazi, F. Factors Influencing the Adoption of Cloud Computing by Small and Medium Size Enterprises (SMEs). In International Conference on Human Interface and the Management of Information; Springer: Berlin/Heidelberg, Germany, 2014. [Google Scholar]
- Lin, C.; Lin, M. The determinants of using cloud supply chain adoption. Ind. Manag. Data Syst. 2019, 119, 351–366. [Google Scholar] [CrossRef]
- Priyadarshinee, P. Examining critical success factors of cloud computing adoption: Integrating AHP-structural mediation model. Int. J. Decis. Support Syst. Technol. (IJDSST) 2020, 12, 80–96. [Google Scholar] [CrossRef]
- Gutierrez, A.; Boukrami, E.; Lumsden, R. Technological, organisational and environmental factors influencing managers’ decision to adopt cloud computing in the UK. J. Enterp. Inf. Manag. 2015, 28, 788–807. [Google Scholar] [CrossRef]
- Stake, R.E. Qualitative Case Studies; Sage Publications: Thousand Oaks, CA, USA, 2008; Volume 27, pp. 119–149. [Google Scholar]
- Bureau of Statistics and Census. Top Ten Active E-Government Departments in Libya. Available online: https://www.bsc.ly/ (accessed on 4 May 2020).
- Creswell, J.W.; Creswell, J.D. Research Design: Qualitative, Quantitative, and Mixed Methods Approaches; Sage Publications: Thousand Oaks, CA, USA, 2017. [Google Scholar]
- Baker, D.H.; Vilidaite, G.; Lygo, F.A.; Smith, A.K.; Flack, T.R.; Gouws, A.D.; Andrews, T.J. Power contours: Optimising sample size and precision in experimental psychology and human neuroscience. arXiv 2019, arXiv:1902.06122. [Google Scholar] [CrossRef]
- Maroufkhani, P.; Tseng, M.L.; Iranmanesh, M.; Ismail, W.K.W.; Khalid, H. Big data analytics adoption: Determinants and performances among small to medium-sized enterprises. Int. J. Inf. Manag. 2020, 54, 102190. [Google Scholar] [CrossRef]
- Netemeyer, R.G.; Bearden, W.O.; Sharma, S. Scaling Procedures: Issues and Applications; Sage Publications: Thousand Oaks, CA, USA, 2003. [Google Scholar]
- Hair, J.F., Jr.; Hult, G.T.M.; Ringle, C.M.; Sarstedt, M.; Danks, N.P.; Ray, S. Partial least squares structural equation modeling (PLS-SEM) using R: A workbook. In A Primer on Partial Least Squares Structural Equation Modeling (PLS-SEM); Sage Publications: Thousand Oaks, CA, USA, 2021. [Google Scholar]
- Lynn, M.R. Determination and quantification of content validity. Nurs. Res. 1986, 35, 382–385. [Google Scholar] [CrossRef]
- Hair, J.F.; Risher, J.J.; Sarstedt, M.; Ringle, C.M. When to use and how to report the results of PLS-SEM. Eur. Bus. Rev. 2019, 31, 2–24. [Google Scholar] [CrossRef]
- Hair, J.; Hollingsworth, C.L.; Randolph, A.B.; Chong, A.Y.L. An updated and expanded assessment of PLS-SEM in information systems research. Ind. Manag. Data Syst. 2017, 117, 442–458. [Google Scholar] [CrossRef]
- Al-Ruithe, M.; Benkhelifa, E.; Hameed, K. Current State of Cloud Computing Adoption—An Empirical Study in Major Public Sector Organizations of Saudi Arabia (KSA). Procedia Comput. Sci. 2017, 110, 378–385. [Google Scholar] [CrossRef]
- Hulland, J.; Baumgartner, H.; Smith, K.M. Marketing survey research best practices: Evidence and recommendations from a review of JAMS articles. J. Acad. Mark. Sci. 2018, 46, 92–108. [Google Scholar] [CrossRef]
- Henseler, J.; Ringle, C.M.; Sarstedt, M. A new criterion for assessing discriminant validity in variance-based structural equation modeling. J. Acad. Mark. Sci. 2015, 43, 115–135. [Google Scholar] [CrossRef]
- Voorhees, C.M.; Brady, M.K.; Calantone, R.; Ramirez, E. Discriminant validity testing in marketing: An analysis, causes for concern, and proposed remedies. J. Acad. Mark. Sci. 2016, 44, 119–134. [Google Scholar] [CrossRef]
- Anggraini, N.; Legowo, N. Cloud Computing Adoption Strategic Planning Using ROCCA and TOGAF 9.2: A Study in Government Agency. Procedia Comput. Sci. 2019, 161, 1316–1324. [Google Scholar] [CrossRef]
- Abied, O.; Ibrahim, O. Cloud Service Adoption Model in the Libyan e-Government Implementation. In Proceedings of the 2021 International Congress of Advanced Technology and Engineering (ICOTEN), Taiz, Yemen, 4–5 July 2021. [Google Scholar]
- Hair, J.F., Jr.; Sarstedt, M.; Ringle, C.M.; Gudergan, S.P. Advanced Issues in Partial Least Squares Structural Equation Modeling; Sage Publications: Thousand Oaks, CA, USA, 2017. [Google Scholar]
- Alassafi, M.O.; Alharthi, A.; Walters, R.J.; Wills, G.B. A framework for critical security factors that influence the decision of cloud adoption by Saudi government agencies. Telemat. Inform. 2017, 34, 996–1010. [Google Scholar] [CrossRef]
- Ali, K.E.; Mazen, S.A.; Hassanein, E.E. Assessment of cloud computing adoption models in e-government environment. Int. J. Comput. Intell. Stud. 2018, 7, 67–92. [Google Scholar]


| Issues | Examples | Source |
|---|---|---|
| Technical barres |
| [3,9,40,50,51,52,53,54] |
| Non-technical barres |
| [35,55,56,57,58,59] |
| Benefit | TOE | DOI | TOE + DOI |
|---|---|---|---|
| √ | √ | |
| √ | √ | |
| √ | √ | √ |
| √ | √ | √ |
| √ | √ | √ |
| √ |
| Construct | N | Dimensions | Reference |
|---|---|---|---|
| Relative advantage | 4 | Communication speed—cost reduction—efficiency—mobile data | [43,133,144,160] |
| Complexity | 5 | Ease of Implementation—clarity—easy to learn—time | [109,161,162] |
| Compatibility | 5 | Fit with work norms—integrating with existing systems—Requiring technical changes | [33,144,160,161] |
| Trial ability | 4 | Testing before actual use—sufficiency of testing time—availability of trials | [33,107,163] |
| Observability | 5 | Better visibility, integration-as-a-service | [72,100,106] |
| Security | 4 | Adequacy of security techniques—data protection—data privacy and confidentiality | [17,33,110,161] |
| Availability | 3 | Flow of data—recovery—uptime—resources busy | [164,165] |
| Technology readiness | 5 | Necessary technical requirements—Internet connection—computational capabilities- IT-related skills | [33,110,144] |
| Top management support | 4 | Interest—leadership engagement—commitment | [133,144,160,162] |
| Investment in new ROI | 5 | Infrastructure—time and effort—maintenance costs—hiring IT expertise—training costs | [33,166,167] |
| Transparency | 6 | Corruption eradication—information transparency—process transparency—public participation | [38,59,129] |
| Government laws and regulation | 5 | Security rules, policies—privacy laws—standard legislation—legal protection | [39,43,160] |
| Service Level Agreement (SLA) | 5 | SLA objectives—risk control—QoS guarantees—security standards—disaster recovery—location of data | [121,122,123] |
| Trust | 4 | Trust in technology—trusting intention | [8,168,169,170] |
| Intention to adopt cloud | 4 | Recommending—evaluating/planning—initiating the applying process | [11,144] |
| Construct | Construct | Frequency | Percentage (%) |
|---|---|---|---|
| Gender | Male | 31 | 76.32% |
| Female | 9 | 23.68% | |
| Age | 35–40 | 4 | 10.53% |
| 41–45 | 10 | 26.32% | |
| 46–50 | 13 | 34.21% | |
| Over 50 | 11 | 28.95% | |
| Education level | Bachelor of Science | 17 | 44.74% |
| Diploma | 4 | 10.53% | |
| Master | 16 | 42.11% | |
| PhD | 1 | 2.63% | |
| Field of study | Computer Science | 13 | 31.58% |
| IT | 16 | 42.11% | |
| Engineering | 3 | 7.89% | |
| Management | 5 | 13.16% | |
| Others | 2 | 5.26 % | |
| Position in organizations | Senior Manager | 10 | 26.32% |
| Information Technology Manager | 5 | 13.16% | |
| IT managers | 9 | 23.68% | |
| Chief Technology Officers | 2 | 5.26 % | |
| Executive Manager | 6 | 15.79% | |
| IT Network Manager | 4 | 10.53% | |
| Chief Information Officer | 2 | 5.26 % | |
| Experience | 1–5 Years | 4 | 10.53% |
| 5–10 Years | 11 | 28.95% | |
| Above 10 Years | 23 | 60.53% | |
| E-services type | Information Publishing | 4 | 10.53% |
| One-way Interactive | 6 | 15.79% | |
| Two-ways Interactive | 13 | 34.21% | |
| Transactional | 15 | 39.47% | |
| Cloud computing knowledge | Little knowledge | 5 | 13.16% |
| Some knowledge | 8 | 21.05% | |
| Good fundamental knowledge | 14 | 36.48% | |
| An expert | 11 | 28.95% | |
| Total | 38 | 100% |
| SN | Dimension/Construct | Mean | Minimum | Maximum | Variance | N of Items |
|---|---|---|---|---|---|---|
| 1 | Relative advantage | 3.96 | 3.12 | 4.30 | 0.219 | 5 |
| 2 | Compatibility | 3.60 | 3.56 | 3.61 | 0.002 | 5 |
| 3 | Complexity | 3.59 | 3.54 | 3.68 | 0.003 | 5 |
| 4 | Trialability | 3.49 | 3.42 | 3.54 | 0.002 | 4 |
| 5 | Observability | 3.44 | 3.37 | 3.52 | 0.004 | 5 |
| 6 | Security | 3.80 | 3.61 | 4.42 | 0.181 | 4 |
| 7 | Availability | 3.87 | 3.81 | 3.93 | 0.004 | 4 |
| 8 | Technology readiness | 3.71 | 3.65 | 3.79 | 0.003 | 6 |
| 9 | Top management support | 3.44 | 3.40 | 3.52 | 0.004 | 5 |
| 10 | Return on Investment | 3.35 | 3.42 | 3.41 | 0.002 | 4 |
| 11 | Transparency | 3.56 | 3.52 | 3.72 | 0.003 | 5 |
| 12 | Government laws and regulation | 3.62 | 3.56 | 3.69 | 0.003 | 5 |
| 13 | Service Level Agreement (SLA) | 3.52 | 3.45 | 3.60 | 0.002 | 6 |
| 14 | Trust | 4.00 | 3.20 | 4.15 | 0.205 | 6 |
| 15 | Intention to adopt CC | 3.61 | 3.54 | 3.73 | 0.004 | 4 |
| Construct | Item Code | Loadings | Construct | Item Code | Loadings |
|---|---|---|---|---|---|
| Relative Advantage | RA1 | 0.805 | Technology readiness | TER3 | 0.759 |
| RA2 | 0.810 | TER4 | 0.730 | ||
| RA3 | 0.919 | Top management Support | TOP1 | 0.890 | |
| RA4 | 0.889 | TOP2 | 0.932 | ||
| RA5 | 0.830 | TOP3 | 0.910 | ||
| Compatibility | COMP1 | 0.820 | TOP4 | 0.897 | |
| COMP3 | 0.880 | Return on Investment | ROI1 | 0.860 | |
| COMP4 | 0.820 | ROI2 | 0.767 | ||
| COMP5 | 0.843 | ROI3 | 0.741 | ||
| Complexity | COMX1 | 0.776 | ROI4 | 0.838 | |
| COMX3 | 0.850 | Transparency | TRA2 | 0.819 | |
| COMX4 | 0.901 | TRA3 | 0.861 | ||
| COMX5 | 0.910 | TRA4 | 0.770 | ||
| Trialability | TRL1 | 0.795 | TRA5 | 0.720 | |
| TRL2 | 0.840 | Government laws and regulation | GLR1 | 0.805 | |
| TRL3 | 0.902 | GLR3 | 0.780 | ||
| TRL4 | 0.890 | GLR4 | 0.830 | ||
| Observability | OBS1 | 0.770 | GLR5 | 0.871 | |
| OBS2 | 0.791 | Service Level Agreement (SLA) | SLA2 | 0.891 | |
| OBS3 | 0.840 | SLA3 | 0.770 | ||
| OBS4 | 0.830 | SLA5 | 0.842 | ||
| Security | SEC1 | 0.883 | SLA6 | 0.869 | |
| SEC2 | 0.859 | Trust | TRU1 | 0.878 | |
| SEC3 | 0.830 | TRU2 | 0.875 | ||
| SEC4 | 0.920 | TRU3 | 0.850 | ||
| Availability | AVA1 | 0.890 | TRU4 | 0.910 | |
| AVA3 | 0.930 | Intention to adopt cloud | ICC1 | 0.851 | |
| AVA4 | 0.793 | ICC2 | 0.813 | ||
| Technology readiness | TER1 | 0.750 | ICC3 | 0.801 | |
| TER2 | 0.765 |
| Construct | Cronbach’s Alpha | Composite Reliability | Items |
|---|---|---|---|
| Relative advantage | 0.904 | 0.929 | 5 |
| Compatibility | 0.839 | 0.888 | 5 |
| Complexity | 0.840 | 0.885 | 5 |
| Trial ability | 0.802 | 0.821 | 4 |
| Observability | 0.825 | 0.880 | 5 |
| Security | 0.919 | 0.940 | 4 |
| Availability | 0.820 | 0.880 | 4 |
| Technology readiness | 0.896 | 0.942 | 5 |
| Top management support | 0.928 | 0.948 | 5 |
| Return on Investment | 0.772 | 0.890 | 4 |
| Transparency | 0.838 | 0.889 | 4 |
| Government laws and regulation | 0.843 | 0.893 | 5 |
| Service Level–Agreement | 0.871 | 0.910 | 5 |
| Trust | 0.902 | 0.932 | 6 |
| Intention to adopt cloud | 0.801 | 0.873 | 6 |
| Construct | AVE |
|---|---|
| Relative advantage | 0.725 |
| Compatibility | 0.676 |
| Complexity | 0.610 |
| Trial ability | 0.540 |
| Observability | 0.648 |
| Security | 0.809 |
| Availability | 0.648 |
| Technology readiness | 0.848 |
| Top management support | 0.824 |
| Return on Investment | 0.630 |
| Transparency | 0.668 |
| Government laws and regulation | 0.686 |
| Service Level Agreement (SLA). | 0.712 |
| Trust | 0.763 |
| Intention to adopt cloud | 0.632 |
| Construct | RA | COM | COMX | TRI | OBS | SEC | AVA | TOP | TER | ROI | TRS | GLR | SLA | TRU | ICC |
|---|---|---|---|---|---|---|---|---|---|---|---|---|---|---|---|
| RA1 | 0.856 | ||||||||||||||
| COMP1 | 0.382 | 0.841 | |||||||||||||
| COMX1 | 0.306 | 0.422 | 0.896 | ||||||||||||
| TRL1 | 0.393 | 0.312 | 0.241 | 0.940 | |||||||||||
| OBS1 | 0.311 | 0.378 | −0.234 | −0.142 | 0.810 | ||||||||||
| SEC | 0.419 | 0.517 | 0.311 | 0.352 | 0.333 | 0.835 | |||||||||
| AVA | −0.109 | 0.143 | 0.242 | 0.218 | −0.084 | 0.410 | 0.962 | ||||||||
| TER | 0259 | 0.312 | 0.492 | 0.206 | 0.214 | 0.098 | 0.281 | 0.752 | |||||||
| TOP | 0.318 | 0.388 | 0.462 | 0.268 | 0.220 | 0.114 | 0.479 | 0.501 | 0.905 | ||||||
| ROI | 0.289 | 0.594 | 0.365 | 0.448 | 0.274 | 0.203 | 0.303 | 0.470 | 0.432 | 0.804 | |||||
| TRA | 0.381 | 0.389 | 0.264 | 0.355 | 0.414 | 0.485 | 0.416 | 0.236 | 0.587 | 0.237 | 0.794 | ||||
| GLR | 0.328 | 0.321 | 0.269 | 0.277 | 0.293 | 0.132 | 0.238 | 0.402 | 0.403 | 0.339 | 0.350 | 0.822 | |||
| SLA | 0.275 | 0.423 | 0.264 | 0.180 | 0.052 | 0.342 | 0.369 | 0.229 | 0.664 | 0.582 | 0.427 | 0.393 | 0.845 | ||
| TRU | 0.356 | 0.272 | 0.181 | −0.302 | 0.108 | 0.195 | 0.155 | 0.453 | 0.278 | 0.504 | 0.231 | 0.283 | 0.246 | 0.878 | |
| ICC | 0.462 | 0.22 | 0.542 | 0.195 | 0.480 | 0.604 | 0.445 | 0.268 | 0.466 | 0.374 | 0.534 | 0.279 | 0.270 | 0.580 | 0.830 |
| Construct | RA | COM | COMX | TRI | OBS | SEC | AVA | TOP | TER | ROI | TRS | GLR | SLA | TRU | ICC |
|---|---|---|---|---|---|---|---|---|---|---|---|---|---|---|---|
| 1 RA | |||||||||||||||
| 2 COMP | 0.71 | ||||||||||||||
| 3 COMPX | 0.76 | 0.61 | |||||||||||||
| 4 TRL | 0.68 | 0.54 | 0.75 | ||||||||||||
| 5 OBS | 0.45 | 0.40 | 0.48 | 0.68 | |||||||||||
| 6 SEC | 0.59 | 0.46 | 0.63 | 0.60 | 0.79 | ||||||||||
| 7 AVA | 0.57 | 0.50 | 0.62 | 0.48 | 0.33 | 0.83 | |||||||||
| 8 TER | 0.51 | 0.43 | 0.37 | 0.39 | 0.55 | 0.31 | 0.71 | ||||||||
| 9 TOP | 0.56 | 0.49 | 0.59 | 0.66 | 0.74 | 0.43 | 0.40 | 0.81 | |||||||
| 10 ROI | 0.57 | 0.60 | 0.58 | 0.40 | 0.71 | 0.60 | 0.50 | 0.57 | 0.74 | ||||||
| 11 TRA | 0.65 | 0.48 | 0.44 | 0.46 | 0.67 | 0.55 | 0.32 | 0.42 | 0.59 | 0.83 | |||||
| 12 GLR | 0.52 | 0.48 | 0.47 | 0.43 | 0.76 | 0.62 | 0.40 | 0.56 | 0.60 | 0.82 | 0.73 | ||||
| 13 SLA | 0.71 | 0.59 | 0.68 | 0.68 | 0.68 | 0.59 | 0.48 | 0.47 | 0.75 | 0.73 | 0.80 | 0.78 | |||
| 14 TRU | 0.55 | 0.63 | 0.61 | 0.73 | 0.58 | 0.46 | 0.68 | 0.40 | 0.67 | 0.51 | 0.46 | 0.51 | 0.71 | ||
| 15 ICC | 0.51 | 0.43 | 0.68 | 0.78 | 0.45 | 0.40 | 0.50 | 0.57 | 0.58 | 0.40 | 0.50 | 0.62 | 0.48 | 0.82 |
Publisher’s Note: MDPI stays neutral with regard to jurisdictional claims in published maps and institutional affiliations. |
© 2022 by the authors. Licensee MDPI, Basel, Switzerland. This article is an open access article distributed under the terms and conditions of the Creative Commons Attribution (CC BY) license (https://creativecommons.org/licenses/by/4.0/).
Share and Cite
Abied, O.; Ibrahim, O.; Kamal, S.N.-I.M.; Alfadli, I.M.; Binjumah, W.M.; Ithnin, N.; Nasser, M. Probing Determinants Affecting Intention to Adopt Cloud Technology in E-Government Systems. Sustainability 2022, 14, 15590. https://doi.org/10.3390/su142315590
Abied O, Ibrahim O, Kamal SN-IM, Alfadli IM, Binjumah WM, Ithnin N, Nasser M. Probing Determinants Affecting Intention to Adopt Cloud Technology in E-Government Systems. Sustainability. 2022; 14(23):15590. https://doi.org/10.3390/su142315590
Chicago/Turabian StyleAbied, Osama, Othman Ibrahim, Siti Nuur-Ila Mat Kamal, Ibrahim M. Alfadli, Weam M. Binjumah, Norafida Ithnin, and Maged Nasser. 2022. "Probing Determinants Affecting Intention to Adopt Cloud Technology in E-Government Systems" Sustainability 14, no. 23: 15590. https://doi.org/10.3390/su142315590
APA StyleAbied, O., Ibrahim, O., Kamal, S. N.-I. M., Alfadli, I. M., Binjumah, W. M., Ithnin, N., & Nasser, M. (2022). Probing Determinants Affecting Intention to Adopt Cloud Technology in E-Government Systems. Sustainability, 14(23), 15590. https://doi.org/10.3390/su142315590

