Research on Recycling Various Wastes in Papermaking as Eco-Friendly Slurry
Abstract
1. Introduction
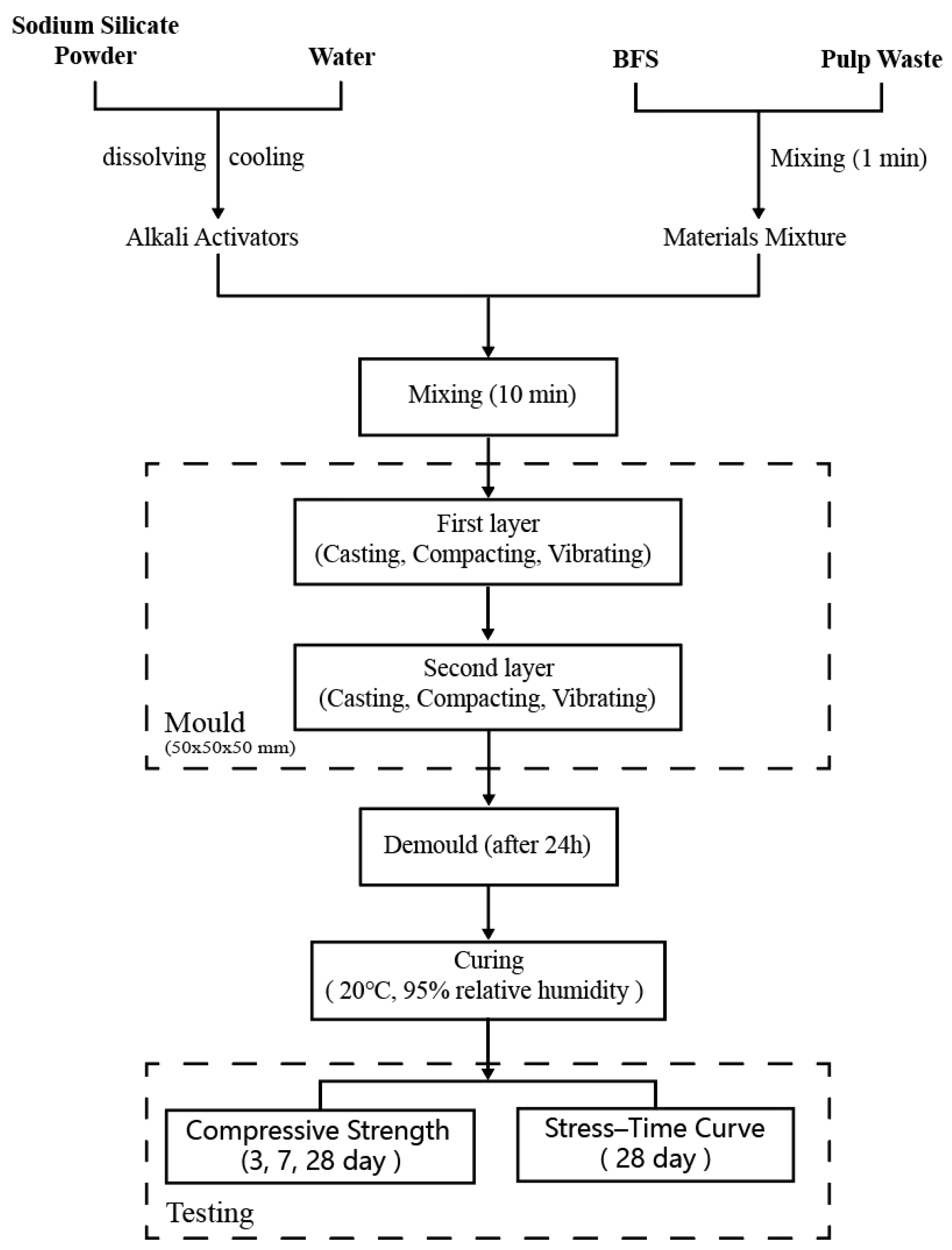
2. Materials and Methods
3. Results and Discussion
3.1. Effect of Single-Type Paper Waste (SPW) Substitution Proportion
3.2. Effect of Paper Waste Mixture (PWM) Proportion
3.3. Texture Change of PWM Slurry
3.4. Effect of Declining Alkali Equivalent
4. Conclusions
- (1)
- According to the experimental results, the compressive strength showed a huge span of 14.5~73.7 MPa after curing for 28 days. When the BFS was partially substituted by the same proportion of wastes, the compressive strength decreased sequentially from the lime mud, paper sludge, bottom ash, and wood chips. The effect of the mixture of the lime mud and paper sludge on the compressive strength showed that for every 5% reduction in the proportion of lime mud, the strength decreased by nearly 2.5 MPa.
- (2)
- From the stress-time curves, neither the lime mud nor the bottom ash contributed to the flexibility of the slurry. On the contrary, the paper sludge and wood chips significantly optimized the slurries. In order to strike a balance between the compressive strength and the flexibility proportion, 20% of the waste substitution should be preliminarily determined as the suitable proportion.
- (3)
- Considering the possibility of adding wood chips as decoration materials, 15% of wood chips and 5% of paper sludge are appropriate proportions in the mixture.
- (4)
- For the alkali-activated mixture of wastes and BFS, 6% of AE was the best ratio for the activator with the silicate modulus (Ms) fixed at 0.9.
Author Contributions
Funding
Data Availability Statement
Acknowledgments
Conflicts of Interest
Nomenclature
| BFS | blast furnace slag |
| SPW | the single-type papermaking wastes |
| PWM | the paper waste mixture |
| AE | alkali equivalent |
| Ms | silicate modulus |
| W/B | water-binder ratio |
| wt.% | weight percentage |
References
- Lombard, B. Cepi Preliminary Statistics Report 2021; Confederation of European Paper Industries: Brussels, Belgium, 2022; p. 2. Available online: https://www.cepi.org/statistics/ (accessed on 23 February 2022).
- Kilinc, M.B. Epicellulyse XT (Xerophilic Technology)-Paper Mill Sludge (Waste) to Energy & amp; Organic Fertilizer. Available online: https://sdgs.un.org/partnerships/epicellulyse-xt-xerophilic-technology-paper-mill-sludge-waste-energyorganic-fertilizer (accessed on 18 September 2022).
- Suhr, M.; Klein, G.; Kourti, I.; Gonzalo, M.R.; Santonja, G.G.; Roudier, S.; Sancho, L.D. Best Available Techniques (Bat) Reference Document for the Production of Pulp, Paper and Board; Publications Office of the European Union: Luxembourg, 2015; Volume 906. [Google Scholar]
- Monte, M.C.; Fuente, E.; Blanco, A.; Negro, C. Waste management from pulp and paper production in the European Union. Waste Manag. 2009, 29, 293–308. [Google Scholar] [CrossRef] [PubMed]
- Gavrilescu, D. Energy from biomass in pulp and paper mills. Environ. Eng. Manag. J. 2008, 7, 537–546. [Google Scholar] [CrossRef]
- Tarnawski, W. Emission factors for combustion of biomass fuels in the pulp and paper mills. Czas. Fibres Text. East. Eur. 2004, 12, 91–95. [Google Scholar]
- van Ewijk, S.; Park, J.Y.; Chertow, M. Quantifying the system-wide recovery potential of waste in the global paper life cycle. Resour. Conserv. Recycl. 2018, 134, 48–60. [Google Scholar] [CrossRef]
- Kaur, R.; Tyagi, R.D.; Zhang, X. Review on pulp and paper activated sludge pretreatment, inhibitory effects and detoxification strategies for biovalorization. Environ. Res. 2020, 182, 109094. [Google Scholar] [CrossRef] [PubMed]
- Martins, F.M.; Martins, J.M.; Ferracin, L.C.; da Cunha, C.J. Mineral phases of green liquor dregs, slaker grits, lime mud and wood ash of a Kraft pulp and paper mill. J. Hazard. Mater. 2007, 147, 610–617. [Google Scholar] [CrossRef]
- de Azevedo, A.R.G.; Alexandre, J.; Pessanha, L.S.P.; Manhães, R.d.S.T.; de Brito, J.; Marvila, M.T. Characterizing the paper industry sludge for environmentally-safe disposal. Waste Manag. 2019, 95, 43–52. [Google Scholar] [CrossRef]
- Buruberri, L.H.; Seabra, M.P.; Labrincha, J.A. Preparation of clinker from paper pulp industry wastes. J. Hazard. Mater. 2015, 286, 252–260. [Google Scholar] [CrossRef]
- Singh, S.K.; Singh, A.; Singh, B.; Vashistha, P. Application of thermo-chemically activated lime sludge in production of sustainable low clinker cementitious binders. J. Clean. Prod. 2020, 264, 121570. [Google Scholar] [CrossRef]
- Ferreiro, S.; Frías, M.; Vigil de la Villa, R.; Sánchez de Rojas, M.I. The influence of thermal activation of art paper sludge on the technical properties of blended Portland cements. Cem. Concr. Compos. 2013, 37, 136–142. [Google Scholar] [CrossRef]
- Ukrainczyk, N.; Vrbos, N.; Koenders, E.A.B. Reuse of woody biomass ash waste in cementitious materials. Chem. Biochem. Eng. Q. 2016, 30, 137–148. [Google Scholar] [CrossRef]
- Yi, T.; Liou, S.-R.; Kuo, W.-Y. The Interaction Effects of the Parameters on Optimization Design in Paper Production Waste Usage on Alkali-Activated Slag with Taguchi Method. J. Renew. Mater. 2022, 10, 1753–1772. [Google Scholar] [CrossRef]
- Wyrzykowski, M.; Ghourchian, S.; Sinthupinyo, S.; Chitvoranund, N.; Chintana, T.; Lura, P. Internal curing of high performance mortars with bottom ash. Cem. Concr. Compos. 2016, 71, 1–9. [Google Scholar] [CrossRef]
- Wang, S.-D.; Scrivener, K.L.S. Hydration products of alkali activated slag cement. Cem. Concr. Res. 1995, 25, 561–571. [Google Scholar] [CrossRef]
- Xu, H.; Van Deventer, J.S.J. The geopolymerisation of alumino-silicate minerals. Int. J. Miner. Process. 2000, 59, 247–266. [Google Scholar] [CrossRef]
- Chen, J.-H. Silicon-Contained Waste as a Raw Material of Inorganic Polymers. Ph. D. Thesis, National Cheng Kung University, Tainan City, Taiwan, 2009. [Google Scholar]
- Huang, K.; Fan, X.; Gan, M.; Ji, Z. Use of Municipal Solid Waste Incinerator (MSWI) Fly Ash in Alkali Activated Slag Cement. In Characterization of Minerals, Metals, and Materials 2019; Springer: Berlin/Heidelberg, Germany, 2019; pp. 401–410. [Google Scholar]
- Gao, X.; Yuan, B.; Yu, Q.L.; Brouwers, H.J.H. Characterization and application of municipal solid waste incineration (MSWI) bottom ash and waste granite powder in alkali activated slag. J. Clean. Prod. 2017, 164, 410–419. [Google Scholar] [CrossRef]
- Kang, S.-P.; Kwon, S.-J.J.C.; Materials, B. Effects of red mud and alkali-activated slag cement on efflorescence in cement mortar. Constr. Build. Mater. 2017, 133, 459–467. [Google Scholar] [CrossRef]
- Liu, G.; Florea, M.; Brouwers, H.J.H. Waste glass as binder in alkali activated slag–fly ash mortars. Mater. Struct. 2019, 52, 101. [Google Scholar] [CrossRef]
- Long, W.-J.; Tan, X.-W.; Xiao, B.-X.; Han, N.-X.; Xing, F. Effective use of ground waste expanded perlite as green supplementary cementitious material in eco-friendly alkali activated slag composites. J. Clean. Prod. 2019, 213, 406–414. [Google Scholar] [CrossRef]
- Choi, H.; Choi, Y.C. Setting characteristics of natural cellulose fiber reinforced cement composite. Constr. Build. Mater. 2021, 271, 121910. [Google Scholar] [CrossRef]
- Dai, X.; Aydin, S.; Yücel Yardimci, M.; Qiang, R.E.N.; Lesage, K.; De Schutter, G. Rheology, early-age hydration and microstructure of alkali-activated GGBFS-Fly ash-limestone mixtures. Cem. Concr. Compos. 2021, 124, 104244. [Google Scholar] [CrossRef]
- de Azevedo, A.R.G.; Alexandre, J.; Xavier, G.d.C.; Pedroti, L.G. Recycling paper industry effluent sludge for use in mortars: A sustainability perspective. J. Clean. Prod. 2018, 192, 335–346. [Google Scholar] [CrossRef]
- Saeli, M.; Senff, L.; Tobaldi, D.M.; Carvalheiras, J.; Seabra, M.P.; Labrincha, J.A. Unexplored alternative use of calcareous sludge from the paper-pulp industry in green geopolymer construction materials. Constr. Build. Mater. 2020, 246, 118457. [Google Scholar] [CrossRef]
- Silva, G.; Kim, S.; Bertolotti, B.; Nakamatsu, J.; Aguilar, R.J.C.; Materials, B. Optimization of a reinforced geopolymer composite using natural fibers and construction wastes. Constr. Build. Mater. 2020, 258, 119697. [Google Scholar] [CrossRef]
- Shi, C.; Roy, D.; Krivenko, P. Alkali-Activated Cements and Concretes; CRC Press: Boca Raton, FL, USA, 2003. [Google Scholar]










| Item | SiO2 (wt. %) | CaO (wt. %) | Al2O3 (wt. %) | SO3 (wt. %) | Fe2O3 (wt. %) | L.O.I (wt. %) | Other (wt. %) |
|---|---|---|---|---|---|---|---|
| BFS | 28.1 | 53.7 | 13.2 | -- | 0.5 | -- | 4.5 |
| lime mud | -- | 71.6 | -- | 16.2 | 3.4 | 3.2 | 1.5 |
| paper sludge | -- | 18.2 | -- | 3.7 | 0.5 | 74.2 | 2.1 |
| bottom ash | 33.5 | 16.7 | 14.1 | 5.2 | 7.9 | 18.2 | 4.4 |
| Experiment No. | Solid Materials wt.% | AE | Ms | W/B | ||||
|---|---|---|---|---|---|---|---|---|
| BFS | Lime Mud | Bottom Ash | Paper Sludge | Wood Chip | ||||
| S0 | 100 | -- | -- | -- | -- | 10% | 0.93 | 0.5 |
| S9L1 | 90 | 10 | -- | -- | -- | |||
| S8L2 | 80 | 20 | -- | -- | -- | |||
| S7L3 | 70 | 30 | -- | -- | -- | |||
| S9B1 | 90 | -- | 10 | -- | -- | |||
| S8B2 | 80 | -- | 20 | -- | -- | |||
| S7B3 | 70 | -- | 30 | -- | -- | |||
| S9P1 | 90 | -- | -- | 10 | -- | 0.6 | ||
| S8P2 | 80 | -- | -- | 20 | -- | |||
| S7P3 | 70 | -- | -- | 30 | -- | |||
| S9W1 | 90 | -- | -- | -- | 10 | |||
| S8W2 | 80 | -- | -- | -- | 20 | |||
| S7W3 | 70 | -- | -- | -- | 30 | |||
| Experiment No. | Solid Materials wt.% | AE | Ms | W/B | ||
|---|---|---|---|---|---|---|
| BFS | Lime Mud | Paper Sludge | ||||
| PWM4-1 | 60 | 30 | 10 | 10% | 0.93 | 0.5 |
| PWM4-2 | 60 | 20 | 20 | |||
| PWM5-1 | 50 | 40 | 10 | |||
| PWM5-2 | 50 | 35 | 15 | |||
| PWM5-3 | 50 | 30 | 20 | |||
| PWM5-4 | 50 | 25 | 25 | |||
| PWM5-5 | 50 | 20 | 30 | |||
| Experiment No. | Solid Materials wt.% | AE | Ms | W/B | |||
|---|---|---|---|---|---|---|---|
| BFS | Lime Mud | Paper Sludge | Wood Chips | ||||
| PWM3-1 | 70 | 10 | 20 | 0 | 10% | 0.93 | 0.5 |
| PWM3-2 | 70 | 10 | 15 | 5 | |||
| PWM3-3 | 70 | 10 | 10 | 10 | |||
| PWM3-4 | 70 | 10 | 5 | 15 | |||
| PWM3-5 | 70 | 10 | 0 | 20 | |||
Publisher’s Note: MDPI stays neutral with regard to jurisdictional claims in published maps and institutional affiliations. |
© 2022 by the authors. Licensee MDPI, Basel, Switzerland. This article is an open access article distributed under the terms and conditions of the Creative Commons Attribution (CC BY) license (https://creativecommons.org/licenses/by/4.0/).
Share and Cite
Yi, T.; Liou, S.-R.; Kuo, W.-Y. Research on Recycling Various Wastes in Papermaking as Eco-Friendly Slurry. Sustainability 2022, 14, 13536. https://doi.org/10.3390/su142013536
Yi T, Liou S-R, Kuo W-Y. Research on Recycling Various Wastes in Papermaking as Eco-Friendly Slurry. Sustainability. 2022; 14(20):13536. https://doi.org/10.3390/su142013536
Chicago/Turabian StyleYi, Teng, Shuenn-Ren Liou, and Wen-Yih Kuo. 2022. "Research on Recycling Various Wastes in Papermaking as Eco-Friendly Slurry" Sustainability 14, no. 20: 13536. https://doi.org/10.3390/su142013536
APA StyleYi, T., Liou, S.-R., & Kuo, W.-Y. (2022). Research on Recycling Various Wastes in Papermaking as Eco-Friendly Slurry. Sustainability, 14(20), 13536. https://doi.org/10.3390/su142013536

