Abstract
Evacuation signs are one of the key factors which influence the building evacuation efficiency and evacuees’ route choice behaviors. It is important to test the effectiveness of evacuation signs, and an eye movement test was verified to be a good way. In this paper, both reality and MR (Mixed-Reality) evacuation experiments were carried out to collect the eye movement data of participants, such as gaze position, fixation duration, and number of gazes. In the reality experiment, participants took part in an emergency evacuation at a T-junction corridor with the glass-type eye-tracking device. In order to collect eye movement data in the MR experiment, the eye tracking device was integrated into the Microsoft HoloLens device (MR-ET for short). In either reality or MR experiments, each participant took part in five sub-experiments with five different types of evacuation signs. It was found that (1) the evacuation signs with a black background, green foreground and flashing lights have a better effect in guidance; (2) the flashing lights can better attract the attention of the participants, and enhanced the participants’ understanding of the signs. (3) An X-mark will hinder participants’ understanding of the signs and increase their reaction time. According to the results of the experiments, it is also found that the eye-tracking test in an MR environment is also a good method to test the effectiveness of the evacuation signs, and such a method can also be used in building safety design without damaging a wall or changing the reality environment of a building.
1. Introduction
There are more and more buildings with complex indoor structures in cities, such as shopping malls, theaters, cinemas, airports, etc. Under normal circumstances, this kind of indoor place is a closed complex environment, there are many intersections and obstacles inside the building, with the characteristics of large area, complex structure, multiple exits, etc. [1]. Wayfinding in such large complex structures can be disorienting, a problem that can be more severe than normal in an emergency (such as a fire). Signage systems can help solve this problem [2]. The evacuation signs in the building play a key role in the evacuation of the crowd. A reasonable evacuation sign will reduce the evacuees’ route-choice time and maintain an orderly evacuation, while a poor evacuation sign may cause crowd congestion or cause wrong route choice, which lead to slow evacuation [3,4]. Therefore, if there are no good evacuation signs to guide the occupants, the efficiency of evacuation will be significantly reduced.
Many factors affect how people evacuate buildings, such as the environment of the building, other people, and evacuation signs. During an evacuation, people’s familiarity with the environment will affect evacuation efficiency [5]. Individual behaviors may also affect the evacuation process, as people become nervous and afraid in emergency situations [6,7]. For example, individuals may take the predecessor’s route to escape due to herding behavior [8,9]. At this time, the importance of evacuation signs is reflected even more. Evacuation signs play an important role in indoor evacuation and impact evacuation behavior. The evacuees are affected by evacuation signs and make decisions after analyzing the identification signs.
The impact of different signs on individuals is still unclear. Factors such as the signs’ style, color, and location may impact an individual’s route choice during evacuation. Studies have found that green is more suitable for the background color of evacuation signs than red (green background with red LED·X mark) [10]. Therefore, many countries have formulated evacuation signs regulations and guidelines to match these findings [11,12,13]. In the present study, the image of the running man in evacuation signs is selected as the research object to explore the influence of evacuation signs on people’s choice of evacuation direction, as it is found that the image of a running man can convey direction information. Spatial Stroop interference occurs, leading to a longer reaction time in the direction selection process [14]. According to the principle of ergonomics, studying the interaction between evacuation signs and evacuees helps to provide a better understanding of human evacuation behavior in emergencies and designing the most efficient building evacuation signs to improve the efficiency of emergency evacuation situations [15]. What kinds of evacuation signs are the most effective for evacuees to pay attention to? How does the design of an evacuation sign affect an individual’s evacuation decision? Can a virtual evacuation sign in the MR scene replace actual evacuation signs? These questions urgently need to be solved to ensure increased efficiency in emergency evacuation situations.
In order to solve the above problems, two sets of eye tracking experiments were carried out, using glass-type eye-tracking devices and MR-ET equipment to quantitatively study the effectiveness and impact of evacuation signs in the pedestrian evacuation process in the T-junction corridor. Section 2 introduces the relevant experimental research surrounding evacuation signs, the application of eye-tracking technology, and the application of virtual reality (VR) and eye-tracking technology in evacuation experiments. Section 3 introduces the experimental building layout, experimental design, eye tracker and MR equipment. Section 4 analyzes the data of the two sets of experiments with statistics and regression methods.
2. Literature Review
2.1. Evacuation Signs
Signs play a very important role in evacuation, and the interaction between individuals and signs is complex. Therefore, there are a lot of studies on the effectiveness of evacuation signs and their impact on pedestrian behavior. For this reason, various simulations [16,17,18,19] and experiments [20] have been carried out. Kim et al. [2] conducted some experiments considering viewing distance and angle using a backlit signage system, introduced the concept of effective cognition area (ECA), and analyzed cognitive changes under smog conditions. Bae et al. [21] analyzed the decision time and follow-up rate required for participants to observe visual stimuli of signs preceding a T-junction. It was found that participants showed shorter decision time to the right arrow direction of the sign, and decision time increased when the sign was mounted in a lower vertical position.
Ronchi et al. [22] used two simulation tools to study the influence of different emergency exit signs in the tunnel. In a smoky environment, the pedestrian’s vision was concentrated on the signs. Nassar [23] also used an agent-based model to evaluate the visibility of signs and found that pedestrians tend to ignore these signs when the visible distance is greater. Jeon et al. [24] studied the influence of exit signs with different design features and visibility conditions on the evacuation pathfinding speed in a complex underground subway station. Larger signs were found to improve evacuation speed, and the effect of changing exit sign characteristics became greater with increased visibility. Wong and Lo [25] conducted experiments in corridors to analyze the visibility of evacuation signs by considering four factors (shape, color, lighting conditions, and age of evacuees) that affect the visibility of evacuation signs. It was found that green evacuation signs were highly visible, and pedestrians were better able to recognize the signs when the signs were positioned higher and with weaker lighting. Fu et al. [26] also found that flashing red increases the feeling of discouragement.
Kwee-Meier et al. [27] focused on age-related decision-making differences—that is, the decision-making differences between evacuation signs in emergency situations. They found that the decision making of elderly evacuated persons relied on comprehensive information about sign updates and the stimulation of flashing element reports. In the young, evacuation decision making is only significantly affected by the flashing element on the sign. Fu et al. [26] conducted individual evacuation and group evacuation experiments, revealing how participants individually or in a group can see and obey the information conveyed by the signs, and through the analysis of the results of the questionnaire, they found that pedestrians under individual conditions are better than those under group conditions. Individuals are more likely to see and obey signs.
Although the existing literature has conducted more research on the effectiveness of evacuation signs, the experimental data are still insufficient. On the one hand, the effectiveness of evacuation behavior and evacuation signs may vary with different evacuation factors. The evacuation behavior and evacuation effect in T-junction scenarios need further research. On the one hand, the questionnaire survey method is mainly used to investigate the data and decision-making behaviors of the evacuated persons interacting with signs, and relatively reliable quantitative analysis is still limited.
2.2. Application of Eye Tracking Technology in Evacuation Experiments
Eyes are an important way for human beings to obtain information, and can reflect the mental activities of individuals. Eye-tracking technology is an important method for studying people’s decision-making behavior, and has been widely used in many fields [28,29,30]. Wearable eye-tracking devices can record eye movement data such as gaze position, fixation duration, number of gazes, saccade frequency, pupil size, etc., to study the individual’s inner cognitive process. SMI’s BeGaze 3.0 eye movement data analysis software can automatically generate heat maps, eye-catching views, dust removal (duster), bee swarms, etc., providing intuitive results.
Huang [31] proposed a virtual crowd based on virtual geography experiments and crowd evacuation modeling theory in view of the difficulties in obtaining data on crowd evacuation behavior in disaster events and the difficulty in simulating group perception evacuation behavior in complex scenarios with classical social force models. Evacuation Geography Experimental Theory and Method. Using cutting-edge technologies such as virtual reality and eye tracking, the modeling and simulation of group perception behavior in complex scenes is carried out mainly from two aspects: sign perception and group behavior. Ma [32] designed two groups of virtual eye movement evacuation experiments. Taking the office building as the experimental area, with the help of the virtual eye movement experiment, the unreasonable layout of the directional emergency evacuation signs in the experimental area was analyzed. An effective modification and optimization scheme is designed to improve the pointing function of emergency evacuation signs. Li et al. [33], from the perspective of human factors engineering, used eye-tracking technology to record the eye movement data of survivors in a specific situation, and combined the fuzzy evaluation method to explore the effectiveness of evacuation signs in this situation. Gruden et al. [34] proposed that pedestrian attention and response are two important factors affecting their safety. Eye tracking technology is used to obtain data on pedestrians’ gaze times, duration and reaction time. Through analysis, it is found that there are significant differences in intersections with different types of signals, pedestrian behaviors, and behaviors with or without mobile phones. Sun C et al. [35] proposed a research idea based on mobile eye tracking technology to explore the cognitive process of wayfinding in the real environment from the complexity and potential high risk of indoor public spaces in large commercial complexes. Yang et al. [36] aimed at the problems of high dependence on the site environment, low controllability of experimental conditions, high cost of mission failure, and insufficient objective data in the pathfinding process in traditional pathfinding research. Taking the problem of wayfinding in the body as an example, this paper discusses the significance and value of the technical method of virtual reality combined with eye tracking in the research of built environment behavior.
2.3. The Application of Mixed Reality/Augmented Reality/Virtual Reality and Other Technologies in the Field of Construction
Extended Reality (XR) technologies such as AR, VR and MR have influenced many industries, including architecture. Even though they are all capable of creating immersive digital worlds, the only one capable of merging the real world with a holographic 3D model by letting the user interact intuitively and naturally with the project is MR [37]. In recent years, Augmented Reality (AR) and Virtual Reality (VR) have shown their relevance in assisting various construction activities. Bsa B et al. [38] analyzed the frontier applications of AR and VR in architectural engineering construction (AEC) projects and the prevailing trend of their use. Dan et al. [39] designed and developed a mixed reality (MR) tool named HoloDesigner, which proved that HoloDesigner can successfully draw on-site 3D visualization and real-time interaction in the real surrounding environment to Control the 3D model. This research provides new insights into the use of MR technology to support site design efforts and helps overcome the limitations of existing MR tools for site visualization and interaction. Wu et al. [40] integrated digital twin (DT), deep learning (DL) and mixed reality (MR) technologies into a newly developed real-time visual alarm system, enabling construction workers to proactively determine their safety status and avoid accidents. Ma et al. [41] combined immersive virtual environment and eye tracking technology to design a VR eye movement perception experiment, taking indoor channels as an example, using quantitative observation, data statistics, visual analysis and other methods, the data of evacuation time, eye movement fixation point and individual movement trajectories under different virtual fire escape scenarios are processed and analyzed, and finally the layout of indoor emergency evacuation signs is evaluated and reasonable suggestions are put forward.
The research methods and experimental forms of some key literatures are summarized in Table 1.
Table 1.
Previous studies overview.
3. Experiment Design
3.1. Building Layout and Experimental Devices
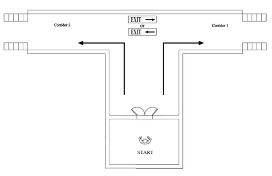
Both sets of experiments were carried out in a building of the People’s Public Security University of China, using the T-junction corridor for experiments, with the layout shown in Figure 1.
Figure 1.
Schematic diagram of “T” junction corridor.
Experiment 1 mainly used a glass-type eye tracking device, and the device (as shown in Figure 2a) is an SMI glass-type eye tracking device, which are connected to a mobile phone that can be held in the hands of the participants (as shown in Figure 2b), which are used to calibrate the eye movements of the participants and store experimental data.
Figure 2.
Eye tracking device. (a) Glasses type Eye Tracking device. (b) Participants with eye tracking device.
Experiment 2 adopts mixed-reality technology to build an experimental environment. Mixed reality is the result of the combination of the real world and a virtual world. The technology first scans, analyzes, and recognizes the real world, and stores the results as electronic information. Starting from the real world, virtual objects and characters are arranged in it, and virtual structures can also be used to describe the structure of the real world. On 22 January 2015, Microsoft released the first-generation mixed-reality device Microsoft HoloLens, which realizes the hybridization of the virtual world and the real world, placing users in a mixed-reality world. This experiment is mainly carried out by integrating an eye tracker (wearing MR-ET equipment) in MR. The first company to develop eye tracking adapted to HoloLens was Pupil, which specifically designed binocular pupil cameras and corresponding mounting brackets for HoloLens. Pupil eye tracker (HoloLens version) is used in this experiment, as shown in Figure 3:
Figure 3.
HoloLens integrated pupil eye-tracking device (MR-ET equipment).
3.2. Experiment Design
Two sets of experiments were carried out with a total of 40 participants. All participants were undergraduate and postgraduate students from the People’s Public Security University of China. Aged between 20 and 29 years old, they were all recruited publicly through social media postings, participated in the experiment in a paid and voluntary manner, and signed an informed consent form before the experiment.
Experiment 1 used a glass-type eye tracking device to conduct evacuation experiments in real scenes, and all evacuation signs were real objects; Experiment 2 used mixed-reality technology to scan and build an experimental environment, and then integrated the eye tracker into mixed-reality technology. A virtual evacuation sign was added to the scene to carry out experiments. Both sets of experiments were mainly analyzed by collecting eye movement data of evacuees. Four sets of evacuation sign features (color, location, shape, flashing or not) were set up in the experiment. The gaze behavior, whether directed towards signs and obedience behaviors in the route-choice process of pedestrians, was analyzed.
Both sets of experiments used five types of evacuation signs (Table 2), each with different characteristics. Sign 1 uses black as background and green as foreground. Sign 2 uses green as the background and white as the foreground. Sign 3 adds flashing lights on the basis of Sign 1. According to previous studies, green is more suitable as the color of evacuation signs than red, and a red background usually means that evacuation is prohibited [25,26]. Sign 4 and Sign 5 are dissuasive signs. Sign 4 uses red as the background and white as the foreground. Sign 5 adds a red X-mark on the basis of Sign 2, which also means that evacuation is prohibited. By comparing different models of signs, we can uncover the influence of different characteristics on the pros and cons of evacuation signs.
Table 2.
An atlas of experimental signs.
3.2.1. Experiment 1
Most evacuation signs are set up on the wall of the corridor and are either high or low. Evacuation signs need to be visible at night, so they usually have built-in lights or self-illumination. Preliminary experiments are used to test the location and form of evacuation signs. After preliminary experiments, a formal experiment was carried out and the following factors were analyzed: (1) the color of the background of the evacuation sign; (2) whether the sign has an X-mark; (3) whether it with flashing lights; (4) the position of the sign.
There are 22 participants in this group of experiments, all of whom are undergraduates from the People’s Public Security University of China. The specific experimental process of this group of experiments is mainly divided into four steps: in the first step, the experimenter introduces the experimental scenario and precautions to the participants. In the second step, the experimenter debugs and inspects the eye tracking device worn by the participant. In the third step, the experimenter guided the participants to conduct the experiment in groups, and before the experiment, the participants were not told to pay attention to the evacuation signs. When a participant reached the floor of the T-junction, he was blindfolded, and an experimenter guided the participant to a room, and then removed the blindfold. Following to the guidance of the experimenter, the participant could easily put the glasses on. After calibrating their eye movements, the participants were asked to face the door 3 m away. When the participant heard the alarm sound, the experiment started immediately, and when the stairwell was found, the experiment ended. During this period, the experimenter will carry out the replacement and change of the evacuation signs. Participants had their eyes closed at this time and did not understand the specific settings of the experiment. In the fourth step, the participants completed the experiment, and the experimenter conducted the corresponding questionnaire survey and eye movement data collection.
Twenty-two participants conducted evacuation experiments on all five evacuation signs after the prompt, and the experiment should be carried out once at the high and once at the low position of the signs. The starting point was confirmed uniformly before the start of the experiment, the unity of multiple experiments was ensured, and the participants were informed that only one path selection is required. The 22 participants were numbered 1, 2, 3, …, 22, and each participant conducted the experiment independently, which lasted about 15 min. The experiment sequence is Sign 1 (high first and then low), Sign 2 (low first and then high), Sign 3 (high first and then low), Sign 4 (low first and then high), and Sign 5 (high first and then low). After each experiment participant finished, the score questionnaire was recorded. Figure 4 shows the participants during the experiment.
Figure 4.
Participants during the experiment.
This paper compares the data prompting the study of gaze evacuation signs in Experiment 2 to determine the difference between the role of the MR virtual building signs and real signs, as well as to explore whether the virtual building signs in the MR device can be used to a certain extent instead of real evacuation signs. Based on these findings, it can then be judged whether the virtual signs in the MR device can be used as experimental evacuation signs. It is also concluded that the previously predicted flashing lights can effectively improve evacuation signs, promote people’s understanding of signs, and reduce reaction time. Furthermore, it is determined whether the X-mark will hinder people’s understanding of signs or improve people’s reaction time.
3.2.2. Experiment 2
This is shown in Figure 5. This experiment first uses HoloLens equipment to scan the structure of the T-junction to obtain the evacuation environment, render the evacuation sign in the 3D software, and use the HoloLens interactive function to place the evacuation sign on the wall in the program. The evacuation experiment is mainly carried out by integrating the eye tracking device in the mixed-reality technology and adding virtual evacuation signs in the real scene.
Figure 5.
Scan environment and place evacuation signs.
When the virtual reality world is successfully scanned, the next step was to click on the virtual evacuation sign to begin sign arrangement. The evacuation sign will automatically find a suitable location on the wall. As can be observed from the Figure 5, when the wall is flat, there is a green shadow on the back of the evacuation sign, indicating that the wall is suitable for sign placement. When the wall is not flat or the area is insufficient for evacuation sign placement, there will be a red shadow on the back of the evacuation sign, indicating that the area is unsuitable for sign placement. Next, click the evacuation sign again. The sign can be placed on the wall if the background is green.
A total of 18 people participated in this experiment, but one of them had a problem with the data collection. Therefore, the actual collected data came from 17 people, including 14 boys and 3 girls. Each person independently completed the 5 groups of experiments. Participants are all college students, with an average age of 21 years old, with the youngest being 17 and the oldest being 22. All students had no experience in using HoloLens equipment, and only a few students have learned about this equipment from the news media.
In each experiment, the experimenter only arranged one kind of evacuation sign, so each participant needed to conduct 5 experiments. However, in order to avoid experimental errors caused by the familiarity of the equipment, this paper adopts the method of grouping and looping experiments. The group loop experiment is arranged like this: 3 participants are divided into a group, numbered 1, 2, and 3. First, HoloLens skills training was performed on 1. After the training, complete the Sign 1 experiment. After the experiment, the order of numbers becomes 2, 3, 1. Next, perform skill training for 2, complete the Sign 1 experiment, and the number sequence becomes 3, 1, and finally, perform skill training on 3, complete the Sign 1 experiment, which completes a cycle and completes the experiments of Sign 1. Next, perform five cycles to complete all the experiments of the 5 types of signs.
After the training is complete, participants need to start any application on the Home interface of the HoloLens device and close it to ensure that they master gesture operations. Then the program used in the experiment will be opened, the signs shown in the figure below will be placed on the wall, and the follow-up eye tracker calibration and fixation point collection process will be completed. Each participant will perform this training operation twice to ensure that they can be proficient in the use of the equipment, so as to eliminate the interference of the familiarity of the equipment on the experimental results.
After the participants were proficient in using the equipment, the formal experiment was started. First, the participant was taken to the T-junction, where they were allowed to wear and adjust the experimental device. Second, check the eye tracker image on the computer to ensure that the eyeball camera captures the complete image of the eyeball, and the program can identify the location of the dark pupil. Then, the participants were prompted to start the procedure on HoloLens and the evacuation signs were placed at the designated location on the T-junction wall. Next, the participants were prompted to turn 90 degrees, they started the connection module, connect the HoloLens program and Pupil Capture software, and waited for the connection to be completed. After the participant starts the calibration, a black and white dot will appear in the field of view, and this dot will continue to move. During the calibration process, the participant was reminded that the dot should always be watched. Finally, the participants were prompted to turn 90 degrees to look at the evacuation signs. When the evacuation direction can be determined from the information provided by the evacuation signs, turn back and end the procedure with the “Finish” command.
4. Data Analysis
4.1. Analysis Standard
In this paper, the two groups of evacuation experiments mainly use eye tracking devices. Since the background is dynamic, the analysis method is different from the static background. In general, in the experiment, the eye movement characteristics of the participants during the evacuation process can be divided into two categories: (1) the participant did not see the evacuation signs; (2) the participant saw the evacuation signs. Participants who saw the evacuation signs could decide whether to follow the sign’s guiding direction. The data recorded by the eye-tracking device were when and for how long the participant stared at the sign. In addition, it should be noted that in the experiment, some of the eye movement data from the participants were invalid. There were two main reasons: (1) the glass-type eye tracking device would keep moving during the evacuation process, or (2) the participants knew about the laboratory’s location. When the participant’s eye movement fell on the signs, it is considered that the participant has seen the signs.
4.2. Data Analysis
In this paper, eye movement data such as gaze position, fixation duration, the number of gazes and gaze point numbers of the participants were collected, as well as the score data of the participants on different signs. Statistical analysis methods such as fitting analysis, independent sample t test, binary logistic regression, and variance analysis were used. The research flow chart is shown in Figure 6.
Figure 6.
Research flow chart.
As shown in Figure 7, the data collected was analyzed in SMI Begaze software. It should be noted that the fixation duration is the length of time to gaze at the evacuation sign, the number of gazes is the number of times the participant gazes at the evacuation sign, and the number of gaze points is a kind of quantitative eye movement data collected by the device when the participant looks at the evacuation sign.
Figure 7.
SMI Begaze software.
In the analysis of experimental data, Xp is the position of the sign (Xp = 1 is high, Xp = 2 is low); Xc is the color of the sign (Xc = 1 is black and green, Xc = 2 is green and white, Xc = 3 is red and white); Xg is whether the sign has an X-mark (Xg = 1 means X, Xg = 2 means no X); Xt is whether the sign flashes (Xt = 1 means flashing, Xt = 2 means no flashing). The number of valid participants (NP), number of the participants who saw the evacuation sign (NS), number of the participants who saw the evacuation sign and followed (NF) were thus designated.
4.2.1. Experiment 1
In order to show the relationship between gaze number and fixation duration more clearly, Pearson correlation statistics were performed on the two. The results show that gaze number and fixation time are positively correlated, but the correlation coefficient is only 0.125, showing a low degree of correlation.
The independent samples t-test was used to compare the possible differences in the fixation duration of the spectacle eye tracker participants in various variables. From the data in Table 3, it can be concluded that there is no statistically significant difference between the fixation duration of the participants and the position of the signs (p > 0.05). The fixation duration of the participants was statistically significantly different for the presence or absence of the signs X-mark (p < 0.05), indicating that the fixation duration of the participants on the signs with X-mark was significantly higher than the fixation duration for the signs without X-mark. There was no statistically significant difference in the fixation duration of the participants as to whether the signs flashes or not (p > 0.05).
Table 3.
The results of t test (Exp1).
A one-way analysis of variance was used to compare the possible differences in the type of signs of the participants’ fixation duration. From the data in Table 4, it can be concluded that the fixation duration of the participants is statistically significantly different for the type of signs. According to the post-inspection (Table 5), the fixation duration of the participants is relative to the sign with a black background and a green foreground and a red background with a white background. The evacuation signs of the foreground are statistically significantly different; and the fixation duration of the participants is not statistically different from the signs of the green background and the white foreground.
Table 4.
Analysis of variance of fixation duration on sign types (Exp1).
Table 5.
The results of post-inspection (Exp1).
From Table 6, the position of the evacuation signs (p < 0.01, OR = 4.103), the type of signs (p < 0.05, OR = 5.014), the presence or absence of X (p < 0.05, OR = 0.229), and whether it flickers (p < 0.05.OR = 0.128), all included in the model, are statistically significant; Exp(B) is the odds ratio, that is, the effect size indicator, which represents the degree of influence of the independent variable on the dependent variable.
Table 6.
The results of binary logistic regression (NS with other variables).
The results of data analysis show that the number of people gazing the evacuation signs below is 4.103 times the number of people gazing above; the number of people gazing the knowledge symbol with a red background and white foreground is 5.014 times that of other signs types; The number of people watching the sign without X is 0.229 times of that with X; 0.229 times; the number of people who watched the signs without flashing was 0.128 times that of the flashing signs.
From Table 7, only the presence or absence of the signs with X-mark (p < 0.01, OR = 9.717) was included in the model, which was statistically significant.
Table 7.
The results of binary logistic regression (NF with other variables).
Data analysis results show that the number of followers with no X-mark on the signs is 9.717 times that of those with X-mark.
It can be deduced from Table 8 and Figure 8 that the number of participants who saw Sign 3 was the largest and the obedience rate was also the highest, which shows that participants processed the sign more efficiently. There was no significant difference between the number of people who saw Sign 5 and the number of people who saw other types of signs, while the number of participants who followed Sign 5 was significantly lower than the number of people who followed other types of signs; the number of people who saw high Sign 1 and low Sign 2 is significantly lower than the number of people who saw other types of signs, but the proportion of people who obey is higher, with an average of 97.5% and 94.04% respectively.
Table 8.
The number of participants who saw and follow the signs.
Figure 8.
Percentage of participants seeing and following signs.
It can be concluded from Table 9 that the fixation duration of participants on Sign 1 was significantly lower than that of other types of evacuation signs, and the variance was small; the fixation duration of participants on low Sign 2 was the lowest, and the participants had the lowest fixation duration. The fixation duration of Sign 2 is significantly different.
Table 9.
Differences in fixation duration of different signs.
After the experiment was over, the participants’ scoring of the five evacuation signs were collected. A score of 1–5 indicates the degree of recognition of the signs. Finally, the average statistics are used to form the following figure.
From Figure 9 and Table 10, it can be concluded that the participants gave the lowest score to Sign 5 in the low place and the highest score to Sign 3 in the high place; regarding comprehensive location, the participants gave the lowest score to Sign 5 and the highest score to Sign 3. Therefore, the score data of the participants also confirmed our conjecture from the side.
Figure 9.
The mean value of participants’ scores on evacuation signs.
Table 10.
Participants’ score analysis of different types of signs.
As shown in Figure 10, the participants’ fixation duration for Sign 1–5 increased sequentially; in the case of comprehensive location, Sign 3 was rated the highest and Sign 5 was rated the lowest.
Figure 10.
Comparison of scores and fixation duration of signs.
4.2.2. Experiment 2
Score and Gaze Point Fit Analysis
Participants understand the information provided by the signs based on the appearance of the evacuation signs, then make judgments and choose the evacuation direction. For signs with clear information, participants can quickly make correct judgments, while on the contrary, for signs with unclear information or that are poorly designed, participants often need to spend more time thinking about the meaning of the signs. In traditional experiments, questionnaires are usually used to collect participants’ scores on signs. The scores will have an order of magnitude, such as 1–5, where 1 represents the worst score, and 5 represents the best score. In this experiment, not only the participants’ scores on the appearance of the signs were collected, but also the experiments, gaze point numbers and fixation duration on the signs were collected. By analyzing scoring data (in Supplementary Material), gaze point numbers and fixation duration data, it can also be studied whether total gaze points and fixation duration can be used to judge the pros and cons of an evacuation signs design.
Figure 11 shows the fitting analysis of total gaze points and fixation duration. It can be detected that the gaze point and fixation duration of different participants for the signs are very different. Gaze point and fixation duration are not in a complete linear relationship, but the two are positive related. Participants may have been looking at a certain position when looking at the sign. The gaze point numbers do not change, but the fixation duration is increased at this time. Additionally, when a participant looks at the sign, their eye may sometimes jump a lot, causing the gaze point numbers to increase. However, because the fixation duration of a point is very short, it is ignored when increasing due to floating-point accuracy errors, so the fixation duration will not increase.
Figure 11.
Fitting curves of fixation duration and total gaze points.
However, the more gaze point numbers, the overall fixation duration shows an increasing trend.
The first-order polynomial fitting equation in the figure is as follows, R2 of this equation is 0.89. In the equation, x is gaze point numbers, and y is fixation duration.
Y = 0.09x + 0.35
The thinking habits of each participant are different. Some participants have shorter thinking time, while others will think for a longer time. It is precisely because of the different thinking habits that the participants have different fixation durations for the signs. In order to eliminate the differences caused by the thinking habits, this paper expands and transforms the participants’ total gaze points and fixation duration. In the scaling transformation, the maximum value of the participant’s five experiments is used as the scaling benchmark, and all other data is divided by the maximum value to obtain the corresponding gaze point ratio and fixation duration ratio.
Figure 12 and Figure 13 respectively show the fitting analysis of the score to gaze point ratio and the score to fixation duration ratio. It can be detected that as the score increases, the participants’ gaze point ratio and fixation duration have a downward trend. When the signs were designed reasonably, participants will give high scores, and at the same time, they can quickly understand the content of the signs and make decisions in a shorter time, so the gaze point numbers and fixation duration will decrease. However, the gaze point ratio or the fixation duration ratio under the same score in the figure varies greatly. This is a normal phenomenon, because different participants must have different fixation duration for different scores. For example, participant A has different fixation durations for the five signs. The duration is 1 s, 2 s, 3 s, 4 s, and 5 s, and the scores are 5, 4, 3, 2, and 1. Participant B’s score is the same as participant A, but the fixation duration is 1.2 s, 2 s, 3.4 s, 4.1 s and 5.5 s respectively; although the fixation duration is different, the fixation duration can still be used to distinguish the quality of the signs.
Figure 12.
Fitting curve of gaze point ratio and score.
Figure 13.
Fitting curve of fixation duration ratio and score.
The quadratic polynomial fitting equation in the figure is as follows, R2 of this equation is 0.83. In this equation, x is the participant’s score on the signs, and y is the fixation duration.
Y = −0.03x² + 0.01x + 1
The quadratic polynomial fitting equation in the figure is as follows, R2 of this equation is 0.82. In this equation, x is the participant’s score on the signs, and y is the gaze point numbers.
Y = −0.05x² + 0.15x + 0.86
In order to show the relationship between score, total gaze points, and fixation duration more clearly, the following Table 11 shows the correlation coefficients of the three. It can be detected that the score is negatively correlated with total gaze points and fixation duration, and the correlation strength is relatively good. In addition, there is a positive correlation between total gaze points and fixation duration, and there is also an objective correlation strength. From the results, it can be detected that total gaze points and fixation duration can replace the traditional qualitative methods to a certain extent for the evaluation of evacuation signs.
Table 11.
Correlation coefficient of score, total gaze points and fixation duration.
Analysis of the Advantages and Disadvantages of the Signs
For evacuation signs of different designs, the participants have different degrees of difficulty in understanding. By analyzing the scores, total gaze points and fixation duration data of the participants, the following table shows the corresponding average and standard deviation of the five evacuation signs. The results are sorted according to the average score. Considering the pros and cons of the signs from the average of the scores, the scores of the logos from high to low are Sign 3, Sign 1, Sign 2, Sign 5, and Sign 4. At the same time, it can also be detected that the average values of total gaze points and fixation duration increase in an order, which also coincides with the analysis in the previous section. Sign 3 is considered the best-designed sign because it is a dynamic evacuation sign, and the arrow indication adopts dynamic indication, which can better express the information of evacuation direction. As an evacuation sign, the background color and foreground color have little effect on the design. It can be detected that the average value and standard deviation of Sign 1 and Sign 2 are not large. This is because both are evacuation signs, which can express the evacuation direction to a certain extent. However, the sign with a black background and green foreground is slightly better than the sign with green background and white foreground. Some participants mentioned that the latter is not as conspicuous as the former.
From the data in Table 12, it can be detected that Sign 4 and 5, which are the dissuasive signs, have relatively low scores, and the total gaze points and fixation duration are relatively large. Because the dissuasive signs are contrary to the participants’ daily experience, most people need longer time to understand these signs, and therefore gave a relatively low design score.
Table 12.
Data statistics of different signs.
In the scoring chart, different participants have different scores for the same sign, but overall, the ranking of the signs from good to bad is still Sign 3, Sign 1, Sign 2, Sign 5, and Sign 4.
Evacuation signs have been used often in people’s real lives. Participants have a natural understanding and acceptance of the meaning of these signs. Dissuasive signs have not appeared in daily life, but have been used in experimental research [10]. Figure 14 shows the statistics of participants’ acceptance and rejection of evacuation signs and dissuasive signs. In the figure, all evacuation signs are accepted, and dissuasive signs are rejected in more than half of the experiments, because after seeing the signs, participants often directly interpret them as evacuation signs, and they would not think that it is actually a dissuasive sign.
Figure 14.
Statistical analysis of evacuation and dissuasive sign data.
The independent sample t test was used to compare the possible differences in the fixation duration of MR experiment participants in each variable. From the data in Table 13, it can be concluded that the fixation duration of the participants is not statistically different from the position of the evacuation signs (p > 0.05). There was no statistically significant difference in the fixation duration of the participants with or without an X-mark for evacuation signs (p > 0.05). The participants’ fixation duration is statistically significant (p < 0.001) for whether evacuation signs are flashing, and the participants’ fixation duration for flashing signs is significantly lower than for non-flashing signs.
Table 13.
The results of t test (Exp2).
A one-way analysis of variance was used to compare the possible differences of participants’ fixation duration in each variable. From the data in Table 14, it can be concluded that the fixation duration of the participants is statistically significantly different for the type of signs. According to the post-test (Table 15), the participants’ fixation duration has statistically significant differences between the signs with a black background and green foreground and the signs with a red background and white foreground. The fixation duration of the participants is also not statistically different from the signs with the green background and the white foreground.
Table 14.
Analysis of variance of fixation duration on sign types (Exp2).
Table 15.
The results of post-inspection (Exp2).
4.2.3. Comparative Analysis of Two Sets of Experiments
The independent samples t test was used to compare the possible differences in the fixation duration of the spectacle eye tracker participants in each variable. It can be concluded from the data in Table 16 that the fixation durations of the participants in the two experiments are statistically significantly different.
Table 16.
The results of t test for two Exps.
It can be seen from Figure 15 and Figure 16 that the distribution of the fixation duration of the participants in Exp1 and Exp2, the differences in fixation duration are also different for different signs. The fixation duration difference for Sign 3 is the smallest, while for Sign 4 it is the largest.
Figure 15.
The results of fixation duration in Exp1 and Exp2.
Figure 16.
Boxplot for fixation duration.
As shown in Table 17, the chi-square test was used to test the possible differences in the following conditions between the two groups of experimental participants, and the result was p > 0.05, indicating that there was no significant difference between the two groups of experimental participants in the following conditions. That is, in the two experiments, there is no significant difference in the guiding effect of the evacuation signs.
Table 17.
The results of the Chi-square test.
Comparing the data on the markers scored by participants in the two experiments is shown in Figure 17. The subjective evaluations of the Signs by the participants of the two groups of experiments were basically the same, and there was no significant difference.
Figure 17.
The results of score in Exp1 and Exp2.
4.3. Discussion
4.3.1. Experiment 1
- (1)
- Evacuation signs with black background and green foreground with flashing lights (Sign 3) guides best.
Participants had the highest obedience rate to Sign 3, with an average of 97.5%, and the participants’ fixation duration for the sign was significantly lower than other types of signs. This shows that the participants have the shortest time to understand the sign with a black background, green foreground and flashing lights, and are able to understand the meaning of the sign and obey the guidance of the sign, demonstrating the participant’s recognition of the type.
- (2)
- The location of the sign has little effect.
The results of data analysis showed that the participants’ fixation duration had no significant difference in the location of the signs, and there was no significant difference in the participants’ obedience. Therefore, the location of the signs had little effect on the evacuation effect.
- (3)
- The X-mark will hinder the participants’ understanding of the signs and increase the reaction time.
The results of data analysis show that the participants’ fixation duration with the X-mark sign is significantly higher than that of the sign without an X-mark; that is, the X-mark affects the participant’s understanding of the signs, and the participants have the worst obedience to the signs with an X-mark.
4.3.2. Experiment 2
- (1)
- Score and gaze point are negatively correlated.
The scoring is the data obtained by using the traditional questionnaire survey experiment method, the gaze point is the data obtained by the eye tracking experiment device, and the gaze point data include fixation duration and total gaze points. The correlation coefficient between fixation duration and score is −0.84, the correlation coefficient between total gaze points and score is −0.89, and the score and gaze point show a negative correlation. The more participants recognize a type of sign, the higher the score they will give, and the easier a sign is to understand by the participants, the shorter the time taken to look at it and the less time is taken for brain decision making, gaze point numbers and fixation duration.
- (2)
- Flashing lights can improve the effect of evacuation signs.
Adding a flashlight to the direction arrow of the evacuation signs will help participants understand the evacuation signs. Participants will spend less time making decisions and give a higher score. Therefore, it is recommended to add a dynamic indicator flashlight in the evacuation signs.
- (3)
- Dissuasive signs are difficult to accept.
More than half of the participants did not accept the evacuation direction information provided by the dissuasive sign. This is because people have not used the dissuasive sign in their daily lives and may have mistakenly regarded it as an evacuation sign. Due to this misunderstanding, the individuals tend to choose the same direction indicated by the dissuasive sign, contradicting the original intent of the dissuasive sign.
4.3.3. Comparison
To sum up, this paper has concluded through two sets of experimental studies: regarding the influence of the design of evacuation signs on the evacuation decision making, Sign 3 (black background with green foreground and flashing lights) has the best indicator effect, is most likely to attract the attention of participants (100%) and was followed by most of the participants (97.5%).
For the two experiments, the common point that affects the evacuation of participants is that the location of the sign has little effect. The X mark will increase the reaction time of the participants, resulting in a decrease in evacuation efficiency. The flashlight will reduce the reaction time of participants, enable them to react quickly and make decisions, and improve the efficiency of evacuation.
Therefore, the virtual evacuation signs in the MR scene can replace the real evacuation signs to some extent. The MR environment is also a good method to test the effectiveness of the evacuation signs.
5. Conclusions
Through research in this paper, it is concluded that in the actual environment and the MR environment, whether the participants follow the evacuation signs and the factors that affect the effect of the evacuation signs are similar. When the evacuation signs are designed reasonably, the participants can quickly understand the content of the signs and use shorter time to make a decision and also give a high score. However, there is a significant difference in the fixation duration between reality and MR (the average fixation duration of MR is 200% higher than the reality). It was also found that (1) the evacuation sign with black background and green foreground and flashing lights guides best. (2) The flashing lights can obviously attract the attention of the participants, and enhanced the participants’ understanding of the signs. (3) An X-mark will hinder participants’ understanding of the signs, and increase the reaction time. Therefore, adding the virtual evacuation signs to the MR scene can replicate the real signs to a certain extent.
6. Limitation and Future Work
It should be noted that there is a gap between the experiment and actual emergency evacuation situations. The participants in our experiment are all well-educated Chinese students. The socio-economic background, gender, and Chinese culture of the participants may all have an impact on the results of the experiment. For example, green evacuation signs are widespread in China. The frequency of evacuation signs flashing is also variable.
The experiment presented in this paper is an individual experiment. During the emergency evacuation, other individuals may interfere with the evacuees. The experimental sequence of evacuation signs is also fixed (Sign 1 to Sign 5 are tested in sequence), and the sequence effects may also occur. The participants in the experiment are also limited, and the experiment results are only valid for the specific crowd and environment studied. The authors of the present study will conduct additional experiments and expand upon the available methods that can be applied to other types of people and more complex public buildings.
In future practice, MR technology can be used to improve building design safety. It can save on costs and reduce the damage to buildings. In future research, we will introduce more experimental equipment and methods, such as EEG, to measure the psychological factors of individuals during the evacuation process and then explore their impact on evacuation pathfinding behavior and decision-making behavior.
Supplementary Materials
The following supporting information can be downloaded at: https://www.mdpi.com/article/10.3390/su141811286/s1.
Author Contributions
Data curation, Z.F.; Formal analysis, J.S.; Funding acquisition, N.D.; Methodology, F.J.; Project administration, N.D.; Resources, N.D.; Supervision, N.D.; Writing—original draft, F.J.; Writing—review & editing, F.J. All authors have read and agreed to the published version of the manuscript.
Funding
This work is supported by the National Natural Science Foundation of China (72274208), Public Security Behavior Science and Engineering Action Project of People’s Public Security University of China (2022KXGCKJ02), the National Natural Science Foundation of China (71904194), the Soft Science Research Program of Zhejiang Province (No. 2021C35060) and Beijing Municipal Social Science Foundation (No. 21JCC108).
Institutional Review Board Statement
The study was conducted in accordance with the Declaration of Helsinki, and approved by the Institutional Review Board (or Ethics Committee) of Ethics Committee of Public Security Behavioral Science Lab, People’s Public Security University of China (PSBSL-2021-0510 & 10 May 2021).
Informed Consent Statement
Informed consent was obtained from all subjects involved in the study.
Data Availability Statement
The data presented in this study can be found in this paper and in the Supplementary Materials.
Conflicts of Interest
The study is in accordance with relevant guidelines and regulations. On behalf of all authors, the corresponding author states that there is no conflict of interest. This study disclosed the purpose, methods, and potential dangers of the experiment to all participants, and all participants signed an informed consent form on an informed and voluntary basis.
References
- Ding, N. The effectiveness of evacuation signs in buildings based on eye tracking experiment. Nat. Hazards 2020, 103, 1201–1218. [Google Scholar] [CrossRef]
- Kim, Y.-C.; Baek, S.-H.; Bae, Y.-H.; Oh, R.-S.; Choi, J.-H. Evaluation of the Effective Cognition Area (ECA) of Signage Systems with Backlighting under Smoke Conditions. Sustainability 2022, 14, 4057. [Google Scholar] [CrossRef]
- Kobes, M.; Helsloot, I.; De Vries, B.; Post, J.G.; Oberijé, N.; Groenewegen, K. Way finding during fire evacuation; An analysis of unannounced fire drills. Build. Environ. 2010, 45, 537–548. [Google Scholar] [CrossRef]
- Weinspach, P.; Gundlach, J.; Klingelhofer, H.; Ries, R.; Schneider, U. Analysis of the Fire on April 11th, 1996, Recommendations and Consequences for Dusseldorf Rhein-Ruhr-Airport; Staatskanzlei Nordrhein-Wstfalen: Düsseldorf, Germany, 1997. [Google Scholar]
- Sime, J.D. Affiliative behaviour during escape to building exits. J. Environ. Psychol. 1983, 3, 21–41. [Google Scholar] [CrossRef]
- Yi, W.A.; Mka, B.; Vnd, B. Incorporating human factors in emergency evacuation—An overview of behavioral factors and models. Int. J. Disaster Risk Reduct. 2021, 60, 102254. [Google Scholar]
- Vorst, H.C.M. Evacuation models and disaster psychology. Procedia Eng. 2010, 3, 15–21. [Google Scholar] [CrossRef]
- Nilsson, D. Exit Choice in Fire Emergencies: Influencing Choice of Exit with Flashing Lights; Lund University: Lund, Sweden, 2009. [Google Scholar]
- Lovreglio, R.; Fonzone, A.; dell’Olio, L.; Borri, D. A Study of Herding Behaviour in Exit Choice during Emergencies based on Random Utility Theory. Saf. Sci. 2016, 82, 421–431. [Google Scholar] [CrossRef]
- Olander, J.; Ronchi, E.; Lovreglio, R.; Nilsson, D. Dissuasive exit signage for building fire evacuation. Appl. Ergon. 2017, 59, 84–93. [Google Scholar] [CrossRef]
- GB 13495.1-2015; Fire Safety Signs—Part 1: Signs. Standardization Administration of China: Beijing, China, 2015.
- BS 5499-4:2000; Safety Signs. Including Fire Safety Signs—Part 4: Code of Practice for Escape Route Signing. British Standards Institution: London, UK, 2000.
- Association NFP. NFPA101: Life Safety Code; NFPA: Quincy, MA, USA, 2018. [Google Scholar]
- Yang, M. The Influence of Runner Image on Direction Choice in Safety Exit Signs; Tianjin Normal University: Tianjin, China, 2019. [Google Scholar]
- Weyman, A.; O’Hara, R.; Jackson, A. Investigation into issues of passengers egress in Ladbroke Grove rail disaster. Appl. Ergon. 2005, 36, 739. [Google Scholar] [CrossRef]
- Filippidis, L.; Lawrence, P.; Galea, E.R.; Blackshields, D. Simulating the Interaction of Occupants with Signage systems. Fire Saf. Sci. 2008, 9, 389–400. [Google Scholar] [CrossRef]
- Canping, W.; Peihong, Z.; Zheng, Z. Investigation and Analysis on Human’s Wayfinding Decision Behavior towards Exit Signs in Evacuation Process; International Symposium on Safety Science and Technology: Shanghai, China, 2006. [Google Scholar]
- Yang, K.; Davidson, R.A.; Vergara, H.; Kolar, R.L.; Dresback, K.M.; Colle, B.A.; Blanton, B.; Wachtendorf, T.; Trivedi, J.; Nozick, L.K. Incorporating inland flooding into hurricane evacuation decision support modeling. Nat. Hazards 2019, 96, 857–878. [Google Scholar] [CrossRef]
- Yuan, Z.; Jia, H.; Zhang, L. A social force evacuation model considering the effect of emergency signs. Simulation 2018, 94, 7230737. [Google Scholar] [CrossRef]
- Ronchi, E.N.D. A Virtual Reality Experiment on the Design of Flashing Lights at Emergency Exit Portals for Road Tunnel Evacuations; Lund University: Lund, Sweden, 2015. [Google Scholar]
- Bae, Y.-H.; Son, J.-Y.; Oh, R.-S.; Lee, H.-K.; Lee, Y.-H.; Hong, W.-H.; Choi, J.-H. Optimal Installation Location of Escape Route Signs at T-Type Intersections. Sustainability 2021, 13, 7903. [Google Scholar] [CrossRef]
- Ronchi, E.; Nilsson, D.; Gwynne, S.M.V. Modelling the Impact of Emergency Exit Signs in Tunnels. Fire Technol. 2012, 48, 961–988. [Google Scholar] [CrossRef]
- Nassar, K. Sign visibility for pedestrians assessed with agent-based simulation. Transp. Res. Rec. 2011, 2264, 18–26. [Google Scholar] [CrossRef]
- Jeon, G.Y.; Na, W.J.; Hong, W.H.; Lee, J.K. Influence of design and installation of emergency exit signs on evacuation speed. J. Asian Archit. Build. Eng. 2019, 18, 104–111. [Google Scholar] [CrossRef]
- Wong, L.T.; Lo, K.C. Experimental study on visibility of exit signs in buildings. Build. Environ. 2007, 42, 1836–1842. [Google Scholar] [CrossRef]
- Fu, L.; Cao, S.; Song, W.; Fang, J. The influence of emergency signage on building evacuation behavior: An experimental study. Fire Mater. 2019, 43, 22–33. [Google Scholar] [CrossRef]
- Kwee-Meier, S.T.; Mertens, A.; Schlick, C.M. Age-related differences in decision-making for digital escape route signage under strenuous emergency conditions of tilted passenger ships. Appl. Ergon. 2017, 59, 264–273. [Google Scholar] [CrossRef]
- Xing, C. Effects of anger and sadness on attentional patterns in decision making: An eye-tracking study. Psychol. Rep. 2014, 114, 50–67. [Google Scholar] [CrossRef]
- Ludwig, J.; Jaudas, A.; Achtziger, A. The role of motivation and volition in economic decisions: Evidence from eye movements and pupillometry. J. Behav. Decis. Mak. 2019, 33, 180–195. [Google Scholar] [CrossRef]
- Mikalef, P.; Sharma, K.; Pappas, I.O.; Giannakos, M.N. Online Reviews or Marketer Information? An Eye-Tracking Study on Social Commerce Consumers; Springer: Cham, Switzerland, 2018. [Google Scholar]
- Huang, L. Research on Virtual Crowd Evacuation Sign Perception and Group Behavior Modeling; University of Chinese Academy of Sciences (Institute of Aerospace Information Innovation, Chinese Academy of Sciences): Beijing, China, 2021. [Google Scholar]
- Ma, M.; Gong, J.; Li, W.; Huang, L.; Ma, X.; Li, Y. Layout optimization method of directional emergency evacuation signs based on virtual eye movement experiment. J. Wuhan Univ. 2020, 45, 1386–1394. [Google Scholar]
- Li, H.; He, P. Application of eye tracking technology in the study of the effectiveness of emergency signs. Sci. Technol. Eng. 2018, 18, 323–327. [Google Scholar]
- Gruden, C.; Ištoka Otković, I.; Šraml, M. An Eye-Tracking Study on the Effect of Different Signalized Intersection Typologies on Pedestrian Performance. Sustainability 2022, 14, 2112. [Google Scholar] [CrossRef]
- Sun, C.; Yang, Y. A Study on Visual Saliency of Way-Finding Landmarks Based on Eye-Tracking Experiments as Exemplified in Harbin Kaide Shopping Center. Archit. J. 2019, 2, 18–23. [Google Scholar]
- Yang, Y.; Sun, C.; Liu, Y. Research on the technical method of virtual reality combined with eye tracking—Taking the pathfinding experiment of commercial complexes as an example. In Proceedings of the Sharing and collaboration—2019 National Architecture Department Building Numbers Proceedings of the Symposium on Technology Teaching and Research, Amherst, MA, USA, 1–3 March 2019; pp. 415–420. [Google Scholar]
- Carrasco, M.; Chen, P.H. Application of mixed reality for improving architectural design comprehension effectiveness. Autom. Constr. 2021, 126, 103677. [Google Scholar] [CrossRef]
- Schiavi, B.; Havard, V.; Beddiar, K.; Baudry, D. BIM data flow architecture with AR/VR technologies: Use cases in architecture, engineering and construction. Autom. Constr. 2022, 134, 104054. [Google Scholar] [CrossRef]
- Dan, Y.; Shen, Z.; Xiao, J.; Zhu, Y.; Huang, L.; Zhou, J. HoloDesigner: A mixed reality tool for on-site design. Autom. Constr. 2021, 129, 103808. [Google Scholar] [CrossRef]
- Wu, S.; Hou, L.; Zhang, G.K.; Chen, H. Real-time mixed reality-based visual warning for construction workforce safety. Autom. Constr. 2022, 139, 104252. [Google Scholar] [CrossRef]
- Ma, X.; Zhou, J.; Gong, J.; Huang, L.; Li, W.; Zou, Y. VR Eye Movement Perception Experiment and Layout Evaluation for Indoor Emergency Evacuation Signs. J. Earth Inf. Sci. 2019, 21, 1170–1182. [Google Scholar]
- Chen, C.; Sun, H.; Lei, P.; Zhao, D.; Shi, C. An extended model for crowd evacuation considering pedestrian panic in artificial attack. Phys. A Stat. Mech. Its Appl. 2021, 571, 125833. [Google Scholar] [CrossRef]
Publisher’s Note: MDPI stays neutral with regard to jurisdictional claims in published maps and institutional affiliations. |
© 2022 by the authors. Licensee MDPI, Basel, Switzerland. This article is an open access article distributed under the terms and conditions of the Creative Commons Attribution (CC BY) license (https://creativecommons.org/licenses/by/4.0/).





















