Comprehensive Review on Solar Stills—Latest Developments and Overview
Abstract
:1. Introduction
2. Solar Still
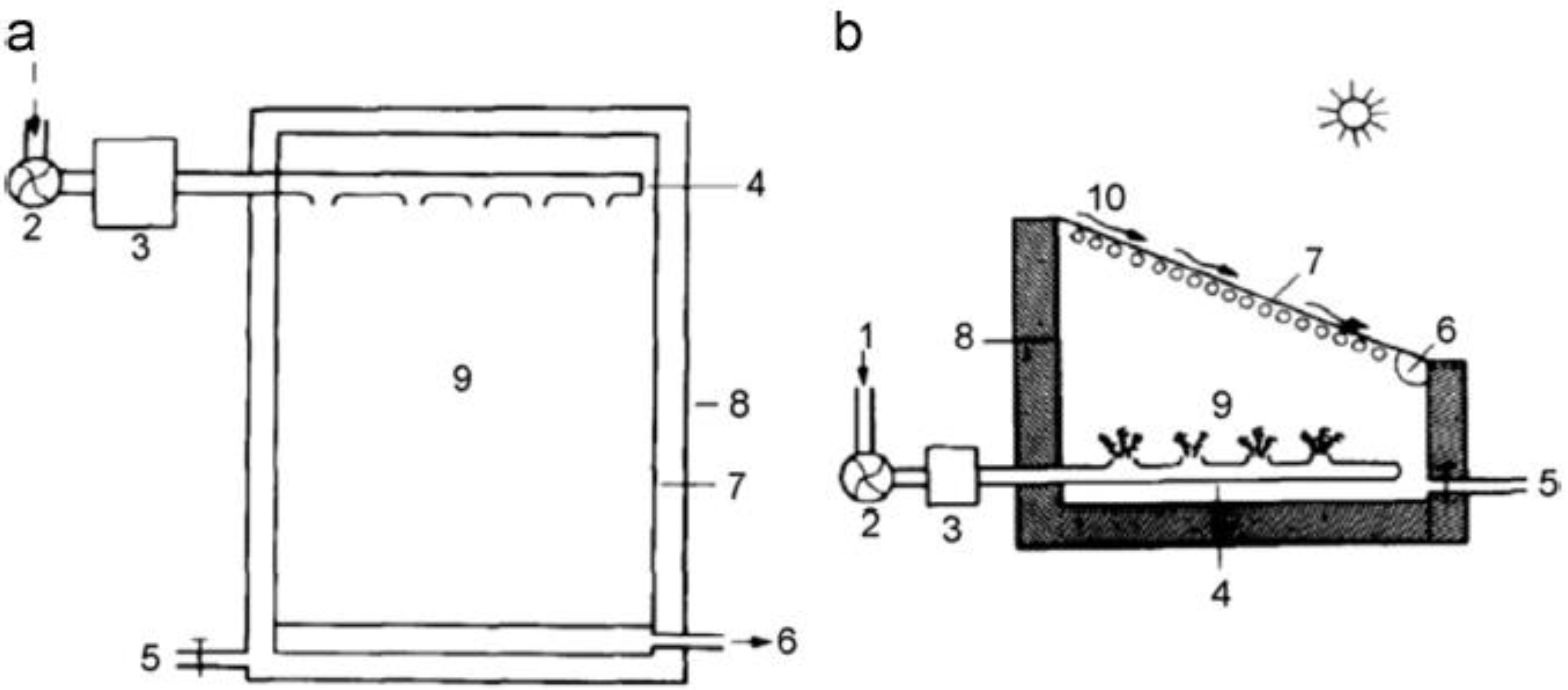
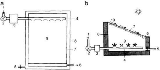
- Active solar distillation of high temperature: In this method, the hot water is fed into the basin by adding more thermal energy using solar collectors. This technique raises the temperature from 20–50 °C to 70–80 °C to achieve better evaporation. The solar still is attached with a flat plate solar collector or a parabolic concentrator, heat pipe, solar pond, and photovoltaic-thermal energy (PV/T) modules. The efficiency of the solar still working by this technique decreases with increasing solar collector area [11]. Regenerative active solar and air bubble solar stills are other high-temperature active solar distillation examples.
- Pre-heated water active solar distillation: the water basin’s temperature is raised using pre-heated water. The waste hot water can be obtained from different sources such as chemical or food industries and thermal power plants. It is directly delivered to the basin or through heat exchangers. This technique can be used to increase the still productivity by about 3.2 times compared with the conventional still [12,13].
- Nocturnal active solar distillation: In this technique, the hot water is fed into the basin only one time per day. Nocturnal distillation can be defined as the working of a solar still when sunlight is unavailable. This is normally achieved by using the daily stored solar energy through the night or by supplying waste heat which is available from different sources [14].
- Glass cover, where the water vapor condensation takes place.
- Saline water (brine) body.
- Collector plate or basin-liner, where saline water is reserved to absorb the solar radiation.
- Base with insulation to reduce heat loss.
- Sidewalls or edges.
- Water container feed.
- Distillate output.
- Vapor leakage.
- Connecting pipes.
- Atmosphere, where the solar thermal energy interaction takes place.
3. Solar Still Types
- Less solar radiation is intercepted as the water’s surface is horizontally mounted.
- Limited output because of the large thermal capacity of the water in the basin.
- Low output of distilled water in comparison with other still types.
- Low production capacity, typically 2–5 L/m2/day.
- Simple design.
- Easy to handle.
- Low cost of the water produced.
- Its long operational life of at least ten years.
- Its maintenance is cheap.
- Able to capture the sunlight from different directions.
- It occupies less ground space compared to conventional stills.
- There is no chance of contamination of feeding water, even in cases of small gaps between the condenser and the evaporator, which makes it very suitable for rural, remote, arid, and urban applications.
- Needs a short time to produce the fresh water compared with the conventional still.
- Its productivity can be increased up to 50%.
- Economical, since its cost is 50% less than the cost of a conventional basin still for the same area.
- Ease of construction.
- Easy removal of the basin-accumulated salts.
- Placement of the basin inside the enclosure, preventing heat loss and increasing the still performance.
4. Review of Papers Related to Solar Stills
- For low latitude locations, double slope stills are preferable and should be south–north oriented.
- The cover tiling angle was optimized for a better water condensation rate.
- Using a black painted aluminum and water level at (2 cm) increasing still efficiency by (28%).
- Daytime and nighttime productivity was proportional to water depth and heat capacity of basin.
- Using a Mica sheet to serve the absorber results in better surface heating.
- Mirrors are necessary to reflect sun rays falling on the still sidewalls into its basin.
- Solar still performance was enhanced by decreasing basin water capacity, addition of different dyes to the water, absorptivity increment, collecting reflection radiation and heat loss reduction.
- Still performance was enhanced by using different active methods such as flat-plate collector, heat exchanger, solar pond, solar heater, or other heating devices.
- Still productivity was increased at a lower glass cover angle; high temperature difference between water and cover, increased mass flow rate for higher inlet water temperature and when the water flowed over a glass cover with a constant velocity.
- Water absorptivity was increased by adding dyes and preheating the feeding water.
- Black rubber, black granite gravel and aluminum sheet were considered good materials for enhancing the basin heat capacity and absorptivity.
- Dry ambient air bubbling and glass cover cooling magnified the still efficiency.
- Active solar still performance was affected by controlling water depth in the basin, basin material, wind velocity, inlet water temperature, length of a solar still, solar radiation intensity, local climatic conditions, insulation thickness, ambient temperature, and glass cover inclination angle.
- Copper was an ideal material for making the still cover.
- Glass temperature reduction increased the water evaporation rate.
- Still productivity was increased by (57.8%) when coupled with a solar pond, and a sponge cube was used in the still.
- The most important factors for the proper solar still selection are solar radiation intensity, total water output requirement, salt/saline water available, cost of the still, ease of operation, maintenance cost, better employment of available waste hot water, and the useful lifetime of the solar still.
- Composite materials were recommended for basin liners as they tend to enhance thermal conductivity and still productivity.
- Fully insulated solar still achieved the maximum efficiency by 50%. While for partially insulated ones, the efficiency was 14.5%.
- Continuously cleaning of the glass cover was essential to increase the still efficiency.
- Produced amount of distilled water per day of the still integrated with a reflector was about 14% greater than that of the still without it.
- The suitable solar still was selected according to the local and operating conditions.
- Productivity of solar stills was improved by varying the free surface area of water, temperature difference between water and glass cover, absorber plate area, inlet water temperature, saturation pressure of the water, glass angle, and water depth.
- Free surface area of water was increased by using sponges in the basin.
- Floating perforated aluminum plate usage increased productivity by 40% for a brine depth of 6 cm.
- Maximum annual yield of the still was achieved when tilting angle of glass was equivalent to the place latitude.
- Concave shape of the wick surface increases the evaporation area of the still due to its capillary effect.
- Still productivity was enhanced by 100% when vacuum technology was applied.
- Reflectors, condenser, hot water tank, combined stills, asphalt basin liner, cooling film, and sun-tracking systems were utilized to maximize the still yield.
- Still productivity was directly proportional to thermal conductivity, solar radiation intensity, and wind velocity; and is in inverse proportion to cover thickness, cover temperature, and water depth.
- Material selection was a key factor in the design of a solar still.
- A considerable reduction in glass cover temperature was achieved by a continuous flow of a cooling film of water over the glass.
- Still efficiency was increased by using a packed layer at the bottom of the basin or by adding a rotating shaft near the basin water surface.
- Average daily water production of fin- and sponge-stepped solar still was 80% higher than a standard single-basin solar still.
- If a condenser was coupled with a solar still, its efficiency was increased more than twice compared with the conventional still efficiency.
- Using a sun-tracking system increasing the productivity by 22%. Productivity was enhanced by 36% when using a flat plate solar collector.
- Weir-type still productivity was almost 20% greater than the standard single basin still.
- PCM was more effective in cases of lower mass of basin water in winter.
- If stills were coupled with solar collectors, extra electricity was needed by the solar still for brine circulation. Also, both the operating and installation costs were increased.
- Still efficiency was enhanced by circulation of cooling water over the glass cover.
- Still productivity was augmented by increasing areas of both the absorber plate and free surface of water by adding sponge cubes in the basin.
- Both the productivity and thermal efficiency were improved by recovering the latent heat of the vapor.
- Still performance was improved by utilizing heat storage systems such as heat reservoir, PCM storage, solar pond, and energy storing materials such as quartzite rock.
- The distillation process of the still was highly affected by climate and operating conditions.
- When solar radiation was weak, it was recommended to use reflectors and solar collectors. When it was relatively strong, it was suggested to increase free surface area, vapor latent heat recovery, heat storage system installation, and condensation enhancement.
- Distillate output was increased by 18% by adding sponge cubes over the water surface, and was increased by 21% if an inclined reflector was coupled with the still.
- Still efficiency was improved by using energy storage materials which such as a baffle-suspended absorber plate, charcoal particles, packed layers, utilizing a hot water storage tank, PCM, black rubber, black ink, black dye, gravel, jute cloth, sensible storage medium, and absorbing materials.
- Still productivity was enhanced by using vacuum technique, wick materials, sun-tracking system, coupling the still with an external reflector, solar collector, cooling tower, using asphalt as a basin liner material, and controlling the glass cover tilt angle.
- Stepped solar still efficiency was enhanced by 112% when integrated with a solar air heater and a cooling glass cover.
- Still productivity was increased by approximately 50% when the wind speed was increased.
- No significant improvement in still productivity was noticed when the number of basins was more than three.
- Still productivity was increased by 27.6% when coupled with a solar pond.
- Inclined wick solar still production was 20–50% higher than the traditional one.
- Wick solar still efficiency was in an inverse proportion to the feedwater mass flow rate.
- For the still with a cover inclination angle of 20° and external reflector inclination angle of 20°, the productivity was greater by approximately 2.45 times compared to that of a conventional still with no reflector.
- Using multi-effect solar still rather than single-effect still led to an increase in production as a result of the optimized usage of the latent heat and the reduced cost.
- Using energy-storing materials in the lower basin of the double basin still increased productivity by 169.2%.
- Distillate output of the multi-effect solar still coupled with a condenser was 62% higher than the conventional one.
- Evaporation rate was increased due to the increment of the basin water temperature, which results from supplying the waste hot water in the basin.
- Multi-effect diffusion still coupled with a flat plate collector and reflector results in a better yield than the conventional one.
- Productivity was improved by increasing the total solar radiation, ambient air temperature, wind speed, and water absorptivity and decreasing the water depth, thickness of the cover, dust accumulation, salt concentration, glass cover inclination, and the gap between the water surface and condensing cover.
- It was recommended to use a distillate channel manufactured from aluminum. Silicon rubber was also very efficient in sealing the transparent cover to avoid vapor leakage since it remains elastic for a long time.
- Mixing of dye with water enhanced the absorption of the incident solar radiation by increasing its absorptivity.
- Productivity was increased by 70% if the still was integrated with a passive condenser, while it was increased by 36% if it was coupled with a solar collector.
- Productivity was increased by 70–100% if both internal and external reflectors were used. While it was increased by 63% by tilting the glass cover alone.
- The basin type solar still produces water that costs between $0.035 and $0.074 per liter.
- Evaporation rate of still was greatly affected by the basin construction materials, water depth, absorption rates of basin water and still basin, the volumetric heat capacity of the basin, water inlet temperature, and the top surface water temperature.
- Water absorptivity for solar radiation can be improved by using dissolved salts, violet dye, and charcoal.
- Condensation rate of still was affected by the glass cover temperature and the wind speed.
- The distillate output marginally decreased when the water flow over the glass was increased; this is mainly due to the drop in basin water temperature.
- Thermal performance of the single-basin single-slope solar still increased by about 380% when a step-wise water basin was used rather than a flat one coupled with a sun-tracking system.
- The distillate water productivity of the hybrid solar still was increased by 215% when the hot brackish water was fed during the night.
- The payback period of the solar still is in direct proportion to the overall fabrication cost in addition to maintenance, operating, and feed water costs.
- Hybridization of the domestic solar still at the small scale was considered among the best methods to enhance its yield.
- Maximum thermal efficiency obtained from the solar still ranged between 17.4–45%.
- Productivity was increased when absorption area and water-glass cover temperature difference increased.
- Preheating the inlet water to the still basin improved its productivity.
- Heat storage medium and PCM are able to produce distillate during off-shine hours, enhancing productivity.
- Maintaining vacuum technology and using reflectors, condensers, exhaust fans, and other design modifications enhanced the performance of solar stills.
- The optimal number of collectors is directly proportional to the basin’s water mass for the hybrid solar.
- Still efficiency and productivity were improved by employing different semiconducting oxides such as CuO, PbO2, and MnO2.
- The stepped still productivity was increased by 125% when coupled with internal and external reflectors. While it was boosted by around 66% when an external condenser was used.
- The productivity was 56.60% and 29.24% higher than that of the flat stepped solar still when the shape of its absorber was considered convex and concave, respectively.
- Stepped solar still productivity was increased by 75% compared to the conventional one if a reflector was used. On the other hand, it was improved by about 380% if coupled with a sun-tracking system.
- When both fins and sponges were used, the productivity was improved by about 96% when compared to the classical stepped one.
- The usage of PCM in a weir-type cascade solar still improved productivity by 31%.
- The double-effect solar still was more effective than the single one, since it uses the available energy more than once.
- The efficiency of the still paired with a heat exchanger was directly proportional to the heat exchanger length and the working fluid mass flow rate.
- The productivity of the double basin solar still was strongly a function of water depth in the lower basin.
- It was recommended to disconnect the solar collector from the still during off-sunshine hours to reduce heat losses and obtain a high daily yield.
- The daily production of the vertical solar still was in inverse proportion to the gap spacing between the absorber and the glass cover.
- Metallic or porous fins improved the still productivity by about 15–45%.
- The productivity of the stepped solar still was strongly a function of tray depth and width.
- Using reflectors on winter days increased productivity by about (70–100%).
- Productivity of a still with a tilted flat glass cover was higher than with semi-sphere, bilayer semi-sphere, and arch covers.
- For single effect passive basin stills, productivity increased from 34% to 42% by using cover cooling.
- Use of a solar operated fan was a cost-effective way to enhance the evaporation rate.
- Still productivity was increased by about 93% and 43.80% when integrated with a heat pipe collector and a shallow solar pond, respectively.
- Both the efficiency and productivity of the still depended on different operating and design parameters such as climatic conditions and the water depth.
- Using asphalt in the single-slop basin liner still increased productivity by about 29%, while wicks and stepped evaporators resulted in productivity increases of 20–53%.
- The fin solar still productivity increased with fin height while it decreased with fin thickness. Also, it was noted that using too many fins decreased the still output.
- The best location for the heat storage material was below the basin, while the best materials were paraffin and acetamide.
- Still productivity was increased by about 70% if coupled with an air heater. While it was increased by 80% if it was coupled with a solar pond.
- Adding a separate condenser increased the condensation rate inside the solar still and increased its freshwater productivity.
- It was recommended to integrate the solar still with a cooling tower. This decreased the condensate temperature by increasing the temperature difference between the glass cover and the water, increasing the distillate output.
- The distance between the glass cover and the water surface should be minimal and have a constant value. The cover thickness was also considered a minimum.
- The productivity of the stepped still was improved by about 380% if an internal reflecting mirror was used on its insulated wall.
- Stepped and weir-type solar stills had high productivity compared to the conventional still.
- The weir-type still productivity was higher than the stepped type. Since the surface area and stay time of water on its absorber plate was larger than the stepped still with similar dimensions.
- The spherical solar still productivity was improved by using the reflector since the energy incident was increased for the same basin size. Also, it was improved by cooling the condenser part of it.
- Preheating the inlet water and using a vacuum increased the still productivity.
- Using a suitable glass cover thickness and wick material in the basin enhanced the still productivity.
- A tracking system was not required in the spherical solar still, but if the reflector was used, efficiency was improved by using the tracking system.
- Thermal energy storage materials can store energy during the sunshine period and release it during the off-sunshine period, which increases the distillate output.
- The dust accumulated on the glass cover resulted in reduced distillate output of a solar still integrated with thermal energy storage materials.
- Sponge cubes were an efficient thermal energy storage material due to their porous property to store the energy during the sunshine period and its capillary action for the effective area increment.
- Light black cotton cloth was the most effective wick material in the basin.
- Charcoal particles were good heat storage materials and increased the distillate output by 15%.
- Black dye with rocks enhanced distilled water production by 65%.
- When black rubber matt, black ink, and black dye were used, the productivity was enhanced by about 38%, 45%, and 60%, respectively.
- The distillate output was increased by 28%, 43%, and 60% when coated wiry metallic sponges, uncoated metallic wiry sponges, and volcanic rocks were used.
- Annual yield of solar still was increased when the glass cover inclination angle was equal to the place latitude.
- The stepped solar still has higher productivity than the conventional one.
- The insulation material helped in reducing heat losses from the basin bottom and sidewalls.
- At nighttime, the distillate output increased with increasing water depth.
- Insulation of condensing cover is recommended to prevent excessive thermal radiation from escaping from the basin liner to the external environment.
- Solar still was influenced by the evaporation area, water depth, and the solar still cover angle.
- The main parameters of desalination units’ cost analysis included the capital recovery factor, fixed annual cost, sinking fund factor, annual salvage value, average annual productivity, annual cost, annual maintenance operational cost, and cost per liter.
- In southern regions of the earth, a solar still should be oriented such that its input end faces the south direction. While, in northern regions, it should be oriented towards the north.
- Still productivity is in direct proportion to the glass–water temperature difference. This technique was used in the regenerative still, still with double glasses and triple-basin still.
- Still productivity is in direct proportion to the free surface area of the water in the basin. This was achieved by putting sponge cubes in the basin or using baffle-suspended absorber plates.
- Increasing the temperature difference between the glass cover and the brine increased the still productivity.
- Using glass of low thickness and relatively high thermal conductivity enhanced heat transfer through the glass cover.
- The distillate production was increased by 100% if the vacuum technique was utilized. While it was increased by about 114% if wicks were used in the still basin.
- Water and air solar collectors have increased daily productivity by 175%. While the still efficiency was improved by about 50% if a vibratory harmonic effect was used.
- The condensation rate of the single-slope solar still was enhanced by positioning the condenser on the shaded side of the still.
- The condensation process in the solar still was enhanced by increasing the cooling on the wall surface.
- The power fan was necessary in order to exhaust both the water vapor and the non-condensable gases from the still to the condenser.
- For large and economic water productivity, it was recommended to use the double condensing chamber solar still.
- Distillate water yield was improved by 53.2% when the still was paired with an external condenser.
- The still efficiency was increased by about 47% when an external condenser was used.
- It was recommended to install reflectors in cold places where the solar radiation was weak.
- To improve productivity throughout the whole year, the external reflector installation angle must be adjusted each season.
- For stills with a large glass cover angle, the influence of the external top reflector was negligible.
- South-facing stills were recommended for northern latitudes, while north-facing ones were provided for southern latitudes.
- Reduction of glass cover temperature by using a continuous film or an intermittent flow of the cooling water flowing over it.
- The still productivity was decreased with increasing water depth during the daytime, while the reverse occurred in the overnight production.
- Lower thickness of the condensing glass cover provided increased productivity.
- Large cover tilt angles were preferred in the winter, while smaller ones were better in the summer.
- Because of its higher absorptivity than black paint, the use of asphalt basin liners increased distillate output.
5. Conclusions
- Thermal models have great advantages and the potential to predict solar still performance at reasonable cost and time.
- Feed and freshwater qualities, unit size, and site location influenced capital and operating costs.
- The productivity of solar stills can be significantly improved by:
- 3.1.
- Providing a shaded area.
- 3.2.
- Minimizing the heat loss by re-utilizing latent heat of condensation, cover cooling, and increasing insulation thickness.
- 3.3.
- Lowering glass cover temperature.
- 3.4.
- Using inclined external flat-plate reflector, combined stills, condenser, sun tracking system, reflectors, greenhouse, hot water tank, solar collector, heat exchanger, and solar pond.
- 3.5.
- Increasing the free surface area of the solar still, environmental air temperature, wind speed, and solar intensity.
- 3.6.
- Reducing feed water salinity.
- 3.7.
- Feeding a waste of hot water into the basin during nighttime.
- 3.8.
- Forced convection.
- 3.9.
- Using an additional basin.
- 3.10.
- Dry air bubbling
- 3.11.
- Use of finned or corrugated plates in the basin.
- Improving the absorption in the basin by adding charcoal, matt, sponge, jute, and cotton clothes, dye, wick, porous or energy-storing material, black rubber, and floating absorber sheet.
- Use of rubber, composite material, or asphalt as basin liner.
- Minimizing water depth in the basin.
- Manufacturing the bottom frame of the solar still from copper or aluminum.
6. Recommendations for Future Work
Author Contributions
Funding
Institutional Review Board Statement
Informed Consent Statement
Data Availability Statement
Acknowledgments
Conflicts of Interest
Abbreviations
| CPC | Compound Parabolic Concentration |
| FRP | Fiber Reinforced Plastic |
| GI | Galvanized Iron |
| PC | Parabolic Concentration |
| PCM | Phase Change Material |
| PV/T | Photovoltaic-Thermal |
References
- Vinothkuumar, K.; Kasturibai, R. Performance study on solar still with enhanced condensation. Desalination 2008, 230, 51–61. [Google Scholar] [CrossRef]
- Al-Khudhiri, A.; Darwish, N.; Hilal, N. Active solar distillation—Produced water treatment: Application of air gap membrane distillation. Desalination 2013, 309, 46–51. [Google Scholar] [CrossRef]
- Perkovic, L.; Novosel, T.; Puksec, T.; Cosic, B.; Mustafa, M.; Krajacic, G.; Duic, N. Modeling of optimal energy flows for systems with close integration of seawater desalination and renewable energy sources: A case study for Jordan. Energy Convers. Manag. 2016, 110, 249–259. [Google Scholar] [CrossRef]
- El-Agouz, S.; El-Samadony, Y.; Kabeel, A. Performance evaluation of a continuous flow inclined solar still desalination system. Energy Convers. Manag. 2015, 101, 606–615. [Google Scholar] [CrossRef]
- Kumar, S.; Tiwari, G. Life cycle cost analysis of single slope hybrid (PV/T) active solar still. Appl. Energy 2009, 86, 1995–2004. [Google Scholar] [CrossRef]
- Dunkle, R. Solar water distillation: The roof type still and a multiple effect diffusion still. In Proceedings of the ASME International Heat Transfer Conference, Boulder, CO, USA, 28 August–1 September 1961; pp. 895–902. [Google Scholar]
- Lof, G. A rational basis for the engineering of a solar still. Sol. Energy 1969, 12, 547–549. [Google Scholar] [CrossRef]
- Shashi, S.; El-Samadony, M.; Peng, G.; Yang, N.; Essa, F.; Hamed, M.; Kabeel, A. Performance enhancement of wick solar still using rejected water from humidification-dehumidification unit and film cooling. Appl. Therm. Eng. 2016, 108, 1268–1278. [Google Scholar]
- Tiwari, G.; Singh, H.; Tripathi, R. Present status of solar distillation. Sol. Energy 2003, 75, 367–373. [Google Scholar] [CrossRef]
- Tiwari, G.; Tiwari, A. Solar Distillation Practice for Water Desalination Systems; Anamaya Publishers: New Delhi, India, 2008. [Google Scholar]
- Yadav, Y. Transient analysis of double basin solar still integrated with collector. Desalination 1989, 71, 151–164. [Google Scholar] [CrossRef]
- Proctor, D. The use of waste heat in a solar still. Sol. Energy 1973, 14, 433–449. [Google Scholar] [CrossRef]
- Sodha, M.; Kumar, A.; Tiwari, G. Utilization of waste hot water for distillation. Desalination 1981, 37, 325–342. [Google Scholar] [CrossRef]
- Onyegegbu, S. Nocturnal distillation in basin type solar stills. Appl. Energy 1986, 24, 29–42. [Google Scholar] [CrossRef]
- Kaushik, S.; Ranjan, K.; Panwar, N. Optimum exergy efficiency of single-effect ideal passive solar stills. Energy Effic. 2013, 6, 595–606. [Google Scholar] [CrossRef]
- Ranjan, K.; Kaushik, S. Energy, exergy and thermo-economic analysis of solar distillation systems: A review. Renew. Sustain. Energy Rev. 2013, 27, 709–723. [Google Scholar] [CrossRef]
- Garg, H.; Mann, H. Effect of climatic, operational and design parameters on the year-round performance of single-sloped and double-sloped solar still under Indian arid zone conditions. Sol. Energy 1976, 18, 159–164. [Google Scholar] [CrossRef]
- Aboul-Enein, S.; El-Sebaii, A.; El-Bialy, E. Investigation of a single-basin solar still with deep basins. Renew. Energy 1998, 14, 299–305. [Google Scholar] [CrossRef]
- Yadav, C.; Kumar, M. Recent advances in stepped and weir type solar still. Int. J. Recent Adv. Eng. Technol. 2016, 4, 83–90. [Google Scholar]
- Rahul, D.; Tiwari, G. Characteristic equation of a passive solar still. Desalination 2009, 245, 246–265. [Google Scholar]
- Rahbar, N.; Esfahani, J. Productivity estimation of a single-slope solar still: Theoretical and numerical analysis. Energy 2013, 49, 289–297. [Google Scholar] [CrossRef]
- Murugavel, K.; Chockalingam, K.; Srithar, K. Progresses in improving the effectiveness of the single basin passive solar still. Desalination 2008, 220, 677–686. [Google Scholar] [CrossRef]
- Tayeb, A. Performance study of some designs of solar still. Energy Convers. Manag. 1992, 33, 889–898. [Google Scholar] [CrossRef]
- Samuel, D.; Nagarajan, P.; Sathyamurthy, R.; El-Agouz, S.; Kannan, E. Improving the yield of fresh water in conventional solar still using low-cost energy storage material. Energy Convers. Manag. 2016, 112, 125–134. [Google Scholar] [CrossRef]
- Abu-Hijileh, B.; Rababa’h, H. Experimental study of a solar still with sponge cubes in basin. Energy Convers. Manag. 2003, 44, 1411–1418. [Google Scholar] [CrossRef]
- Rahmani, A.; Boutriaa, A.; Hade, A. An experimental approach to improve the basin type solar still using an integrated natural circulation loop. Energy Convers. Manag. 2015, 93, 298–308. [Google Scholar] [CrossRef]
- Chaichan, M.; Kazem, H. Using aluminum powder with PCM (paraffin wax) to enhance single slope solar water distiller productivity in Baghdad—Iraq winter weathers. Int. J. Renew. Energy Res. 2015, 5, 251–257. [Google Scholar]
- Mishra, D.; Tiwari, A.; Sodha, M. Mathematical modeling and evaluation of new long single slope still for utilization of hot wastewater. Appl. Therm. Eng. 2016, 108, 353–357. [Google Scholar] [CrossRef]
- Murase, K.; Kobayashi, S.; Nakamura, M.; Toyama, S. Development and application of a roof type solar still. Desalination 1998, 73, 111–118. [Google Scholar] [CrossRef]
- El-Maghlany, W. An approach to optimization of double slope solar still geometry for maximum collected solar energy. Alex. Eng. J. 2015, 54, 823–828. [Google Scholar] [CrossRef]
- Hanane, A.; Adel, D.; Brahim, A.; Fatma, A.; Djilali, T.; Zahia, T. An experimental study of a solar still: Application on the seawater desalination of Fouka. Procedia Eng. 2012, 33, 475–484. [Google Scholar]
- Al-Hinai, H.; Al-Nassri, M.; Jubran, B. Effect of climatic, design and operational parameters on the yield of a simple solar still. Energy Convers. Manag. 2002, 43, 1639–1650. [Google Scholar] [CrossRef]
- Al-Hinai, H.; Al-Nassri, M.; Jubran, B. Parametric investigation of a double-effect solar still in comparison with a single-effect solar still. Desalination 2002, 150, 75–83. [Google Scholar] [CrossRef]
- Sodha, M.; Ashvini, K.; Srivastava, A.; Tiwari, G. Thermal performance of “still on roof” system. Energy Convers. Manag. 1980, 20, 181–190. [Google Scholar] [CrossRef]
- Feilizadeh, M.; Estahbanati, M.; Ahsan, A.; Jafarpur, K.; Mersaghian, A. Effects of water and basin depths in single basin solar stills: An experimental and theoretical study. Energy Convers. Manag. 2016, 122, 174–181. [Google Scholar] [CrossRef]
- Mousa, A.; Bassam, A. Water film cooling over the glass cover of a solar still including evaporation effects. Energy 1997, 22, 43–48. [Google Scholar]
- Somwanshi, A.; Tiwari, A. Performance enhancement of single basin solar still with the flow of water from an air cooler on the cover. Desalination 2014, 352, 92–102. [Google Scholar] [CrossRef]
- Kaushal, V. Solar stills: A review. Renew. Sustain. Energy Rev. 2010, 14, 446–453. [Google Scholar] [CrossRef]
- Tanaka, H.; Nosoko, T.; Nagata, T. A highly productive basin type multiple effects coupled solar still. Desalination 2000, 130, 279–293. [Google Scholar] [CrossRef]
- Tanaka, H.; Nakatake, Y. Outdoor experiments of vertical diffusion solar still coupled with a flat plate reflector. Desalination 2007, 214, 70–82. [Google Scholar] [CrossRef]
- Tanaka, H.; Iishi, K. Experimental study of vertical single-effect diffusion solar still coupled with a tilted wick still. Desalination 2017, 402, 19–24. [Google Scholar] [CrossRef]
- Huang, B.; Chong, T.; Wu, P.; Dai, H.; Kao, Y. Spiral multiple-effect diffusion solar still coupled with vacuum-tube collector and heat pipe. Desalination 2015, 362, 74–83. [Google Scholar] [CrossRef]
- Reddy, K.; Sharon, H. Active multi-effect vertical solar still: Mathematical modeling, performance investigation and enviro-economic analyses. Desalination 2016, 395, 99–120. [Google Scholar] [CrossRef]
- Tiwari, A.; Tiwari, G. Effect of water depths on heat and mass transfer in passive solar still: In summer climatic condition. Desalination 2006, 195, 78–94. [Google Scholar] [CrossRef]
- Sakthivel, T.; Arujunan, T.; Vijayakumar, R.; Velmurugan, C. Effect of internal reflector on the performance of single slope solar still. Aust. J. Basic Appl. Sci. 2016, 10, 375–379. [Google Scholar]
- Tanaka, H. Experimental study of a basin type solar still with internal and external reflectors in winter. Desalination 2009, 249, 130–134. [Google Scholar] [CrossRef]
- Khalifa, A.; Ibrahim, H. Effect of inclination of the external reflector on the performance of a basin type solar still at various seasons. Renew. Sustain. Energy Rev. 2009, 13, 244–249. [Google Scholar] [CrossRef]
- Zurigat, Y.; Abu-Arabi, M. Modelling and performance analysis of a regenerative solar desalination unit. Appl. Therm. Eng. 2004, 24, 1061–1072. [Google Scholar] [CrossRef]
- Sakthivel, M.; Shanmugasundaram, S.; Alwarsamy, T. An experimental study on regenerative solar still with energy storage medium-Jute cloth. Desalination 2010, 264, 24–31. [Google Scholar] [CrossRef]
- Tiwari, G.; Sinha, S. Parametric studies of active regenerative solar still. Energy Convers. Manag. 1993, 34, 209–218. [Google Scholar] [CrossRef]
- Singh, A.; Tiwari, G. Thermal evaluation of regenerative active solar distillation under thermosyphonmode. Energy Convers. Manag. 1993, 34, 697–706. [Google Scholar] [CrossRef]
- Al-Karaghouli, A.; Al-Naser, W. Performances of single and double basin solar stills. Appl. Energy 2004, 78, 347–354. [Google Scholar] [CrossRef]
- Elango, T.; Murugavel, K. The effect of the water depth on the productivity for single and double basin double slope glass solar stills. Desalination 2015, 359, 82–91. [Google Scholar] [CrossRef]
- Gupta, R.; Rai, S.; Tiwari, G. Transient analysis of double basin solar still intermittent flow of waste hot waste in night. Energy Convers. Manag. 1988, 28, 245–249. [Google Scholar] [CrossRef]
- El-Sebaii, A. Thermal performance of a triple-basin solar still. Desalination 2005, 174, 23–37. [Google Scholar] [CrossRef]
- Srithar, K.; Rajaseenivasan, T.; Karthik, N.; Periyannan, M.; Gowtham, M. Standalone triple basin solar desalination system with cover cooling and parabolic dish concentrator. Renew. Energy 2016, 90, 157–165. [Google Scholar] [CrossRef]
- Al-Baharna, N.; Al-Mahdi, N.; Zaky, F. Performance analysis of triple basin still integrated with natural circulation solar heater. Energy Convers. Manag. 1993, 34, 545–556. [Google Scholar] [CrossRef]
- El-Sebaii, A.; El-Naggar, M. Year round performance and cost analysis of finned single basin solar still. Appl. Therm. Eng. 2017, 110, 787–794. [Google Scholar] [CrossRef]
- Velmurugan, V.; Gopalakrishnan, M.; Raghu, R.; Srithar, K. Single basin solar still with fin for enhancing productivity. Energy Convers. Manag. 2008, 49, 2602–2608. [Google Scholar] [CrossRef]
- Rashidi, S.; Bovina, M.; Esfahani, J. Optimization of partitioning inside single slope solar still for performance improvement. Desalination 2016, 395, 79–91. [Google Scholar] [CrossRef]
- Velmurugan, V.; Deenadayalan, C.; Vinod, H.; Srithar, K. Desalination of effluent using fin-type solar still. Energy 2008, 33, 1719–1727. [Google Scholar] [CrossRef]
- Omara, Z.; Hamed, M.; Kabeel, A. Performance of finned and corrugated absorbers solar stills under Egyptian conditions. Desalination 2011, 277, 281–287. [Google Scholar] [CrossRef]
- Tanaka, H. Tilted wick solar still with flat plate bottom reflector. Desalination 2011, 273, 405–413. [Google Scholar] [CrossRef]
- Rai, S.; Tiwari, G. Single basin solar still coupled with flat plate collector. Energy Convers. Manag. 1983, 23, 145–149. [Google Scholar] [CrossRef]
- Voropoulos, K.; Mathioulakis, E.; Belessiotis, V. Experimental investigation of the behavior of a solar still coupled with hot water storage tank. Desalination 2003, 156, 315–322. [Google Scholar] [CrossRef]
- Velmurugan, V.; Srithar, K. Solar stills integrated with a mini solar pond-analytical simulation and experimental validation. Desalination 2007, 216, 232–341. [Google Scholar] [CrossRef]
- El-Sebaii, A.; Ramadan, M.; Aboul-Enein, S.; Salem, N. Thermal performance of a single-basin solar still integrated with a shallow solar pond. Energy Convers. Manag. 2008, 49, 2839–2848. [Google Scholar] [CrossRef]
- Ashok, K.; Tiwari, G. Use of waste hot water in double slope solar still through heat exchanger. Energy Convers. Manag. 1990, 30, 81–89. [Google Scholar]
- Lawrence, S.; Tiwari, G. Theoretical evaluation of solar distillation under natural circulation with heat exchanger. Energy Convers. Manag. 1990, 30, 205–213. [Google Scholar] [CrossRef]
- Tanaka, H.; Nakatake, Y. A vertical multiple effect diffusion type solar still coupled with a heat pipe solar collector. Desalination 2004, 160, 195–205. [Google Scholar] [CrossRef]
- Tiwari, G.; Vimal, D.; Usha, S.; Aravind, C.; Bikash, S. Comparative thermal performance evaluation of an active solar distillation system. Int. J. Energy Res. 2007, 31, 1465–1482. [Google Scholar] [CrossRef]
- Shafii, M.; Mamouri, S.; Lotfi, M.; Mosleh, H. A modified solar desalination system using evacuated tube collector. Desalination 2016, 396, 30–38. [Google Scholar] [CrossRef]
- Sampathkumar, K.; Senthilkumar, P. Utilization of solar water heater in a single basin solar still- an experimental study. Desalination 2012, 297, 8–19. [Google Scholar] [CrossRef]
- Shiv, K.; Tiwari, G. Estimation of internal heat transfer coefficients of a hybrid (PV/T) active solar still. Sol. Energy 2009, 83, 1656–1667. [Google Scholar]
- Lu, Z.; Yuan, Z.; Zhenjie, L.; Yujun, S. Solar chimneys integrated with seawater desalination. Desalination 2011, 276, 207–213. [Google Scholar]
- Marmouch, H.; Orfi, J.; Nasrallah, S. Effect of a cooling tower on a solar desalination system. Desalination 2009, 238, 281–289. [Google Scholar] [CrossRef]
- Marmouch, H.; Orfi, J.; Nasrallah, S. Experimental study of the performance of a cooling tower used in a solar distiller. Desalination 2010, 250, 456–458. [Google Scholar] [CrossRef]
- Sharshir, S.; Peng, G.; Yang, N.; Eltawil, M.; Ali, M.; Kabeel, A. A hybrid desalination system using humidification-dehumidification and solar stills integrated with evacuated solar water heater. Energy Convers. Manag. 2016, 124, 287–296. [Google Scholar] [CrossRef]
- Sharshir, S.; Peng, G.; Yang, N.; El-Samadony, M.; Kabeel, A. A continuous desalination system using humidification—Dehumidification and a solar still with an evacuated solar water heater. Appl. Therm. Eng. 2016, 104, 734–742. [Google Scholar] [CrossRef]
- Gajendra, S.; Shiv, K.; Tiwari, G. Design, fabrication and performance evaluation of a hybrid photovoltaic thermal (PV/T) double slope active solar still. Desalination 2011, 277, 399–406. [Google Scholar]
- Omara, Z.; Eltawil, A.; El-Nashar, A. A new hybrid desalination system using wicks/solar still and evacuated solar water heater. Desalination 2013, 325, 56–64. [Google Scholar] [CrossRef]
- Siddiqui, F.; Elminshawy, N.; Addas, M. Design and performance improvement of a solar desalination system by using solar air heater: Experimental and theoretical approach. Desalination 2016, 399, 78–87. [Google Scholar] [CrossRef]
- Panchal, H. Pravin Investigation on performance analysis of a novel design of the vacuum tube-assisted double basin solar still: An experimental approach. Int. J. Ambient Energy 2016, 37, 220–226. [Google Scholar] [CrossRef]
- He, Z.; Mann, H. Solar Thermal Utilization; Press of University of Science and Technology of China: Hefei, China, 2009; pp. 48–52. [Google Scholar]
- Sodha, M.; Ashvini, K.; Tiwari, G.; Tyagi, R. Simple multiple wick solar still: Analysis and performance. Sol. Energy 1981, 26, 127–131. [Google Scholar] [CrossRef]
- Kabeel, A. Performance of solar stills with a concave wick evaporation surface. Energy 2009, 34, 1504–1509. [Google Scholar] [CrossRef]
- Shukla, S.; Sorayan, V. Thermal modeling of solar stills, an experimental validation. Renew. Energy 2005, 30, 683–699. [Google Scholar] [CrossRef]
- Minasian, A.; Al-Karaghouli, A. An improved solar still: The wick-basin type. Energy Convers. Manag. 1994, 36, 213–217. [Google Scholar] [CrossRef]
- Velmurugan, V.; Kumaran, S.; Prabhu, V.; Srithar, K. Productivity enhancement of stepped solar still-performance analysis. Therm. Sci. 2008, 12, 153–163. [Google Scholar] [CrossRef]
- Radhwan, A. Transient performance of a stepped solar still with built-in latent heat thermal energy storage. Desalination 2004, 171, 61–76. [Google Scholar] [CrossRef]
- Alaudeen, A.; Johnson, K.; Ganasundar, P.; Syed Abuthahir, A.; Srithar, K. Study on stepped type basin in a solar still. J. King Saud Univ. Eng. Sci. 2014, 26, 176–183. [Google Scholar] [CrossRef]
- Omara, Z.; Kabeel, A.; Younes, M. Enhancing the stepped solar still performance using internal and external reflectors. Energy Convers. Manag. 2014, 78, 876–881. [Google Scholar] [CrossRef]
- Emad, A. Evaluation of single slope solar still integrated with evaporative cooling system for brackish water desalination. J. Agric. Sci. 2014, 6, 48–58. [Google Scholar]
- El-Bahi, A.; Inan, D. A solar still with minimum inclination, coupled to an outside condenser. Desalination 1999, 123, 79–83. [Google Scholar] [CrossRef]
- Madhlopa, A.; Johnstone, C. Numerical study of passive solar still with a separate condenser. Renew. Energy 2009, 34, 1430–1439. [Google Scholar] [CrossRef]
- Khalifa, A.; Al-Jubouri, A.; Abed, M. An experimental study on modified simple solar stills. Energy Convers. Manag. 1999, 40, 1835–1847. [Google Scholar] [CrossRef]
- Ahmed, S. Study of single-effect solar still with an internal condenser. Sol. Wind Technol. 1988, 5, 637–643. [Google Scholar] [CrossRef]
- Sadineni, S.; Hurt, R.; Halford, C.; Boehm, R. Theory and experimental investigation of a weir-type inclined solar still. Energy 2008, 33, 71–80. [Google Scholar] [CrossRef]
- Tabrizi, F.; Dashtban, M.; Hamid, M.; Razzaghi, K. Effect of water flow rate on internal heat and mass transfer and daily productivity of weir-type cascade solar still. Desalination 2010, 160, 239–247. [Google Scholar] [CrossRef]
- Tabrizi, F.; Khosravi, M.; Sani, I. Experimental study of cascade solar still coupled with a humidification-dehumidification system. Energy Convers. Manag. 2016, 115, 80–88. [Google Scholar] [CrossRef]
- Aghaei, Z.; Farshchi, T.; Faramarz, S.; Fazlollah, H. Comparison between energy and exergy efficiencies in a weir type cascade solar still. Desalination 2013, 325, 113–121. [Google Scholar] [CrossRef]
- Bakhtiari, Z.; Zolfaghari, S.; Hamid, M.; Tabrizi, F. Theoretical and experimental study of cascade solar stills. Sol. Energy 2013, 90, 205–211. [Google Scholar]
- Sangeeta, S.; Tiwari, G. Effect of water flow on internal heat transfer solar distillation. Energy Convers. Manag. 1999, 40, 509–518. [Google Scholar]
- Tiwari, G.; Sangeeta, S. Performance evaluation of an inverted absorber solar still. Energy Convers. Manag. 1998, 39, 173–180. [Google Scholar] [CrossRef]
- Dev, R.; Abdul-Wahab, S.; Tiwari, G. Performance study of the inverted absorber solar still with water depth and total dissolved solid. Appl. Energy 2011, 88, 252–264. [Google Scholar] [CrossRef]
- Amimul, A.; Monzur, I.; Ataur, R.; Yusuf, B.; Fukuhara, T. Design fabrication and performance analysis of an improved solar still. Desalination 2012, 292, 105–112. [Google Scholar]
- Tiwari, G.; Ashok, K. Nocturnal water production by tubular solar stills using waste heat to preheat brine. Desalination 1988, 69, 309–318. [Google Scholar] [CrossRef]
- Rahbar, N.; Esfahani, J.; Fotouhi-Bafghi, E. Estimation of convective heat transfer coefficient and water-productivity in tubular solar still—CFD simulation and theoretical analysis. Sol. Energy 2015, 113, 313–323. [Google Scholar] [CrossRef]
- Ashok, K.; Anand, J. Modelling and performance of a tubular multi-wick solar still. Energy 1992, 17, 1067–1071. [Google Scholar]
- Dhiman, N. Transient analysis of spherical solar still. Desalination 1988, 69, 47–55. [Google Scholar] [CrossRef]
- Abdel Dayem, A. Experimental and numerical performance of a multi-effect condensation-evaporation solar water distillation system. Energy 2006, 31, 2710–2727. [Google Scholar] [CrossRef]
- Ismail, B. Design and performance of transportable hemispherical solar still. Renew. Energy 2009, 34, 145–150. [Google Scholar] [CrossRef]
- Arunkumar, T.; Jayaprakash, R.; Denkenberger, D.; Amimul, A.; Okundamiya, M.; Sanjay, K.; Tanaka, H.; Aybar, H. An experimental study on hemispherical solar still. Desalination 2012, 286, 342–348. [Google Scholar] [CrossRef]
- Kianifar, A.; Heris, S.; Mahian, O. Exergy and economic analysis of a pyramid-shaped solar water purification system: Active and passive cases. Energy 2012, 38, 31–36. [Google Scholar] [CrossRef]
- Sathyamurthy, R.; Kennady, H.; Nagarajan, P.; Ahsan, A. Factors affecting the performance of triangular pyramid solar still. Desalination 2014, 344, 383–390. [Google Scholar] [CrossRef]
- Syuhada, N.; Ahsan, A.; Thomas, U.; Imteaz, M.; Ghazali, A. A low-cost solar still for pure water production. J. Food Agric. Environ. 2013, 11, 990–994. [Google Scholar]
- Ahsan, A.; Imteaz, M.; Thomas, U.; Azmi, M.; Rahman, A.; Daud, N. Parameters affecting the performance of low-cost solar still. Appl. Energy 2014, 114, 924–930. [Google Scholar] [CrossRef]
- Kiatsiriroat, T.; Bhattacharya, S.; Wibulswas, P. Transient simulation of vertical solar still. Energy Convers. Manag. 1987, 27, 247–252. [Google Scholar] [CrossRef]
- Tanaka, H. Experimental study of vertical multiple-effect diffusion solar still coupled with a flat plate reflector. Desalination 2009, 249, 34–40. [Google Scholar] [CrossRef]
- Boukar, M.; Harmim, A. Performance evaluation of one-sided vertical solar still tested in the desert of Algeria. Desalination 2005, 183, 113–126. [Google Scholar] [CrossRef]
- Boukar, M.; Harmim, A. Design parameters and preliminary experimental investigation of indirect vertical solar still. Desalination 2007, 203, 444–454. [Google Scholar] [CrossRef]
- El-Sebaii, A. Parametric study of vertical solar still. Energy Convers. Manag. 1998, 39, 1303–1315. [Google Scholar] [CrossRef]
- Abdel-Rehim, Z.; Lasheen, A. Improving the performance of solar desalination systems. Renew. Energy 2005, 30, 1955–1971. [Google Scholar] [CrossRef]
- Eltawil, M.; Zhengming, Z. Wind turbine-inclined still collector integration with solar still for brackish water desalination. Desalination 2009, 249, 490–497. [Google Scholar] [CrossRef]
- Badran, A.; Assaf, M.; Kayed, S.; Ghaith, A.; Hammash, I. Simulation and experimental study for an inverted trickle solar still. Desalination 2004, 164, 77–85. [Google Scholar] [CrossRef]
- Badran, A. Inverted trickle solar still: Effect of heat recover. Desalination 2001, 133, 167–173. [Google Scholar] [CrossRef]
- Gad, H.; Shams El-Din, S.; Hussien, A.; Ramzy, K. Heat and mass transfer analysis in a conical solar still: An experimental study. Int. Water Technol. J. 2015, 5, 130–148. [Google Scholar]
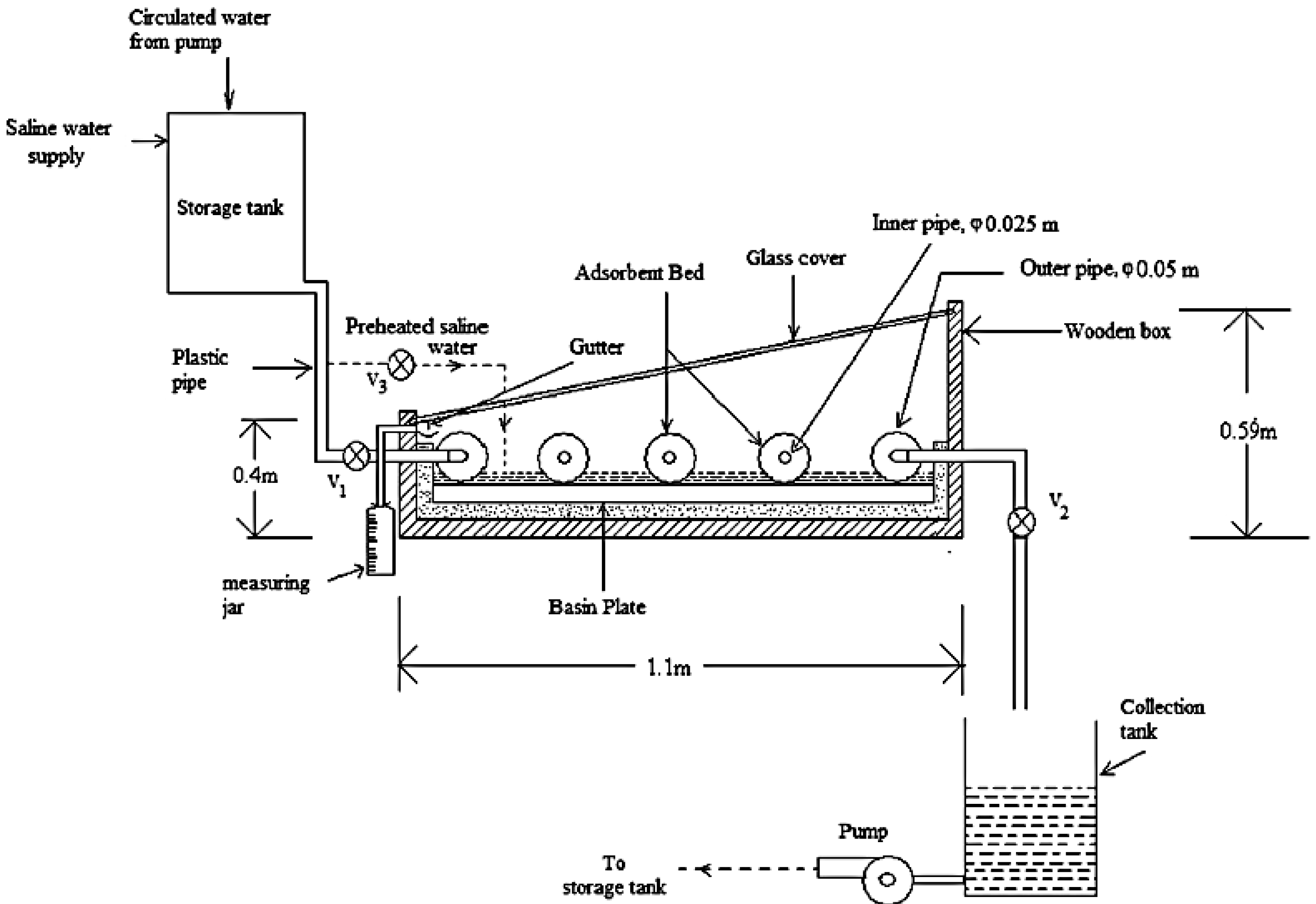
- Kannan, R.; Selvaganesan, C.; Vignesh, M.; Ramesh Babu, B.; Fuentes, M.; Vivar, M.; Skryabin, I.; Srithar, K. Solar still with vapor adsorption basin: Performance analysis. Renew. Energy 2014, 62, 258–264. [Google Scholar] [CrossRef]
- Bouchekima, B.; Gros, B.; Ouahes, R.; Diboun, M. Performance study of the capillary film solar distiller. Desalination 1998, 116, 185–192. [Google Scholar] [CrossRef]
- Navale, V.; Kumbhar, S.; Bhojawani, V. Experimental Study of masonic solar still by using nanofluid. Int. Eng. Res. J. 2016, 284, 984–987. [Google Scholar]
- Fath, H.; El-Sherbiny, S.; Ghazy, A. Transient analysis of new humidification—dehumidification solar still. Desalination 2003, 155, 187–203. [Google Scholar] [CrossRef]
- Rahbar, N.; Esfahani, J. Experimental study of a novel portable solar still by utilizing the heat pipe and thermoelectric module. Desalination 2012, 284, 55–61. [Google Scholar] [CrossRef]
- Suresh, P.; Jayaprakash, R.; Arunkumar, T.; Denkenberger, D. Effect of airflow on V- type solar still with cotton gauze cooling. Desalination 2014, 337, 1–5. [Google Scholar]
- Kumar, B.; Sanjay, K.; Jayaprakash, R. Performance analysis of a V- type solar still using a charcoal absorber and a boosting mirror. Desalination 2008, 229, 217–230. [Google Scholar] [CrossRef]
- Ahmed, M.; Hrairi, M.; Ismail, A. On the characteristics of multi-stage evacuated solar distillation. Renew. Energy 2009, 34, 1471–1480. [Google Scholar] [CrossRef]
- Tanaka, H.; Nosoko, T.; Nagata, T. Experimental study of basin type, multiple effects, diffusion coupled solar still. Desalination 2002, 150, 131–144. [Google Scholar] [CrossRef]
- Rahim, N. Utilization of new technique to improve the efficiency of horizontal solar desalination still. Desalination 2001, 138, 121–128. [Google Scholar] [CrossRef]
- Nassar, Y.; Yousif, S.; Salem, A. The second generation of the solar desalination systems. Desalination 2007, 209, 177–181. [Google Scholar] [CrossRef]
- Pandey, G. Effect of dried and forced air bubbling on the partial pressure of water vapor and performance of solar still. Sol. Energy 1984, 33, 13–18. [Google Scholar] [CrossRef]
- Sathyamurthy, R.; Nagarajan, P.; El-Agouz, S.; Jaiganesh, P.; Khanna, S. Experimental investigation on a semi-circular trough-absorber solar still with baffles for freshwater production. Energy Convers. Manag. 2015, 97, 235–242. [Google Scholar] [CrossRef]
- Fath, H. Solar distillation: A promising alternative for water provision with free energy, simple technology and a clean environment. Desalination 1998, 116, 45–56. [Google Scholar] [CrossRef]
- Arjunan, T.; Aybar, H.; Nedunchezhian, N. Status of solar desalination in India. Renew. Sustain. Energy Rev. 2009, 13, 2408–2418. [Google Scholar] [CrossRef]
- Sampathkumar, K.; Arjunan, T.; Pitchandi, P.; Senthilkumar, P. Active solar distillation—A detailed review. Renew. Sustain. Energy Rev. 2010, 14, 1503–1526. [Google Scholar] [CrossRef]
- Velmurugan, V.; Srithar, K. Performance analysis of solar stills based on various factors affecting the productivity—A review. Renew. Sustain. Energy Rev. 2011, 15, 1294–1304. [Google Scholar] [CrossRef]
- Kabeel, A.; El-Agouz, S. Review of researches and developments on solar stills. Desalination 2011, 276, 1–12. [Google Scholar] [CrossRef]
- Xiao, G.; Wang, X.; Ni, M.; Wang, F.; Zhu, W.; Luo, Z.; Cen, K. A review on solar stills for brine desalination. Appl. Energy 2013, 103, 642–652. [Google Scholar] [CrossRef]
- Sivakumar, V.; Sundaram, E. Improvement techniques of solar still efficiency: A review. Renew. Sustain. Energy Rev. 2013, 28, 246–264. [Google Scholar] [CrossRef]
- Murugavel, K.; Anburaj, P.; Hansen, R.; Elango, T. Progresses in inclined type solar stills. Renew. Sustain. Energy Rev. 2013, 20, 364–377. [Google Scholar] [CrossRef]
- Manikandan, V.; Shanmugasundaram, K.; Shanmugan, S.; Janarthanan, B.; Chandrasekaran, J. Wick type solar stills: A review. Renew. Sustain. Energy Rev. 2013, 20, 322–335. [Google Scholar] [CrossRef]
- Rajaseenivasan, T.; Murugavel, K.; Elango, T.; Hansen, R. A review of different methods to enhance the productivity of the multi-effect solar still. Renew. Sustain. Energy Rev. 2013, 17, 248–259. [Google Scholar] [CrossRef]
- Muftah, A.; Alghoul, M.; Fudholi, A.; Abdul-Majeed, M.; Sopian, K. Factors affecting basin type solar still productivity: A detailed review. Renew. Sustain. Energy Rev. 2014, 32, 430–447. [Google Scholar] [CrossRef]
- Manokar, A.; Murugavel, K.; Esakkimuthu, G. Different parameters affecting the rate of evaporation and condensation on passive solar still—A review. Renew. Sustain. Energy Rev. 2014, 38, 309–322. [Google Scholar] [CrossRef]
- Yadav, S.; Sudhakar, K. Different domestic designs of solar stills: A review. Renew. Sustain. Energy Rev. 2015, 47, 718–731. [Google Scholar] [CrossRef]
- Prakash, P.; Velmurugan, V. Parameters influencing the productivity of solar stills—A review. Renew. Sustain. Energy Rev. 2015, 49, 585–609. [Google Scholar] [CrossRef]
- Durkaieswaran, P.; Murugavel, K. Various special designs of single basin passive solar still—a review. Renew. Sustain. Energy Rev. 2015, 49, 1048–1060. [Google Scholar] [CrossRef]
- Kabeel, A.; Omara, Z.; Younes, M. Techniques used to improve the performance of the stepped solar still—A review. Renew. Sustain. Energy Rev. 2015, 46, 178–188. [Google Scholar] [CrossRef]
- El-Sebaii, A.; El-Bialy, E. Advanced designs of solar desalination systems: A review. Renew. Sustain. Energy Rev. 2015, 49, 1198–1212. [Google Scholar] [CrossRef]
- Elango, C.; Gunasekaran, N.; Sampathkumar, K. Thermal models of solar still—A comprehensive review. Renew. Sustain. Energy Rev. 2015, 47, 856–911. [Google Scholar] [CrossRef]
- Kumar, P.; Kumar, A.; Prakash, O.; Kaviti, A. Solar stills system design: A review. Renew. Sustain. Energy Rev. 2015, 51, 153–181. [Google Scholar] [CrossRef]
- Manchanda, H.; Kumar, M. A comprehensive decade review and analysis on designs and performance parameters of passive solar still. Renew. Wind Water Sol. 2015, 2, 1–24. [Google Scholar] [CrossRef]
- Rufuss, D.; Iniyan, S.; Suganthi, L.; Davies, P. Solar stills a comprehensive review of designs, performance and material advances. Renew. Sustain. Energy Rev. 2016, 63, 464–496. [Google Scholar] [CrossRef]
- Sharma, S.; Modi, K. Techniques to improve the productivity of spherical solar still. Int. J. Adv. Res. Innov. Ideas Educ. 2016, 2, 997–1001. [Google Scholar]
- Panchal, H. Use of thermal energy storage materials for enhancement in distillate output of solar still: A review. Renew. Sustain. Energy Rev. 2016, 61, 86–96. [Google Scholar] [CrossRef]
- Abujazar, M.; Fatihah, S.; Rakmi, A.; Shahrom, M. The effects of design parameters on the productivity performance of a solar still for seawater desalination: A review. Desalination 2016, 385, 178–193. [Google Scholar] [CrossRef]
- Sharshir, S.; Yang, N.; Peng, G.; Kabeel, A. Factors affecting solar stills productivity and improvement techniques: A detailed review. Appl. Therm. Eng. 2016, 100, 267–284. [Google Scholar] [CrossRef]
- Kabeel, A.; Omara, Z.; Essa, F.; Abdullah, A. Solar still with a condenser—A detailed review. Renew. Sustain. Energy Rev. 2016, 59, 839–857. [Google Scholar] [CrossRef]
- Kabeel, A.; Arunkumar, T.; Denkenberger, D.; Sathyamurthy, R. Performance enhancement of solar still through efficient heat exchange mechanism—A review. Appl. Therm. Eng. 2017, 114, 815–836. [Google Scholar] [CrossRef]
- Omara, Z.; Kabeel, A.; Abdullah, A. A review of solar still performance with reflectors. Renew. Sustain. Energy Rev. 2017, 68, 638–649. [Google Scholar] [CrossRef]
- Panchal, H.; Patel, S. An extensive review on different design and climatic parameters to increase distillate output of solar still. Renew. Sustain. Energy Rev. 2017, 69, 750–758. [Google Scholar] [CrossRef]
- Manokar, A.; Winston, D.; Kabeel, A.; El-Agouz, S.; Sathyamurthy, R.; Arunkumar, T.; Madhu, B.; Ahsan, A. Integrated PV/T solar still—A mini-review. Desalination 2017, 435, 259–267. [Google Scholar] [CrossRef]
- Sathyamurthy, R.; El-Agouz, S.; Nagarajan, P.; Subramani, J.; Arunkumar, T.; Mageshbabu, D.; Madhu, B.; Bharathwaaj, R.; Prakash, N. A review of integrating solar collectors to solar still. Renew. Sustain. Energy Rev. 2017, 77, 1069–1097. [Google Scholar] [CrossRef]




















































| Reference | Number of Reviewed Papers | Year | Solar Still Types | Results and Remarks |
|---|---|---|---|---|
| Fath [141] | 21 | 1998 | 1. Single and double slope basin. 2. Multiple-effect diffusion. 3. Weir cascade. 4. Double basin. 5. Solar still with a condenser. 6. Hybrid. 7. Wick 8. Single and multi-effect. | Solar still productivity was improved by utilizing shaded areas, minimizing heat losses, re-utilizing latent heat of condensation, and cover cooling. |
| Murugavel et al. [22] | 40 | 2008 | 1. Single and double slope basin. 2. Solar still with sponge cubes. 3. Solar still with a condenser. 4. Wick and tilted wick. 5. Regenerative. 6. Shallow basin. | 1. Rubber was the best basin material for enhancing absorption, storage, and evaporation effects. 2. Lowering cover temperature increased productivity. 3. Black dye was the best absorbing material to increase still productivity. |
| Arjunan et al. [142] | 59 | 2009 | 1. Single slope basin. 2. Double slope basin. 3. Multi-basin. 4. Double condenser chamber. 5. Hybrid. 6. Wick and multi-wick. 7. Tubular. 8. Tubular multi-wick. 9. FRP single slope. 10. Inverted absorber solar. 11. Spherical. 12. Solar still integrated with greenhouse. | 1. Single-slope-basin solar still received more radiation than a double one at low and high-altitude stations. 2. Floating absorber sheet improved still productivity. 3. Among stills evaluated, the multi-wick solar still was the most cost-effective and efficient. 4. Still performance was increased by different active methods such as flat-plate collector, heat exchanger, solar pond, and solar heater. 5. Still efficiency was enhanced by dry air bubbling and glass cover cooling. |
| Sampathkumar et al. [143] | 93 | 2010 | 1. Double slope active solar still. 2. Single, double, and multi-effect active solar still. 3. Double basin active solar still. 4. Regenerative active solar still.5. Hybrid. 6. Multiple effect diffusion. 7. Tubular. 8. Stepped. 9. Fin-type single basin. 10. Multistage active solar still. 11. Air-bubbled. 12. Pre-heated water active solar still. 13. Nocturnal, active solar still. | 1. Natural circulation model was recommended in active solar still to avoid electricity consumption by the pump in forced circulation mode. 2. Higher productivity of active solar stills during the nighttime was achieved by using energy-storing materials. 3. Solar still fed with hot water at a constant rate gave a higher yield than a still with hot water filled only once a day. 4. Copper was a very good material from which to manufacture the still cover.5. Composite materials were recommended as basin liners. |
| Kaushal [38] | 48 | 2010 | 1. Single slope basin. 2. Roof solar still. 3. Tilted wick. 4. Water film. 5. Multi-effect diffusion. 6. Solar still made up of tubes for seawater desalting. | 1. Maximum efficiency of solar still was 50%. 2. Continuous cleaning of glass cover was necessary. 3. Productivity of still with a reflector was increased by 14%. 4. Solar still was selected according to local and operating conditions. |
| Velmurugan and Srithar [144] | 52 | 2011 | 1. Solar still with sponge cubes. 2. Regenerative. 3. Triple-basin. 4. Fin type. 5. Hybrid. 6. Wick and multi-wick type 7. Stepped. 8. Concave wick surface. 9. Solar still with an external or internal condenser. | Reflectors, condenser, combined stills, asphalt basin liner, cooling film, and sun-tracking systems were used to maximize the yield of the solar still. |
| Kabeel and El-Agouz [145] | 87 | 2011 | 1. Single slope basin. 2. Double-basin. 3. Multi-basin. 4. Rotating shaft. 5. Hybrid. 6. Wick and multi-wick type 7. Stepped. 8. Solar still with a packed layer. 9. Weir-type. 10. Fin type. 11. Solar still with sponge cubes. 12. Solar still with a condenser. 13. Multi-effect diffusion. 14. Basin solar still with reflectors. | 1. The still performance was significantly influenced by basin water depth. 2. Rubber was the best basin for improving absorption, storage, and evaporation effects. 3. A flowing film of cooling water over the glass reduced the glass’s glass cover temperature. 4. Condenser, sun tracking system, reflectors, a greenhouse, hot water tank, sponge cubes, solar collector, solar pond, and phase change material were used to improve the still performance. |
| Xiao et al. [146] | 73 | 2013 | 1. Conventional basin. 2. Basin solar still with internal and external reflectors. 3. Wick. 4. Solar still with an external condenser. 5. Weir-type. 6. Weir-type cascade. 7. Hybrid. 8. Fin type. 9. Multiple-effect diffusion. | Performance of solar still was improved by: 1. Installing reflectors. 2. Coupling with solar collectors. 3. Condensation improvement. 4. Using a bigger free surface area. 5. Vapor latent heat recovery. 6. Coupling with heat storage systems. |
| Sivakumar and Sundaram [147] | 83 | 2013 | 1. Single and double slope basin. 2. Solar still with sponge cubes. 3. Basin solar still with internal and external reflectors. 4. Tilted and multi-wick. 5. Stepped. 6. Hybrid. 7. Regenerative solar still. 8. Pyramidal. 9. Single or double effect. 10. Tubular. 11. Inverted absorber. 12. Hemispherical. 13. Weir-type cascade. 14. Vertical. | 1. The still yield was significantly improved by using energy storage materials. 2. PCM increased still efficiency on summer days by 84.3%. 3. The usage of the sun tracking system resulted in increasing still productivity by 22%. 4. Still productivity was increased by 77% when coupled with a solar heater. |
| Murugavel et al. [148] | 42 | 2013 | 1. Single and double slope basin. 2. Hybrid. 3. Solar still with a condenser. 4. Double or triple basin. 5. Wick and multi-wick. 6. Wick-basin. 7. Stepped solar still. 8. Inverted tickle. 9. Weir 10. Weir cascade. 11. Basin solar still with internal and external reflectors. | 1. Still efficiency was increased by tilting the basin, referred to as sun angle. 2. Still productivity was improved by reducing feed water salinity. 3. The active solar yield was 51% higher than the passive. |
| Manikandan et al. [149] | 24 | 2013 | Wick type solar still | 1. Productivity increased by placing a reflector or a flat mirror over the still. 2. The bottom reflector directs sunlight to the evaporating wick, increasing distillate output by 25% and 10% in the summer and winter, respectively. 3. Charcoal absorber increased the evaporation rate. 4. Floating wick solar still provided maximum yield compared with other types. |
| Rajaseenivasan et al. [150] | 75 | 2013 | 1. Single and double slope basin. 2. Double or multi-basin. 3. Basin-multiple-effect diffusion coupled. 4. Single and multiple-effect diffusion. 5. Pyramidal. 6. Hybrid. 7. Regenerative solar still. 8. Wick and tilted wick. 9. Multistage evacuated. 10. Solar still with a condenser. 11. Triple and quadruple -basin. 12. Inverted absorber. | 1. The usage of film-cooling increased the efficiency to 20%. 2. High distillate output was obtained when forced circulation mode was utilized. 3. Employing parabolic collectors resulted in a higher yield than flat plate collectors. |
| Muftah et al. [151] | 135 | 2014 | 1. Single and double slope basins. 2. Inverted absorber. 3. Basin solar still with reflectors. 4. Inverted tickle. 5. Stepped solar still. 6. Hybrid solar still. 7. Solar still with a condenser. 8. Triangular and pyramidal. 9. Double and multi-effect. 10. Weir cascade. 11. Wick and tilted wick 12. Solar still with a condenser. 13. Double basin. | 1. When ambient air temperature increased by 10 °C, distillate output was enhanced by 8.2%. 2. If the still was integrated with a sun tracking system, its output improved by 50%. 3. Surfactant additives enhanced still productivity. |
| Manokar et al. [152] | 73 | 2014 | 1. Single and double slope basin. 2. Solar still with sponge cubes. 3. Inverted absorber. 4. Solar still with a condenser. 5. Stepped. 6. Hybrid. 7. Regenerative. 8. Finned. 9. Hemispherical. 10. Wick. | 1. Adding dye to the basin enhanced the water absorption coefficient. 2. Basin absorption rate improved by using charcoal, matt, sponge, jute, and cotton clothes. 3. Black rocks gave the highest productivity at night time. 4. Productivity increased by feeding waste hot water into the basin during the night. |
| Yadav and Sudhakar [153] | 53 | 2015 | 1. Single basin single and double slope. 2. Hybrid 3. Hemispherical. 4. Triangular and pyramidal type. 5. Miscellaneous. | 1. Productivity of hybrid still was enhanced by 215% when hot brackish water was fed during night time. 2. Productivity and efficiency of domestic stills were greatly improved by adding a heat reservoir under the basin liner. 3. The maximum thermal efficiency of solar still ranged between 17.4 and 45%. |
| Prakash and Velmurugan [154] | 70 | 2015 | 1. Single and double slope basin. 2. Solar still with sponge cubes. 3. Basin solar still with reflectors. 4. Wick-basin 5. Stepped. 6. Hybrid. 7. Regenerative. 8. Triangular and pyramidal. 9. Double and multi-effect. 10. Tubular. 11. Wick and tilted wick 12. Hemispherical. 13. Weir-type solar still. 14. Weir cascade. 15. Rotating shaft solar still. 16. Vertical. 17. Finned. 18. Double or multi-basin. 19. Corrugated solar still. 20. V-type 21. Solar still with a condenser. 22. Humidifier-dehumidifier. 23. Thermoelectric. | 1. Minimum basin water depth increased the still productivity. 2. Additional basin increased the still cost but highly increased its distillate. 3. Use of dye, wick, porous or energy-storing material in the basin increased the productivity. 4. Increasing the insulation material thickness increased the still productivity up to 80%. 5. The use of finned or corrugated plates in the basin increased the still productivity. |
| Durkaieswaran and Murugavel [155] | 21 | 2015 | 1. Single and double slope basin. 2. Solar still with sponge cubes. 3. Inverted absorber. 4. Concave wick. 5. Spherical. 6. Tubular multi-wick 7. Finned. 8. Pyramidal. 9. V-type. 10. Tubular. 11. Wick 12. Hemispherical. | 1. The use of internal mirrors improved the thermal performance of single-slope basin solar still by 30%. 2. Quartzite rock with a size of 3/4 inch was the effective basin material of double slope basin solar still. 3. Distillate production of pyramidal solar still was improved by about 25% if forced convection was used compared with free convection. |
| Kabeel et al. [156] | 32 | 2015 | 1. Stepped. 2. Weir-type cascade. | 1. Stepped solar still had a high heat and mass transfer surface area. 2. Stepped solar still was efficient in recovering freshwater from wastewater. 3. The productivity of the stepped still was enhanced by 112% when incorporated with a solar air heater and glass cover cooling. |
| El-Sebaii and El-Bialy [157] | 108 | 2015 | 1. Single and double slope basin. 2. Solar still with sponge cubes. 3. Inverted absorber. 4. Basin-multiple-effect diffusion coupled. 5. Stepped. 6. Hybrid. 7. Multi-stage evacuated. 8. Multiple-effect diffusion solar still. 9. Double and multi-effect solar still. 10. Tubular. 11. Wick and tilted wick 12. Inverted absorber multi-effect solar still. 13. Vapor adsorption type. 14. Weir cascade. 15. Solar still with a condenser. 16. Vertical. 17. Finned. 18. Double or multi-basin. 19. Corrugated. | 1. Productivity increased significantly by using an additional basin. 2. Daily yield increased with increasing solar collector area. 3. Optimum area of vertical solar still absorber was 3.5 m2. 4. Stepped solar still with internal reflectors and triple-basin solar still gave the lowest distillate production cost. |
| Planet et al. [158] | 86 | 2015 | 1. Single and double slope basin. 2. Solar still with sponge cubes. 3. Basin solar still with reflectors. 4. Vapor adsorption 5. Stepped. 6. Hybrid. 7. Regenerative. 8. Triangular and pyramidal. 9. Double and multi-effect solar still. 10. Tubular. 11. Wick and tilted wick 12. Multi-stage evacuated. 13. Weir-type. 14. Weir cascade. 15. Rotating shaft solar still. 16. Inverted absorber 17. Finned. 18. Double or multi-basin. 19. Inverted tickle 20. Solar still with a condenser. | Thermal models had the great advantage of predicting solar still performance at a reasonable cost. |
| Kumar et al. [159] | 104 | 2015 | 1. Single and double slope basin. 2. Solar still with sponge cubes. 3. Basin solar still with reflectors. 4. Multiple-effect diffusion solar still 5. Spherical. 6. Hybrid. 7. Regenerative. 8. Triangular and pyramidal. 9. Double and multi-effect. 10. Tubular. 11. Wick and tilted wick 12. Hemispherical. 13. Weir-type. 14. Weir cascade. 15. Rotating shaft. 16. Inverted absorber solar still 17. Finned. 18. Double or multi-basin. 19. Corrugated 20. Basin-multiple-effect diffusion coupled solar still 21. Solar still with a condenser. 22. Multistage evacuated. 23. Air-bubbled. | 1. Productivity was increased by 15% by employing a tilted external flat-plate reflector Compared with a vertical one. 2. The productivity of still with forced circulation was higher than still with thermosiphon effect. |
| Manchanda and Kumar [160] | 108 | 2015 | 1. Single and double slope basin. 2. Inverted absorber. 3. Basin solar still with reflectors. 4. V-type. 5. Stepped. 6. Double basin. 7. Finned. 8. Triangular and pyramidal. 9. Double effect solar still. 10. Tubular. 11. Wick and tilted wick. 12. Hemispherical. 13. Weir cascade. | 1. Hollow rotating cylinder/drum inside solar still improved the productivity.2. Lower water depth (0.04 m) was the optimum operational parameter. 3. The price of distilled water was 2.8 times cheaper for passive stills than for hybrid PV/T active stills. |
| Rufuss et al. [161] | 210 | 2016 | 1. Double or multiple-effect. 2. Double or triple basin. 3. Single-slope basin. 4. Single-basin double-slope. 5. Multiple slope. 6. Tubular. 7. Vertical. 8. Solar still with internal and external reflectors. 9. Stepped. 10. Wick type. 11. Weir-type cascade. 12. Finned. 13. Corrugated. 14. Hemispherical. 15. Triangular. 16. Hybrid. 17. Solar still with an external or internal condenser. 18. Regenerative. 19. Rotating shaft. | 1. Latent heat was stored by using phase change materials. 2. The still shape had a great impact on the still performance. 3. Hybrid solar still productivity was 3.5 times more than that of the passive one. 4. The regenerative solar productivity was still 70% higher than the conventional still. 5. The addition of a wick increased the incident radiation inside the still. |
| Yadav and Kumar [19] | 43 | 2016 | 1. Stepped solar still. 2. Weir-type solar still. | 1. Distillate output of stepped and weir stills were 60–80% higher than conventional still. 2. Maximum productivity still occurs when the inclination angle of glass equals to latitude angle of its location. 3. Productivity of weir-type still was higher than stepped type. |
| Sharma and Modi [162] | 13 | 2016 | Spherical solar still. | 1. Parabolic reflector was the best option for spherical solar still. 2. Jute is the best absorber of water in India. 3. Preheating inlet water and using a vacuum increased productivity. |
| Panchal [163] | 56 | 2016 | 1. Single and double slope basin. 2. Solar still with sponge cubes. 3. Regenerative. 4. Wick. 5. Finned. | 1. Blacknapthylamine dye increased distillate output by 29%. 2. Aluminum plate inside the solar still increased its productivity by 30%. 3. Productivity was increased in the range from 18–273% if sponge cubes were used. 4. Bricks gave less productivity during the morning time and high productivity during the evening. |
| Abujazar et al. [164] | 113 | 2016 | 1. Single slope basin. 2. Solar still with sponge cubes. 3. Basin solar still with reflectors. 4. Solar still with a condenser. 5. Stepped. 6. Hybrid. 7. Shallow basin. 8. Pyramidal. 9. Multi-effect. 10. Finned. 11. Wick and tilted wick 12. Hemispherical. 13. Weir-type. 14. Double basin. | 1. Productivity was increased with an increase in relative humidity and evaporation area. 2. Copper and aluminum were recommended to manufacture the bottom frame of solar still. 3. It was recommended to use a condensing cover angle of 30° or 45° for optimum output. 4. Non-toxic, diluted acid solutions, such as citric acid or oxalic acid, were suggested to clean solar still. 5. Feed and freshwater qualities, unit size, and site location influenced capital and operating costs. |
| Sharshir et al. [165] | 92 | 2016 | 1. Single and double slope basin. 2. Solar still with sponge cubes. 3. Basin solar still with reflectors. 4. Shallow. 5. Stepped. 6. Hybrid. 7. Regenerative. 8. Pyramidal. 9. Double effect. 10. Tubular. 11. Wick and tilted wick. 12. Multiple-effet diffusion. 13. Active vibratory. 14. Weir cascade. 15. Thermoelectric. 16. Solar still with a condenser. 17. Finned. 18. Multi-basin. 19. Corrugated. | 1. Wick and stepped stills were used to solve the problem of minimum water depth. 2. Solar collectors and mini solar ponds efficiently increased the inlet water temperature. 3. Yield increased by increasing environmental air temperature, wind speed and solar intensity. 4. The addition of sand (10 kg) enhanced daily efficiency by 37.8%. 5. Productivity increased up to 273% if sponge cubes were used. |
| Kabeel et al. [166] | 46 | 2016 | Different solar stills are integrated with an external, internal or built-in condenser. | 1. The usage of the condenser resulted in increasing the still yield by 70%. 2. Condenser increased productivity by increasing the condensation area. 3. Still productivity improved if coupled with a condenser and a solar chimney. |
| Kabeel et al. [167] | 108 | 2017 | 1. Single and double slope basin. 2. Solar still with sponge cubes. 3. Inverted absorber. 4. Wick-basin 5. Stepped. 6. Hybrid. 7. Regenerative. 8. Triangular and pyramidal. 9. Vapor adsorption. 10. Tubular. 11. Wick. 12. Hemispherical 13. Semi-circular trough. 14. Solar still with a condenser. 15. V-type. 16. Corrugated. 17. Finned. 18. Double or multi-basin. | Distillate output was augmented by using additives to enhance solar absorption and increase mass flow rate over glass cover. |
| Omara et al. [168] | 51 | 2017 | Different solar stills are integrated with an external or internal reflector. | Daily productivity increased by adjusting the still and reflector mirror inclination in any season. |
| Panchal and Patel [169] | 44 | 2017 | 1. Single and double slope basin. 2. Double or multi-basin. 3. Hybrid. | 1. Glass cover orientation depended on place latitude. 2. Still productivity was increased by decreasing cover temperature and increasing initial water temperature. 3. Still productivity was decreased at high wind velocity. |
| Manokar et al. [170] | 28 | 2017 | PV/T solar stills. | 1. The high temperature of the panel had a detrimental impact on power generation. 2. The availability of solar radiation determined the productivity of solar stills and the electrical energy provided by PV panels. |
| Sathyamurthy et al. [171] | 68 | 2017 | Hybrid solar stills. | 1. Freshwater yield increased by about 36% if stills integrated with solar collectors. 2. Black rubber could be added to the basin to increase its absorption rate. 3. The basin’s sensitive heat storage materials improved its saline water evaporation rate. |
Publisher’s Note: MDPI stays neutral with regard to jurisdictional claims in published maps and institutional affiliations. |
© 2022 by the authors. Licensee MDPI, Basel, Switzerland. This article is an open access article distributed under the terms and conditions of the Creative Commons Attribution (CC BY) license (https://creativecommons.org/licenses/by/4.0/).
Share and Cite
Younis, O.; Hussein, A.K.; Attia, M.E.H.; Aljibori, H.S.S.; Kolsi, L.; Togun, H.; Ali, B.; Abderrahmane, A.; Subkrajang, K.; Jirawattanapanit, A. Comprehensive Review on Solar Stills—Latest Developments and Overview. Sustainability 2022, 14, 10136. https://doi.org/10.3390/su141610136
Younis O, Hussein AK, Attia MEH, Aljibori HSS, Kolsi L, Togun H, Ali B, Abderrahmane A, Subkrajang K, Jirawattanapanit A. Comprehensive Review on Solar Stills—Latest Developments and Overview. Sustainability. 2022; 14(16):10136. https://doi.org/10.3390/su141610136
Chicago/Turabian StyleYounis, Obai, Ahmed Kadhim Hussein, Mohammed El Hadi Attia, Hakim S. Sultan Aljibori, Lioua Kolsi, Hussein Togun, Bagh Ali, Aissa Abderrahmane, Khanyaluck Subkrajang, and Anuwat Jirawattanapanit. 2022. "Comprehensive Review on Solar Stills—Latest Developments and Overview" Sustainability 14, no. 16: 10136. https://doi.org/10.3390/su141610136
APA StyleYounis, O., Hussein, A. K., Attia, M. E. H., Aljibori, H. S. S., Kolsi, L., Togun, H., Ali, B., Abderrahmane, A., Subkrajang, K., & Jirawattanapanit, A. (2022). Comprehensive Review on Solar Stills—Latest Developments and Overview. Sustainability, 14(16), 10136. https://doi.org/10.3390/su141610136

