Abstract
In the design of shield tunnels, it is important to determine the structure of the diaphragm wall in order to achieve the required retaining wall structure pattern. In this paper, the stabilization effect of a new diaphragm wall structure (Π-formed diaphragm wall) is investigated based on model experiments and numerical simulations. By varying the length of the wing wall and its angle to the end wall, it is possible to discuss the effect of different styles of Π-formed diaphragm wall on the support of the soil behind the wall during the departure and reception of the shield machine, the effect of the wing wall on the internal force distribution of the diaphragm wall generated during excavation, the effect of the excavation of the shield machine on the internal force distribution of the diaphragm wall, and the ground settlement during the departure and reception of the shield machine in different construction stages. Π-formed diaphragm walls can effectively support the soil behind the wall and reduce the major principal stresses generated during excavation. The maximum value of the major principal stress in the wing wall of the Π-formed diaphragm wall increases with the length of the wing wall, and the damage to the concrete of the diaphragm wall tends to occur on the outside rim of the wing wall.
1. Introduction
Urbanization and economic development have led to a rapid increase in the development of underground space. Due to its environmental benefits, fast speed, and large transport capacity, the subway has emerged as an important tool for urbanization. The safety of the tunnel is especially significant since it is the principal operating area of urban subways. The collapse of tunnels due to insufficient stability could lead to significant, additional expenditure of public resources, money, or even cause casualties. The safe constriction of these underground structures is always an integral part of maintaining urban sustainability. In urban areas, tunnel excavation is limited by the induced ground deformation caused by tunnel excavation. Both indoor experiments and numerical modeling have shown that a diaphragm wall can effectively mitigate excavation-induced deformation [1,2,3]. Stress development in the diaphragm walls contributes to surface deformation, and Bilotta described the distribution of stress–strain within the diaphragm walls during excavation [4]. D. A. Mironov [5] summarized the specific features of diaphragm wall construction and compared the calculated parameters of technological precipitates during the production of works with the actual values, demonstrating the potential for a wide range of applications in urban areas. Based on Terrestrial Laser Scanning (TLS) technology, Marek Wyjadłowski [6] proposed a method for estimating the subsequent soil pressure by detecting different levels of roughness in underground diaphragm walls. The results of this study are of great reference value for the design of retaining wall structures. Conventional methods for excavating tunnels include the cut and cover method, jack-in method, the New Austrian Tunneling Method (NATM), and the mountain tunneling method. The advantage of mechanical tunneling over conventional methods of tunneling is that it can be employed in a variety of environments, including those with challenging ground conditions or those located in vulnerable, metropolitan areas [7]. It is crucial to understand how the shield departs and is received because it directly impacts the quality of the completed underground tunnel axis, the efficacy of environmental protection around the hole, and the success or failure of the shield tunneling construction [8]. Scholars have conducted numerous studies regarding the mechanism by which the shield departs and is received. Broms and Benermark introduced the concept of the working surface stability coefficient in 1967 [9], and they also proposed the corresponding theoretical equation. It is in this case that the stability of the tunnel face is determined by the load factor. N. Bakker [10] et al. and others concluded that clay and sandy soils exhibit significant differences in the mechanisms of working face damage and that generalizations cannot be made. The model tests of Komiya [11] partially confirmed Bakker et al.’s [10] findings; however, the destabilization pattern of circular tunnels in sandy soils is different from that described by Mair et al. In addition to Mair’s theory, he extended the arch at an angle of 45° while increasing the vertical pressure on both sides. Wall panel size has a substantial effect on load transfer between panels, particularly in soft soils [12,13]. Numerical modeling is the most straightforward technique for calculating suitable panel sizes [14]. Furthermore, when it comes to the function of the connection between the wing wall and end wall, vertical joints in panels have an impact on load transfer. In general, the lower the joint stiffness, the more sufficiently the panels will deform. Shield crossing existing building structures was studied by several authors [15,16,17,18,19]. Shield construction has become the most common method for urban metro tunneling in soft soil areas due to its low environmental impact. When shield construction is performed in soft soils, the excavation surface may be unable to maintain stability on its own and may require support. To ensure construction safety, it is critical to maintain the structural stability of the excavated surface during shield tunneling. A destabilized excavation surface may lead to excessive soil deformation or even collapse, resulting in a series of serious damages to the adjacent buildings such as the destruction of surrounding buildings.
This paper investigates the effect of the connection between the wing wall and the end wall on the retaining effect of Π-formed diaphragm walls as a retaining structure. At the same time, the settlement of the soil and the stresses in the diaphragm walls at the start and at arrival of the shield are investigated for different wing wall lengths and different construction stages. Based on the above discussion, the relationship between different structural styles and settlement and major principal stresses is evaluated.
2. Methods
The effect of different styles of Π-formed diaphragm wall on the soil reinforcement at the end of the tunnel when the wing walls are connected to the end walls in different ways was assessed through model experiments. Numerical simulations were conducted using MIDAS/GTS NX as the calculation platform to investigate the stress distribution in the ground connection walls and the variation of their settlement for different wing wall lengths and different construction stages.
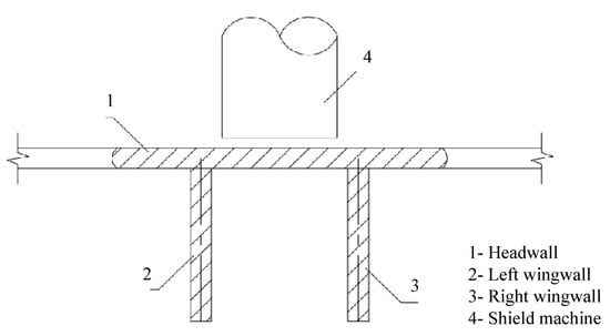
Innovative technology for shield tunnel end reinforcement, the Π-formed diaphragm walls entry and exit technology, can be directly cut with shield machine tool plates. It is structurally more complex than traditional, plain concrete diaphragm walls, as it has additional wing walls attached to it. Regarding the force performance, the new style of ground connection wall has been improved by using materials with better tensile strength in comparison to plain concrete: GFRP glass fiber in the end wall and bamboo reinforcement in the wing wall. Figure 1 illustrates a schematic diagram of a Π-formed ground connection wall structure. Many factors influence the mechanical properties of GFRP tendons, such as the fibers, as well as the resin, how the fibers are arranged in space, how they are wound [20], the loading rate, and the environment in which they are used [21]. With the Π-formed ground connection wall structure’s high tensile strength and low flexural and shear strengths, it can easily be cut. Furthermore, due to its high corrosion resistance, it may be used in wet or other aggressive environments. In addition, its thermal conductivity is comparable to that of concrete, so it is unlikely that temperature changes will cause slippage between the two materials. This ensures a synergistic effect between GFRP bars and concrete.
Figure 1.
Π-formed, underground, continuous wall structure.
2.1. Model Test
This test was intended to provide qualitative comparison. Fujian standard sand was used in the test as the soil material to prevent the uncertainty of conventional soil from introducing other variables. The model box used for the test was made of toughened glass, measuring 900 mm in length, 500 mm in width, and 600 mm in height. It was used to limit the displacement of the surrounding soil and to observe the changes in the soil inside the box. The experimental diaphragm wall was made of a 3 mm thick steel plate, with the end wall measuring 900 mm long by 500 mm wide and the wing wall measuring 200 mm long by 500 mm wide. The wing walls were welded to the end wall, and both wing walls were 80 mm from the edge of the tunnel opening. A 100 mm diameter circular hole was punched in the center of the end wall plate to indicate the tunnel opening.
To discuss the role of the angle of connection between the wing wall and the end wall on the soil support, this study considered the retaining effect of four different diaphragm wall structures for small and large displacements. In Figure 2, the diaphragm wall structure used in the model experiments is shown in four cases: wing wall outwards, wing wall inwards, wing wall perpendicular to the end wall, and no wing wall. In the case of small displacements, the cavity was always partially stress constrained, but the stress generated by the diaphragm wall was less than the earth pressure behind the wall. In the case of large displacements, there was no stress constraint at the opening, and the soil was free to flow.
Figure 2.
Model drawing of Π-formed diaphragm wall. (a) Wing wall outward sloping structure. (b) Wing wall vertical angle structure. (c) Inward sloping wing wall construction. (d) No wing wall construction.
2.1.1. Small Displacement Test
The small displacement case refers to experiments where foam was installed at the cavity door to simulate the restraining effect of the door on the soil in the cavity when the cavity is not destroyed. The experimental setup for the small displacement case is shown in Figure 3.
Figure 3.
Schematic diagram of a model test with small displacements.
2.1.2. Large Displacement Test
The experimental setup for the large displacement case involved closing the cavity with a steel plate. After the filling was complete, the steel plates were removed to simulate the effect of supporting the underground diaphragm wall without the restraint of the cavity door. The standard sand was placed in the tray at the lower end of the hole and filled into the model in uniform layers. Once the specimen in the model had filled the mold, the steel plate was pressed down by hand and quickly removed so that the sand and gravel could flow out of the hole behind the plate. The support effect of this type of diaphragm wall was estimated by measuring the mass of the specimen flowing out of the hole. When the gravel behind the plate was stable and did not continue to slide, the collapse area was measured. The width parallel to the end wall, the depth perpendicular to the end wall, and the maximum value of the width and depth of the collapsed area in the mold were measured. The experimental procedure is shown in Figure 4.
Figure 4.
Schematic diagram of a model test with large displacements.
2.2. Numerical Simulation
The numerical model and mesh division are shown in Figure 5; the model is divided by hexahedral cells. The mesh division and geometric model of the diaphragm wall are shown in Figure 6. The model is meshed with a 20-node hexahedral mesh, with a total of 634,135 hexahedral cells in the model.
Figure 5.
MIDAS/GTS NX model diagram.
Figure 6.
Model of Π-formed diaphragm wall.
2.2.1. Assumptions
- It was considered that the soil behind the retaining wall was uniformly distributed at each layer, and the loss of material due to overexcitation and voids outside the tunnel perimeter was not considered;
- Intermittences during shield construction were not considered, and it was assumed that the shield machine advanced continuously with continuous palm pressure;
- The mechanical properties of the soil were maintained during the excavation process, regardless of regional discontinuities;
- The initial ground stress was calculated based on only the self-weight stress of the soil without considering the tectonic stress or vibrations of the shield machine on the soil body during excavation;
- The soil was isotropic elastic plastic, and its intrinsic relationships were determined by the modified Mohr–Coulomb criteria.
2.2.2. Model Building
The numerical model in this study simulated a common geological structure with 4 m of miscellaneous fill in the upper layer and 56 m of clay in the lower layer, with the soil parameters shown in Table 1. With the ground surface as the base and below as positive and l as the distance from the surface, groundwater is located at l = 5 m. The excavation surface is the XOZ plane, with the positive direction along the y-axis specified as the direction of tunnel excavation. The tunnel diameter D = 6.4 m, and the distance between the center of the tunnel and the ground surface l = 20 m.
Table 1.
Table of soil and concrete parameters.
MIDAS/GTS NX generates the default boundary conditions. The bottom of the model is parallel to the XOY plane, which is set as a fixed boundary condition; the front and back of the model are parallel to the XOZ plane, which is set as a movable hinge, and the points on this boundary are displaced in the Y direction to 0; the left and right sides of the model are parallel to the YOZ plane, which is set as a movable hinge, and the points on this boundary are displaced in the Y direction to 0. The model is concerned with the influence of the length of the wing walls on the distribution of the internal forces in the Π-formed diaphragm wall during the departure and reception of the shield machine. The model studies the influence of the length of the wing walls on the distribution of internal forces in the Π-formed underground diaphragm wall during the departure and reception of the shield machine, as well as the force characteristics of the shield machine at each stage of the excavation process and the changes in the ground settlement caused by it.
After the excavation is carried out, the exposed soil is installed in time for the tunnel pipe sheet. This model pipe sheet is a simulated concrete slab unit, as shown in Figure 7, and its strength is taken as C50. The construction stage of tunnel excavation is 2 m forward along the tunnel axis in every other stage, and the location of its construction stage is shown in Figure 8. Observation path 1 is set along the tunnel axis, and observation path 2 is set along the ground parallel to the x-axis at a distance of 4 m from the end wall. The distribution of observation points along the observation path is shown in Figure 9.
Figure 7.
Model drawing of the tunnel tube sheet.
Figure 8.
Tunnel excavation location.
Figure 9.
Path selection. (a) Path 1. (b) Path 2.
3. Results and Analysis
In the model experiments, the influence of four distinct types of Π-formed diaphragm wall on the end soil was investigated, with and without constraints in the cavity. The purpose of this numerical simulation was to investigate the effect of different wing wall lengths on the suppression of displacement during each excavation stage, as well as the stress distribution on the diaphragm wall. The results of the experimental study and the numerical simulations are discussed in this section.
3.1. Effect of Wing Wall Length on Stress Distribution during Departure and Reception of Shield
3.1.1. Small Displacement Model Test Results and Analysis
In the small displacement experiment, the average value of the displacement of the foam circular cake at the start and arrival of the shield when the angle between the wing wall and the end wall connection was different. In Figure 10, it can be seen that the deflection angle of the wing wall is not significant in supporting the end soil when small displacements are experienced. However, under the same experimental conditions, the displacements out of the hole are all smaller than the displacements into the hole. This indicates that the overall displacement of the incoming hole is large, and the supporting structure of the hole has a supporting effect on the outflow of sand during the outgoing hole. Three sets of control tests were set up, and the average values of the displacements of the three control groups under the same experimental conditions were found, as shown in Figure 11. By observing the displacement of the foam cakes, the effect of the corresponding diaphragm wall style could be inferred. The analysis found that the deflection angle of the wing wall did not significantly change the support effect of the end soil when small displacements occurred. In the case of small displacement, the deflection angle of the wing wall did not change the support effect of the end soil very significantly. Meanwhile, the Π-formed ground connection wall with the same wing wall deflection angle produced slightly larger overall displacements during shield entry. This is because the model tunnel at the cavern entrance had a certain blocking effect on the sand exit from the cavern entrance.
Figure 10.
Sand output at different wing wall deflection angles for small displacements.
Figure 11.
The deflection direction of different wing walls influences the small displacement.
3.1.2. Large Displacement Model Test Results and Analysis
The test results for different wing wall deflection angles at large displacements are shown in Figure 12. In terms of sand output, the sand output from the diaphragm wall with wing walls was significantly higher than that from the diaphragm wall without wing walls. Without the wing wall, the sand output was 17.1 kg, but, with the wing wall deflected inwards, the sand output was only 9.8 kg: a difference of almost twice as much. At the same time, the angle of deflection of the wing wall in the case of having a wing wall also had a different effect on controlling the amount of sand outflow, with the inward deflection having a better support effect; the further the outward deflection, the more sand outflow, as shown in Figure 12.
Figure 12.
Sand output from different wing walls for large displacements.
3.2. Influence of Wing Wall Length on the Stress Distribution within the Diaphragm Wall during Shield Initiation and Reception
Because of the small difference in stress and displacement changes in the departure and reception of the shield, the numerical simulations only simulated the departure situation, and the reception situation was similar to that of the departure status. The hazardous working condition was the moment the shield broke through the hole door and the palm surface acted on the soil.
This can be seen in Figure 13. When no wing wall is present to support the cavity door, there will be a larger stress area at the center of the cavity, and the length of the wing wall at the edge of the cavity will affect the stress distribution near the cavity door. Moreover, a longer wing wall will result in a smaller stress distribution of the soil near the cavity door in the y-axis direction.

Figure 13.
Stress distribution in the y-axis for different support structures under hazardous working conditions. (a) Traditional method. (b) No wing wall. (c) Wing wall is 2 m. (d) Wing wall is 4 m. (e) Wing wall is 6 m. (f) Wing wall is 8 m.
The forces inside and outside the wing walls of the diaphragm wall during the departure of the shield are shown in Figure 14 and Figure 15, respectively. As the length of the wing wall increased, the major principal stresses in the end wall tended to decrease. The presence of the wing wall played an important role in the stress redistribution in the end wall, and the major principal stress value shifted from the end wall position to the wing wall position as the length of the wing wall increased. The red areas in the stress cloud diagram, which appear mainly near the cavity, indicate the higher stresses here. When the wing wall appeared, the stresses around the hole appeared to decrease, and the red areas appear on the outside of the wing wall where the stresses increased and became more pronounced on both sides of the wing wall as the length of the wing wall increased.
Figure 14.
External stress distribution clouds for different styles of diaphragm wall. (a) No wing wall. (b) Wing wall is 2 m. (c) Wing wall is 4 m. (d) Wing wall is 6 m. (e) Wing wall is 8 m.
Figure 15.
Internal stress distribution clouds for different styles of diaphragm wall. (a) No wing wall. (b) Wing wall is 2 m. (c) Wing wall is 4 m. (d) Wing wall is 6 m. (e) Wing wall is 8 m.
3.3. Surface Settlement and Internal Stress Distribution in Diaphragm Wall at Different Stages of Construction
When the wing wall was 6 m long and perpendicular to the end wall, the surface displacements and the stress distribution within the diaphragm wall for each construction phase in the departure case were considered. The construction process can be divided into six construction phases, which are:
Stage 1: The tunnel is not excavated; the model is subject to gravity only, and the model is analyzed for ground stress equilibrium. To prevent settlement of the ground surface by the initial displacement, this stage should zero out the displacement.
Stage 2: The cavern door is broken, and the palm face of the shield machine is placed against the internal structure of the tunnel, providing a palm force of 150 kN/m2 acting on the cavern door soil.
Stages 3–5: In each stage, the shield machine advances 2 m along the y-axis to cut the soil, applying a force of 150 kN/m2 to the excavated soil surface to simulate the shield palm surface thrust and promptly assembling the excavated soil with the pipe sheet until the cutter reaches the end of the wing wall.
Stage 6: The shield machine continues to dig forward for 2 m beyond the end of the wing wall, the force from the palm surface is applied to the soil, and the pipe sheet is completed in time to form the support.
These six stages are divided into two categories: the initial stage and the excavation stage. Stage 1 is the initial stage and stages 2–6 are the excavation stage, where the tunnel is excavated in one piece every 2 m, and the location map is shown in Figure 8. This section discusses the stress distribution state of the diaphragm wall and the surface settlement over time.
During the tunnel boring process, the maximum settlement of the ground surface is generally distributed along the axis of the tunnel; therefore, two typical paths of the ground surface were selected, as shown in Figure 9. Observation points were set at 2 m intervals along the observation path, with a total of 31 observation points along the tunnel axis, numbered in sequence. A total of 41 observation points were set up on the observation path 4 m away from the end wall and were numbered sequentially. Settlement was specified to be positive along the negative z-axis. As the displacement at stage 1 was specified as zero, Figure 16 shows the distribution of surface settlement along the axial direction of the tunnel at stages 2–6. Figure 17 shows the distribution of surface settlement parallel to the end wall at 4 m at stages 2–6.
Figure 16.
Schematic diagram of path 1 settlement at different stages of construction. (a) Stage 2. (b) Stage 3. (c) Stage 4. (d) Stage 5. (e) Stage 6.
Figure 17.
Schematic diagram of path 2 settlement at different stages of construction. (a) Stage 2. (b) Stage 3. (c) Stage 4. (d) Stage 5. (e) Stage 6.
Settlement at each observation point on path 1 at different stages of construction is shown in Figure 18. As shown in Figure 18, settlement of the ground surface mainly occurred near the Π-formed diaphragm wall as the shield entered the tunnel, with progressively less settlement as the distance increased. During the course of stages 2–3, the settlement on the tunnel axis was insignificant, and, as the shield continued to advance, the maximum settlement appeared to increase, with the maximum settlement occurring at a location approximately 10 m from the end wall.
Figure 18.
Settlement curve of the observation points in path 1.
Figure 19 depicts the amount of settlement at each observation point on path 2 at different stages of construction. In the horizontal direction, the surface settlement showed a symmetrical distribution, with the maximum settlement occurring mainly at the axial position of the tunnel and becoming larger as the shield machine progresses. The wing walls impeded the development of surface displacements in the horizontal direction, and the soil settlement immediately adjacent to the wing walls was very small.
Figure 19.
Settlement curve of the observation points in path 2.
The data of the maximum values of the major principal stresses in the Π-formed diaphragm walls under different stages were compiled and analyzed, as shown in Figure 20. It was found that the maximum value of the major principal stress became larger concerning the initial ground stress when the shield passed through the wing wall of the Π-formed diaphragm walls. As the shield advanced, the maximum value of the major principal stress tended to increase and then decrease, and the maximum value of the major principal stress was large in stages 2–3, which means that this process is the dangerous stage.
Figure 20.
Distribution of the major principal stress in the diaphragm wall for the different stages in the cavern.
The maximum values of the major principal stresses in the Π-formed diaphragm walls under different working conditions are shown in Figure 20, which shows that the tendency of the major principal stresses in the Π-formed diaphragm walls increased and then decreased when the shield machine was exiting the hole, with a peak value of 3505.60 kN/m2 in stage 4, i.e., when the shield blade was 4 m from the end wall.
The objective of this study was to investigate the effects of different geometries on the strength of the diaphragm wall through model experiments and numerical simulations. This document provides a reference and guidance for the design of diaphragm walls in practical applications. In particular, inward-deflected wing walls and longer wing walls have better support effects.
4. Conclusions
In this study, the influence of the shape of the diaphragm wall on the amount of ground settlement during the arrival and initiation of the shield was discussed using experimental and numerical simulations. At the same time, the internal force distribution of the diaphragm wall at different stages of construction was discussed, and the specific findings are summarized as follows:
(1) During small displacements, the deflection angle of the wing wall (small angle deflection) does not differ much in the effect of supporting the underground diaphragm shield inside and outside the cavity. In the case of large displacements, wing walls with inward deflection are more effective than those with outward deflection;
(2) A shield with a diaphragm wall exiting at the bottom is the most likely place for soil eruption. The longer the wing wall, the lower the stress in the soil around the entrance;
(3) As the length of the wing wall increases, the major principal stress in the wing wall at the shield entry increases, and the change becomes more apparent later; the damage to the concrete tends to occur on the outside of the wing wall. When the shield is received, the stress in the soil around the hole along the y-axis decreases as the length of the wings increases;
(4) If the wing wall is less than 4 m in length, it is most likely to be damaged on the inner side; if it is between 4 m and 8 m in length, it is most likely to be damaged on the outer side; the maximum value of the principal stress rises as the wing wall lengthens;
(5) In stage 2, ground settlement is mainly between wing walls; outside the wing walls, there is no soil settlement. As the shield tunnels forward, the significant settlement of the ground surface appears above the front of the cutter. During tunneling, the major principal stress value first increases and then decreases, with the Π-formed diaphragm wall most likely to fail during stage 2.
Author Contributions
Conceptualization: J.H. and S.W.; methodology, S.W.; software, S.W.; validation, S.W.; writing—original draft preparation, Y.W.; writing—review and editing, Y.W.; visualization, Y.W.; supervision, X.R. and J.P.; project administration, J.H. and Z.W.; funding acquisition, R.H. and D.Z. All authors have read and agreed to the published version of the manuscript.
Funding
This research was funded by the National Natural Science Foundation of China (grant no. 51968019), the Natural Science Foundation of Hainan Province Youth Fund Project (519QN333), the Natural Science Foundation of Hainan Province (No.519MS024), the High Technology Direction Project of the Key Research & Development Science and Technology of Hainan Province, China (grant no. ZDYF2021GXJS020), the High-Level Talent Project of Hainan Basic and Applied Basic Research Plan (2019RC148, 2019RC351), and the characteristic innovation (Natural Science) projects of scientific research platforms and scientific research projects of Guangdong Universities in 2021 (grant no. 2021KTSCX139). The authors also acknowledge support from the China Scholarship Council.
Institutional Review Board Statement
Not applicable.
Data Availability Statement
Not applicable.
Conflicts of Interest
The authors declare no conflict of interest.
References
- Bilotta, E. Use of diaphragm walls to mitigate ground movements induced by tunneling. Géotechnique 2008, 58, 143–155. [Google Scholar] [CrossRef]
- Bilotta, E.; Russo, G. Use of a Line of Piles to Prevent Damages Induced by Tunnel Excavation. J. Geotech. Geoenviron. Eng. 2011, 137, 254–262. [Google Scholar] [CrossRef]
- Bilotta, E.; Taylor, R.N. Centrifuge modeling of tunneling close to a diaphragm wall. Int. J. Phys. Model. Geotech. 2005, 5, 27–41. [Google Scholar] [CrossRef]
- Bilotta, E.; Stallebrass, S.E. Prediction of stresses and strains around model tunnels with adjacent embedded walls in overconsolidated clay. Comput. Geotech. 2009, 36, 1049–1057. [Google Scholar] [CrossRef] [Green Version]
- Mironov, D.A.; Osokin, A.I.; Loseva, E.S.; Kuzhelev, A.I. Specific features of diaphragm wall construction. IOP Conf. Ser. Mater. Sci. Eng. 2020, 775, 012051. [Google Scholar] [CrossRef] [Green Version]
- Wyjadłowski, M.; Muszyński, Z.; Kujawa, P. Application of Laser Scanning to Assess the Roughness of the Diaphragm Wall for the Estimation of Earth Pressure. Sensors 2021, 21, 7275. [Google Scholar] [CrossRef] [PubMed]
- Alsahly, A.; Stascheit, J.; Meschke, G. Advanced finite element modeling of excavation and advancement processes in mechanized tunneling. Adv. Eng. Softw. 2016, 100, 198–214. [Google Scholar] [CrossRef]
- Dun, Z.L.; Cao, Y.; Ren, L.W. Risk Analysis during Departure and Reception of Shield in the Yellow River Crossing Tunnel of the Middle Route Project of South-to-North Water Diversion. Appl. Mech. Mater. 2011, 90–93, 2125–2130. [Google Scholar] [CrossRef]
- Broms, B.B.; Bennermark, H. Stability of Clay at Vertical Opening. J. Soil Mech. Found. Div. 1967, 93, 71–94. [Google Scholar] [CrossRef]
- Bakker, K.J.; Bezuijen, A.; Broere, W.; Kwast, E.A. Geotechnical Aspects of Underground Construction in Soft Ground. In Proceedings of the 5th International Symposium TC28, Amsterdam, The Netherlands, 15–17 June 2005; CRC Press: Boca Raton, FL, USA, 2013. [Google Scholar]
- Komiya, K.; Shimizu, E.; Watanabe, T.; Kodama, N. Earth pressure exerted on tunnels due to the subsidence of sandy ground. In Geotechnical Aspects of Underground Construction on Soft Ground; A. A. Balkema: Rotterdam, The Netherlands, 2000. [Google Scholar]
- Comodromos, E.M.; Papadopoulou, M.C.; Konstantinidis, G.K. Effects from diaphragm wall installation to surrounding soil and adjacent buildings. Comput. Geotech. 2013, 53, 106–121. [Google Scholar] [CrossRef]
- Gunn, M.J.; Clayton, C.R.I. Installation effects and their importance in the design of earth-retaining structures. Géotechnique 1992, 42, 137–141. [Google Scholar] [CrossRef]
- Wu, G.; Chen, W.; Bian, H.; Yuan, J. Structure optimisation of a diaphragm wall with special modelling methods in a large-scale circular ventilating shaft considering shield crossing. Tunn. Undergr. Space Technol. 2017, 65, 35–41. [Google Scholar] [CrossRef]
- Gang, W.; Yu, S. Effect Analysis of Double-O-Tube Shield Tunnel Crossing Masonry Structure Building with 45°. In Proceedings of the 2012 Second International Conference on Electric Technology and Civil Engineering, ICETCE ’12, Yichang, China, 18–20 May 2012; IEEE Computer Society: Washington, DC, USA, 2012; pp. 1028–1031. [Google Scholar]
- Sirivachiraporn, A.; Phienwej, N. Ground movements in EPB shield tunneling of Bangkok subway project and impacts on adjacent buildings. Tunn. Undergr. Space Technol. 2012, 30, 10–24. [Google Scholar] [CrossRef]
- Wei, G. Numerical Simulation of Shield Tunnel Crossing Masonry Structure Building with Various Degrees. Adv. Mater. Res. 2012, 368–373, 889–893. [Google Scholar] [CrossRef]
- Xu, Q.; Zhu, H.; Ma, X.; Ma, Z.; Li, X.; Tang, Z.; Zhuo, K. A case history of shield tunnel crossing through group pile foundation of a road bridge with pile underpinning technologies in Shanghai. Tunn. Undergr. Space Technol. 2015, 45, 20–33. [Google Scholar] [CrossRef]
- Yamaguchi, I.; Yamazaki, I.; Kiritani, Y. Study of ground-tunnel interactions of four shield tunnels driven in close proximity, in relation to design and construction of parallel shield tunnels. Tunn. Undergr. Space Technol. 1998, 13, 289–304. [Google Scholar] [CrossRef]
- Pang, Y.; Zhang, P.; Gao, D.; Zhao, K.; Mo, F. Effects of winding way on mechanical properties of GFRP bar. J. Jiangsu Univ. Nat. Sci. Ed. 2014, 35, 589–594. [Google Scholar] [CrossRef]
- Robert, M.; Cousin, P.; Benmokrane, B. Durability of GFRP Reinforcing Bars Embedded in Moist Concrete. J. Compos. Constr. 2009, 13, 66–73. [Google Scholar] [CrossRef] [Green Version]
Publisher’s Note: MDPI stays neutral with regard to jurisdictional claims in published maps and institutional affiliations. |
© 2022 by the authors. Licensee MDPI, Basel, Switzerland. This article is an open access article distributed under the terms and conditions of the Creative Commons Attribution (CC BY) license (https://creativecommons.org/licenses/by/4.0/).