Speed and Sustainability When Entering New Market
Abstract
:1. Introduction
2. Literature Review
3. Materials and Methods
- Q1:
- What are the innovative points of the SPEED strategy?
- Q2:
- How to design a strategy analysis method in operational research?
- Q3:
- What are the benefits of the SPEED strategy for companies which intend to enter new markets?
4. Results
4.1. Strategy Modeling
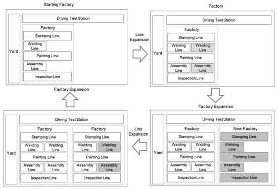
4.2. Configuration Factory and Capacity Expansion Rule
4.3. Estimating Key Parameters
4.4. Mathematical Formulation of Strategy
| Definition of Parameters and Decision Variables |
| Indices t: Time period, (t = 1, 2, …, T), where T = 15 : Factory and line size option Parameters P: Set of factory size option E: Set of line expansion size option t *: Time when the existing factory was built tp(s): Construction time of the factory with capacity s te(s): Construction time of line expansion with capacity s Dt: Demand at time t : Maximum available capacity per site : Factory construction costs per unit capacity : Line construction costs per unit capacity : Labor cost for construction of the factory with capacity : Labor cost for construction of line expansion with capacity : Opportunity cost (sales lost cost) per unit. : Cost of new site acquisition Decision Variables : Production amount at time t. : Capacity at time t. : 1 if the factory withsize and the line withsize is constructed at time . 0: otherwise : 1 if the line with size is constructed at time within the factory with size constructed at time where 0, otherwise : Cumulative cost of capacity set up by time t : Cost of factory maintenance and operations at time t Number of the acquired site by time t |
4.5. Competitiveness Evaluation
4.5.1. Application Data
4.5.2. Analysis of Competitiveness
- (1)
- Competitiveness in Cost
- (2)
- Competitiveness by Demand Patterns
- (3)
- Competitiveness of Utilization
- (4)
- Competitiveness of Sustainability and ESG
5. Discussion and Conclusions
Author Contributions
Funding
Institutional Review Board Statement
Informed Consent Statement
Conflicts of Interest
Appendix A
| Market | Total Cost (1 Mil.) | Production Cost (1 Mil.) | Capacity Idle Cost (1 Mil.) | Lost Sales Cost (1 Mil.) | Utilization Ratio | |||||||||||
|---|---|---|---|---|---|---|---|---|---|---|---|---|---|---|---|---|
| SPEED | Idle * | Lost ** | SPEED | Idle | Lost | SPEED | Idle | Lost | SPEED | Idle | Lost | SPEED | Idle | Lost | ||
| Matured | USA | 17,877.05 | 25,139.29 | 17,850.27 | 7064.79 | 1848.81 | 7727.96 | 17.89 | 0.01 | 182.72 | 10,794.37 | 23,290.48 | 9939.59 | 1.00 | 1.00 | 0.98 |
| UK | 1711.1 | 2528.94 | 1720.23 | 1389.13 | 1467.18 | 1397.98 | 44.31 | 13.03 | 44.59 | 277.66 | 1048.73 | 277.66 | 0.97 | 0.99 | 0.97 | |
| Canada | 1454.67 | 1874.72 | 1464.72 | 1199.24 | 1392.96 | 1207.52 | 255.44 | 32.02 | 257.2 | 0 | 0 | 0 | 0.82 | 0.98 | 0.82 | |
| Spain | 1023.42 | 1116.08 | 1327.74 | 649.47 | 657.31 | 819.23 | 101.64 | 102.87 | 456.18 | 272.32 | 355.9 | 52.33 | 0.86 | 0.86 | 0.64 | |
| France | 1089.75 | 1162.95 | 1388.94 | 816.38 | 926.34 | 1088.38 | 0 | 64.35 | 162.01 | 273.37 | 172.26 | 138.55 | 1.00 | 0.94 | 0.87 | |
| Germany | 1093.78 | 1174.66 | 1389.69 | 832.36 | 950.49 | 1105.13 | 0 | 48.32 | 162.1 | 261.42 | 175.85 | 122.46 | 1.00 | 0.95 | 0.87 | |
| Australia | 1452.01 | 1318.86 | 1436.37 | 894.08 | 1082.34 | 1180.86 | 0 | 16.98 | 245.22 | 557.93 | 219.54 | 10.3 | 1.00 | 0.98 | 0.83 | |
| Italy | 774.61 | 774.95 | 1110.8 | 564.04 | 535.81 | 808.84 | 210.57 | 38.81 | 301.96 | 0 | 200.33 | 0 | 0.73 | 0.93 | 0.73 | |
| Japan | 778.73 | 645.76 | 1088.22 | 533.46 | 563.87 | 994.9 | 245.27 | 14.96 | 26.39 | 0 | 66.93 | 66.93 | 0.69 | 0.97 | 0.97 | |
| Netherlands | 853.03 | 623.27 | 1098.78 | 368.34 | 550.27 | 711.67 | 484.69 | 49.47 | 387.11 | 0 | 23.53 | 0 | 0.43 | 0.92 | 0.65 | |
| Belgium | 831.94 | 600.51 | 1076.78 | 371.08 | 548.77 | 720.43 | 460.86 | 29.31 | 356.35 | 0 | 22.43 | 0 | 0.45 | 0.95 | 0.67 | |
| Austria | 849.36 | 539.9 | 1094.95 | 327.19 | 442.32 | 632.69 | 522.17 | 0 | 462.25 | 0 | 97.58 | 0 | 0.39 | 1.00 | 0.58 | |
| Switzerland | 1012.02 | 604.98 | 1264.61 | 280.16 | 502.44 | 525.13 | 731.86 | 102.54 | 739.48 | 0 | 0 | 0 | 0.28 | 0.83 | 0.42 | |
| South Korea | 740.42 | 335.25 | 981.33 | 206.3 | 277.68 | 410.14 | 534.12 | 55.7 | 571.19 | 0 | 1.86 | 0 | 0.28 | 0.83 | 0.42 | |
| Poland | 677.47 | 270.43 | 915.67 | 186.23 | 223.01 | 377.56 | 491.24 | 47.42 | 538.11 | 0 | 0 | 0 | 0.27 | 0.82 | 0.41 | |
| Sweden | 882.34 | 475.3 | 1129.35 | 220.47 | 356.3 | 423.29 | 661.87 | 119.01 | 706.06 | 0 | 0 | 0 | 0.25 | 0.75 | 0.37 | |
| Growing | China | 12,257.8 | 19,416.39 | 12,611.18 | 6322.33 | 1602.35 | 7241.53 | 129.55 | 0 | 666.3 | 5805.92 | 17,814.04 | 4703.35 | 0.97 | 1.00 | 0.89 |
| Russia | 2240.55 | 3049.7 | 2377.86 | 1823.4 | 1555.5 | 1960.5 | 398.38 | 48.12 | 350.46 | 18.76 | 1446.07 | 66.89 | 0.82 | 0.98 | 0.85 | |
| Brazil | 2064.91 | 2746.5 | 2205.96 | 1745.24 | 1455.68 | 1918.95 | 305.91 | 5.85 | 264.51 | 13.75 | 1284.97 | 22.49 | 0.84 | 1.00 | 0.87 | |
| Mexico | 874.55 | 933.88 | 1175.71 | 643.2 | 754.2 | 848.11 | 17.43 | 60.43 | 319.42 | 213.92 | 119.25 | 8.18 | 0.97 | 0.93 | 0.73 | |
| India | 1795.2 | 1948.49 | 1985.51 | 1403.39 | 1516.78 | 1742.93 | 69.87 | 20.4 | 169.26 | 321.94 | 411.3 | 73.32 | 0.93 | 0.99 | 0.89 | |
| Thailand | 1525.13 | 1614.71 | 1558 | 1211.88 | 1105.74 | 992.26 | 262.69 | 66.83 | 257.41 | 50.56 | 442.14 | 308.33 | 0.81 | 0.95 | 0.79 | |
| Iran | 1122.37 | 961.74 | 1162.48 | 565.83 | 725.72 | 903.65 | 69.59 | 78.7 | 256.25 | 486.96 | 157.32 | 2.58 | 0.89 | 0.89 | 0.78 | |
| Malaysia | 661.86 | 349.22 | 899.39 | 247.66 | 247.68 | 504.82 | 414.2 | 7.14 | 394.57 | 0 | 94.4 | 0 | 0.37 | 0.97 | 0.56 | |
| Taiwan | 715.49 | 310.15 | 955.32 | 184.61 | 237.92 | 369.74 | 530.88 | 70.53 | 585.58 | 0 | 1.7 | 0 | 0.26 | 0.77 | 0.39 | |
| Saudi A. | 723.16 | 544.1 | 1019.84 | 393.33 | 452.39 | 742.5 | 329.83 | 33.46 | 220.82 | 0 | 58.25 | 56.52 | 0.54 | 0.92 | 0.77 | |
| Turkey | 658.76 | 565.87 | 989.96 | 430.61 | 491.15 | 647.1 | 228.15 | 56.58 | 342.86 | 0 | 18.14 | 0 | 0.65 | 0.90 | 0.65 | |
| UAE | 809.94 | 412.71 | 1053.84 | 200.98 | 321.03 | 392.26 | 608.96 | 72.65 | 661.58 | 0 | 19.03 | 0 | 0.25 | 0.81 | 0.37 | |
| Kazakhstan | 668.13 | 204.81 | 905.93 | 31.01 | 71.3 | 63.08 | 637.12 | 133.51 | 842.85 | 0 | 0 | 0 | 0.05 | 0.35 | 0.07 | |
| Introduction | South Africa | 640.66 | 587.48 | 971.08 | 447.92 | 461.03 | 678.94 | 192.74 | 43.68 | 292.14 | 0 | 82.78 | 0 | 0.70 | 0.91 | 0.70 |
| Indonesia | 991.74 | 964.2 | 1153.85 | 746.38 | 781.97 | 852.86 | 165.8 | 115.67 | 254.08 | 79.56 | 66.57 | 46.91 | 0.78 | 0.85 | 0.76 | |
| Argentina | 669.69 | 399.52 | 913.7 | 265.23 | 338.25 | 534.7 | 404.46 | 53.42 | 372.85 | 0 | 7.85 | 6.15 | 0.40 | 0.85 | 0.59 | |
| Dominican | 640.65 | 177.33 | 877.27 | 12.01 | 24.93 | 24.67 | 628.64 | 152.39 | 852.6 | 0 | 0 | 0 | 0.02 | 0.14 | 0.03 | |
Appendix B
| Country | Y01 | Y02 | Y03 | Y04 | Y05 | Y06 | Y07 | Y08 | Y09 | Y10 | Y11 | Y12 | Y13 | Y14 | Y15 | Y16 | Y17 | Y18 | Y19 | Y20 | Y21 | Y22 |
|---|---|---|---|---|---|---|---|---|---|---|---|---|---|---|---|---|---|---|---|---|---|---|
| China | 1,659,179 | 2,390,577 | 3,414,827 | 3,837,698 | 4,618,627 | 5,853,807 | 6,972,446 | 7,520,584 | 1,162,0643 | 1,535,9512 | 1,623,5026 | 1,726,0270 | 1,987,8219 | 2,195,3532 | 2,275,3571 | 2,423,4810 | 2,460,3343 | 2,553,0876 | 2,686,7578 | 2,805,1661 | 2,905,1408 | 2,989,9185 |
| United States | 1,711,8669 | 1,681,3068 | 1,663,5535 | 1,686,9894 | 1,695,6222 | 1,656,8453 | 1,615,6717 | 1,324,5391 | 1,043,6926 | 1,159,0357 | 1,277,9036 | 1,449,9305 | 1,560,4014 | 1,651,9157 | 1,723,9526 | 1,751,2392 | 1,782,9663 | 1,754,0546 | 1,730,3303 | 1,713,4510 | 1,711,6044 | 1,701,8554 |
| Japan | 5,623,612 | 5,584,688 | 5,497,036 | 5,541,583 | 5,544,887 | 5,426,394 | 5,099,157 | 4,861,858 | 4,482,483 | 4,812,731 | 4,059,858 | 5,182,158 | 5,155,338 | 5,349,092 | 4,845,245 | 4,885,560 | 4,744,248 | 4,612,275 | 4,551,147 | 4,501,341 | 4,433,499 | 4,364,716 |
| Germany | 3,515,798 | 3,414,441 | 3,404,535 | 3,444,772 | 3,510,472 | 3,658,402 | 3,366,487 | 3,308,597 | 3,969,846 | 3,113,477 | 3,407,008 | 3,301,980 | 3,165,181 | 3,265,126 | 3,409,082 | 3,476,083 | 3,465,091 | 3,432,861 | 3,427,297 | 3,422,760 | 3,430,831 | 3,407,416 |
| India | 707,779 | 730,931 | 868,602 | 1,085,243 | 1,173,000 | 1,436,687 | 1,625,631 | 1,704,030 | 1,992,755 | 2,659,775 | 2,922,312 | 3,161,528 | 2,965,415 | 2,912,208 | 3,095,863 | 3,390,779 | 3,800,267 | 4,192,111 | 4,553,457 | 5,006,998 | 5,455,468 | 5,916,689 |
| United Kingdom | 2,713,472 | 2,830,178 | 2,881,897 | 2,895,746 | 2,762,156 | 2,666,267 | 2,734,931 | 2,420,565 | 2,180,835 | 2,252,760 | 2,201,764 | 2,284,969 | 2,536,909 | 2,796,004 | 2,950,710 | 2,951,956 | 2,810,671 | 2,815,412 | 2,819,711 | 2,789,825 | 2,748,708 | 2,750,181 |
| Brazil | 1,471,604 | 1,391,725 | 1,324,955 | 1,528,468 | 1,620,049 | 1,836,484 | 2,356,494 | 2,664,309 | 3,009,374 | 3,319,413 | 3,412,010 | 3,621,884 | 3,564,804 | 3,312,800 | 2,450,998 | 2,272,704 | 2,396,005 | 2,554,137 | 2,744,920 | 2,942,877 | 3,151,246 | 3,368,465 |
| France | 2,681,420 | 2,543,660 | 2,385,478 | 2,415,480 | 2,482,190 | 2,435,882 | 2,522,558 | 2,505,476 | 2,673,248 | 2,666,241 | 2,630,739 | 2,280,051 | 2,155,360 | 2,165,775 | 2,271,546 | 2,340,088 | 2,391,855 | 2,419,066 | 2,488,420 | 2,397,800 | 2,447,356 | 2,440,480 |
| Canada | 1,534,912 | 1,638,077 | 1,564,669 | 1,521,017 | 1,562,186 | 1,614,898 | 1,700,818 | 1,698,330 | 1,479,314 | 1,572,296 | 1,590,978 | 1,637,781 | 1,728,365 | 1,827,110 | 1,897,492 | 1,902,010 | 1,837,474 | 1,824,882 | 1,827,283 | 1,824,721 | 1,822,502 | 1,813,183 |
| South Korea | 1,411,240 | 1,584,675 | 1,289,594 | 1,067,023 | 1,130,787 | 1,159,667 | 1,228,906 | 1,183,919 | 1,425,535 | 1,524,224 | 1,540,141 | 1,502,897 | 1,504,055 | 1,603,624 | 1,741,009 | 1,719,012 | 1,753,997 | 1,775,994 | 1,796,001 | 1,801,008 | 1,814,994 | 1,825,006 |
| Italy | 2,644,187 | 2,578,771 | 2,456,434 | 2,488,031 | 2,454,927 | 2,553,162 | 2,727,856 | 2,379,356 | 2,359,359 | 2,151,333 | 1,938,613 | 1,517,558 | 1,402,890 | 1,474,807 | 1,639,808 | 1,767,756 | 1,905,476 | 1,978,333 | 2,049,824 | 2,075,123 | 2,050,115 | 2,040,107 |
| Russia | 1,149,121 | 1,128,019 | 1,224,011 | 1,447,373 | 1,612,251 | 1,944,319 | 2,594,045 | 2,952,231 | 1,467,402 | 1,900,538 | 2,669,111 | 2,928,081 | 2,769,812 | 2,481,971 | 1,600,000 | 1,550,005 | 1,700,001 | 2,200,007 | 2,500,005 | 2,750,002 | 2,949,995 | 3,000,000 |
| Mexico | 909,030 | 970,611 | 965,583 | 1,093,371 | 1,141,795 | 1,132,246 | 1,104,698 | 1,032,638 | 751,339 | 818,151 | 900,515 | 982,802 | 1,059,299 | 1,129,450 | 1,299,607 | 1,341,964 | 1,361,928 | 1,381,242 | 1,399,182 | 1,416,621 | 1,433,341 | 1,449,143 |
| Iran | 352,127 | 520,613 | 644,288 | 839,369 | 1,114,282 | 1,177,356 | 1,196,569 | 1,221,838 | 1,469,449 | 1,693,296 | 1,727,321 | 1,066,013 | 791,078 | 1,090,639 | 1,259,441 | 1,353,610 | 1,486,582 | 1,571,063 | 1,618,852 | 1,645,658 | 1,654,884 | 1,676,512 |
| Spain | 1,706,427 | 1,590,009 | 1,672,334 | 1,841,866 | 1,909,651 | 1,904,784 | 1,882,197 | 1,322,705 | 1,061,630 | 1,100,677 | 913,202 | 776,373 | 808,109 | 969,136 | 1,189,389 | 1,138,223 | 1,186,542 | 1,283,315 | 1,402,647 | 1,467,332 | 1,469,869 | 1,407,601 |
| Australia | 754,161 | 807,431 | 899,606 | 938,012 | 967,990 | 944,554 | 1,032,337 | 976,462 | 906,639 | 1,004,713 | 978,580 | 1,079,012 | 1,103,889 | 1,081,655 | 1,112,455 | 1,140,837 | 1,137,814 | 1,143,761 | 1,165,863 | 1,168,456 | 1,167,427 | 1,172,002 |
| Indonesia | 258,264 | 268,206 | 302,724 | 419,338 | 473,935 | 280,753 | 374,018 | 517,348 | 428,220 | 675,224 | 770,729 | 967,214 | 1,174,565 | 1,168,718 | 947,976 | 978,432 | 1,064,666 | 1,136,299 | 1,191,211 | 1,243,027 | 1,296,182 | 1,347,563 |
| Turkey | 182,229 | 160,434 | 357,540 | 683,932 | 701,686 | 605,788 | 574,859 | 477,799 | 546,475 | 747,420 | 854,536 | 765,702 | 841,902 | 755,917 | 935,967 | 871,482 | 920,938 | 1,006,398 | 1,098,527 | 1,064,261 | 1,106,670 | 1,192,917 |
| Saudi Arabia | 212,202 | 231,299 | 295,714 | 325,454 | 401,771 | 436,559 | 487,480 | 562,541 | 546,170 | 630,999 | 601,803 | 678,257 | 710,823 | 771,697 | 755,832 | 758,049 | 770,544 | 779,435 | 796,228 | 825,412 | 843,275 | 844,042 |
| Thailand | 285,353 | 409,209 | 511,050 | 609,230 | 683,698 | 663,333 | 613,521 | 597,202 | 532,891 | 777,994 | 840,342 | 1,303,827 | 1,258,760 | 837,297 | 730,236 | 771,538 | 891,260 | 1,003,249 | 1,112,058 | 1,207,180 | 1,287,102 | 1,355,632 |
| Malaysia | 388,276 | 426,226 | 403,400 | 476,754 | 532,849 | 472,502 | 470,767 | 531,895 | 521,786 | 589,084 | 585,746 | 609,452 | 635,355 | 647,297 | 651,418 | 672,711 | 697,450 | 721,838 | 748,368 | 772,539 | 793,935 | 807,511 |
| South Africa | 368,850 | 354,578 | 379,887 | 468,756 | 599,158 | 693,929 | 642,947 | 504,142 | 379,143 | 477,478 | 554,996 | 606,781 | 625,763 | 620,092 | 589,027 | 605,685 | 658,193 | 681,660 | 714,238 | 733,795 | 751,358 | 766,409 |
| Argentina | 183,663 | 91,504 | 133,725 | 267,836 | 354,593 | 415,824 | 529,271 | 573,788 | 492,714 | 637,092 | 831,215 | 795,782 | 894,629 | 644,495 | 579,732 | 544,979 | 556,176 | 588,535 | 644,704 | 698,284 | 747,209 | 793,289 |
| Belgium | 547,046 | 515,029 | 508,665 | 541,532 | 539,655 | 583,823 | 589,910 | 600,337 | 527,468 | 599,826 | 635,987 | 543,618 | 541,755 | 538,631 | 549,978 | 549,261 | 547,695 | 552,384 | 549,820 | 546,316 | 538,072 | 533,122 |
| Netherlands | 612,826 | 590,407 | 565,460 | 570,207 | 530,831 | 547,993 | 582,880 | 583,668 | 438,017 | 532,607 | 614,357 | 558,850 | 467,540 | 439,608 | 460,934 | 484,895 | 519,584 | 538,154 | 550,610 | 546,432 | 538,654 | 524,569 |
| Taiwan | 322,223 | 357,052 | 376,597 | 438,822 | 473,086 | 328,203 | 315,785 | 207,791 | 272,222 | 299,407 | 356,070 | 347,104 | 355,992 | 404,452 | 422,857 | 432,876 | 443,875 | 453,682 | 461,468 | 467,884 | 478,891 | 491,419 |
| Poland | 349,541 | 328,363 | 383,363 | 353,569 | 270,530 | 280,573 | 347,121 | 377,731 | 361,502 | 373,715 | 319,670 | 311,881 | 331,982 | 369,997 | 394,548 | 401,595 | 415,305 | 426,023 | 444,900 | 468,172 | 498,210 | 530,514 |
| Sweden | 274,849 | 283,642 | 288,810 | 294,500 | 308,985 | 322,574 | 351,154 | 293,005 | 240,905 | 326,746 | 351,422 | 319,243 | 306,969 | 345,989 | 376,339 | 344,509 | 334,252 | 325,759 | 329,338 | 326,629 | 320,974 | 318,309 |
| United Arab Emirates | 114,292 | 115,959 | 123,013 | 154,782 | 180,082 | 216,569 | 275,578 | 323,285 | 199,459 | 210,135 | 225,848 | 281,508 | 333,377 | 367,208 | 368,451 | 365,096 | 369,613 | 377,367 | 392,395 | 410,301 | 407,104 | 413,093 |
| Switzerland | 342,076 | 319,388 | 293,010 | 292,488 | 285,220 | 292,046 | 310,320 | 313,820 | 288,602 | 320,657 | 349,871 | 361,501 | 339,813 | 333,577 | 348,979 | 335,316 | 325,052 | 325,795 | 324,318 | 323,554 | 323,555 | 322,905 |
| Austria | 316,823 | 302,547 | 325,965 | 340,148 | 336,987 | 338,783 | 330,476 | 326,455 | 344,947 | 356,396 | 388,041 | 368,948 | 351,222 | 336,108 | 334,663 | 337,203 | 338,067 | 337,719 | 337,474 | 340,981 | 343,386 | 340,190 |
| Kazakhstan | 23,729 | 25,335 | 26,098 | 47,567 | 32,239 | 35,206 | 45,830 | 31,890 | 9009 | 22,205 | 47,257 | 97,065 | 163,069 | 152,489 | 111,320 | 124,181 | 146,089 | 174,504 | 205,323 | 228,888 | 243,671 | 248,463 |
| Dominican | 18,369 | 26,168 | 7424 | 10,200 | 27,714 | 22,485 | 29,023 | 19,249 | 8260 | 14,229 | 18,476 | 18,792 | 19,299 | 20,178 | 21,330 | 22,493 | 23,577 | 24,585 | 25,517 | 26,328 | 27,122 | 27,982 |
References
- McGrath, M.E.; Hoole, R.W. Manufacturing’s new economies of scale. Harv. Bus. Rev. 1992, 70, 94–102. [Google Scholar]
- Fourin, World Auto Annual 2013. AAA—Asian Automotive Analysis. Available online: http://www.fourin.com (accessed on 10 May 2021).
- Nam, D.Y. Beijing Hyundai Motor’s Challenge to the Chinese Market. Available online: http://posri.re.kr/files/file_pdf/53/232/1506/53_232_1506_file_pdf_1206-10_01_Company.pdf (accessed on 20 October 2021).
- Jung, J.W. “Hyundai Speed” Cares about One Second. Available online: http://m.bizwatch.co.kr/?mod=mview&uid=7386 (accessed on 28 May 2014).
- Sun, H.; Liu, Z.; Chen, Y. Foreign direct investment and manufacturing pollution emissions: A perspective from heterogeneous environmental regulation. Sustain. Dev. 2020, 28, 1376–1387. [Google Scholar] [CrossRef]
- Delevingne, L.; Gründler, A.; Kane, S.; Koller, T. The ESG Premium: New Perspectives on Value and Performance; McKinsey & Company: New York, NY, USA, 2020; Available online: https://www.mckinsey.com/business-functions/sustainability/our-insights/the-esg-premium-new-perspectives-on-value-and-performance (accessed on 20 October 2021).
- Lee, H.J.; Kim, G.L.; Yim, D.B.; Park, D.H.; Chun, C.U.; Jang, J.H. The Rise of ESG, What Should Companies Prepare for? KPMG Samjong Insight. 2021, pp. 1–33. Available online: https:///home.kpmg/content/dam/kpmg/kr/pdf/2021/kr-insight74-esg-strategy-20210223.pdf (accessed on 1 November 2021).
- Chou, Y.C.; Sung, W.C.; Lin, G.; Jahn, J. A comparative study on the performance of timing and sizing models of capacity expansion under volatile demand growth and finite equipment lifetime. Comput. Ind. Eng. 2014, 76, 98–108. [Google Scholar] [CrossRef]
- Luss, H. Operations research and capacity expansion problems: A survey. Oper. Res. 1982, 30, 907–947. [Google Scholar] [CrossRef]
- Ryan, S.M. Capacity expansion for random exponential demand growth with lead times. Manag. Sci. 2004, 50, 740–748. [Google Scholar] [CrossRef] [Green Version]
- Manne, A.S. Investments for Capacity Expansion: Size, Location, and Time-Phasing, 5th ed.; MIT Press: Cambridge, MA, USA, 1967. [Google Scholar]
- Lucas, R.E. On the size distribution of business firms. Bell J. Econ. 1978, 9, 508–523. [Google Scholar] [CrossRef]
- Mata, J.; Portugal, P. Patterns of entry, post-entry growth, and survival: A comparison between domestic and foreign owned firms. Small Bus. Econ. 2004, 22, 283–298. [Google Scholar] [CrossRef]
- Radatz, H.; Kühne, K.; Bramsiepe, C.; Schembecker, G. Comparison of capacity expansion strategies for chemical production plants. Chem. Eng. Res. Des. 2019, 143, 56–78. [Google Scholar] [CrossRef]
- Van Mieghem, J.A. Commissioned paper: Capacity management, investment, and hedging: Review and recent developments. Manuf. Serv. Oper. Manag. 2003, 5, 269–302. [Google Scholar] [CrossRef] [Green Version]
- Heizer, J.H.; Render, B. Principles of Operations Management, 5th ed.; Pearson/Prentice Hall: Hoboken, NJ, USA, 2004. [Google Scholar]
- Gaimon, C.; Burgess, R.H. Analysis of the lead time and learning for capacity expansions. Prod. Oper. Manag. 2003, 12, 128–140. [Google Scholar] [CrossRef]
- Dearden, J.A.; Lilien, G.L.; Yoon, E. Marketing and production capacity strategy for non-differentiated products: Winning and losing at the capacity cycle game. Int. J. Res. Mark. 1999, 16, 57–74. [Google Scholar] [CrossRef]
- So, K.C.; Song, J.S. Price, delivery time guarantees and capacity selection. Eur. J. Oper. Res. 1998, 111, 28–49. [Google Scholar] [CrossRef]
- Nguyena, T.H.; Wrightb, M. Capacity and lead-time management when demand for service is seasonal and lead-time sensitive. Eur. J. Oper. Res. 2015, 247, 588–595. [Google Scholar] [CrossRef]
- Murray, J.Y. Foreign market entry timing revisited: Trade-off between market share performance and firm survival. J. Int. Mark. 2012, 20, 50–64. [Google Scholar] [CrossRef]
- Roy, R.; Kelvesjo, S.; Forsberg, S.; Rush, C. Quantitative and qualitative cost estimating for engineering design. J. Eng. Des. 2012, 12, 147–162. [Google Scholar] [CrossRef]
- Datta, P.P.; Roy, R. Cost modeling techniques for availability type service support contracts: A literature review and empirical study. CIRP J. Manuf. Sci. Technol. 2010, 3, 142–157. [Google Scholar] [CrossRef] [Green Version]
- Kumru, M. Determining the capacity and it’s level of utilization in make-to-order manufacturing: A simple deterministic model for a single-machine multiple-product case. J. Manuf. Syst. 2011, 30, 63–69. [Google Scholar] [CrossRef]
- Marucheck, A.; McClelland, M. Planning capacity utilization in an assemble to order environment. Int. J. Oper. Prod. Manag. 1992, 12, 18–38. [Google Scholar] [CrossRef]
- Achi, Z.; Hausen, J.; Nick, A.; Pfeffer, J.L.; Verhaeghe, P. Managing Capacity in Basic Materials; McKinsey & Company: New York, NY, USA, 1996; pp. 58–65. Available online: https://www.proquest.com/openview/a8ea4f82a49998efe4e5bbf655360bc4/1?pq-origsite=gscholar&cbl=30375 (accessed on 20 October 2021).
- Du, W.J. Environmental regulation, enterprise heterogeneity and state-owned enterprises’ overcapacity management. Ind. Econ. Res. 2018, 11. [Google Scholar] [CrossRef]
- Xiong, S.Y.; Wang, X.Y. Overcapacity, technological innovation and high-quality development of China’s economy. Stat. Dec. 2020, 36, 86–90. [Google Scholar]
- Zheng, C.S.; Zhang, Y.; Chen, K.M. Corporate innovation and capacity utilization in China’s coastal areas: Governance under the context of environmental regulation. J. Coast. Res. 2020, 109, 197–205. [Google Scholar] [CrossRef]
- Wang, H.; Li, B. Environmental regulations, capacity utilization, and high-quality development of manufacturing: An analysis based on Chinese provincial panel data. Sci. Rep. 2021, 11, 1–13. [Google Scholar] [CrossRef]
- Elkington, J. Cannibals with Forks: The Triple Bottom Line of 21st Century Business; Capstone: Oxford, UK, 1997; ISBN 190096127X. [Google Scholar]
- Figge, F.; Hahn, T.; Schaltegger, S.; Wagner, M. The sustainability balanced scorecard-linking sustainability management to business strategy. Bus. Strategy Environ. 2002, 11, 269–284. [Google Scholar] [CrossRef]
- Home Page of IEA, Retrieved from Fuel Consumption of Cars and Vans. Available online: https://www.iea.org/reports/fuel-consumption-of-cars-and-vans-2 (accessed on 10 November 2021).
- Zifei, Y.; Lin, Z.; Anup, B. A Review and Evaluation of Vehicle Fuel Efficiency Labeling and Consumer Information Program; The International Council on Clean Transportation: Washington, DC, USA, 2015. [Google Scholar]
- Punt, A.E.; Butterworth, D.S.; Moor, C.L.; Oliveira, J.A.; Malcolm, H. Management strategy evaluation: Best practices. Fish Fisheries 2016, 17, 303–334. [Google Scholar] [CrossRef]
- Eisenhardt, K.M. Building theories from case study research. Acad. Manag. Rev. 1989, 14, 488–511. [Google Scholar] [CrossRef]
- Pan, S.L.; Tan, B. Demystifying case research: A structured-pragmatic-situational (SPS) approach to conducting case studies. Inf. Organ. 2010, 21, 161–176. [Google Scholar] [CrossRef]
- Yin, R.K. Case Study Research: Design and Methods; Sage: Beverly Hills, CA, USA, 1984. [Google Scholar]
- Automotive News. Available online: http://www.autonews.com (accessed on 10 October 2015).
- Cho, S.G. High Korean Labor Wage. Asia Economics. Available online: http://www.asiae.co.kr/news/view.htm?idxno=2013082816421421533 (accessed on 28 August 2013).
- Jang, B.H. Toyota Camry Manufacturing Cost? Joongang Daily. Available online: http://news.joins.com/article/7062301 (accessed on 5 January 2012).
- Yu, S.M. Price of Korean Maker and Global Maker. Available online: http://www.testdrive.or.kr/boards/1465245 (accessed on 6 September 2012).







| Market | Starting Demand (‘01) | Current Demand (‘15) | CAGR * | GDP ** | Penetration *** | Motorization **** |
|---|---|---|---|---|---|---|
| USA | 2,396,614 | 2,413,534 | 0% | 114 | 797 | Matured |
| UK | 325,617 | 354,085 | 1% | 96 | 519 | |
| Canada | 231,772 | 286,521 | 1% | 105 | 662 | |
| Spain | 187,707 | 130,833 | −2% | 63 | 593 | |
| France | 187,699 | 159,008 | −1% | 93 | 578 | |
| Germany | 175,790 | 170,454 | 0% | 100 | 572 | |
| Australia | 150,832 | 222,491 | 3% | 128 | 740 | |
| Italy | 132,209 | 81,990 | −3% | 74 | 679 | |
| Japan | 112,472 | 96,905 | −1% | 76 | 591 | |
| Netherlands | 73,539 | 55,312 | −2% | 109 | 528 | |
| Belgium | 65,646 | 65,997 | 0% | 100 | 559 | |
| Austria | 53,860 | 56,893 | 0% | 108 | 578 | |
| Switzerland | 44,470 | 45,367 | 0% | 181 | 566 | |
| South Korea | 42,337 | 52,230 | 1% | 59 | 459 | |
| Poland | 41,945 | 47,346 | 1% | 30 | 537 | |
| Sweden | 32,982 | 45,161 | 2% | 123 | 520 | |
| China | 265,469 | 3,640,571 | 19% | 16 | 214 | Growing |
| Russia | 229,824 | 320,000 | 2% | 27 | 293 | |
| Brazil | 228,099 | 379,905 | 3% | 24 | 249 | |
| Mexico | 145,445 | 207,937 | 2% | 23 | 275 | |
| India | 120,322 | 526,297 | 10% | 3 | 167 | |
| Thailand | 105,581 | 270,187 | 6% | 12 | 206 | |
| Iran | 56,340 | 201,511 | 9% | 11 | 213 | |
| Malaysia | 41,157 | 69,050 | 4% | 23 | 361 | |
| Taiwan | 35,445 | 46,514 | 2% | 47 | 322 | |
| Saudi Arabia | 33,952 | 120,933 | 9% | 51 | 336 | |
| Turkey | 29,157 | 149,755 | 12% | 22 | 253 | |
| UAE | 18,287 | 58,952 | 8% | 90 | 313 | |
| Kazakhstan | 2847 | 13,358 | 11% | 26 | 250 | |
| South Africa | 73,770 | 117,805 | 3% | 14 | 165 | Introduction (Emerging) |
| Indonesia | 72,314 | 265,433 | 9% | 7 | 68 | |
| Argentina | 22,040 | 69,568 | 8% | 27 | 165 | |
| Dominican | 2755 | 3200 | 1% | 14 | 163 |
| Classification | Strategy | ||||||
|---|---|---|---|---|---|---|---|
| Idle Capacity Avoidance | SPEED | Lost Sales Avoidance | |||||
| Site Size (1 Million Square Meter) | 1 (Small) | 3 (Mid) | 4 (Big) | ||||
| Capacity size (10k) | Site | 20 | 60 | 90 | |||
| Factory | 5 | 10 | 15 | 30 | 30 | 60 | |
| Line | 2–5 | 2–10 | 15 | 15–30 | 10–30 | 10–60 | |
| Time (year) | Factory construction | 2–3 (short) | 2 (mid) | 4 (long) | |||
| Line construction | 1 | 1 | 2 | ||||
| Cost ($1000) | Factory construction | 511/unit | |||||
| Sales lost | 14/unit | ||||||
| Site acquisition | 5/square meter | ||||||
| Annual labor | 3000/labor | ||||||
Publisher’s Note: MDPI stays neutral with regard to jurisdictional claims in published maps and institutional affiliations. |
© 2021 by the authors. Licensee MDPI, Basel, Switzerland. This article is an open access article distributed under the terms and conditions of the Creative Commons Attribution (CC BY) license (https://creativecommons.org/licenses/by/4.0/).
Share and Cite
Kim, G.S.; Lee, Y.H. Speed and Sustainability When Entering New Market. Sustainability 2021, 13, 12458. https://doi.org/10.3390/su132212458
Kim GS, Lee YH. Speed and Sustainability When Entering New Market. Sustainability. 2021; 13(22):12458. https://doi.org/10.3390/su132212458
Chicago/Turabian StyleKim, Gwang Seok, and Young Hoon Lee. 2021. "Speed and Sustainability When Entering New Market" Sustainability 13, no. 22: 12458. https://doi.org/10.3390/su132212458
APA StyleKim, G. S., & Lee, Y. H. (2021). Speed and Sustainability When Entering New Market. Sustainability, 13(22), 12458. https://doi.org/10.3390/su132212458

