Next Article in Journal
Bundling or Unbundling? Pricing Strategy for Complementary Products in a Green Supply Chain
Previous Article in Journal
Purchase Intention of Specialty Coffee
 
 
Font Type:
Arial Georgia Verdana
Font Size:
Aa Aa Aa
Line Spacing:
Column Width:
Background:
Article

A Multi-Criteria Assessment Procedure for Outdoor Lighting at the Design Stage

by
Piotr Pracki
and
Krzysztof Skarżyński
*
Lighting Technology Division, Electrical Power Engineering Institute, Warsaw University of Technology, Koszykowa 75, 00-662 Warsaw, Poland
*
Author to whom correspondence should be addressed.
Sustainability 2020, 12(4), 1330; https://doi.org/10.3390/su12041330
Submission received: 9 January 2020 / Revised: 5 February 2020 / Accepted: 10 February 2020 / Published: 12 February 2020
(This article belongs to the Special Issue Sustainable Energy Implications of External Lighting Systems)

Abstract

This paper presents an attempt at a unified approach for the assessment of outdoor lighting solutions at the design stage. First of all, the lighting criteria for different types of outdoor lighting installations have been carefully described. Despite the differences in criteria, it is possible to find a common ground for the assessment of lighting solutions at the design stage. This is based on the need for the assessment of lighting solutions to be included in the requirements for the luminous environment, light pollution, and energy efficiency. The review and analysis of the standards and reports allows an experimental procedure to be created, the main aim of which is to find the best and most sustainable lighting solution for any outdoor situation. The procedure was tested by the example of an analysis of parking lot lighting solutions. In the case analyzed, 120 solutions were considered. It appeared that, in only 65 cases were the requirements referring to both lighting condition and light pollution met. Finally, based on the lighting energy efficiency assessment, ten solutions were selected as the most suitable. Furthermore, only one solution out of the ten was the most beneficial, taking into account the extra criterion of basic economic cost. The case study confirms that the assessment procedure allows the most beneficial solution to be selected, taking into account the luminous environment, as well as light pollution and energy efficiency criteria. The proposed multi-criteria assessment procedure may be used as a valuable tool by lighting designers to select the most beneficial solution in order to meet the needs of safety, visual efficiency, and comfort, as well as taking into account light pollution and energy efficiency restrictions.

1. Introduction

The main objective of an outdoor electric lighting application at night is the need for human safety [1]. The realization of this task requires the provision of lighting conditions at which visual tasks can be conducted effectively and comfortably [2,3]. The dynamic development of solid-state lighting and lighting management has resulted in an increase in the implementation of new solutions around the world [4,5]. The number of lighting companies that produce lighting equipment or design lighting has lately increased rapidly. For instance, in Poland, over the last thirty years, the number of companies has increased from approximately a dozen to several hundred [6]. It cannot be denied that LED technology and its lighting equipment applications are classified as innovative and energy-efficient solutions by many people; journalists, engineers, and even scientists [7,8]. The phenomenon of so-called “buzz marketing” is strongly connected with the LED industry. Manufactures blow their own trumpets with the sophisticated designs and control systems dedicated to their products, the ever bigger luminous efficacy of LED sources, the unique reduction in energy losses, and the overestimated forecast of many cost savings [9,10]. Nevertheless, the mere fact of using LED technology does not always guarantee the best possible solution [11,12]. It is true that there are many advantages to LEDs, but there are also many disadvantages or unsolved problems, such as heat dissipation, blue light hazard, life time, and the adverse effect on the electrical power system (the generation of harmonics) [13]. What is more, there are many different factors responsible for the real issue of the energy efficiency of a given lighting solution [14,15]. These can easily be found in the specific standards or technical reports dedicated to different lighting applications and solutions [16,17,18,19]. In the case of outdoor lighting, light pollution is a very important issue as well [20,21]. This phenomenon is connected with many of the adverse effects against the environment, such as the reduced possibility of observing celestial bodies, the unprofitable impact on nocturnal living organisms and humans, or even the spread of selected diseases [22,23,24,25,26,27]. In fact, light pollution is directly connected to the energy wastage of an outdoor lighting installation, which results in the need for the energy efficiency issue to be immediately redefined [28]. It also seems reasonable to connect outdoor lighting issues with a sustainable development approach [29]. By applying a conscious approach to the analyzed problem, it is possible to significantly reduce the adverse effects of light pollution. It means that, because of these treatments, it is possible to create dark sky protection areas in selected places around the whole world [30,31,32,33]. Indeed, artificial light has a great impact on the environment at night in many different ways, which are only briefly mentioned in this paper. An outdoor lighting installation should be analyzed in a more complex manner that takes into account all of the most important factors, e.g., spectral power distributions (SPD) of light sources or luminaires [34,35,36]. The other factors, such as safety, environmental protection and, even more so, economics and aesthetics ought to be considered in parallel. Therefore, the need to apply a multi-criteria procedure, based on the assessment of the luminous environment, light pollution, and energy efficiency seems to be a suitable approach to take for any outdoor lighting installation. Some interesting papers can already be found in the literature, which prove that the use of multi-criteria assessment procedures provide great benefits, not only for engineering solutions, but also for the entire environment [37,38].

2. The Requirements for Outdoor Lighting

Basically, outdoor lighting at night fulfils many functions and meets diverse human needs. The basic classification of outdoor lighting is connected with the type of outdoor area, the typical task required, and the activities being carried out. Such a division is covered in the lighting standards and guides, which set out the requirements and recommendations for four groups of outdoor types. In general, outdoor lighting is provided for:
  • Work and general activities;
  • Drivers and pedestrians;
  • Embellishment;
  • Sports activities.
In European Union countries, the lighting requirements for the most common outdoor workplaces are regulated by the standard [16]. The requirements for roads and others areas connected with traffic are regulated by the standard [17]. The floodlighting of architectural and natural objects is not standardized, and the recommendations are formulated in technical reports, e.g., the Commission Internationale de l’Eclairage (CIE) report [18]. Finally, the lighting requirements for sports facilities are formulated by another standard [19]. These four types of outdoor lighting are different from each other, mainly because of their differing requirements. Other differences are also connected with:
  • Electrical installation requirements and their energy consumption, control systems and security;
  • Lighting criteria and parameters;
  • Simulation and validation methods;
  • Types of lighting equipment and their maintenance systems.
The most important issues for each outdoor lighting application are briefly described in the next four subsections. The main objective in providing this description is to familiarize the reader with the complexity and variety of approaches, as well as to make an attempt at finding common ground for a unified assessment for any outdoor lighting solution.

2.1. Lighting for Work and General Activities

It seems that the lighting requirements for typical outdoor workplaces (e.g., building sites, fuel filling stations, parking lots, railway areas, airports, shipyards, and docks) are the easiest to fulfil. There are only four basic parameters determining lighting conditions for these places: The average maintained illuminance (Em), and uniformity (U0) on the task area, the glare ratio (Rg), and the color rendering index (Ra). The criteria for these parameters are given according to the type of area, task, or activity [16]. For outdoor lighting installations, there are also parameters connected with the assessment of light pollution [16]. These depend on the environmental zone (due to the necessity of dark sky protection and object localization). These parameters are: The maximum value of vertical illuminance on the property (Ev), the luminous intensity in the direction of the potential light intrusion (I), the luminous flux generated in the upper hemisphere, known as the RUL (or ULR), and the maximum average luminance on the property (Lb), or of the signs (Ls). The energy targets for lighting outdoor workplaces are published at a national level in official acts or technical guides. However, it seems reasonable to assess the outdoor lighting energy efficiency by taking into account commonly used metrics for lighting installations; the installed power density (PD) or, as an alternative, the normalized power density (PN) [17,39]. Table 1 presents a summary of measures needed to assess lighting for outdoor workplaces and general activities.

2.2. Lighting for Driving and Pedestrians

This type of outdoor lighting can be found to be the most complex due to the extended requirements and legal regulations, which are individual for different countries [17]. There are six different classes for road lighting. Class selection depends on many factors, such as traffic composition and volume, speed, navigational task, ambient brightness, etc. The requirements for the M classes are based on road surface luminance, while for the C, P, HS, SC, and EV classes are based on different illuminance components (horizontal – C,P, vertical – EV, hemispherical – HS, and semi-cylindrical – SC) [17]. The most demanding requirements apply to those roads with predominantly motorized traffic and a medium to high driving speed. The basic parameters determining lighting conditions for this class are: The average maintained road surface luminance (L), overall (U0) and longitudinal (Ul) uniformities of road surface luminance, threshold increment (fTI), and edge illuminance ratio (REI). The criteria for these metrics are divided into six M-classes, depending on the road situation [17]. The procedures relating to the lighting calculations and measurements on roads are as complex as they are troublesome [39,40,41,42,43,44]. Depending on the lighting design and accuracy of implementation, road lighting is also the biggest source of environmental light pollution [24]. Some research has confirmed this statement and has even made it become more important, due to the fact that there are some hypotheses that street lighting can cause certain diseases, such as breast cancer, insomnia, etc. [45]. In the case of road lighting, the same criteria as those used for outdoor workplaces apply for the assessment of light pollution [16]. What is more, the International Energy Agency has presented data that shows that road lighting has played one of the most important parts in terms of energy usage over the last few years [46]. Therefore, road lighting is a type of lighting installation that has specific standard requirements relating to energy efficiency. Two indicators have been introduced in the standard [17]: The power density indicator (DP) and the annual energy consumption indicator (DE). All the basic parameters for M-class road assessment are presented in Table 1. The assessments for C, P, HS, SC, and EV classes are not taken into account in this paper.

2.3. Lighting for Embellishment

Floodlighting—the illumination of outdoor architectural or natural objects, the most important aim of which is to make objects look attractive at night [47,48,49], is a special type of outdoor installation. In 1993, the report “Guide for floodlighting” was published by the CIE [18]. It states that the most important parameter for floodlighting design is the average luminance of the illuminated object (Lavg). The value of this parameter depends on the ambient brightness of the location of the object—higher values are dedicated to city areas and lower ones to rural areas. However, this report does not present a method for its calculation or measurement. This is unfavorable due to the fact that floodlighting design can be characterized by both high energy wastage and high levels of light pollution. This problem can be solved by the implementation of specific calculation and evaluation methods [50,51] as well as by innovative solutions [52]. Despite the fact that there are currently no unified or international standard requirements for energy efficiency and light pollution related to floodlighting, or if there are, these are only local, it seems reasonable to assess outdoor lighting energy efficiency and light pollution using the same parameters as those for outdoor workplaces or roads (Table 1).

2.4. Lighting for Sport

There are various outdoor sports objects and activities that require illumination, according to competition level, spectator capacity, and visual task difficulty. The standard that is used in the European Union [19] gives the requirements for both outdoor and indoor lighting installations. The selection of these requirements is based on lighting class. There are three different classes defined for each sports discipline: I, II, and III. The higher the class, the higher the lighting criteria for both the principal area (playing area) and the total area of the playing field. The basic parameters for lighting sports installations are: The average maintained horizontal (Ehor Ave) and vertical (Evert Ave) illuminances, and horizontal (U1hor and U2hor) and vertical (U1vert and U2vert) illuminance uniformities on a specified working surface, Glare Rating (Rg), and Color Rendering Index (Ra). The criteria for these parameters, presented in Table 1, are given for each sports discipline and lighting class. When considering television and film recording, the basic criteria are more demanding (higher requirements), and other requirements should be fulfilled. Both horizontal and vertical illuminance components apply, and if camera location is specified, the illuminance to camera direction component should be considered. In addition to uniformity, the illuminance gradient should be analyzed. Moreover, the color of light should be considered through the Correlated Color Temperature (CCT) and Television Lighting Consistency Index (TLCI). In the case of outdoor sports lighting, the previously discussed criteria for the assessment of light pollution apply [16]. There are no standardized requirements relating to energy efficiency evaluation. However, some recommendations are offered [53]. Furthermore, it seems reasonable to assess sports outdoor lighting energy efficiency using the same parameters as those for outdoor workplaces or roads (Table 1).

2.5. Common Ground for the Outdoor Lighting Analysis

The description of the requirements for different outdoor installations shows that each lighting solution (for workplaces, roads, sport facilities, or architectural objects) can be analyzed and assessed in a similar way, taking into consideration the quality of the luminous environment, light pollution, and energy efficiency. Any outdoor lighting installation should be safe for users and friendly towards the environment. Safety should be understood as the creation of lighting conditions that provide visual performance and comfort appropriate to the situation being considered. The requirements for the expected lighting conditions are usually stated in the national and international standards, as has been described. Environmental friendliness might be understood in many ways. However, for the purpose of this study, it can be understood as the expected limitation of light pollution and a low demand for energy for lighting purposes. The requirements for light pollution limits are stated in the standards, guides, and technical reports. The requirements for energy demand limits are usually stated in the guides and local regulations, and these have not been in common use so far. The standard requirements for road lighting energy efficiency are relatively new. It seems that the unification of these standards, requirements, and design procedures should be implemented immediately for the benefit of users and the environment. Therefore, an experimental, multi-criteria analysis of an outdoor lighting installation, recognized as part of the design procedure, is proposed in this work.

3. A Proposal for an Outdoor Lighting Assessment Procedure

A procedure for the assessment of any outdoor lighting solution has been introduced as an algorithm and is presented in fig. 1. This algorithm shows the main design stages. For the purpose of this paper, it has been simplified and is presented as a linear process, where feedback loops have been omitted. The main input is concerned with the need to formulate the requirements for a luminous environment, light pollution, and energy efficiency assessment, and the verification of each aspect. Each step of the algorithm corresponds to a lighting design stage and should definitely not be omitted. First of all, the object of interest should be analyzed in detail. This can be any outdoor space, such as an outdoor workplace, a road, an architectural object, a sports facility, etc. In fact, this stage can be linked to the scope of the design that has to be implemented (e.g., it can be in the interest of the investor). The second stage is related to the design requirements. It should include the following three different aspects: Visual task and activities, light pollution, and lighting energy efficiency. Our proposal for the metrics for the assessment is introduced in Table 1. The requirements should be carefully considered and formulated according to existing standards or to other legal acts or technical guides. Having selected the object and requirements, a computer model of the object and calculation points and surfaces can be prepared. The lighting concept, lighting equipment, and maintenance schedule are analyzed with the support of computer calculations. After this analytical part of the design, there are usually many potential alternative lighting solutions that can be analyzed in order to select the most beneficial one. According to the authors’ proposal, the selection of the final solution should be conducted via three steps. In the first step, the calculation results corresponding to the luminous environment should be compared with the requirements, and then those solutions not meeting these requirements should be rejected. In the second step, the same action should be repeated but in relation to light pollution. Again, the solution that does not meet these requirements should be rejected. In the third step, the alternative solutions that meet the criteria for the luminous environment and light pollution are assessed according to energy efficiency requirements. In those cases where the energy efficiency requirements of the lighting are known and are formulated in formal documents (e.g., for road lighting), the solutions should be assessed according to those criteria and the ones not meeting these requirements should be rejected. If the lighting energy efficiency requirements are not known, the most energy efficient solution(s) should be selected as the most beneficial for the implementation. Moreover, at least the most simple (or the most comprehensive, economically), should be taken into account, if possible. First and foremost, the cost of investment and maintenance should be taken into account in the economic analysis. Finally, the best solution for each given case should be selected. This finishes the proposed procedure, but then the next step, the implementation process, starts, based on the most beneficial solution for both the users and the environment.
A proposal for an outdoor lighting assessment procedure has been presented in this section in a careful way so that each step is precisely described. Therefore, the scheme presented in Figure 1 can be used as the summary of the research method used in this paper. The next section will present all of necessary assumptions that have to be set to validate the proposed assessment procedure based on the exemplary simple outdoor case for which lighting installation has to be created.

4. Exemplary Application of the Assessment Procedure

4.1. Analysed Case—A Parking Lot

The proposed procedure was used to assess the various lighting variants for a parking lot. A computer model of a parking lot was first created. The parking lot represented an outdoor area with general transportation activities. It was assumed there was slow car and people movement, as well as high traffic density within the parking area. The open parking area, without any structures, equipment, or obstacles within the parking space or in the nearby surroundings was located near a shopping center, which was not included in the analysis. The entire parking area was expected to be illuminated uniformly. The shape of the parking area was rectangular: Of length 50 m and width 20 m. The reflectance of the parking area and the immediately surrounding ground were the same and equaled 0.1.

4.2. Requirements

To assess the lighting conditions, three standard criteria were selected: Average maintained illuminance (Em), uniformity (U0) on the working plane (the whole area within the parking lot), and glare rating (Rg). The required values of these parameters (Table 2) were selected according to the standard [16]. It was assumed that the color rendering index (Ra) of LED sources would not be lower than 80.
To assess the level of light pollution, two criteria were selected: Upward light ratio of luminaires (RUL) and upward flux ratio of lighting (RUF). The required values of these parameters (Table 2) were selected according to the CIE report [20]. The values selected were those for a parking lot located in a suburban area of moderate brightness (environmental zone E3). The other criteria for the assessment of light pollution were not taken into consideration, as no residences were present in the nearby surroundings of the parking area.
To assess energy efficiency, lighting power installed density (PD) was selected (Table 2). The energy density was not taken into consideration because the full power installed was assumed to be used during the whole period of the night. Due to the complementary nature of this assessment, it was assumed that the solution with the lowest power density would be selected as the most beneficial (out of those variants that fulfilled the requirements of both lighting conditions and light pollution).

4.3. Luminaires

To consider alternative lighting solutions for the parking lot at the design stage, ten types of luminaires were chosen. Each luminaire type had the same power (36 W) and luminous flux (5120 lm), but different luminous intensity distributions (LID), as presented in Figure 2. The light output ratios (LOR) of the luminaires were at a similar level, c.a. 80%.

4.4. Layout

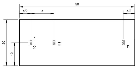
For each luminaire type, twelve luminaire layouts were analyzed, differentiated by mounting height (H): 6 m, 8 m, 10 m and tilt (α): 0°, 10°, 20°, 30°. In each variant, the luminaires were arranged in two lines, centrally located, and parallel to the longer parking side. The distance between the lines was equal to 1 m. The number of luminaires for each variant was correlated with the required level of average maintained illuminance on the working plane. In each situation, the minimum number of luminaires was selected, which provided an average maintained illuminance of not lower than 20 lx (the required level). In general, a smaller number of luminaires was achieved for lower mounting height and tilt. The distances between the adjacent luminaires (a) in each line were equal, and the distances between the edge luminaires and those on the shorter sides of the parking lot were equal to half the distance (a/2) between the adjacent luminaires. The floor plan and cross-section of the analyzed parking lot and schematic luminaire layout are presented in Figure 3 and Figure 4, respectively.

4.5. Calculations

Calculations of illuminance distribution on the working plane located at the parking ground level were made. A 1 m calculation grid was assumed for the calculations. The same grid density, but at points located at 1.5 m above the parking lot ground level, was taken for the glare ratio calculations. The glare ratio values at each point in eight directions (every 45⁰ around a vertical axis) were calculated. For those calculations that were made using the DIALux 4.13, a maintenance factor of 0.75 was assumed. The following parameters were calculated:
  • Em—the average maintained illuminance on the working plane [lx];
  • U0—the uniformity on the working plane [-];
  • Rg—the maximum glare ratio of a lighting solution [-];
  • RUL—the maximum value of the relative luminous flux generated in the upper hemisphere by the luminaires [-];
  • RUF—the maximum value of the relative luminous flux generated in the upper hemisphere by the luminaires and reflected from the parking lot and its surrounding areas [-];
  • PD—the installed power density of a lighting solution [W/m2].

5. Results and Discussion

Firstly, the aggregate results are discussed, and the potential of each luminaire type to fulfil the lighting condition requirements is presented.
The dispersion of the working plane uniformity (Figure 5) levels for each luminaire type is different. A higher dispersion definitely exists for luminaires G to J. This means that the luminaire layout has a bigger impact on the uniformity level for these variants. The average uniformities oscillate between 0.21 and 0.41, and only for the A and B luminaires (except in one situation) are the required levels (of 0.25 or higher) obtained.
The dispersion of the glare ratio levels (Figure 6) is also different. The highest dispersion exists for the C luminaires and also for the B luminaires. For these luminaires, the impact of luminaire layout on the glare ratio level is high. For the other luminaires, the dispersion is comparable, at a level of 10 units. The average glare ratio oscillates between 44 and 51, and only for the A and B luminaires (except in one situation) are the levels not higher than the required level of 50.
The dispersion of the upward flux ratio levels (Figure 7) for the A and B luminaires is very high. This means that the luminaire layout has a large impact on the upward flux ratio level for these variants. For the other luminaires, the dispersion oscillates by up to 3–4 units. The average upward flux ratios are between level 2 and 3 for the C to J luminaires, and are higher than 4 for the A and B luminaires. The required maximum level of 12 is not exceeded for any of the luminaires. What is more, for the C to J luminaires, neither is the level of 6 exceeded.
The dispersion of the power density levels (Figure 8) for each luminaire type is different as the number of luminaires is different for different solutions. The smallest number of luminaires was 8 (e.g., for a mounting height of 6 m and a tilt of 0° for the C to J luminaires). The biggest number of luminaires was 20 (in three cases only, for a mounting height of 10 m and a tilt of 30° for the A, B, and C luminaires). Except for the J luminaires, the dispersion of the power density is high, at a level of 0.3–0.4 W/m2. This means that the luminaire layout has a large impact on the power density level for luminaires A to I. The average power density level oscillates between 0.29 W/m2 and 0.54 W/m2.
To sum up, in this part of the analysis, one can observe that the A and B luminaires have high potential in terms of the fulfilment of the lighting conditions and, at the same time, the solutions based on these luminaires have higher upward flux ratio and power density levels.
To conduct a detailed analysis, all 120 lighting solutions have been assessed separately, according to the procedure. The calculated values of the average maintained illuminance on the working plane, for all solutions, are between 20 lx and 25 lx. These are both higher than the required 20 lx level and have not been substantially overestimated. The results for the uniformity on the working plane and the maximum glare ratio, upward light ratio, and upward flux ratio for each luminaire type are presented in Figure 9, Figure 10, Figure 11, Figure 12, Figure 13, Figure 14, Figure 15, Figure 16, Figure 17 and Figure 18.
The solutions at which both the uniformity level is 0.25 or higher (a blue cross on the blue line—at the required uniformity level—or above) and where the glare ratio level is 50 or lower (a red circle on the red line—at the required glare ratio level—or below) have been assessed positively.
Nine out of twelve solutions based on the A luminaires meet these requirements. All the solutions with a mounting height of 8 m and 10 m, as well as those solutions with a mounting height of 6 m but with a tilt of only 30°, have been assessed positively. All twelve solutions based on the B luminaires meet the requirements and have been assessed positively. Eight solutions based on the C luminaires, for a mounting height of 8 m and 10 m, meet the requirements and have been assessed positively. The same results have been obtained for the solutions based on the D and E luminaires. Seven solutions based on the F luminaires (and also based on the G luminaires) meet the requirements and have been assessed positively. This has been achieved for a mounting height of 10 m for each tilt and for a mounting height of 8 m, but only for a 0°, 10°, and 20° tilt. Six solutions based on the H luminaires, four solutions based on the I luminaires, and only two solutions based on the J luminaires meet the requirements and have been assessed positively.
Taking light pollution into account, the solutions where both the upward light ratio level is at 0.05 or lower (a green triangle is on the green line—at the required upward light ratio level—or below) and where the upward flux ratio level is at 12 or lower (a brown square is on the brown line—at the required upward flux ratio level—or below) have been assessed positively.
Only six solutions out of 120 (three for the A luminaires and three for the B luminaires) have been assessed negatively concerning light pollution. These are the solutions where luminaire tilt is 30° for each mounting height. The upward light ratio values equal 0.19 for the A luminaires and 0.145 for the B luminaires. For all 120 cases, the upward flux ratio values are lower than the required level of 12.
To conclude, for the detailed assessment of the lighting solutions for the parking lot, it needs to be highlighted that the impact of luminaire LID on lighting conditions is substantial. For 71 solutions out of the 120 analyzed, the average illuminance, uniformity, and glare ratio level criteria were met. Considering that six solutions have been assessed negatively regarding light pollution criteria, there are still 65 solutions that have met both the lighting conditions and light pollution requirements.
To select the most favorable solution out of the 65, the criterion of lighting energy efficiency should be considered. To illustrate this selection, one solution for each luminaire LID with the lowest power density value has been taken. The twelve chosen solutions are presented in Table 3.
The criterion of energy efficiency (the lowest power density and also the smallest number of luminaires) shows clearly that the solution based on the J luminaires is the most favorable, using the proposed assessment procedure.
Analyzing the results in Table 3, it is easy to notice that, except for the most (J luminaires) and least (A luminaires) favorable solutions, the other ones (for the B to I luminaires) have the same number of luminaires (10) and power density value (0.36 W/m2). One may ask the question, which of these solutions is the most favorable? Is it the solution based on the B luminaires (the shortest pole) or another one?
As shown in this example, when analyzing the many alternative lighting solutions, there is a need for additional criteria to be included (e.g., cost, reliability, functionality, aesthetics) in order to select the most beneficial one. Another option is to make an arbitrary choice from these equivalent solutions.

6. Conclusions

The use of electric lighting outdoors at night should provide safety for people. The development of society and the growing expectations of humanity mean that the consideration of lighting quality only in terms of the need for safety is not sufficient. Therefore, the introduction of new criteria and methods for outdoor lighting assessment is necessary. Moreover, the large variety of outdoor lighting options, with reference to lamps, luminaires, and their arrangements, require a search for effective procedures for the selection of the most suitable outdoor lighting solution.
In this paper, a procedure for the assessment of outdoor lighting solutions has been proposed. It has been organized into three steps and includes the assessment of lighting conditions, light pollution, and lighting energy efficiency. Such an approach allows the quality of the outdoor luminous environment and the need for both light pollution and energy waste limitation to be considered.
The proposed procedure has been illustrated by the example of an analysis of parking lot lighting solutions. In the case analyzed, 120 lighting solutions were considered. It appeared that, in only 71 cases, were the requirements referring to lighting conditions met. Subsequently, light pollution requirements were taken into account and, in this case, 65 solutions were assessed positively. Finally, based on the lighting energy efficiency assessment, ten solutions (one for each luminaire type considered) were selected as the most suitable. Furthermore, only one solution out of the ten was the most beneficial, taking into account the extra criterion of economic cost—the smallest number of luminaires and lighting poles.
Finally, it has to be considered that the creation of 120 lighting solutions for the very simple parking lot seems to be quite time consuming and also exaggerated. Firstly, for the intermediate experienced lighting designer with modern hardware and software, such an amount of lighting calculations does not take a long time at all. Indeed, the real problem could be with the proper analysis of the received results. However, proposed assessment procedure allows the most beneficial solution to be selected in an uncomplicated way. Secondly, it is worth emphasizing that careful application of this procedure can be useful, not only for lighting designers (of outdoor workplaces, roads, sports facilities, and architectural objects), but also for both humans and the environment. It means that using this procedure may result in a significant reduction of energy waste and the limitation of light pollution.

Author Contributions

Conceptualization—P.P. and K.S.; Data curation—P.P. and K.S.; Formal analysis—P.P. and K.S.; Methodology—P.P. and K.S.; Supervision—P.P.; Validation—P.P. and K.S.; Visualization—P.P. and K.S.; Writing original draft—P.P. and K.S.; Writing review and editing—P.P. and K.S. All authors have read and agreed to the published version of the manuscript.

Funding

This research received no external funding.

Acknowledgments

The authors would like to thank the Authorities of the Electrical Power Engineering Institute (Warsaw University of Technology) for the financial support for the language proofreading and open access publication.

Conflicts of Interest

The authors declare no conflict of interest.

Appendix A

SymbolNameUnit
E m average maintained illuminance on the task arealx
U 0 uniformity on the task areadimensionless
R g ( GR ) glare ratiodimensionless
R a ( CRI ) color rendering indexdimensionless
L the average maintained road surface luminancecd · m−2
U 0 overall uniformity of the road surfacedimensionless
U 1 longitudinal uniformity of the road surfacedimensionless
U ow overall uniformity of the road surface when wetdimensionless
f TI threshold increment%
R EI edge illuminance ratiodimensionless
L avg average luminance of the illuminated objectcd · m−2
E horAve the average maintained horizontal illuminancelx
U 1 hor minimum to maximum horizontal uniformitydimensionless
U 2 hor minimum to average horizontal uniformitydimensionless
E vertAve average maintained vertical illuminancelx
U 1 vert minimum to maximum vertical uniformitydimensionless
U 2 vert minimum to average vertical uniformitydimensionless
CCT correlated color temperatureK
TLCI television lighting consistency indexdimensionless
E v maximum value of vertical illuminance on the propertylx
I luminous intensity in the direction of the potential light intrusioncd
R UL ( ULR )upward light ratiodimensionless
R UF ( UFR ) upward flux ratiodimensionless
L b maximum average luminance on the propertycd · m−2
L s maximum average luminance of the signscd · m−2
P D installed power densityW · m−2
D P power density indicatorW · m−2 · lx−1
D E annual energy consumption indicatorkWh · m−2
adistance between the adjacent luminairesm
a/2 half of the distance between the adjacent luminairesm
Hmounting heightm
αtiltdeg
LIDluminous intensity distribution cd
LORlight output ratio%
CIECommission Internationale de l’Eclairage-

References

  1. Yong Suk, J.; Rebecca, J.; Walter, R.J. New nighttime roadway lighting documentation applied to public safety at night: A case study in San Antonio. Texas. Sustain. Cities Soc. 2019, 46, 101459. [Google Scholar]
  2. Kruisselbrink, T.; Dangol, R.; Rosemann, A. Photometric measurements of lighting quality: An overview. Build. Environ. 2018, 138, 42–52. [Google Scholar] [CrossRef]
  3. Boyce, P.R. Human factors in lighting. Boyce 2014 Human; CRC Press: Boca Raton, FL, USA, 2014; pp. 115–120, 187–189. [Google Scholar]
  4. Chen, H.-Y.; Whang, A.J.-W.; Chen, Y.-Y.; Chou, C.-H. The hybrid lighting system with natural light and LED for tunnel lighting. Optik 2020, 203, 163958. [Google Scholar] [CrossRef]
  5. Zalewski, S.; Pracki, P. Concept and implementation of adaptive road lighting concurrent with vehicles. Bull. Pol. Acad. Sci. Tech. Sci. 2019, 67, 1117–1124. [Google Scholar]
  6. LIGHTINGPL. Available online: www.lighting.pl/katalog-firm (accessed on 30 December 2019).
  7. Sayigh, A. Sustainability, energy and architecure—Case studies in realizing green buildings. In The LED Lighting Revolution; Academic Press: Cambridge, MA, USA, 2013; pp. 171–194. [Google Scholar]
  8. FORBES. Available online: www.forbes.com/2008/02/27/incandescent-led-cfl-pf-guru_in_mm_0227energy_inl.html#6b37ed0c1b44 (accessed on 30 December 2019).
  9. Gayral, B. LEDs for lighting: Basic physics and prospects for energy savings. Comptes Rendus Phys. 2017, 18, 453–461. [Google Scholar] [CrossRef]
  10. Witt, S.M.; Stults, S.; Rieves, E.; Emerson, K.; Mendoza, D.L. Findings from a Pilot Light-Emitting Diode (LED) Bulb Exchange Program at a Neighborhood Scale. Sustainability 2019, 11, 3965. [Google Scholar] [CrossRef]
  11. Tabaka, P.; Rózga, P. Assessment of methods of marking LED sources with the power of equivalent light bulb. Bull. Pol. Acad. Sci. Tech. Sci. 2017, 65, 883–890. [Google Scholar] [CrossRef][Green Version]
  12. Shailesh, K.R.; Kurian, C.P.; Kini, S.G. Understanding the reliability of LED luminaires. Light. Res. Technol. 2018, 50, 1179–1197. [Google Scholar] [CrossRef]
  13. Djuretic, A.; Skerovic, V.; Arsic, N.; Kostic, M. Luminous flux to input power ratio, power factor and harmonics when dimming high-pressure sodium and LED luminaires used in road lighting. Light. Res. Technol. 2019, 51, 304–323. [Google Scholar] [CrossRef]
  14. Doulos, L.T.; Sioutis, I.; Kontaxis, P.; Zissis, G.; Faidas, K. A decision support system for assessment of street lighting tenders based on energy performance indicators and environmental criteria: Overview, methodology and case study. Sustain. Cities Soc. 2019, 51, 101759. [Google Scholar] [CrossRef]
  15. Carli, R.; Dotoli, M.; Pellegrino, R. A decision-making tool for energy efficiency optimization of street lighting. Comput. Oper. Res. 2018, 96, 223–235. [Google Scholar] [CrossRef]
  16. European Standard EN 12464–2:2014 Light and Lighting—Lighting of work places—Part 2: Outdoor Work Places; CEN: Brussels, Belgium, 2014.
  17. European Standard EN 13201–5:2016–1-5, Road Lighitng; CEN: Brussels, Belgium, 2016.
  18. Technical Report of Commission Internationale de l’Eclairage CIE 094 Guide for Floodlighting; CIE: Vienna, Austria, 1993.
  19. European Standard EN 12193:2018 Light and Lighting—Sports Lighting; CEN: Brussels, Belgium, 2018.
  20. Technical Report of Commission Internationale de l’Eclairage CIE 150: Guide on the Limitation of the Effects of Obtrusive Light from Outdoor Lighting Installation; CIE: Vienna, Austria, 2017.
  21. Technical Report of Commission Internationale de l’Eclairage, CIE 126: Guidelines for Minimizing Sky Glow; CIE: Vienna, Austria, 1997.
  22. Abbey, K.A.; Amare, M. Night light intensity and women’s body weight: Evidence from Nigeria. Econ. Hum. Biol. 2018, 31, 238–248. [Google Scholar] [CrossRef] [PubMed]
  23. Wakefield, A.; Broyles, M.; Stone, E.L.; Harris, S.; Jones, G. Quantifying the attractiveness of broad-spectrum street lights to aerial nocturnal insects. J. Appl. Ecol. 2018, 55, 714–722. [Google Scholar] [CrossRef]
  24. Kyba, C.; Kuester, T.; Kuechly, H.U. Changes in outdoor lighting in Germany from Changes in outdoor lighting in Germany from 2012–2016. Int. J. Sustain. Light 2017, 19, 112–123. [Google Scholar] [CrossRef]
  25. Falchi, F.; Furgoni, R.; Gallaway, T.; Rybnikova, N.; Portnov, B.; Baugh, K.; Cinzano, P.; Elvidge, C. Light pollution in USA and Europe: The good, the bad and the ugly. J. Environ. Manag. 2019, 248, 109227. [Google Scholar] [CrossRef]
  26. Yoo, K.; Lee, S.; Hyun, D.; Jung, B. Study of Illumination Optical System to Control Light Pollution due to Night Lighting. Int J Res Eng Technol. 2018, 7, 516–520. [Google Scholar]
  27. Abraham, H.; Scantlebury, D.M.; Zubidat, A.E. The loss of ecosystem-services emerging from artificial light at night. Chronobiol. Int. 2019, 36, 296–298. [Google Scholar] [CrossRef]
  28. Kyba, C.M.; Hänelc, A.; Hölker, F. Redefining efficiency for outdoor lighting. Energy Environ. Sci. 2014, 7, 1806–1809. [Google Scholar] [CrossRef]
  29. Ngarambe, J.; Soo Lim, H.; Kim, G. Light pollution: Is there an Environmental Kuznets Curve? Sustain. Cities Soc. 2018, 42, 337–343. [Google Scholar] [CrossRef]
  30. Papalambrou, A.; Doulos, L.T. Identifying, Examining, and Planning Areas Protected from Light Pollution. The Case Study of Planning the First National Dark Sky Park in Greece. Sustainability 2019, 11, 5963. [Google Scholar] [CrossRef]
  31. International Dark-Sky Association. Available online: https://www.darksky.org/our-work/conservation/idsp/finder/ (accessed on 4 February 2020).
  32. Izera Dark-Sky Park. Available online: http://www.izera-darksky.eu/index-en.html (accessed on 4 February 2020).
  33. Ściężor, T.; Kubala, M.; Kaszowski, W. Light pollution of the mountain areas in Poland. Arch. Environ. Prot. 2012, 38, 59–69. [Google Scholar]
  34. Galadi-Enriquez, D. Beyond CCT: The spectral index system as a tool for the objective, quantitative characterization of lamps. J. Quant Spectrosc Radiat Transf. 2018, 206, 399–408. [Google Scholar] [CrossRef]
  35. Tabaka, P.; Rózga, P. Influence of a Light Source Installed in a Luminaire of Opal Sphere Type on the Effect of Light Pollution. Energies 2020, 13, 306. [Google Scholar] [CrossRef]
  36. Bierman, A. Will switching to LED outdoor lighting increase sky glow? Light. Res. Technol. 2012, 44, 449–458. [Google Scholar] [CrossRef]
  37. Hermoso-Orzáez, M.J.; Lozano-Miralles, J.A.; Lopez-Garcia, R.; Brito, P. Environmental Criteria for Assessing the Competitiveness of Public Tenders with the Replacement of Large-Scale LEDs in the Outdoor Lighting of Cities as a Key Element for Sustainable Development: Case Study Applied with PROMETHEE Methodology. Sustainability 2019, 11, 5982. [Google Scholar] [CrossRef]
  38. Madias, E.-N.D.; Doulos, L.T.; Kontaxis, P.A.; Topalis, F.V. A decision support system for techno-economic evaluation of indoor lighting systems with LED luminaires. Oper. Res. 2019, 1–20. [Google Scholar] [CrossRef]
  39. Pracki, P. A proposal to classify road lighting energy efficiency. Light. Res. Technol. 2011, 43, 271–280. [Google Scholar] [CrossRef]
  40. Yoomak, S.; Ngaopitakkul, A. Optimisation of lighting quality and energy efficiency of LED luminaires in roadway lighting systems on different road surfaces. Sustain. Cities Soc. 2018, 38, 333–347. [Google Scholar] [CrossRef]
  41. Beccali, M.; Bonomolo, M.; Leccese, F.; Lista, D.; Salvadori, G. On the impact of safety requirements, energy prices and investment costs in street lighting refurbishment design. Energy 2018, 165, 739–759. [Google Scholar] [CrossRef]
  42. Pagden, M.; Ngahane, K.; Amin, M.S.R. Changing the colour of night on urban streets-LED vs. part-night lighting system. Socio-Econ. Plan. Sci. 2020, 69, 100692. [Google Scholar] [CrossRef]
  43. Fotios, S.; Gibbons, R. Road lighting research for drivers and pedestrians: The basis of luminance and illuminance recommendations. Light. Res. Technol. 2018, 50, 154–186. [Google Scholar] [CrossRef]
  44. Słomiński, S. Identifying problems with luminaire luminance measurements for discomfort glare analysis. Light. Res. Technol. 2016, 48, 573–588. [Google Scholar] [CrossRef]
  45. Keshet-Sitton, A.; Or-Chen, K.; Yitzhak, S.; Tzabary, I.; Haim, A. Can Avoiding Light at Night Reduce the Risk of Breast Cancer? Integr. Cancer Ther. 2015, 15, 145–152. [Google Scholar] [CrossRef]
  46. International Energy Agency. Available online: www.iea.org/Source (accessed on 30 December 2019).
  47. Dugar, A.M. The role of poetics in architectural lighting design. Light. Res. Technol. 2016, 50, 253–265. [Google Scholar] [CrossRef]
  48. Żagan, W.; Krupiński, R. A Study of the Classical Architecture Floodlighting. Light Eng. 2016, 25, 57–64. [Google Scholar]
  49. Żagan, W.; Skarżyński, K. The “layered method”—A third method of floodlighting. Light. Res. Technol. 2019. [Google Scholar] [CrossRef]
  50. Skarżyński, K. Methods of Calculation of Floodlighting Utilisation Factor at the Design Stage. Light Eng. 2018, 26, 144–152. [Google Scholar] [CrossRef]
  51. Skarżyński, K. The evaluation system of floodlighting designs in terms of light pollution and energy efficiency [in polish]. PhD Thesis, The Faculty of Electrical Engineering—Warsaw University of Technology, Warsaw, Poland, 3 July 2019. [Google Scholar]
  52. Słomiński, S.; Krupiński, R. Luminance distribution projection method for reducing glare and solving object-floodlighting certification problems. Build. Environ. 2018, 134, 87–101. [Google Scholar]
  53. Mangkuto, R.A.; Rachman, A.P.; Aulia, A.G.; Asri, A.D.; Rohmah, M. Assessment of pitch floodlighting and glare condition in the Main Stadium of Gelora Bung Karno, Indonesia. Measurement 2018, 117, 186–199. [Google Scholar] [CrossRef]
Figure 1. A scheme for a general algorithm for the outdoor lighting assessment procedure.
Figure 1. A scheme for a general algorithm for the outdoor lighting assessment procedure.
Sustainability 12 01330 g001
Figure 2. The LIDs (A÷J) of the luminaires used in the calculations.
Figure 2. The LIDs (A÷J) of the luminaires used in the calculations.
Sustainability 12 01330 g002
Figure 3. Floor plan of the analyzed parking lot and the luminaire layout.
Figure 3. Floor plan of the analyzed parking lot and the luminaire layout.
Sustainability 12 01330 g003
Figure 4. Cross-section of the analyzed parking lot and the luminaire layout.
Figure 4. Cross-section of the analyzed parking lot and the luminaire layout.
Sustainability 12 01330 g004
Figure 5. Dispersion of the working plane uniformity values for the chosen LIDs.
Figure 5. Dispersion of the working plane uniformity values for the chosen LIDs.
Sustainability 12 01330 g005
Figure 6. Dispersion of the Glare Ratio values for the chosen LIDs.
Figure 6. Dispersion of the Glare Ratio values for the chosen LIDs.
Sustainability 12 01330 g006
Figure 7. Dispersion of the Upward Flux Ratio values for the chosen LIDs.
Figure 7. Dispersion of the Upward Flux Ratio values for the chosen LIDs.
Sustainability 12 01330 g007
Figure 8. Dispersion of the power density values for the chosen LIDs.
Figure 8. Dispersion of the power density values for the chosen LIDs.
Sustainability 12 01330 g008
Figure 9. Values of lighting and light pollution parameters for luminaires of type A with different mounting height and tilt.
Figure 9. Values of lighting and light pollution parameters for luminaires of type A with different mounting height and tilt.
Sustainability 12 01330 g009
Figure 10. Values of lighting and light pollution parameters for luminaires of type B with different mounting height and tilt.
Figure 10. Values of lighting and light pollution parameters for luminaires of type B with different mounting height and tilt.
Sustainability 12 01330 g010
Figure 11. Values of lighting and light pollution parameters for luminaires of type C with different mounting height and tilt.
Figure 11. Values of lighting and light pollution parameters for luminaires of type C with different mounting height and tilt.
Sustainability 12 01330 g011
Figure 12. Values of lighting and light pollution parameters for luminaires of type D with different mounting height and tilt.
Figure 12. Values of lighting and light pollution parameters for luminaires of type D with different mounting height and tilt.
Sustainability 12 01330 g012
Figure 13. Values of lighting and light pollution parameters for luminaires of type E with different mounting height and tilt.
Figure 13. Values of lighting and light pollution parameters for luminaires of type E with different mounting height and tilt.
Sustainability 12 01330 g013
Figure 14. Values of lighting and light pollution parameters for luminaires of type F with different mounting height and tilt.
Figure 14. Values of lighting and light pollution parameters for luminaires of type F with different mounting height and tilt.
Sustainability 12 01330 g014
Figure 15. Values of lighting and light pollution parameters for luminaires of type G with different mounting height and tilt.
Figure 15. Values of lighting and light pollution parameters for luminaires of type G with different mounting height and tilt.
Sustainability 12 01330 g015
Figure 16. Values of lighting and light pollution parameters for luminaires of type H with different mounting height and tilt.
Figure 16. Values of lighting and light pollution parameters for luminaires of type H with different mounting height and tilt.
Sustainability 12 01330 g016
Figure 17. Values of lighting and light pollution parameters for luminaires of type I with different mounting height and tilt.
Figure 17. Values of lighting and light pollution parameters for luminaires of type I with different mounting height and tilt.
Sustainability 12 01330 g017
Figure 18. Values of lighting and light pollution parameters for luminaires of type J with different mounting height and tilt.
Figure 18. Values of lighting and light pollution parameters for luminaires of type J with different mounting height and tilt.
Sustainability 12 01330 g018
Table 1. The proposed parameters for the assessment of the basic types of outdoor lighting.
Table 1. The proposed parameters for the assessment of the basic types of outdoor lighting.
Lighting for WorkplacesLighting for RoadsFloodlightingLighting for Sport Facilities
lighting conditions (luminous environment)
E m [ l x ] L [ c d m 2 ] L a v g [ c d m 2 ] (1) E h o r A v e [ l x ] ( 2 )
U 0 [ ] U 0 [ ] U 1 h o r [ ] ( 2 )
R g [ ] U 1 [ ] U 2 h o r [ ] ( 2 )
R a [ ] U o w [ ] E v e r t A v e [ l x ] ( 2 )
f T I [ % ] U 1 v e r t [ ] ( 2 )
R E I [ ] U 2 v e r t [ ] ( 2 )
R g [ ]
C C T [ K ]
T L C I [ ]
light pollution
E v [ l x ] (3)
I [ c d ] (3)
R U L [ ] (4)
R U F [ ] (1)
L b [ c d m 2 ] (4)
L s [ c d m 2 ] (4)
energy efficiency
P D [ W m 2 ] ( 5 ) D P [ W m 2 l x ] P D [ W m 2 ] ( 5 ) P D [ W m 2 ] ( 5 )
D E [ k W h m 2 ]
(1) Parameter recommended by the CIE. (2) Different values for both principal area (PA) and total area (TA). (3) Different values for different environmental zones and night periods. (4) Different values for different environmental zones. (5) Experimental or might be found as recommendations at a national level. All of parameters’ definitions are developed in the Appendix A.
Table 2. The criteria for the assessment of lighting solutions of the parking lot.
Table 2. The criteria for the assessment of lighting solutions of the parking lot.
IssueParameterRequirement
Lighting conditions E m [ l x ] 20
U 0 [ ] 0.25
R g [ ] 50
Light pollution R U L [ ] 0.05
R U F [ ] 12
Energy efficiency P D [ W m 2 ] minimum
Table 3. Selected solutions characterized by the lowest power density value.
Table 3. Selected solutions characterized by the lowest power density value.
LID TypeNumber of LuminairesH [m]α [⁰] P D [ W m 2 ]
A12800.43
B10600.36
C10800.36
D10800.36
E10800.36
F10800.36
G10800.36
H108100.36
I108200.36
J88200.29

Share and Cite

MDPI and ACS Style

Pracki, P.; Skarżyński, K. A Multi-Criteria Assessment Procedure for Outdoor Lighting at the Design Stage. Sustainability 2020, 12, 1330. https://doi.org/10.3390/su12041330

AMA Style

Pracki P, Skarżyński K. A Multi-Criteria Assessment Procedure for Outdoor Lighting at the Design Stage. Sustainability. 2020; 12(4):1330. https://doi.org/10.3390/su12041330

Chicago/Turabian Style

Pracki, Piotr, and Krzysztof Skarżyński. 2020. "A Multi-Criteria Assessment Procedure for Outdoor Lighting at the Design Stage" Sustainability 12, no. 4: 1330. https://doi.org/10.3390/su12041330

APA Style

Pracki, P., & Skarżyński, K. (2020). A Multi-Criteria Assessment Procedure for Outdoor Lighting at the Design Stage. Sustainability, 12(4), 1330. https://doi.org/10.3390/su12041330

Note that from the first issue of 2016, this journal uses article numbers instead of page numbers. See further details here.

Article Metrics

Back to TopTop