Estimating Soil Water Content and Evapotranspiration of Winter Wheat under Deficit Irrigation Based on SWAP Model
Abstract
1. Introduction
2. Materials and Methods
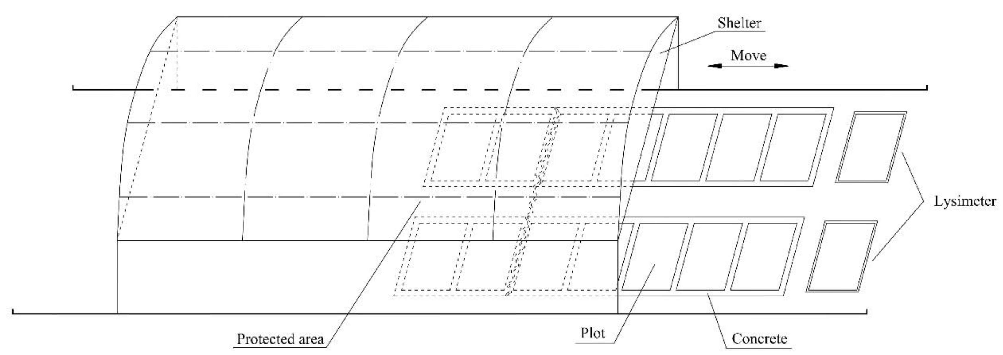
2.1. Experimental Area
2.2. Experimental Design
2.3. Observation Indicators
- 1.
- Meteorological data
- 2.
- Soil data
- 3.
- Crop ET
- 4.
- Crop height (CH)
- 5.
- Leaf area index (LAI)
2.4. SWAP Model Introduction and Sensitivity Analysis
2.4.1. Basic Principles
- 1.
- Water flow
- 2.
- Evapotranspiration
2.4.2. Model Input
2.4.3. Sensitivity Analysis
- 3.
- Determine the initial value of the VGM parameters
- 4.
- Determine the change range
- 5.
- Calculate the SI
- 6.
- Sensitivity ranking consistency test
2.4.4. Model Calibration and Verification
2.5. Path Analysis and Establishment of the ET Estimation Model
2.6. Data Processing and Statistical Analysis
3. Results
3.1. Sensitivity Analysis
3.1.1. Overall Parameter Sensitivity
3.1.2. Influence of Different Change Ranges on Sensitivity Analysis
3.2. SWAP Model Calibration and Verification
3.3. Water Balance under Deficit Irrigation
3.3.1. Pattern of Soil Water
3.3.2. Pattern of ET
3.4. Establishment and Verification of the ET Estimation Model
3.4.1. Correlation and Path Analysis of ET
3.4.2. Establishment and Verification of Crop and Water Stress Coefficient Estimation Model
3.4.3. Parameter Estimation and Verification of the ET Estimation Model
4. Discussion
5. Conclusions
Author Contributions
Funding
Acknowledgments
Conflicts of Interest
References
- Zheng, Z.; Cai, H.J.; Hoogenboom, G.; Chaves, B.; Yu, L.Y. Limited irrigation for improving water use efficiency of winter wheat in the Guanzhong Plain of Northwest China. Trans. Am. Soc. Agric. Biol. Eng. 2016, 59, 1841–1852. [Google Scholar]
- Zhang, X.L.; Xi, L.Y.; Liang, H.Y.; Liu, L.L.; Liao, Y.C.; Liu, Y.; Wen, X.X. Effects of ridge-furrow planting with plastic film mulching and irrigation on grain yield and water use efficiency of winter wheat in Guanzhong Plain. Acta Agric. Boreali-Occident. Sin. 2018, 27, 499–508. [Google Scholar]
- Zhang, G.Y.; Zhang, G.Q.; Luo, Q.G.; Ouyang, S.H.; Wei, Y.M. Factors and cluster analysis of quality properties of wheat in Guanzhong Area of Shaanxi Province. J. Triticeae Crop. 2010, 30, 548–554. [Google Scholar]
- Sun, H.Y.; Liu, C.M.; Zhang, X.Y.; Shen, Y.J.; Zhang, Y.Q. Effects of irrigation on water balance, yield and WUE of winter wheat in the North China Plain. Agric. Water Manag. 2006, 85, 211–218. [Google Scholar] [CrossRef]
- Tang, J.J.; Folmer, H.; Xue, J.H. Technical and allocative efficiency of irrigation water use in the Guanzhong Plain, China. Food Policy 2015, 50, 43–52. [Google Scholar] [CrossRef]
- Zhang, X.Y.; Chen, S.Y.; Sun, H.Y.; Wang, Y.M.; Shao, L.W. Water use efficiency and associated traits in winter wheat cultivars in the North China Plain. Agric. Water Manag. 2010, 97, 1117–1125. [Google Scholar] [CrossRef]
- Hussain, M.; Farooq, S.; Jabran, K.; Ijaz, M.; Sattar, A.; Hassan, W. Wheat sown with narrow spacing results in higher yield and water use efficiency under deficit supplemental irrigation at the vegetative and reproductive stage. Agronomy 2016, 6, 22. [Google Scholar] [CrossRef]
- Jiang, J.; Huo, Z.L.; Feng, S.Y.; Kang, S.Z.; Wang, F.X.; Zhang, C.B. Effects of deficit irrigation with saline water on spring wheat growth and yield in arid Northwest China. J. Arid Land 2013, 5, 143–154. [Google Scholar] [CrossRef]
- Jiang, Y. China’s water scarcity. J. Environ. Manag. 2009, 90, 3185–3196. [Google Scholar] [CrossRef]
- Piao, S.; Ciais, P.; Huang, Y.; Shen, Z.; Peng, S.; Li, J.; Zhou, L.; Liu, H.; Ma, Y.; Ding, Y.; et al. The impacts of climate change on water resources and agriculture in China. Nature 2010, 467, 43–51. [Google Scholar] [CrossRef]
- Zhang, Y.; Han, Q.F.; Cheng, X.F.; Yang, S.S.; Jia, Z.K.; Ding, R.X.; Ren, X.L.; Nie, J.F. Effects of ridge and furrow rain harvesting with supplemental irrigation on winter wheat photosynthetic characteristics, yield and water use efficiency in Guanzhong irrigation district. Chin. J. Appl. Ecol. 2015, 26, 1382–1390. [Google Scholar]
- Tang, J.J.; Folmer, H.; Xue, J.H. Adoption of farm-based irrigation water-saving techniques in the Guanzhong Plain, China. Agric. Econ. 2016, 47, 445–455. [Google Scholar] [CrossRef]
- Wang, J.X.; Huang, J.K.; Zhang, L.J.; Huang, Q.Q. Do incentives still matter for the reform of irrigation management in the Yellow River Basin in China? J. Hydrol. 2014, 517, 584–594. [Google Scholar] [CrossRef]
- Ali, M.H.; Hoque, M.R.; Hassan, A.A.; Khair, A. Effects of deficit irrigation on yield, water productivity, and economic returns of wheat. Agric. Water Manag. 2007, 92, 151–161. [Google Scholar] [CrossRef]
- Ishaque, W.; Abbas, F.; Ali, S.; Mahmood, K.; Zaman, Q.; Azam, M.; Khan, I.; Zain, M. Yield response of wheat (Triticum aestivum L.) to deficit and regulated deficit irrigation under aridsemi-arid conditions. Pak. J. Agric. Sci. 2017, 54, 135–144. [Google Scholar]
- Sarwar, A.; Bastiaanssen, W.G.M.; Feddes, R.A. Irrigation water distribution and long-term effects on crop and environment. Agric. Water Manag. 2001, 50, 125–140. [Google Scholar] [CrossRef]
- Tejero, I.G.; Zuazo, V.H.D.; Bocanegra, J.A.J.; Fernández, J.L.M. Improved water-use efficiency by deficit-irrigation programmes: Implications for saving water in citrus orchards. Sci. Hortic. 2011, 128, 274–282. [Google Scholar] [CrossRef]
- Xia, G.J.; Yan, Y.L.; Cheng, S.M.; Gao, S.J.; Luo, Y. Research on compensatory effects to water deficits on dryland winter wheat. Agric. Res. Arid Areas 2001, 19, 79–82. [Google Scholar]
- Zhao, L.Y.; Deng, X.P.; Lun, S. A review on types and mechanisms of compensation effect of crops under water deficit. Chin. J. Appl. Ecol. 2004, 15, 523–526. [Google Scholar]
- Tari, A.F. The effects of different deficit irrigation strategies on yield, quality, and water-use efficiencies of wheat under semi-arid conditions. Agric. Water Manag. 2016, 167, 1–10. [Google Scholar] [CrossRef]
- Yu, L.Y.; Zeng, Y.J.; Su, Z.B.; Cai, H.J.; Zheng, Z. The effect of different evapotranspiration methods on portraying soil water dynamics and ET partitioning in a semi-arid environment in Northwest China. Hydrol. Earth Syst. Sci. 2016, 20, 975–990. [Google Scholar] [CrossRef]
- Schneider, A.D.; Howell, T.A. Scheduling deficit wheat irrigation with data from an evapotranspiration network. Trans. Am. Soc. Agric. Eng. 2001, 44, 1617–1623. [Google Scholar] [CrossRef]
- Wang, Z.S.; Cai, H.J.; Yu, L.Y.; Wang, X.W.; Shi, X.H. Estimation of evapotranspiration and soil evaporation of winter wheat in arid region of Northwest China based on SIMDual Kc model. Trans. Chin. Soc. Agric. Eng. 2016, 32, 126–136. [Google Scholar]
- Anderson, R.; French, A. Crop evapotranspiration. Agron. Basel 2019, 9, 614. [Google Scholar] [CrossRef]
- Chia, M.Y.; Huang, Y.F.; Koo, C.H.; Fung, K.F. Recent advances in evapotranspiration estimation using artificial intelligence approaches with a focus on hybridization techniques-A Review. Agron. Basel 2020, 10, 101. [Google Scholar] [CrossRef]
- Neukam, D.; Ahrends, H.; Luig, A.; Manderscheid, R.; Kage, H. Integrating wheat canopy temperatures in crop system models. Agronomy 2016, 6, 7. [Google Scholar] [CrossRef]
- Leghari, S.J.; Hu, K.L.; Liang, H.; Wei, Y.C. Modeling water and nitrogen balance of different cropping systems in the North China Plain. Agronomy 2019, 9, 696. [Google Scholar] [CrossRef]
- Kroes, J.G.; van Dam, J.C.; Bartholomeus, R.P.; Groenendijk, P.; Heinen, M.; Hendriks, R.F.A.; Mulder, H.M.; Supit, I.; van Walsum, P.E.V. SWAP Version 4: Theory Description and User Manual; Wageningen Environmental Research: Wageningen, The Netherlands, 2017. [Google Scholar]
- Eitzinger, J.; Trnka, M.; Hösch, J.; Žalud, Z.; Dubrovský, M. Comparison of CERES, WOFOST and SWAP models in simulating soil water content during growing season under different soil conditions. Ecol. Model. 2004, 171, 223–246. [Google Scholar] [CrossRef]
- Bonfante, A.; Basile, A.; Acutis, M.; De Mascellis, R.; Manna, P.; Perego, A.; Terribile, F. SWAP, CropSyst and MACRO comparison in two contrasting soils cropped with maize in Northern Italy. Agric. Water Manag. 2010, 97, 1051–1062. [Google Scholar] [CrossRef]
- Ma, Y.; Feng, S.Y.; Huo, Z.L.; Song, X.F. Application of the SWAP model to simulate the field water cycle under deficit irrigation in Beijing, China. Math. Comput. Model. 2011, 54, 1044–1052. [Google Scholar] [CrossRef]
- Confalonieri, R.; Bellocchi, G.; Tarantola, S.; Acutis, M.; Donatelli, M.; Genovese, G. Sensitivity analysis of the rice model WARM in Europe: Exploring the effects of different locations, climates and methods of analysis on model sensitivity to crop parameters. Environ. Model. Softw. 2010, 25, 479–488. [Google Scholar] [CrossRef]
- Zeng, W.Z.; Lei, G.Q.; Zha, Y.Y.; Fang, Y.H.; Wu, J.W.; Huang, J.S. Sensitivity and uncertainty analysis of the HYDRUS-1D model for root water uptake in saline soils. Crop. Pasture Sci. 2018, 69, 163–173. [Google Scholar] [CrossRef]
- Song, L.B.; Chen, S.; Yao, N.; Feng, H.; Zhang, T.B.; He, J.Q. Parameter estimation and verification of CERES-maize model with GLUE and PEST methods. Trans. Chin. Soc. Agric. Mach. 2015, 46, 95–111. [Google Scholar]
- Wang, X.W.; Cai, H.J.; Zheng, Z.; Yu, L.Y.; Wang, Z.S.; Li, L. Modelling root water uptake under deficit irrigation and rewetting in Northwest China. Agron. J. 2020, 112, 158–174. [Google Scholar] [CrossRef]
- Richards, L.A. Capillary conduction of liquids through porous mediums. Physics 1931, 1, 318–333. [Google Scholar] [CrossRef]
- Feng, S.Y.; Jiang, J.; Huo, Z.L.; Zhang, C.B. Optimization of irrigation scheduling under deficit irrigation with saline water for spring wheat based on SWAP model. Trans. Chin. Soc. Agric. Eng. 2014, 30, 66–75. [Google Scholar]
- Hassanli, M.; Ebrahimian, H.; Mohammadi, E.; Rahimi, A.; Shokouhi, A. Simulating maize yields when irrigating with saline water, using the AquaCrop, SALTMED, and SWAP models. Agric. Water Manag. 2016, 176, 91–99. [Google Scholar] [CrossRef]
- Feddes, R.A.; Kowalik, P.J.; Zaradny, H. Simulation of Field Water Use and Crop Yield; Centre for Agricultural Publishing and Documentation: Wageningen, The Netherlands, 1978. [Google Scholar]
- Cai, G.C.; Vanderborght, J.; Langensiepen, M.; Schnepf, A.; Hüging, H.; Vereecken, H. Root growth, water uptake, and sap flow of winter wheat in response to different soil water conditions. Hydrol. Earth Syst. Sci. 2018, 22, 2449–2470. [Google Scholar] [CrossRef]
- Yang, D.J.; Zhang, T.Q.; Zhang, K.F.; Greenwood, D.J.; Hammond, J.P.; White, P.J. An easily implemented agro-hydrological procedure with dynamic root simulation for water transfer in the crop-soil system: Validation and application. J. Hydrol. 2009, 370, 177–190. [Google Scholar] [CrossRef]
- Jha, S.K.; Gao, Y.; Liu, H.; Huang, Z.D.; Wang, G.S.; Liang, Y.P.; Duan, A.W. Root development and water uptake in winter wheat under different irrigation methods and scheduling for North China. Agric. Water Manag. 2017, 182, 139–150. [Google Scholar] [CrossRef]
- Guo, J.M. Simulation of Regional Winter Wheat Growth by Using Remote Sensing Data and Crop Growth Model; Nanjing University of Information Science & Technology: Nanjing, China, 2007. [Google Scholar]
- Hamby, D.M. A review of techniques for parameter sensitivity analysis of environmental models. Environ. Monit. Assess. 1994, 32, 135–154. [Google Scholar] [CrossRef] [PubMed]
- Sun, Y. The Numerical Inversion of Soil Hydraulic Parameters Based on PEST; China University of Geosciences: Beijing, China, 2017. [Google Scholar]
- Xu, S.N. Simulation of Winter Wheat in Jiangsu Province with the Modified WOFOST Model Based on Remote Sensing Data; Nanjing University of Information Science & Technology: Nanjing, China, 2016. [Google Scholar]
- van Genuchten, M.T.; Leij, F.J.; Yates, S.R.; Williams, J.R. The RETC Code for Quantifying the Hydraulic Functions of Unsaturated Soils; U.S. Department of Agriculture, Agricultural Research Service, U.S. Salinity Laboratory: Riverside, CA, USA, 1991.
- Li, S.; Zhao, X.J.; Xie, Y.; Zhai, J.R.; Liu, G.; Gao, X.F.; Li, J.; Gao, Y. Parameter estimation of soil water retention curve based on soil physical and chemical properties of Van Genuchten model. Sci. Geogr. Sin. 2018, 38, 1189–1197. [Google Scholar]
- Gao, H.B.; Shao, M.A. Effect of temperature on soil moisture parameters. Adv. Water Sci. 2011, 22, 484–494. [Google Scholar]
- Yao, Y.F.; Shao, M.A. Effect of measure time on soil saturated hydraulic conductivity by constant head method. Chin. J. Soil Sci. 2015, 46, 327–333. [Google Scholar]
- Helton, J.C.; Davis, F.J.; Johnson, J.D. A comparison of uncertainty and sensitivity analysis results obtained with random and Latin hypercube sampling. Reliab. Eng. Syst. Saf. 2005, 89, 305–330. [Google Scholar] [CrossRef]
- Iman, R.; Conover, W.J. A measure of Top-Down correlation. Technometrics 1987, 29, 351–357. [Google Scholar]
- Savage, I.R. Contributions to the theory of rank order statistics-the two-sample case. Ann. Math. Stat. 1956, 27, 590–615. [Google Scholar] [CrossRef]
- Tan, J.W. Study on Parameter Sensitivity and Model Uncertainty Analysis of Crop Model; Wuhan University: Wuhan, China, 2017. [Google Scholar]
- Guo, X.H.; Sun, X.H.; Ma, J.J.; Lei, T.; Zheng, L.J.; Wang, P. Simulation of the water dynamics and root water uptake of winter wheat in irrigation at different soil depths. Water 2018, 10, 1033–1049. [Google Scholar] [CrossRef]
- Wright, S. Systems of mating. i. the biometric relations between parent and offspring. Genetics 1921, 6, 111–123. [Google Scholar]
- Astereki, H.; Sharifi, P.; Pouresmael, M. Correlation and path analysis for grain yield and yield components in chickpea (Cicer arietinum L.). Genetika 2017, 49, 273–284. [Google Scholar] [CrossRef][Green Version]
- de Almeida Rios, S.; Vieira da Cunha, R.N.; Lopes, R.; Barcelos, E.; Raimundo Nonato Carvalho da, R.; Alves de Lima, W.A. Correlation and path analysis for yield components in dura oil palm germplasm. Ind. Crop. Prod. 2018, 112, 724–733. [Google Scholar] [CrossRef]
- Hladni, N.; Jocic, S.; Mijic, A.; Miklic, V.; Miladinovic, D. Correlation and path analysis of yield and yield components of confectionary sunflower. Genetika 2016, 48, 827–835. [Google Scholar] [CrossRef]
- Seker, H.; Serin, Y. Explanation of the relationships between seed yield and some morphological traits in smooth bromegrass (Bromus inermis Leyss.) by path analysis. Eur. J. Agron. 2004, 21, 1–6. [Google Scholar] [CrossRef]
- Singh, U.K.; Ren, L.; Kang, S. Simulation of soil water in space and time using an agro-hydrological model and remote sensing techniques. Agric. Water Manag. 2010, 97, 1210–1220. [Google Scholar] [CrossRef]
- Zhang, X.Y.; Pei, D.; Chen, S.Y. Root growth and soil water utilization of winter wheat in the North China Plain. Hydrol. Process. 2004, 18, 2275–2287. [Google Scholar] [CrossRef]
- Engels, C.; Mollenkopf, M.; Marschner, H. Effect of drying and rewetting the topsoil on root-growth of maize and rape in different soil depths. Z. Pflanz. Bodenkd. 1994, 157, 139–144. [Google Scholar] [CrossRef]
- Xu, X.; Bland, W.L. Resumption of water uptake by sorghum after water stress. Agron. J. 1993, 85, 697–702. [Google Scholar] [CrossRef]
- Feddes, R.A.; Hoff, H.; Bruen, M.; Dawson, T.; de Rosnay, P.; Dirmeyer, P.; Jackson, R.B.; Kabat, P.; Kleidon, A.; Lilly, A.; et al. Modeling root water uptake in hydrological and climate models. Bull. Am. Meteorol. Soc. 2001, 82, 2797–2809. [Google Scholar] [CrossRef]
- Feddes, R.A.; Kowalik, P.; Kolinska-Malinka, K.; Zaradny, H. Simulation of field water uptake by plants using a soil water dependent root extraction function. J. Hydrol. 1976, 31, 13–26. [Google Scholar] [CrossRef]
- Li, C.X.; Zhou, X.G.; Sun, J.S.; Wang, H.Z.; Gao, Y. Dynamics of root water uptake and water use efficiency under alternate partial root-zone irrigation. Desalin. Water Treat. 2013, 52, 2805–2810. [Google Scholar] [CrossRef]











| Soil Physical Properties | Soil Layers (cm) | ||||
|---|---|---|---|---|---|
| 0–20 | 20–40 | 40–60 | 60–80 | 80–100 | |
| Sand (%) | 26.71 | 24.98 | 22.11 | 22.11 | 22.11 |
| Silt (%) | 50.85 | 52.78 | 54.75 | 54.75 | 54.75 |
| Clay (%) | 22.10 | 22.10 | 20.90 | 20.90 | 20.90 |
| Bulk density (g cm−3) | 1.32 | 1.40 | 1.41 | 1.41 | 1.41 |
| Field water capacity (volume water content, cm3 cm−3) | 0.34 | 0.32 | 0.31 | 0.36 | 0.36 |
| Year | Treatments | Irrigation (%ET) | |||
|---|---|---|---|---|---|
| Emergence–Jointing | Jointing–Heading | Heading–Grouting | Grouting–Maturity | ||
| 2012–2013 | W1 (CK) | 100 | 100 | 100 | 100 |
| W2 | 100 | 80 | 80 | 80 | |
| W3 | 100 | 60 | 60 | 60 | |
| W4 | 80 | 100 | 80 | 60 | |
| W5 | 80 | 80 | 60 | 100 | |
| W6 | 80 | 60 | 100 | 80 | |
| W7 | 60 | 100 | 60 | 80 | |
| W8 | 60 | 80 | 100 | 60 | |
| W9 | 60 | 60 | 80 | 100 | |
| 2013–2014 | T1 (CK) | 100 | 100 | 100 | 0 |
| T2 | 100 | 80 | 80 | 0 | |
| T3 | 100 | 60 | 60 | 0 | |
| T4 | 80 | 100 | 60 | 0 | |
| T5 | 80 | 80 | 100 | 0 | |
| T6 | 80 | 60 | 80 | 0 | |
| T7 | 60 | 100 | 80 | 0 | |
| T8 | 60 | 80 | 60 | 0 | |
| T9 | 60 | 60 | 100 | 0 | |
| Soil Layers (cm) | Residual Water Content θr (cm3 cm−3) | Saturated Water Content θs (cm3 cm−3) | Saturated Hydraulic Conductivity Ks (cm d−1) | Water Content Shape Factor | ||||||
|---|---|---|---|---|---|---|---|---|---|---|
| α (cm−1) | n | |||||||||
| Initial Values | Calibration Values | Initial Values | Calibration Values | Initial Values | Calibration Values | Initial Values | Calibration Values | Initial Values | Calibration Values | |
| 0–20 | 0.07 | 0.10 | 0.43 | 0.42 | 19.37 | 15.00 | 0.01 | 0.040 | 1.61 | 1.30 |
| 20–40 | 0.07 | 0.13 | 0.41 | 0.41 | 13.12 | 15.00 | 0.01 | 0.030 | 1.61 | 1.70 |
| 40–60 | 0.07 | 0.10 | 0.41 | 0.49 | 13.56 | 10.00 | 0.01 | 0.035 | 1.62 | 1.70 |
| 60–80 | 0.07 | 0.10 | 0.41 | 0.47 | 13.56 | 10.00 | 0.01 | 0.040 | 1.62 | 1.70 |
| 80–100 | 0.07 | 0.10 | 0.41 | 0.45 | 13.56 | 7.00 | 0.01 | 0.045 | 1.62 | 1.55 |
| Soil Layers (cm) | VGM Parameters | Parameter Change Ranges | |||||||
|---|---|---|---|---|---|---|---|---|---|
| +10% | +20% | +30% | +50% | −10% | −20% | −30% | −50% | ||
| 0–20 | θr | 3 | 3 | 3 | 3 | 4 | 3 | 3 | 3 |
| θs | 2 | 1 | 1 | 1 | 2 | 2 | 2 | 2 | |
| Ks | 5 | 5 | 5 | 5 | 5 | 4 | 5 | 5 | |
| α | 4 | 4 | 4 | 4 | 3 | 5 | 4 | 4 | |
| n | 1 | 2 | 2 | 2 | 1 | 1 | 1 | 1 | |
| 20–40 | θr | 3 | 4 | 3 | 3 | 4 | 3 | 3 | 3 |
| θs | 1 | 1 | 1 | 1 | 2 | 2 | 2 | 2 | |
| Ks | 4 | 5 | 4 | 4 | 5 | 4 | 4 | 4 | |
| α | 5 | 3 | 5 | 5 | 3 | 5 | 5 | 5 | |
| n | 2 | 2 | 2 | 2 | 1 | 1 | 1 | 1 | |
| 40–60 | θr | 5 | 3 | 3 | 3 | 4 | 3 | 3 | 3 |
| θs | 1 | 1 | 1 | 1 | 2 | 2 | 2 | 2 | |
| Ks | 3 | 4 | 4 | 4 | 5 | 4 | 4 | 4 | |
| α | 4 | 5 | 5 | 5 | 3 | 5 | 5 | 5 | |
| n | 2 | 2 | 2 | 2 | 1 | 1 | 1 | 1 | |
| 60–80 | θr | 5 | 3 | 3 | 3 | 3 | 4 | 3 | 3 |
| θs | 1 | 1 | 1 | 1 | 2 | 2 | 2 | 2 | |
| Ks | 3 | 4 | 4 | 4 | 5 | 3 | 4 | 4 | |
| α | 4 | 5 | 5 | 5 | 4 | 5 | 5 | 5 | |
| n | 2 | 2 | 2 | 2 | 1 | 1 | 1 | 1 | |
| 80–100 | θr | 5 | 3 | 3 | 3 | 3 | 3 | 3 | 3 |
| θs | 1 | 1 | 1 | 1 | 2 | 2 | 2 | 2 | |
| Ks | 3 | 4 | 4 | 4 | 5 | 4 | 4 | 4 | |
| α | 4 | 5 | 5 | 5 | 4 | 5 | 5 | 5 | |
| n | 2 | 2 | 2 | 2 | 1 | 1 | 1 | 1 | |
| Soil Layer/Growth Stage | TDCC | T Value | p Value | |
|---|---|---|---|---|
| Soil layers (cm) | 0–20 | 0.813 | 26.001 | 3.164 × 10−5 |
| 20–40 | 0.780 | 24.975 | 5.088 × 10−5 | |
| 40–60 | 0.778 | 24.881 | 5.316 × 10−5 | |
| 60–80 | 0.784 | 25.075 | 4.859 × 10−5 | |
| 80–100 | 0.790 | 25.280 | 4.420 × 10−5 | |
| Growth stages | Emergence–jointing | 0.735 | 23.534 | 9.904 × 10−5 |
| Jointing–heading | 0.698 | 22.335 | 1.719 × 10−4 | |
| Heading–grouting | 0.622 | 19.912 | 5.199 × 10−4 | |
| Grouting–maturity | 0.725 | 23.194 | 1.158 × 10−4 | |
| Growth Stages | VGM | Parameter Change Ranges | |||||||
|---|---|---|---|---|---|---|---|---|---|
| Parameters | 10% | 20% | 30% | 50% | −10% | −20% | −30% | −50% | |
| Emergence–jointing | θr | 4 | 4 | 4 | 4 | 4 | 4 | 4 | 4 |
| θs | 1 | 2 | 2 | 2 | 1 | 1 | 2 | 2 | |
| Ks | 5 | 5 | 5 | 5 | 5 | 5 | 5 | 5 | |
| α | 3 | 3 | 3 | 3 | 2 | 2 | 3 | 3 | |
| n | 2 | 1 | 1 | 1 | 3 | 3 | 1 | 1 | |
| Jointing–heading | θr | 3 | 3 | 3 | 3 | 4 | 3 | 3 | 3 |
| θs | 1 | 1 | 1 | 1 | 2 | 1 | 1 | 2 | |
| Ks | 4 | 4 | 4 | 4 | 5 | 4 | 5 | 5 | |
| α | 5 | 5 | 5 | 5 | 1 | 5 | 4 | 4 | |
| n | 2 | 2 | 2 | 2 | 3 | 2 | 2 | 1 | |
| Heading–grouting | θr | 4 | 5 | 5 | 3 | 5 | 5 | 5 | 5 |
| θs | 1 | 1 | 2 | 2 | 2 | 1 | 2 | 2 | |
| Ks | 5 | 4 | 4 | 4 | 4 | 4 | 4 | 4 | |
| α | 2 | 3 | 3 | 5 | 1 | 3 | 3 | 3 | |
| n | 3 | 2 | 1 | 1 | 3 | 2 | 1 | 1 | |
| Grouting–maturity | θr | 4 | 4 | 3 | 3 | 3 | 3 | 4 | 4 |
| θs | 1 | 1 | 1 | 1 | 1 | 1 | 1 | 2 | |
| Ks | 5 | 3 | 5 | 4 | 5 | 2 | 3 | 3 | |
| α | 3 | 5 | 4 | 5 | 2 | 4 | 5 | 5 | |
| n | 2 | 2 | 2 | 2 | 4 | 5 | 2 | 1 | |
| Year | Treatments | Soil Layers (cm) | |||||||||
|---|---|---|---|---|---|---|---|---|---|---|---|
| 0–20 | 20–40 | 40–60 | 60–80 | 80–100 | |||||||
| MRE % | RMSE (cm3 cm−3) | MRE % | RMSE (cm3 cm−3) | MRE % | RMSE (cm3 cm−3) | MRE % | RMSE (cm3 cm−3) | MRE % | RMSE (cm3 cm−3) | ||
| 2012–2013 | W1 | 17.59 | 0.04 | 11.12 | 0.03 | 19.11 | 0.05 | 15.39 | 0.04 | 19.19 | 0.05 |
| W2 | 14.57 | 0.03 | 11.96 | 0.03 | 7.91 | 0.02 | 7.29 | 0.02 | 14.81 | 0.04 | |
| W3 | 14.94 | 0.03 | 16.49 | 0.04 | 13.78 | 0.04 | 6.78 | 0.02 | 14.56 | 0.04 | |
| W4 | 17.36 | 0.04 | 18.52 | 0.04 | 7.44 | 0.02 | 7.08 | 0.02 | 15.78 | 0.04 | |
| W5 | 13.41 | 0.03 | 12.14 | 0.03 | 10.76 | 0.03 | 6.84 | 0.02 | 12.19 | 0.03 | |
| W6 | 13.30 | 0.03 | 14.16 | 0.03 | 10.00 | 0.03 | 6.38 | 0.02 | 10.81 | 0.03 | |
| W7 | 11.77 | 0.03 | 11.39 | 0.03 | 7.36 | 0.02 | 6.08 | 0.02 | 13.46 | 0.03 | |
| W8 | 12.77 | 0.03 | 12.01 | 0.03 | 9.40 | 0.03 | 5.00 | 0.02 | 9.99 | 0.03 | |
| W9 | 12.26 | 0.03 | 15.53 | 0.04 | 8.62 | 0.02 | 12.55 | 0.04 | 4.75 | 0.01 | |
| 2013–2014 | T1 | 6.92 | 0.02 | 16.10 | 0.04 | 9.22 | 0.03 | 14.82 | 0.05 | 11.83 | 0.04 |
| T2 | 11.82 | 0.03 | 17.92 | 0.05 | 17.00 | 0.05 | 20.71 | 0.07 | 11.08 | 0.04 | |
| T3 | 9.73 | 0.03 | 21.97 | 0.06 | 19.22 | 0.05 | 14.59 | 0.04 | 4.71 | 0.02 | |
| T4 | 8.92 | 0.03 | 19.51 | 0.05 | 16.36 | 0.05 | 18.13 | 0.05 | 12.09 | 0.04 | |
| T5 | 16.26 | 0.04 | 14.81 | 0.04 | 13.35 | 0.04 | 11.39 | 0.04 | 9.08 | 0.03 | |
| T6 | 11.03 | 0.03 | 21.53 | 0.05 | 16.97 | 0.05 | 18.92 | 0.06 | 5.45 | 0.02 | |
| T7 | 12.86 | 0.04 | 18.26 | 0.05 | 11.51 | 0.03 | 21.66 | 0.06 | 12.00 | 0.04 | |
| T8 | 9.11 | 0.03 | 21.77 | 0.05 | 17.68 | 0.05 | 20.16 | 0.06 | 8.11 | 0.03 | |
| T9 | 15.07 | 0.04 | 18.54 | 0.05 | 13.87 | 0.04 | 11.20 | 0.03 | 10.32 | 0.03 | |
| Year | Treatments | D | ∆W | ET | Year | Treatments | D | ∆W | ET |
|---|---|---|---|---|---|---|---|---|---|
| 2012–2013 | W1 | 19.42 | −72.05 | 389.63 | 2013–2014 | T1 | 36.86 | −91.03 | 318.17 |
| W2 | 33.54 | −108.84 | 361.31 | T2 | 23.44 | −96.36 | 300.92 | ||
| W3 | 18.24 | −112.88 | 329.64 | T3 | 19.15 | −95.46 | 268.31 | ||
| W4 | 5.86 | −84.72 | 346.86 | T4 | 15.07 | −95.07 | 285.00 | ||
| W5 | 11.90 | −90.08 | 349.18 | T5 | 26.65 | −109.13 | 314.49 | ||
| W6 | 11.60 | −91.36 | 353.76 | T6 | 7.60 | −68.65 | 257.05 | ||
| W7 | 7.95 | −95.17 | 340.23 | T7 | 6.01 | −82.38 | 287.37 | ||
| W8 | 5.58 | −77.47 | 327.89 | T8 | 4.05 | −86.58 | 257.53 | ||
| W9 | 1.51 | −49.02 | 306.51 | T9 | 7.37 | −89.66 | 284.29 |
| Year | Treatments | Emergence–Jointing | Jointing–Heading | Heading–Grouting | Grouting–Maturity | ||||
|---|---|---|---|---|---|---|---|---|---|
| Ta | Ea | Ta | Ea | Ta | Ea | Ta | Ea | ||
| 2012–2013 | W1 | 64.24 | 51.40 | 58.12 | 10.66 | 65.19 | 16.39 | 114.53 | 9.10 |
| W2 | 73.32 | 20.51 | 64.78 | 7.42 | 69.34 | 12.65 | 105.15 | 8.15 | |
| W3 | 76.18 | 38.12 | 57.35 | 6.68 | 59.00 | 12.35 | 72.95 | 7.01 | |
| W4 | 73.07 | 16.69 | 70.70 | 6.88 | 72.79 | 11.30 | 88.26 | 7.17 | |
| W5 | 67.62 | 23.19 | 61.91 | 8.49 | 60.11 | 12.81 | 106.58 | 8.46 | |
| W6 | 70.85 | 20.12 | 59.45 | 5.99 | 68.17 | 12.71 | 108.65 | 7.83 | |
| W7 | 60.50 | 23.23 | 58.90 | 10.35 | 64.92 | 12.95 | 101.82 | 7.57 | |
| W8 | 52.21 | 16.13 | 57.77 | 10.11 | 64.30 | 15.51 | 104.92 | 6.93 | |
| W9 | 45.76 | 11.31 | 54.01 | 7.04 | 60.55 | 13.58 | 105.57 | 8.70 | |
| 2013–2014 | T1 | 71.77 | 16.01 | 45.37 | 4.38 | 86.00 | 4.02 | 87.17 | 3.46 |
| T2 | 79.88 | 13.28 | 45.38 | 3.52 | 79.04 | 2.65 | 75.27 | 1.90 | |
| T3 | 81.79 | 15.38 | 45.49 | 3.48 | 63.52 | 2.55 | 53.91 | 2.19 | |
| T4 | 75.66 | 12.03 | 44.51 | 4.03 | 83.40 | 3.58 | 59.87 | 1.91 | |
| T5 | 77.38 | 14.17 | 45.45 | 3.61 | 78.80 | 3.07 | 89.57 | 2.45 | |
| T6 | 58.55 | 7.80 | 45.74 | 3.80 | 64.66 | 2.54 | 71.28 | 2.68 | |
| T7 | 65.61 | 8.87 | 44.11 | 3.68 | 83.59 | 3.54 | 75.61 | 2.36 | |
| T8 | 70.75 | 9.85 | 43.33 | 4.40 | 72.99 | 3.09 | 50.94 | 2.17 | |
| T9 | 65.79 | 14.89 | 44.73 | 4.05 | 63.62 | 2.97 | 85.45 | 2.79 | |
| X2_CH | X10_RAD | X5_SWC60 | X11_U2 | X9_RH | X6_SWC80 | X1_LAI | X8_T | X3_SWC20 | Y_ET | |
|---|---|---|---|---|---|---|---|---|---|---|
| X2_CH | 1 | 0.561 ** | −0.390 ** | 0.128 ** | 0.047 ** | −0.483 ** | 0.823 ** | 0.790 ** | −0.034 * | 0.777 ** |
| X10_RAD | 1 | −0.294 ** | 0.069 ** | −0.301 ** | −0.346 ** | 0.430 ** | 0.690 ** | −0.124 ** | 0.698 ** | |
| X5_SWC60 | 1 | −0.062 ** | −0.128 ** | 0.977 ** | −0.377 ** | −0.438 ** | 0.856 ** | −0.070 ** | ||
| X11_U2 | 1 | −0.239 ** | −0.072 ** | 0.078 ** | 0.146 ** | −0.037 * | 0.216 ** | |||
| X9_RH | 1 | −0.139 ** | 0.077 ** | −0.004 | −0.067 ** | −0.243 ** | ||||
| X6_SWC80 | 1 | −0.456 ** | −0.532 ** | 0.762 ** | −0.170 ** | |||||
| X1_LAI | 1 | 0.649 ** | −0.046 ** | 0.630 ** | ||||||
| X8_T | 1 | −0.156 ** | 0.698 ** | |||||||
| X3_SWC20 | 1 | 0.207 ** | ||||||||
| Y1_ET | 1 |
| Independent Variables | CC | DE | IE | Total IE | ||||||||
|---|---|---|---|---|---|---|---|---|---|---|---|---|
| X2_CH | X10_RAD | X5_SWC60 | X11_U2 | X9_RH | X6_SWC80 | X1_LAI | X8_T | X3_SWC20 | ||||
| X2_CH | 0.777 ** | 0.545 | 0.191 | −0.164 | 0.012 | −0.005 | 0.089 | 0.058 | 0.053 | −0.002 | 0.232 | |
| X10_RAD | 0.698 ** | 0.340 | 0.306 | −0.124 | 0.007 | 0.035 | 0.064 | 0.030 | 0.046 | −0.007 | 0.357 | |
| X5_SWC60 | −0.070 ** | 0.420 | −0.213 | −0.100 | −0.006 | 0.015 | −0.181 | −0.027 | −0.029 | 0.050 | −0.490 | |
| X11_U2 | 0.216 ** | 0.094 | 0.070 | 0.023 | −0.026 | 0.028 | 0.013 | 0.006 | 0.010 | −0.002 | 0.122 | |
| X9_RH | −0.243 ** | −0.117 | 0.026 | −0.102 | −0.054 | −0.023 | 0.026 | 0.005 | 0.000 | −0.004 | −0.126 | |
| X6_SWC80 | −0.170 ** | −0.185 | −0.263 | −0.118 | 0.411 | −0.007 | 0.016 | −0.032 | −0.036 | 0.045 | 0.016 | |
| X1_LAI | 0.630 ** | 0.071 | 0.448 | 0.146 | −0.158 | 0.007 | −0.009 | 0.084 | 0.044 | −0.003 | 0.560 | |
| X8_T | 0.698 ** | 0.067 | 0.431 | 0.235 | −0.184 | 0.014 | 0.000 | 0.099 | 0.046 | −0.009 | 0.630 | |
| X3_SWC20 | 0.207 ** | 0.059 | −0.019 | −0.042 | 0.360 | −0.003 | 0.008 | −0.141 | −0.003 | −0.010 | 0.149 | |
| Independent Variables | DC | Total DC | ||||||||
|---|---|---|---|---|---|---|---|---|---|---|
| X2_CH | X10_RAD | X5_SWC60 | X11_U2 | X9_RH | X6_SWC80 | X1_LAI | X8_T | X3_SWC20 | ||
| X2_CH | 0.297 | 0.208 | −0.179 | 0.013 | −0.006 | 0.098 | 0.063 | 0.058 | −0.002 | 0.550 |
| X10_RAD | 0.116 | −0.084 | 0.004 | 0.024 | 0.044 | 0.021 | 0.032 | −0.005 | 0.359 | |
| X5_SWC60 | 0.177 | −0.005 | 0.013 | −0.152 | −0.022 | −0.025 | 0.042 | −0.235 | ||
| X11_U2 | 0.009 | 0.005 | 0.003 | 0.001 | 0.002 | 0.000 | 0.032 | |||
| X9_RH | 0.014 | −0.006 | −0.001 | 0.000 | 0.001 | 0.043 | ||||
| X6_SWC80 | 0.034 | 0.012 | 0.013 | −0.017 | 0.028 | |||||
| X1_LAI | 0.005 | 0.006 | 0.000 | 0.084 | ||||||
| X8_T | 0.005 | −0.001 | 0.089 | |||||||
| X3_SWC20 | 0.003 | 0.021 | ||||||||
| e | 0.029 | |||||||||
Publisher’s Note: MDPI stays neutral with regard to jurisdictional claims in published maps and institutional affiliations. |
© 2020 by the authors. Licensee MDPI, Basel, Switzerland. This article is an open access article distributed under the terms and conditions of the Creative Commons Attribution (CC BY) license (http://creativecommons.org/licenses/by/4.0/).
Share and Cite
Wang, X.; Cai, H.; Li, L.; Wang, X. Estimating Soil Water Content and Evapotranspiration of Winter Wheat under Deficit Irrigation Based on SWAP Model. Sustainability 2020, 12, 9451. https://doi.org/10.3390/su12229451
Wang X, Cai H, Li L, Wang X. Estimating Soil Water Content and Evapotranspiration of Winter Wheat under Deficit Irrigation Based on SWAP Model. Sustainability. 2020; 12(22):9451. https://doi.org/10.3390/su12229451
Chicago/Turabian StyleWang, Xiaowen, Huanjie Cai, Liang Li, and Xiaoyun Wang. 2020. "Estimating Soil Water Content and Evapotranspiration of Winter Wheat under Deficit Irrigation Based on SWAP Model" Sustainability 12, no. 22: 9451. https://doi.org/10.3390/su12229451
APA StyleWang, X., Cai, H., Li, L., & Wang, X. (2020). Estimating Soil Water Content and Evapotranspiration of Winter Wheat under Deficit Irrigation Based on SWAP Model. Sustainability, 12(22), 9451. https://doi.org/10.3390/su12229451

