Abstract
The application of multi-floor manufacturing (MFM) in huge cities is related to the rational use of urban areas and the solution to traffic problems. The operation of the city MFM clusters depends on the efficiency of production and transport management considering technical, economic, environmental, and other factors. The primary goal of this paper was to identify and analyze the drivers of sustainable supply chains (SSCs) that influence or encourage the design of sustainable processes in city MFM clusters under uncertainty in supply chains. This paper presents an SSC performance model for city MFM clusters under uncertainty. The proposed model is universal and is based on material flow analysis (MFA) methodology. The presented analysis helps to determine the conditions for rhythmic deliveries with the use of the multi-IRTs. The coefficients of rhythmic deliveries for multiple intelligent reconfigurable trolleys (IRTs) and the capacity loss of freight elevators allow us to periodically assess the sustainability processes in city MFM clusters related to the flow materials. These assessments are the basis for the decision-making and planning of SSCs.
1. Introduction
The acceleration of the urbanization of an agglomeration under the conditions of a modern information society, an increase in the share of high-rise buildings in the urban environment, intensive urban traffic, the use of advanced technologies, and the high demand for consumer goods all contribute to the further improvement of multi-floor factories [1,2,3,4,5,6,7] and the development of city multi-floor manufacturing (MFM) [5,6]. The city MFM are defined as one or more production and service enterprises operating in multi-floor buildings that are located in the residential area of the city. Some examples of this type of solution include the buildings used industrially in Hong Kong [8] and the Siemens Healthineers building in Forchheim (Germany) [9].
The green production of consumer goods placed directly at the consumer’s place of residence reduces urban traffic, the development of small- and medium-sized enterprises, new forms of production organization [10,11,12,13] and transport [14], and, in particular, the emergence of city MFM clusters and mega clusters [15].
A city MFM cluster is characterized by the presence of a group of multi-floor production and non-production buildings, a city logistics node in a dedicated residential area of a huge city, connected by various types of communication and fulfillment of orders for the manufacturing of products and services for the population and enterprises of the city and agglomeration [15]. Such clusters formed in the urban environment are facilitated by the policy of allocating urban enterprise zones, which offer tax incentives, infrastructure incentives, and reduced rules for attracting investment and private companies [16], provided that sustainable production is developed, preserving the integrity of biological and physical natural systems [17].
City MFM clusters are comprised mainly by small- and medium-sized enterprises with different production orientations, with the presence of similar or identical equipment [18]. This feature of city MFM clusters promotes business competition, allowing enterprises to use various forms of manufacturing organization to fulfill customer orders, including the organization of network production [12].
This paper presents a sustainable supply chain (SSC) performance model for city MFM clusters under uncertainty. The model is based on the consideration of the freight transport links of city MFM clusters in the structure of a megapolis and covers the various planning, control, and management activities required to realize said clusters’ supply chains under uncertainty. The model is an attempt to better explain the transport links of city MFM clusters in a metropolis framework and, at the same time, to draw a qualitative roadmap for the realization of their supply chains under uncertainty.
The remainder of the paper is structured as follows. Section 2 presents the literature review, including different concepts and definitions. City MFM clusters in the structure of a megapolis and its internal and external logistics links are presented in Section 3. A description of the methodology is provided and discussed in Section 4. Section 5 presents the SSC performance model for city MFM clusters under uncertainty. Section 6 presents the dimensions of the rhythmic deliveries of freight and the capacity losses of freight elevator operation. A discussion on the topic, findings, and recommendations for future research are provided in Section 7. The paper concludes with Section 8.
The literature review was divided into three parts due to the necessity to analyze literature in three research areas: City manufacturing and accompanying transport, sustainable city manufacturing, and sustainable supply chains.
2. Literature Review
2.1. City Manufacturing and Accompanying Transport
The city manufacturing process of consumer goods for a city’s population has been known for a long time and originated in the form of craft production [19]. The increase in the building density of huge cities contributed to the emergence of MFM in residential areas, which led to multi-floor facility layout problems [20,21,22,23,24], the optimization of the location of freight elevators [5], and their selection [25,26], as well as the choice of vertical transport (e.g., pipe and freight elevator) [24].
The tendency to increase the number of floors of city MFM and the limited capacity of a cluster’s transport system has led to the need to solve problems that emerge from internal and external traffic [27]. It should be emphasized that the use of automated guided vehicles (AGVs) or autonomous mobile robots (AMRs) for both internal and external traffic (within and outside of city MFM clusters) are impossible [28]. One of the key solutions to this problem for city MFM is the use of an innovative transport unit called intelligent reconfigurable trolleys (IRTs) for the following purposes [29]:
- To carry out their assembly and re-equipment considering the requirements of the transportation and storage of production freight;
- To put together several IRTs in the form of multi-IRTs for transportation by truck or in containers;
- To use different modes of transport (e.g., cranes, freight elevators and trucks, and rail, marine, and air transport);
- To realize the concept of multimodal and intermodal transport;
- To carry out real-time IRT registration, certification, identification, and monitoring;
- Supply chain management at different levels of the production organization.
The range of various applications of IRTs results from their versatility as a means of transport of production freight: Materials, workpieces, components and complete products, finished products and goods, materials and components for the assembly, operation, repair, and disposal of technological equipment, and production waste [12,29,30].
The transport in the supply chain within a cluster is aimed at minimizing traffic by increasing the load factor of IRTs and the light trucks with multi-IRTs, as well as at eliminating traffic between production buildings. IRTs are loaded/unloaded on the floors of the MFM building and are delivered by means of freight elevators to the main stock on the ground floor. Then, they are sorted to form multi-IRTs in a light truck. After delivery by truck to the logistics node, multi-IRTs are disbanded and re-sorted to form multi-IRTs in a truck or container for the subsequent shipment to customers outside of the cluster [15].
2.2. Sustainable City Manufacturing
Currently, there is no academic consensus on the definition of sustainable manufacturing. It is generally accepted that “sustainable manufacturing is the creation of manufactured products through economically sound processes that minimize negative environmental impacts while conserving energy and natural resources” [31]. Quite a few definitions of sustainable production are related to the triple bottom line (TBL) assessment criteria, which simultaneously consider the environmental, economic, and social dimensions [32,33,34,35,36]. More recently, Machado et al. presented the definition of sustainable manufacturing as “the integration of processes and systems capable to produce high quality products and services using less and more sustainable resources (energy and materials), being safer for employees, customers and communities surrounding, and being able to mitigate environmental and social impacts throughout its whole life cycle” [37]. Given the above definitions, sustainable city manufacturing can be defined as the integration of processes and systems in the urban environment for the manufacturing of products and services in accordance with the established TBL assessment criteria, which simultaneously consider the environmental, economic, and social dimensions.
The concept of sustainable city manufacturing covers a wide range of issues that are not only related to the optimization of a product and its manufacturing processes [34,38]. It is also important to consider both the core and supplemental issues and indicators of sustainable manufacturing [39]. Recently, Cagno et al. proposed a system for measuring the performance in the field of sustainable development of manufacturing, which covers a fairly large number of indicators, grouped in relation to the TBL’s pillars [34,40,41]. However, a number of researchers have stressed that indicators covering all three dimensions of sustainability are less mature compared to tools with one or two dimensions incorporated [36,42].
2.3. SSC and SSC Management (SSCM)
Sustainable city manufacturing is associated with a very important component of supplemental processes and subsystems that ensure the SSC and SSC management (SSCM) [27,38,43]. Taticchi et al. highlighted the supply chain as a key component for sustainability development with the established TBL assessment criteria [44]. The need to optimize supply chains is related to the high requirements for the sustainable development of a huge city and the presence of intense urban traffic. It is obvious that sustainability city manufacturing is also determined by the SSC, just as the optimal (finite) production performance of city MFM also depends on SSC performance and SSCM. Therefore, the design of sustainable processes in city MFM clusters under uncertainty in the supply chain is aimed at more complete use of SSC performance.
The conceptual approach of the SSC is narrowly understood to ensure the delivery of environmentally friendly materials and products in a circular economy using sustainable transport systems [27,45]. In a broader sense, the strategy for a conceptual approach of the SSC is also defined by environmental, social, and economic aspects [16,46,47,48]. Kim et al. [49] proposed a definition of the SSC as “a supply chain that not only simultaneously makes a profit and achieves its potential, but it is one that also is responsible to its consumers, suppliers, societies and environments by innovative strategic, tactics and management technologies,” which is well accepted and widely used thus far [50].
In the city MFM cluster framework, it is reasonable to focus on the concept of the SSC performance indicators, which allows us to assess the sustainability of processes under conditions of supply uncertainty: The capacity of freight transport, its empty runs and gas emissions, the organization of an environmentally safe transport infrastructure, etc. [41,44,47,51,52,53]. The implementation of the SSC and the decision-making process are carried out considering information about the manufacturing structure of suppliers and consumers, energy and resource flows, human factors, learning and social aspects, symbiosis, and spatial context using information and communications technology (ICT) and cyberphysical systems (CPS) [17,52,53,54]. The key sources of information for SSC implementation in the framework of city MFM clusters are the devices for the identification and monitoring of IRT content and traffic that are installed in each IRT to record and transmit the necessary information for deliveries in real time using a wireless local network [12,15,29]. Access to the local network is carried out by means of the corresponding equipment installed in the manufacturing buildings, city logistics node, and trucks [29]. Specified information support is also used for the implementation of SSCM.
More recently, Sánchez-Flores at al. [53] defined SSCM as “the preservation of balance that may exist between social responsibility, care for the environment and economic feasibility throughout the supply chain functions.” However, the definition of SSCM proposed by Carter and Rogers [55] is more often used: “The strategic, transparent integration and achievement of an organization’s social, environmental, and economic goals in the systemic coordination of key inter-organizational business processes for improving the long-term economic performance of the individual organization and its supply chains” [50,51]. In the framework of city MFM clusters, the goals of SSCM are to “provide maximum value to all stakeholders, and to fulfill customers’ requirements by achieving sustainable flow of products, services, information, and capital, as well as enabling cooperation among different supply chain participants” [41].
The following section describes city MFM clusters in the structure of a megapolis and its internal and external logistics links.
3. City MFM Clusters in the Structure of a Megapolis
City MFM clusters are formed in the residential areas of the huge cities of a metropolis primarily to meet the needs of the population of said clusters and in adjacent residential areas in terms of essential goods. The consumer can order goods from the cluster enterprises via the Internet [10], with the logistics node providing on time delivery to the end destination [12,15]. The consumer can also order a similar product in another city MFM cluster of the same metropolis or in other cities and countries, if the required product cannot be made on the spot or its quality, price, and delivery time are preferred. It is obvious that the enterprises of city MFM clusters are interested in the development of innovative products to meet the needs of the local market, which implies their close cooperation with the advanced technology and education parks (ATEPs) of a huge city to conduct complex research related to the creation of such products. Such cooperation also involves the participation of said ATEPs in the development and/or selection of optimal technologies and equipment, the training of personnel, and consulting support of the enterprises during the production of innovative products, and said products’ introduction to the market, operation, and disposal [56]. Mutual deliveries of necessary products, goods, and equipment between city MFM clusters and the ATEPs of a huge city are carried out through their logistics nodes.
Figure 1 shows a chart of city MFM and mega clusters in the structure of a megapolis (a huge city and its agglomeration). In addition to the core business, a city MFM cluster can produce components for enterprises both inside and outside of the cluster, as well as can purchase materials, components, and equipment. Figure 2 shows the logistics system of city MFM and mega clusters and the logistics system of a city MFM cluster in the structure of a megapolis.
Figure 1.
City multi-floor manufacturing (MFM) and mega clusters in the structure of a megapolis: 1, city MFM cluster; 2, city MFM mega cluster; 3, median city MFM cluster; 4, small city MFM cluster; 5, city MFM building; 6, city logistics nodes; 7, city logistics cluster; 8, advanced technology and education park (ATEP); 9, logistics node for the ATEP; 10, transfer stations for municipal solid waste; 11–13, road, railway, and river transport; 14, transfer stations for solid waste; 15, logistics center; 16, logistics hub.
Figure 2.
Logistics system of city MFM clusters: (a) cluster, (b) mega cluster, and (c) megapolis.
To streamline internal traffic in the city MFM cluster transportation of industrial goods, light trucks only are allowed between the logistics node and MFM buildings (Figure 2a). If a group of closely located city MFM clusters are combined into a city MFM mega cluster, then its enterprises can, if necessary, interact with all their logistics nodes (Figure 2b). It is also possible to unite a group of closely located logistics nodes into a city logistics cluster without creating a mega cluster. In this case, it is also possible for the enterprises of these clusters to interact with all nodes of the city logistics cluster [15].
City MFM and mega clusters are connected to external suppliers and consumers through their logistics nodes and urban logistics clusters. External suppliers and consumers of city MFM and mega clusters can be divided into three levels:
- First level—suppliers and customers located within the boundaries of a huge city;
- Second level—suppliers and consumers located within the boundaries of a metropolis;
- Third level—suppliers and consumers located outside of a metropolis.
External suppliers and consumers of the first level interact with city MFM and mega clusters through logistics nodes and transfer stations for municipal solid waste. Deliveries of production waste from city MFM and mega clusters to the transfer stations for municipal solid waste are also carried out through their logistics nodes. Domestic solid waste and waste from non-industrial enterprises and organizations, including the various city ports, stations, and exhibitions [19,55,56] generated on the territory of the huge city, are shipped to the transfer stations for municipal solid waste, bypassing the city logistics nodes [21].
External suppliers and consumers of the second level can interact with the city MFM and mega clusters through their logistics nodes, for example, delivering materials after recycling from a recycling, treatment, and energy park (RTEP) or components and equipment to or from industrial and technology park (ITP) enterprises. In the latter case, direct deliveries to or from ITP enterprises through the logistics nodes of city MFM clusters are possible. External suppliers and consumers of the third level interact with the city MFM and mega clusters through logistics nodes located within the metropolis. Considering the multi-level logistics links of city MFM clusters’ enterprises and the uncertainties in the supply chains, it is important to plan the production and internal transport capacity to synchronize and rhythmically supply and reduce the downtime and empty runs of the transport. This is the subject of the next section.
4. Materials and Methods
The conceptual principles of the SSC design are based on the selection and analysis of the critical aspects that have the biggest impact on the sustainable processes of city MFM clusters under uncertainty in supply chains. First, the design of the SSC for city MFM clusters must take into account the potential bottlenecks in the flow of materials indicating possible countermeasures. The second critical aspect of the SSC design is related to its sustainability, which is expressed through the reduction of carbon emissions, the greenhouse effect, and carbon taxes through the rational use of means of transport [51].
The development of the SSC performance model for city MFM clusters under uncertainty is based on the material flow analysis (MFA) method. The purpose of this analysis is to determine the conditions for rhythmic deliveries with the use of multi-IRTs and the optimal utilization of freight elevators in the MFM building of a city cluster [42].
Figure 2 shows the SSC of city MFM clusters comprising the following four process steps:
- Production (on-floor MFM building);
- Vertical transport (freight elevator in an MFM building);
- Consolidation and segregation (transfer and buffer zones in an MFM building);
- MFM cluster transport (between MFM buildings and an MFM node).
Further research should concern one of the above stages, e.g., freight elevator transport in an MFM building. The special process role of this stage results from its technological limitations, measured by elevator capacity, affecting the throughput of the entire city MFM cluster. Figure 3 shows the sustainable supply chain (SSC) processes of city MFM clusters.
Figure 3.
Sustainable supply chain (SSC) processes of city MFM clusters.
The throughput of the SSC for city MFM clusters is limited by the capacity of the freight elevators of cluster buildings, which are a bottleneck in the supply chain, as well as the need for the technological integration of transport system elements both inside the cluster (e.g., IRTs, freight elevators, multi-IRTs, and light trucks) and outside it (e.g., trucks, containers, freight wagons, and barges with multi-IRTs), taking into account the compatibility of the transported freight [27,30]. Obviously, it is much easier to increase the production performance by using more modern technological equipment and by increasing the throughput of trucks by increasing their number. It is much more difficult to increase the capacity and number of freight elevators with a limited area occupied by the building and the surrounding area [26].
The following section presents the SSC performance model for city MFM clusters under uncertainty, which is the basic research tool.
5. SSC Performance Model for City MFM Clusters under Uncertainty
A dedicated internal freight transport system is offered for city MFM clusters, which is a complex of logistics solutions that combines elements (e.g., IRTs, freight elevators, multi-IRTs, loading and unloading devices, trucks, and trams) in order to meet the requirements of sustainable development in the urban environment. The planning of the production performance of the enterprises of city MFM clusters [25] relates to the capacity planning of internal freight transport system elements and, above all, the capacity planning of the freight elevators defining the performance of manufacturing [27]. Below, a mathematical model describing the approaches to the capacity planning and synchronization of logistics processes within city MFM clusters is presented. The model allows for the quantitative matching of the key elements of a transport system (i.e., freight elevators, IRTs, and trucks) to an MFM cluster’s needs. As a result, system losses can be minimized and the negative impact of transport under uncertainty in supply chains can be reduced.
The capacity of freight elevators for a city MFM cluster can be found from the following expression [27]:
where is the capacity for a city MFM cluster, IRT/h; is the capacity of freight elevators for the i-th MFM building, IRT/h; is the capacity of freight elevators for each floor of the i-th MFM building, IRT/h; n is the number of MFM buildings in the cluster; Fi is the number of floors of the manufacturing part of the i-th MFM building; λE.i is the number of IRTs in the freight elevator in the i-th MFM building, pcs; is the number of freight elevators in the i-th MFM building, pcs; , is the coefficient of the capacity losses of freight elevator operation for the i-th MFM building; TR.i is the time of a round trip by the freight elevator for the i-th MFM building, h; fi is the inter-floor distance for the i-th MFM building, m; is the rate of speed of the freight elevator for the i-th MFM building, m/s; kC.i is the coefficient of operation time cycle losses for the freight elevators of the i-th MFM building; is the coefficient of the freight elevator occupancy rate; is the coefficient taking into account the average weekly downtime of freight elevators falling on their round trip time; is the IRT loading/unloading time for the i-th MFM building, s; is the single-floor trip time, representing the time of acceleration and deceleration for the i-th MFM building, s; is the door opening time for the i-th MFM building, s; is the door closing time for the i-th MFM building, s; is the time of the multi-IRT picking operations on the ground floor area for the i-th MFM building, s.
The performance for city MFM clusters can be determined with the following expression [27]:
where P is the performance for a city MFM cluster; is the performance for the i-th MFM building; is the performance for each floor of the i-th MFM building, IRTs/h; is the ratio of the freight elevators’ operating loss for the transportation of components for the operation, repair, and replacement of production equipment in the i-th MFM building; is the ratio of production waste generation in the i-th MFM building.
The average picking time for multi-IRTs on the ground floor area for the i-th MFM building of a cluster can be expressed by:
where is the average picking time for multi-IRTs on the ground floor area for the i-th MFM building of a cluster, h; is the number of the IRTs on a light truck for the handling of the i-th MFM building of a cluster, pcs (IRTs).
Under the real conditions of a city MFM operation, deviations from the average value of picking time for multi-IRTs are possible, which relates to differences in the time deliveries of freight to the floors of the building and to uncertainties in the supply chains. Therefore, there is a need to solve logistical problems arising in the operation of freight elevators, in order to ensure rhythmic deliveries, which is estimated by the following coefficients:
where is the coefficient of rhythmic deliveries for the j-th multi-IRTs by freight elevators of the i-th MFM building of a cluster; , , and are the average coefficients of the rhythmic deliveries of multi-IRTs by freight elevators for the i-th MFM building per week, month, and year, respectively; is the average picking time for multi-IRTs on the ground floor area for the i-th MFM building of a cluster, h; is the actual picking time for the j-th multi-IRTs on the ground floor area for the i-th MFM building of a cluster, h; w, m, and y are the number of multi-IRTs shipped by freight elevators for the i-th MFM building per week, month, and year, respectively.
The average values of the rhythmic delivery coefficients for the day, week, month, and year are used to evaluate the effectiveness of the supply chain management for each city MFM building of a cluster. The actual capacity of freight elevators per year for a city MFM cluster can be found from the following expression:
where is the actual capacity per year for a city MFM cluster, IRTs/h; is the actual capacity of freight elevators per year for the i-th MFM building, IRTs/h.
The coefficient of the rhythmic deliveries of IRTs by freight elevators can take the following values: , if only the lower floors of the MFM building are handled; , in other cases. In the first case, there is an overflow of the area for multi-IRT picking on the ground floor that makes it difficult to handle freight operations. In the second case, the downtime of light trucks and the overflow of their loading/unloading zone are possible. In this part, both cases of the rhythmic deliveries of IRTs by freight elevators of an MFM building are considered, with the full handling of each floor without an analysis of supply uncertainty. Full handling of a building floor includes the delivery of an IRT by the freight elevator from the ground floor and the shipment of the prepared IRT to the ground floor. In this case, it is important to fully load the freight elevator IRT in both directions of the transportation, while the number of IRTs in the freight elevator or the presence of freight in the transported IRTs or their occupancy do not matter. In other cases of loading the freight elevator with IRTs, floor handling is partial, which is typical for the conditions of uncertainty in supply chains.
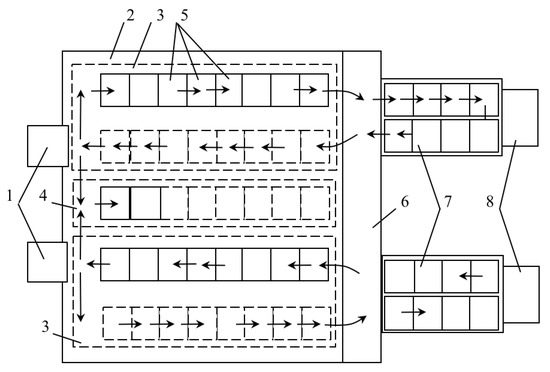
Figure 4 shows timing diagrams of freight elevator trips and multi-IRT picking times for the i-th MFM building of a cluster. Figure 4a shows charts of the complete sequential handling of the building floors by freight elevators, starting from the ground floor and ending with the last (i.e., 16th) floor of the i-th MFM building. Due to the different trip lengths of the freight elevators, the actual picking time for the multi-IRTs on the ground floor area for the i-th MFM building of a cluster are non-constant. It is obvious that for the actual picking time for the first to fourth multi-IRTs on the ground floor area, the following conditions are met: .

Figure 4.
Diagrams of the freight elevator trips and multiple intelligent reconfigurable trolleys (multi-IRTs) picking time for the i-th MFM building; , time; , average picking time for multi-IRTs on the ground floor area for the i-th MFM building of a cluster; and , upper and lower bounds of the multi-IRT picking time; , , , and , the picking time for the first to fourth multi-IRTs; NR, the number of round-trip cycles). (a) Sequential operation of freight elevators with a non-constant multi-IRT picking time; (b) flexible operation of freight elevators with a constant multi-IRT picking time; (c) sequential asymmetric operation of an even number of freight elevators with a constant multi-IRT picking time; multi-IRTs; (d) flexible operation of freight elevators with predetermined limits for changing the picking time of multi-IRTs; (e) mixed operation of freight elevators with a combined cycle configuration for multi-IRT picking.
The higher the number of floors of the production part of the building, the greater the difference in the values of picking time for the multi-IRTs and the greater the decrease in the rhythm of their shipment, which entails the complexity of the internal transport system operation of the cluster. Therefore, a flexible operation (Figure 4b) and the sequential asymmetric operation for an even number of freight elevators (Figure 4c) with a constant picking time for multi-IRTs are recommended.
The simplest solution to the problem of rhythmic supply with full handling of the building floor and the presence of an even number of several freight elevators is to use them for the arrhythmic handling of floors. For example, with one freight elevator handling the first floor, and currently the second handling the last floor of the building. With this asymmetrical operation of freight elevators, the average value of the actual multi-IRT picking time would be (or approximately equal to in the case of an odd number of production floors of a building).
The flexible operation of freight elevators with a constant multi-IRT picking time (Figure 4b) is preferred when it is not possible to implement the full handling of floors in a strictly established sequence. In such cases, it is necessary to find a combination of full handling of the building manufacturing floors that would provide a constant multi-IRT picking time. Under the real operation conditions of the MFM buildings of a cluster, it is not always possible to find such a combination of full handling of floors. Therefore, the flexible operation of freight elevators with predetermined limits for changing the multi-IRT picking time (Figure 4d) is recommended, which regulates the search for a suitable combination of full handling of the building floors within the time limits acceptable for the rhythmic operation of freight transport. The expansion of time limits for multi-IRT picking contributes to a decrease in the performance of a city MFM building due to a decrease in the capacity of freight elevators. Therefore, time limits for multi-IRT picking are set empirically and may vary slightly during the operation of a city MFM building depending on the production. If there are several freight elevators in said MFM building, it is possible to operate them in a mixed mode (Figure 4e), if this contributes to increasing the rhythm of deliveries.
The recommended modes of freight elevator operation contribute to improving the rhythm of the deliveries with full handling of building floors of city MFM clusters. In the situation of uncertainty in supply chains, the efficiency of freight elevator operation may be reduced due to its empty runs in cases of partial handling of the manufacturing floors of buildings. In the next part, the ways to improve the efficiency of the SSCM for city MFM clusters under uncertainty are considered.
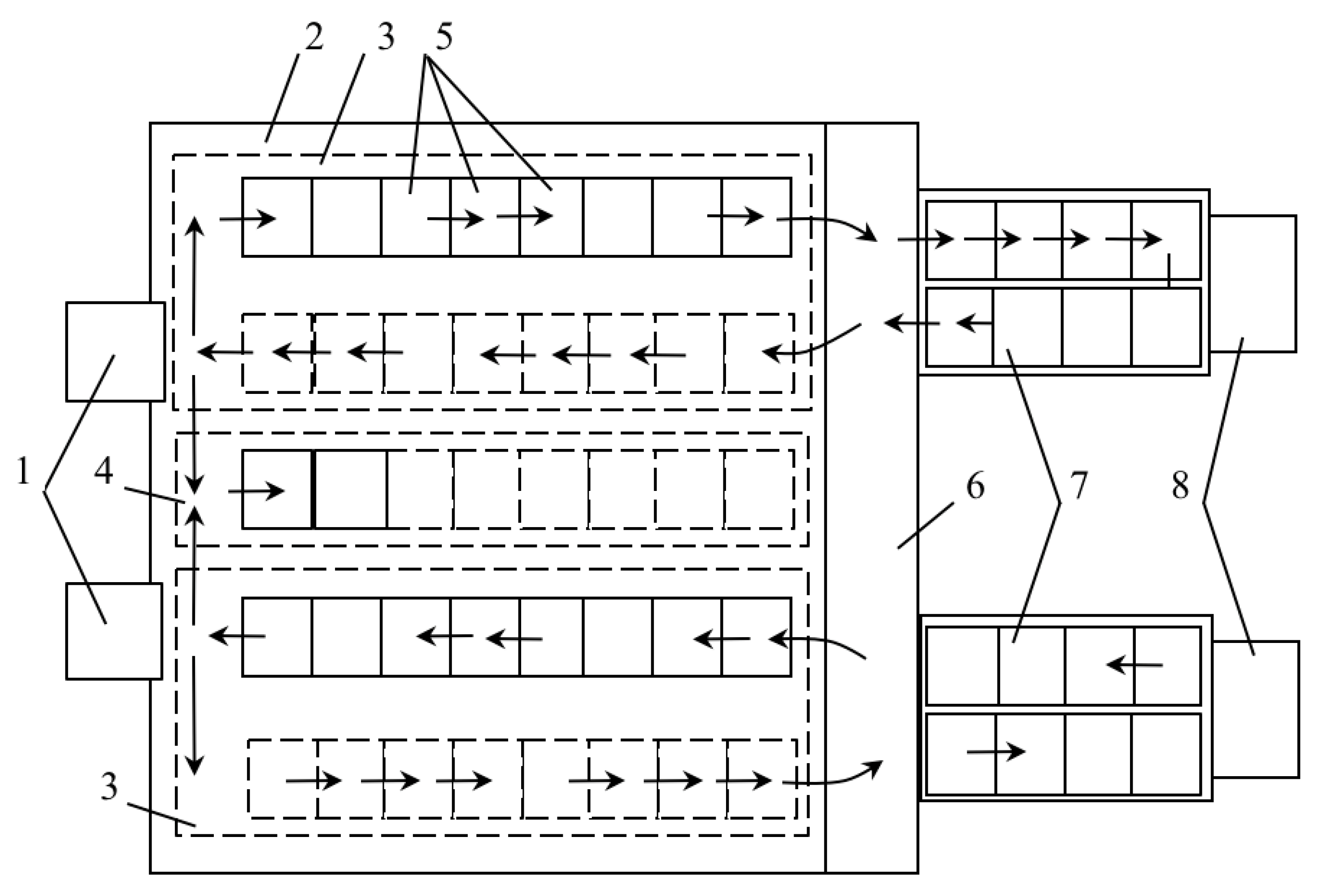
Figure 5 shows charts of the loading and unloading operations on the ground floor with two freight elevators of the i-th city MFM cluster’s building.
Figure 5.
Spatial plan of the loading and unloading operations on the ground floor with two freight elevators of the i-th city MFM cluster’s building: 1, Freight elevators; 2, ground floor area for multi-IRTs picking; 3, transfer zone of the ground floor area; 4, buffer zone of the ground floor area; 5, IRTs; 6, overpass; 7, multi-IRTs; 8, light trucks.
Two freight elevators (1) are adjacent to the ground floor area (2) of the building, which is divided into two transfer zones (3) and a buffer zone (4). In the transfer zones (3), the IRTs (5) and multi-IRTs (6) are delivered from freight elevators and light trucks (7) through an overpass (8). The direction of the IRT transfer is indicated by the arrows in Figure 5. During the loading and unloading operations in the transfer zones (3), the IRTs from the freight elevators are shipped to the buffer zone (4) in accordance with the plan for multi-IRT picking. When the buffer zone is filled to the size of a multi-IRT, it is shipped simultaneously with the arrival of the IRTs from a light truck in the free transfer zone in the direction of one of the freight elevators. In this case, the role of the buffer zone is performed by the free transfer zone of the specified freight elevator.
The area of the transfer and buffer zones determines the number of IRTs in the multi-IRTs and the capacity of light trucks. It is obvious that the number of the IRTs in the light truck for the handling of the i-th MFM building of a cluster is determined under the following conditions:
where λTZ.i and λBZ.i refer to the number of IRTs in the transfer and buffer zones, respectively, of the i-th MFM building of a cluster, pcs (IRTs).
A decrease in the utilization rate of freight elevators in the MFM buildings of a cluster in the face of uncertain supply is associated with their empty runs. To reduce the empty runs of freight elevators, it is recommended to use them in a quasi-full handling of the manufacturing floors of the building instead of their partial handling. Quasi-full handling of the manufacturing floors of the building by freight elevators is understood as handling in which the freight elevator is sent up or down to the ground floor of the building when fully loaded with IRTs, and only on the building floors are they handled partially. For example, a freight elevator fully loaded with IRTs is sent from the ground floor to any floor of the building and only unloaded there, then sent to another floor (or other floors) of the building, where it is fully loaded by other IRTs before being sent down to the original floor. It is obvious that such a freight elevator run is planned (strategic planning) by the operator of the logistics node of a city MFM cluster in order to pick multi-IRTs for their transportation, and is implemented by freight elevators and loading and unloading operators based on control commands received from transmitting devices of the IRTs.
The actual capacity of the freight elevators of the i-th MFM building of a cluster corresponds to the theoretical value obtained by Equation (2), with the value of the coefficient of the rhythmic deliveries equal to 1. Obviously, if all freight elevator deliveries of IRTs were carried out only in one direction, the actual capacity of the freight elevators of the i-th MFM building of the cluster would be reduced by two times compared to the theoretical value .
The following coefficients to estimate the capacity losses of freight elevator operation for the selected period (week, month, or year) during the quasi-full handling of the manufacturing floors of the MFM buildings of the cluster under supply uncertainty are recommended:
where , , and are the coefficients of the capacity losses of freight elevator operation for the i-th MFM building of the cluster per week, month, and year, respectively; , , and are the coefficients of the capacity losses of freight elevator operation for the city MFM cluster per week, month, and year, respectively; refers to the empty runs of freight elevators for round-trip cycles for the i-th MFM building of the cluster, h; NR refers to the number of round-trip cycles of the freight elevators for the i-th MFM building; w, m, and y refer to the number of round-trip cycles of the freight elevators for the i-th MFM building per week, month, and year, respectively.
In fact, the coefficients and obtained using different equations characterize the same SSC process and, therefore, their values are the same. The difference lies in the method of obtaining the source data for their calculation. Obviously, the one that is the most convenient for machine calculation can be used.
The freight elevators of the MFM buildings are a bottleneck in the supply chain. Therefore, the design of sustainable processes of city MFM clusters under uncertainty in supply chains is aimed at making the most of the freight elevators’ throughput. Minimizing the empty runs and downtime of freight transport in city MFM clusters reduces energy and fuel consumption, as well as harmful emissions and freight traffic.
To demonstrate the practical use of the presented model, the following section shows an example of calculating the parameters of rhythmic deliveries and the utilization of freight elevators.
6. Dimensions of Multi-IRT Rhythmic Deliveries and the Utilization Rate of Freight Elevators
Table 1 shows the initial data for calculating the parameters of SSC performance and the average multi-IRT picking time on the ground floor area for five- and ten-floor manufacturing buildings. The obtained parameters of the SSC make it possible to simulate the values of the coefficients and for various scenarios of the city MFM building handling by the freight elevators. Scenario 1 (Sc 1) involves 100% partial handling of all floors of the manufacturing building; Scenario 2 (Sc 2) involves 60% partial, 20% quasi-full, and 20% full handling of all floors of the manufacturing building; Scenario 3 (Sc 3) involves 40% partial, 40% quasi-full, and 20% full handling of all floors of the manufacturing building; Scenario 4 (Sc 4) involves 100% quasi-full handling of all floors of the manufacturing building; Scenario 5 (Sc 5) involves 20% partial, 40% quasi-full, and 40% full handling of all floors of the manufacturing building; Scenario 6 (Sc 6) involves 20% partial, 20% quasi-full, and 60% full handling of all floors of the manufacturing building; Scenario 7 (Sc 7) includes 100% full handling of all floors of the manufacturing building.
Table 1.
Parameters of sustainable supply chain (SSC) performance and average multi-IRT picking time.
The results obtained in the present study show the same parameter values for the five- and ten-floor manufacturing buildings. This means that the production performance of each floor of the five-floor manufacturing building can be twice as large as that of the ten-floor building. Thus, the production performance of each floor of the manufacturing building decreases with an increase in its number of floors.
Increasing the share of full and quasi-full handling in the total handling of the production floors contributes to the comparison of the coefficient and values, which allows us to increase the SSC performance and the production performance of the city MFM building of a cluster in direct proportions.
The discussion and conclusions of the results obtained herein are presented below with additional findings, limitations, and further future research recommendations.
7. Discussion
The identification and monitoring of IRTs (tracking, tracing, and placing) and the freight transported by them (e.g., their properties, quality data, measurement, and compatibility of transportation with other freight in multi-IRTs, as well as the need for sorting in logistics nodes) in real-time are crucial and generally essential for service-oriented SSCM [12,14,25,30,57,58,59,60,61,62]. Recording and transmitting devices in the IRT continuously inform all interested parties about the transported freight and their condition using ICT, including global (Internet) or local area networks. In fact, both the operator control during cargo handling operations and the control of freight elevators are carried out directly from IRT transmission devices. Such information can be recorded and stored using blockchain technology, which allows for the creation of common, secure, decentralized registers, autonomous digital contracts, and reliable and secure networks, as well as supporting transactions between partners [63,64,65,66]. The reliable replenishment and storage of complete information about a product throughout its life cycle is a key element of blockchain technology and an important aspect not only for SSCM, but also for the global sustainable development of society [55,64,67,68].
The sustainable development of city MFM clusters, producing essential goods for the population of a huge city, is important in the environmental, social, and economic aspects [40]. Within the framework of this concept, it is important to maintain the sustainable development of products for the population at the stage of supply to consumers, subject to the use of sustainable elements of the internal transport system of the cluster [27]. This approach requires criteria for identifying the best option for selecting multi-IRTs to effectively implement SSCM for a city MFM cluster under uncertainty.
One of the effective means of simplifying decision-making procedures for the picking of multi-IRTs is the specialization of production buildings of city MFM clusters in terms of the storage and transportation of goods, including production waste, that are compatible with storage conditions. Sorting production waste at the enterprises of a city MFM cluster leads to the presence of mixed IRT freight, which requires sorting them in the logistics node of the cluster. To reduce the cost of sorting freight in the logistics node of a cluster, it is also advisable to specialize city MFM buildings of the cluster by waste materials so that such sorting is performed in the transfer area of the building [21].
8. Conclusions
This study presented the concept of sustainable process design in city MFM clusters under uncertainty in supply chains. The role, place, and main innovative, information, distribution, and transport links of city MFM clusters within huge cities and their agglomerations were considered. The research included the main technological areas of city MFM clusters, namely, manufacturing buildings, MFM, information and transport systems, and the city logistics nodes. These important points and the links between them are covered by a supply chain management system adapted to the needs of huge cities that wish to maintain their production functions and, at the same time, to ensure the sustainability of the main and auxiliary manufacturing processes.
The proposed model of SSC performance for city MFM clusters is universal and takes into account the uncertainty of deliveries. The coefficients of rhythmic deliveries for multi-IRTs and the utilization of freight elevators allow us to periodically assess the sustainability processes in city MFM clusters related to the flow materials. These assessments are the basis for the decision-making and planning of SSC.
This study presented the problem of sustainable process design in city MFMs cluster under uncertainty in supply chains in terms of the smart control and planning of IRT flows, ensuring rhythmic deliveries and minimizing losses of the capacity of freight elevator and light truck operation. The main limitation of this study is that the presented calculation model did not cover the entire supply chain and referred to the bottleneck that is elevators in the MFM building. Additionally, several key issues were not adequately examined, such as issues of the compatibility of the transportation of various freight in multi-IRTs, including production waste. Post-production and other waste should be the topic of further research.
Author Contributions
Conceptualization, T.D. and A.D.; methodology T.D., A.D., and B.W.; software, T.D., A.D., B.W., and Z.J.; validation T.D., A.D., and B.W.; formal analysis T.D., A.D., B.W., and Z.J.; resources A.D.; data curation, T.D., A.D., and B.W.; writing—original draft preparation, T.D. and A.D.; writing—review and editing, T.D. and A.D.; visualization A.D.; supervision A.D. and T.D. All authors have read and agreed to the published version of the manuscript.
Funding
This research was funded by the Maritime University of Szczecin.
Conflicts of Interest
The authors declare no conflict of interest.
References
- Fujita, M.; Thisse, J.-F. Economics of Agglomeration: Cities, Industrial Localization, and Globalization, Cambridge, Massachusetts; Cambridge University Press (CUP): Cambridge, UK, 2002. [Google Scholar]
- Lorenzen, M.; Frederiksen, L.; Cooke, P.; Lazzeretti, L. Why do cultural industries cluster? Localization, urbanization, products and projects. In Creative Cities, Cultural Clusters and Local Economic Development; Cooke, P., Lazzeretti, L., Eds.; Edward Elgar Publishing: Cheltenham, UK, 2013; pp. 155–179. [Google Scholar]
- Westkämper, E. Towards the Re-Industrialization of Europe: A Concept for Manufacturing for 2030; Springer Science and Business Media LLC: Berlin, Germany, 2014. [Google Scholar]
- Chen, L.; Olhager, J.; Tang, O. Manufacturing facility location and sustainability: A literature review and research agenda. Int. J. Prod. Econ. 2014, 149, 154–163. [Google Scholar] [CrossRef]
- Huang, C.; Chen, J.-S.; Tsai, M.-R. The optimal location of elevator for the multi-floor manufacturing environment. J. Sci. Technol. 2011, 20, 63–71. [Google Scholar]
- Dzhuguryan, T.; Jóźwiak, Z. Improving the logistics of the multi-floor assembly manufacturing. Technol. Autom. Montaż. 2016, 2, 16–20. [Google Scholar]
- Joshi, S.; Bhargava, P. Waste Management Integration with Green Quality Function Deployment (G-QFD) for Healthcare Centre. Prod. Eng. Arch. 2019, 22, 45–49. [Google Scholar] [CrossRef]
- Management of Factory Estates, Hong Kong Housing Authority, Audit Commission Hong Kong. 22 March 2005. Available online: https://www.aud.gov.hk/pdf_e/e44ch04.pdf (accessed on 29 October 2019).
- Architekturbüro Deutschmann ZT GmbH. Company Website. Available online: http://www.architekt-deutschmann.at/ (accessed on 29 October 2019).
- Dzhuguryan, T.; Jóźwiak, Z. Infrastructure for Multi-Floor Virtual Enterprises System. Systemy Wspomagania w Inżynierii Produkcji 2016, 3, 70–78. [Google Scholar]
- Niaki, M.K.; Nonino, F. Additive manufacturing management: A review and future research agenda. Int. J. Prod. Res. 2016, 55, 1419–1439. [Google Scholar] [CrossRef]
- Dudek, T.; Dzhuguryan, T.; Lemke, J. Sustainable production network design for city multi-floor manufacturing cluster. Procedia Comput. Sci. 2019, 159, 2081–2090. [Google Scholar] [CrossRef]
- Kot, S.; Haque, A.U.; Kozlovski, E. Strategic SCM’s Mediating Effect on the Sustainable Operations: Multinational Perspective. Organizacija 2019, 52, 219–235. [Google Scholar] [CrossRef]
- Lisec, A.; Lisec, K.; Obrecht, M. Cost and Safety Aspects of Using Electric and Hybrid Vehicles in Local Food Supply Chain. Prod. Eng. Arch. 2019, 25, 35–38. [Google Scholar] [CrossRef]
- Dzhuguryan, T.; Jóźwiak, Z.; Deja, A.; Semenova, A. Infrastructure and Functions of a City Logistics Node for Multi-Floor Manufacturing Cluster. In Proceedings of the 8th International Scientific Conference CMDTUR 2018, Žilina, Slovakia, 4–5 October 2018; pp. 196–201. [Google Scholar]
- Bondonio, D.; Greenbaum, R.T. Do local tax incentives affect economic growth? What mean impacts miss in the analysis of enterprise zone policies. Reg. Sci. Urban Econ. 2007, 37, 121–136. [Google Scholar] [CrossRef]
- Sarkis, J.; Zhu, Q. Environmental sustainability and production: Taking the road less travelled. Int. J. Prod. Res. 2017, 56, 743–759. [Google Scholar] [CrossRef]
- Ingaldi, M.; Ulewicz, R. Problems with the Implementation of Industry 4.0 in Enterprises from the SME Sector. Sustainability 2020, 12, 217. [Google Scholar] [CrossRef]
- Schortman, E.M.; Urban, P.A. Modeling the Roles of Craft Production in Ancient Political Economies. J. Archaeol. Res. 2004, 12, 185–226. [Google Scholar] [CrossRef]
- Johnson, R.V. Spacecraft for Multi-Floor Layout Planning. Manag. Sci. 1982, 28, 407–417. [Google Scholar] [CrossRef]
- Kochhar, J.S. MULTI-HOPE: A tool for multiple floor layout problems. Int. J. Prod. Res. 1998, 36, 3421–3435. [Google Scholar] [CrossRef]
- Drira, A.; Pierreval, H.; Hajri-Gabouj, S. Facility layout problems: A survey. Annu. Rev. Control. 2007, 31, 255–267. [Google Scholar] [CrossRef]
- Khaksar-Haghani, F.; Kia, R.; Mahdavi, I.; Javadian, N.; Kazemi, M. Multi-floor layout design of cellular manufacturing systems. Int. J. Manag. Sci. Eng. Manag. 2011, 6, 356–365. [Google Scholar] [CrossRef]
- Ahmadi, A.; Pishvaee, M.S.; Jokar, M.R.A. A survey on multi-floor facility layout problems. Comput. Ind. Eng. 2017, 107, 158–170. [Google Scholar] [CrossRef]
- Dzhuguryan, T.; Jóźwiak, Z. Specific Approach to Assessment of Technologies for Multi-Floor Manufacturing System. Autobusy Tech. Eksploat. Syst. Transp. 2017, 6, 1656–1659. [Google Scholar]
- Dzhuguryan, T.; Jóźwiak, Z. Specific approach to select of freight elevators for multi-floor manufacturing. Autobusy Tech. Eksploat. Syst. Transp. 2018, 19, 1059–1062. [Google Scholar] [CrossRef][Green Version]
- Wisnicki, B.; Dzhuguryan, T. Integrated sustainable freight transport system for city multi-floor manufacturing clusters. Multidiscip. Asp. Prod. Eng. 2019, 2, 151–160. [Google Scholar] [CrossRef][Green Version]
- Fragapane, G.; Ivanov, D.; Peron, M.; Sgarbossa, F.; Strandhagen, J.O. Increasing flexibility and productivity in Industry 4.0 production networks with autonomous mobile robots and smart intralogistics. Ann. Oper. Res. 2020, 1–19. [Google Scholar] [CrossRef]
- Dzhuguryan, T.; Wiśnicki, B.; Dudek, T. Concept of Intelligent Reconfigurable Trolleys for City Multi-Floor Manufacturing and Logistics System. In Proceedings of the 8th Carpathian Logistics Congress (CLC2018), Prague, Czech Republic, 3–5 December 2018; pp. 254–259. [Google Scholar]
- Deja, A.; Dzhuguryan, T. Environmental Sustainable Waste Management for a City Multi-Floor Manufacturing Cluster. Syst. Saf. Hum. Tech. Facil. Environ. 2019, 1, 457–464. [Google Scholar] [CrossRef]
- Hauschild, M.; Dornfeld, D.A.; Hutchins, M.; Kara, S.; Jovane, F. Sustainable Manufacturing. CIRP Encycl. Prod. Eng. 2014, 1208–1214. [Google Scholar]
- Pagell, M.; Gobeli, D. How Plant Managers’ Experiences and Attitudes Toward Sustainability Relate to Operational Performance. Prod. Oper. Manag. 2009, 18, 278–299. [Google Scholar] [CrossRef]
- Ahmad, S.; Wong, K.Y.; Tseng, M.L.; Wong, W.P. Sustainable product design and development: A review of tools, applications and research prospects. Resour. Conserv. Recycl. 2018, 132, 49–61. [Google Scholar] [CrossRef]
- Cagno, E.; Neri, A.; Howard, M.; Brenna, G.; Trianni, A. Industrial sustainability performance measurement systems: A novel framework. J. Clean. Prod. 2019, 230, 1354–1375. [Google Scholar] [CrossRef]
- Abubakr, M.; Abbas, A.T.; Tomaz, I.; Soliman, M.S.; Luqman, M.; Hegab, H. Sustainable and Smart Manufacturing: An Integrated Approach. Sustainability 2020, 12, 2280. [Google Scholar] [CrossRef]
- Bhatt, Y.; Ghuman, K.; Dhir, A. Sustainable manufacturing. Bibliometrics and content analysis. J. Clean. Prod. 2020, 260, 120988. [Google Scholar] [CrossRef]
- Machado, C.G.; Winroth, M.P.; Da Silva, E.H.D.R. Sustainable manufacturing in Industry 4.0: An emerging research agenda. Int. J. Prod. Res. 2019, 58, 1462–1484. [Google Scholar] [CrossRef]
- Touzout, F.A.; Benyoucef, L. Multi-objective sustainable process plan generation in a reconfigurable manufacturing environment: Exact and adapted evolutionary approaches. Int. J. Prod. Res. 2018, 57, 2531–2547. [Google Scholar] [CrossRef]
- Veleva, V.; Ellenbecker, M. Indicators of sustainable production: Framework and methodology. J. Clean. Prod. 2001, 9, 519–549. [Google Scholar] [CrossRef]
- Qureshi, M.I.; Rasiah, R.; Al-Ghazali, B.M.; Haider, M.; Jambari, H.; Iswan; Sasmoko. Modeling Work Practices under Socio-Technical Systems for Sustainable Manufacturing Performance. Sustainability 2019, 11, 4294. [Google Scholar] [CrossRef]
- Saeed, M.A.; Kersten, W. Supply chain sustainability performance indicators—A content analysis based on published standards and guidelines. Logist. Res. 2017, 12, 1–19. [Google Scholar] [CrossRef]
- Ahmad, S.; Wong, K.Y.; Zaman, B. A Comprehensive and Integrated Stochastic-Fuzzy Method for Sustainability Assessment in the Malaysian Food Manufacturing Industry. Sustainability 2019, 11, 948. [Google Scholar] [CrossRef]
- Jayal, A.; Badurdeen, F.; Dillon, O.; Jawahir, I. Sustainable manufacturing: Modeling and optimization challenges at the product, process and system levels. CIRP J. Manuf. Sci. Technol. 2010, 2, 144–152. [Google Scholar] [CrossRef]
- Taticchi, P.; Tonelli, F.; Pasqualino, R. Performance measurement of sustainable supply chains: A literature review and a research agenda. Int. J. Prod. Perform. Manag. 2013, 62, 782–804. [Google Scholar] [CrossRef]
- Murray, A.; Skene, K.R.; Haynes, K. The Circular Economy: An Interdisciplinary Exploration of the Concept and Application in a Global Context. J. Bus. Ethics 2015, 140, 369–380. [Google Scholar] [CrossRef]
- Sendra, C.; Gabarrell, X.; Vicent, T. Material flow analysis adapted to an industrial area. J. Clean. Prod. 2007, 15, 1706–1715. [Google Scholar] [CrossRef]
- Garg, K.; Kannan, D.; Diabat, A.; Jha, P. A multi-criteria optimization approach to manage environmental issues in closed loop supply chain network design. J. Clean. Prod. 2015, 100, 297–314. [Google Scholar] [CrossRef]
- Banasik, A.; Bloemhof-Ruwaard, J.M.; Kanellopoulos, A.; Claassen, G.D.H.; Van Der Vorst, J.G.A.J. Multi-criteria decision making approaches for green supply chains: A review. Flex. Serv. Manuf. J. 2016, 30, 366–396. [Google Scholar] [CrossRef]
- Kim, K.; Jeong, B.; Jung, H. Supply chain surplus: Comparing conventional and sustainable supply chains. Flex. Serv. Manuf. J. 2012, 26, 5–23. [Google Scholar] [CrossRef]
- Sánchez-Flores, R.B.; Cruz-Sotelo, S.E.; Ojeda-Benitez, S.; Ramírez-Barreto, M.E. Sustainable Supply Chain Management—A Literature Review on Emerging Economies. Sustainability 2020, 12, 6972. [Google Scholar] [CrossRef]
- Saeed, M.A.; Kersten, W. Drivers of Sustainable Supply Chain Management: Identification and Classification. Sustainability 2019, 11, 1137. [Google Scholar] [CrossRef]
- Mangla, S.K.; Kusi-Sarpong, S.; Luthra, S.; Bai, C.; Jakhar, S.K.; Khan, S.A. Operational excellence for improving sustainable supply chain performance. Resour. Conserv. Recycl. 2020, 162, 105025. [Google Scholar] [CrossRef]
- Rodrigues, V.S.; Stantchev, D.; Potter, A.; Naim, M.; Whiteing, A. Establishing a transport operation focused uncertainty model for the supply chain. Int. J. Phys. Distrib. Logist. Manag. 2008, 38, 388–411. [Google Scholar] [CrossRef]
- Herrmann, C.; Schmidt, C.; Kurle, D.; Blume, S.; Thiede, S. Sustainability in manufacturing and factories of the future. Int. J. Precis. Eng. Manuf. Technol. 2014, 1, 283–292. [Google Scholar] [CrossRef]
- Carter, C.R.; Rogers, D.S. A framework of sustainable supply chain management: Moving toward new theory. Int. J. Phys. Distrib. Logist. Manag. 2008, 38, 360–387. [Google Scholar] [CrossRef]
- Grebski, M.; Grebski, W. Project-based Approach to Engineering Technology Education. Prod. Eng. Arch. 2019, 25, 56–59. [Google Scholar] [CrossRef]
- Łapko, A.; Strulak-Wójcikiewicz, R.; Landowski, M.; Wieczorek, R. Management of Waste Collection from Yachts and Tall Ships from the Perspective of Sustainable Water Tourism. Sustainability 2018, 11, 121. [Google Scholar] [CrossRef]
- Deja, A.; Strulak-Wójcikiewicz, R.; Kaup, M. Management of Ship-Generated Waste Reception at the Port of Szczecin as a Key Component in the Reverse Logistics Chain. In Proceedings of the 6th International Conference on Sustainable Design and Manufacturing KES-SDM 2019, Budapest, Hungary, 4–5 July 2019. [Google Scholar]
- Ball, P.; Huatuco, L.; Howlett, R.; Setchi, R. (Eds.) Smart Innovation, Systems and Technologies; Springer: Singapore, 2019; Volume 155. [Google Scholar] [CrossRef]
- Da Xu, L. Information architecture for supply chain quality management. Int. J. Prod. Res. 2011, 49, 183–198. [Google Scholar] [CrossRef]
- De Oliveira, M.P.V.; Handfield, R.B. Analytical foundations for development of real-time supply chain capabilities. Int. J. Prod. Res. 2018, 57, 1571–1589. [Google Scholar] [CrossRef]
- Liu, S.; Zhang, Y.; Liu, Y.; Wang, L.; Wang, X.V. An ‘Internet of Things’ enabled dynamic optimization method for smart vehicles and logistics tasks. J. Clean. Prod. 2019, 215, 806–820. [Google Scholar] [CrossRef]
- Abeyratne, S.A.; Monfared, R.P. Blockchain Ready Manufacturing Supply Chain Using Distributed Ledger. Int. J. Res. Eng. Technol. 2016, 5, 1–10. [Google Scholar]
- Kshetri, N. 1 Blockchain’s roles in meeting key supply chain management objectives. Int. J. Inf. Manag. 2018, 39, 80–89. [Google Scholar] [CrossRef]
- Saberi, S.; Kouhizadeh, M.; Sarkis, J.; Shen, L. Blockchain technology and its relationships to sustainable supply chain management. Int. J. Prod. Res. 2019, 57, 2117–2135. [Google Scholar] [CrossRef]
- Afonasova, M.A.; Panfilova, E.E.; Galichkina, M.A.; Ślusarczyk, B. Digitalization in economy and innovation: The effect on social and economic processes. Pol. J. Manag. Stud. 2019, 19, 22–32. [Google Scholar] [CrossRef]
- Dolgui, A.; Ivanov, D.; Potryasaev, S.; Sokolov, B.; Ivanova, M.; Werner, F. Blockchain-oriented dynamic modelling of smart contract design and execution in the supply chain. Int. J. Prod. Res. 2019, 58, 2184–2199. [Google Scholar] [CrossRef]
- Ulewicz, R.; Blaskova, M. Sustainable development and knowledge management from the stakeholders’ point of view. Pol. J. Manag. Stud. 2019, 18, 363–374. [Google Scholar] [CrossRef]
Publisher’s Note: MDPI stays neutral with regard to jurisdictional claims in published maps and institutional affiliations. |
© 2020 by the authors. Licensee MDPI, Basel, Switzerland. This article is an open access article distributed under the terms and conditions of the Creative Commons Attribution (CC BY) license (http://creativecommons.org/licenses/by/4.0/).





