Evolution of Waste Cooking Oil Collection in an Area with Long-Standing Waste Management Problems
Abstract
1. Introduction
2. Materials and Methods
2.1. The Area under Study
2.2. The WCO Collection System under Study
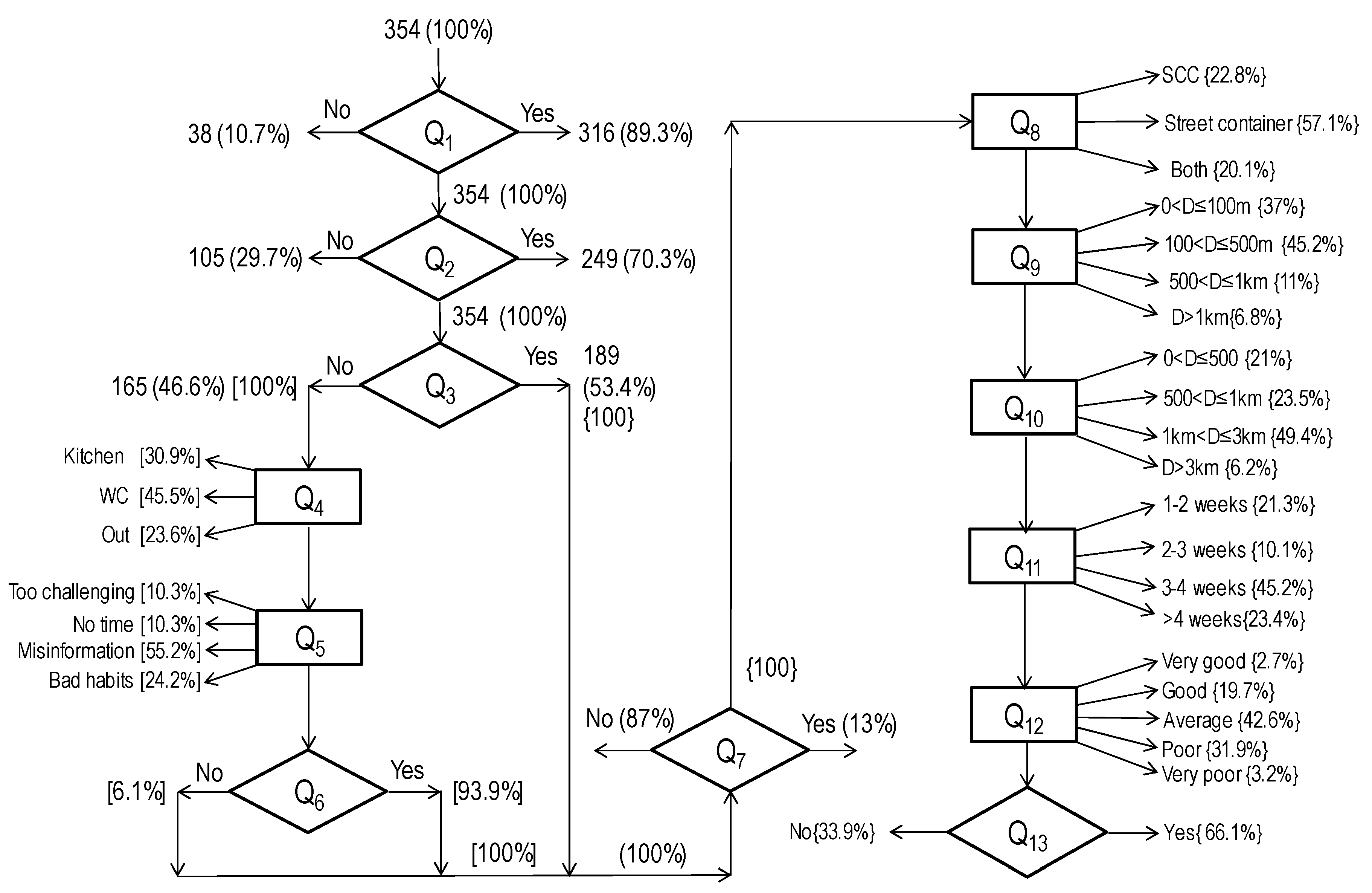
2.3. The Questionnaire
2.4. The Sample
2.5. The Data Analysis
3. Results and Discussion
3.1. WCO Collection Efficiency in 2015 and Citizens’ Perception
3.1.1. The General Results Obtained for the Whole Sample
3.1.2. The Results Obtained for the Single Keys
3.2. WCO Collection Efficiency from 2016 to 2019
4. Conclusions
Author Contributions
Funding
Conflicts of Interest
References
- Iglesias, L.; Laca, A.; Herrero, M.; Díaz, M. A life cycle assessment comparison between centralized and decentralized biodiesel production from raw sunflower oil and waste cooking oils. J. Clean. Prod. 2012, 37, 162–171. [Google Scholar] [CrossRef]
- Zhang, H.; Wang, Q.; Mortimer, S.R. Waste cooking oil as an energy resource: Review of Chinese policies. Renew. Sustain. Energ. Rev. 2012, 16, 5225–5231. [Google Scholar] [CrossRef]
- Ortner, M.E.; Müller, W.; Schneider, I.; Bockreis, A. Environmental assessment of three different utilization paths of waste cooking oil from households. Resour. Conserv. Recycl. 2016, 106, 59–67. [Google Scholar] [CrossRef]
- Ramos, T.R.P.; Gomes, M.I.; Barbosa-Póvoa, A.P. Planning waste cooking oil collection systems. Waste Manag. 2013, 33, 1691–1703. [Google Scholar] [CrossRef] [PubMed]
- Da Silva Filho, S.C.; Miranda, A.C.; Silva, T.A.F.; Calarge, F.A.; De Souza, R.R.; Santana, J.C.C.; Tambourgi, E.B. Environmental and techno-economic considerations on biodiesel production from waste frying oil in Sao Paulo city. J. Clean. Prod. 2018, 183, 1034–1042. [Google Scholar] [CrossRef]
- Razack, S.A.; Duraiarasan, S. Response surface methodology assisted biodiesel production from waste cooking oil using encapsulated mixed enzyme. Waste Manag. 2016, 47, 98–104. [Google Scholar] [CrossRef]
- Singhabhandhu, A.; Tezuka, T. The waste-to-energy framework for integrated multi-waste utilization: Waste cooking oil, waste lubricating oil, and waste plastics. Energy 2010, 35, 2544–2551. [Google Scholar] [CrossRef]
- Zhang, W.; Ji, H.; Song, Y.; Ma, S.; Xiong, W.; Chen, C.; Chen, B.; Zhang, X. Green preparation of branched biolubricant by chemically modifying waste cooking oil with lipase and ionic liquid. J. Clean. Prod. 2020, 274, 122918. [Google Scholar] [CrossRef]
- Goh, B.H.H.; Chong, C.T.; Ge, Y.; Ong, H.C.; Ng, J.H.; Tian, B.; Ashokkumar, V.; Lim, S.; Seljak, T.; Józsa, V. Progress in utilisation of waste cooking oil for sustainable biodiesel and biojet fuel production. Energy Convers. Manag. 2020, 223, 113296. [Google Scholar] [CrossRef]
- Zhang, H.; Ozturk, U.A.; Zhou, D.; Qiu, Y.; Wu, Q. How to increase the recovery rate for waste cooking oil-to-biofuel conversion: A comparison of recycling modes in China and Japan. Ecol. Indic. 2015, 51, 146–150. [Google Scholar] [CrossRef]
- Lin, Y.C.; Amesho, K.T.T.; Chen, C.E.; Cheng, P.C.; Chou, F.C. A cleaner process for green biodiesel synthesis from waste cooking oil using recycled waste oyster shells as a sustainable base heterogeneous catalyst under the microwave heating system. Sustain. Chem. Pharm. 2020, 17, 100310. [Google Scholar] [CrossRef]
- Mannu, A.; Ferro, M.; Dugoni, G.C.; Panzeri, W.; Petretto, G.L.; Urgeghe, P.; Mele, A. Improving the recycling technology of waste cooking oils: Chemical fingerprint as tool for non-biodiesel application. Waste Manag. 2019, 96, 1–8. [Google Scholar] [CrossRef] [PubMed]
- Nanda, S.; Rana, R.; Hunter, H.R.; Fang, Z.; Dalai, A.K.; Kozinski, J.A. Hydrothermal catalytic processing of waste cooking oil for hydrogen-rich syngas production. Chem. Eng. Sci. 2019, 195, 935–945. [Google Scholar] [CrossRef]
- Barbera, E.; Naurzaliyev, R.; Asiedu, A.; Bertucco, A.; Resurreccion, S.K. Techno-economic analysis and life-cycle assessment of jet fuels production from waste cooking oil via in situ catalytic transfer hydrogenation. Renew. Energ. 2020, 160, 428–449. [Google Scholar] [CrossRef]
- Gökalp, I.; Uz, V.E. Utilizing of Waste Vegetable Cooking Oil in bitumen: Zero tolerance aging approach. Constr. Build. Mater. 2019, 227, 116695. [Google Scholar] [CrossRef]
- Uz, V.E.; Gökalp, I. Sustainable recovery of waste vegetable cooking oil and aged bitumen: Optimized modification for short and long term aging cases. Waste Manag. 2020, 110, 1–9. [Google Scholar] [CrossRef]
- Xingyu, Y.; Ruikun, D.; Naipeng, T. Development of a novel binder rejuvenator composed by waste cooking oil and crumb tire rubber. Constr. Build. Mater. 2020, 236, 117621. [Google Scholar] [CrossRef]
- Zahoor, M.; Nizamuddin, S.; Madapusi, S.; Giustozzi, F. Sustainable asphalt rejuvenation using waste cooking oil: A comprehensive review. J. Clean. Prod. 2021, 278, 123304. [Google Scholar] [CrossRef]
- Yaakob, Z.; Mohammad, M.; Alherbawi, M.; Alam, Z.; Sopian, K. Overview of the production of biodiesel from Waste cooking oil. Renew. Sustain. Energy Rev. 2013, 18, 184–193. [Google Scholar] [CrossRef]
- Yacob, M.R.; Kabir, I.; Radam, A. Households willingness to accept collection and recycling of waste cooking oil for biodiesel input in Petaling District, Selangor, Malaysia. Procedia Environ. Sci. 2015, 30, 332–337. [Google Scholar] [CrossRef]
- Liu, T.; Liu, Y.; Wu, S.; Xue, J.; Wu, Y.; Li, Y.; Kang, X. Restaurants’ behaviour, awareness, and willingness to submit waste cooking oil for biofuel production in Beijing. J. Clean. Prod. 2018, 204, 636–642. [Google Scholar] [CrossRef]
- Cho, S.; Kim, J.; Park, H.-C.; Heo, E. Incentives for waste cooking oil collection in South Korea: A contingent valuation approach. Resour. Conserv. Recycl. 2015, 99, 63–71. [Google Scholar] [CrossRef]
- De Feo, G.; De Gisi, S.; Williams, I.D. Public perception of odour and environmental pollution attributed to MSW treatment and disposal facilities: A case study. Waste Manag. 2013, 33, 974–987. [Google Scholar] [CrossRef]
- Montuori, P.; Triassi, M. Polycyclic aromatic hydrocarbons loads into the Mediterranean Sea: Estimate of Sarno River inputs. Mar. Pollut. Bull. 2012, 64, 512–520. [Google Scholar] [CrossRef]
- De Feo, G.; Williams, I.D. Siting landfills and incinerators in areas of historic unpopularity: Surveying the views of the next generation. Waste Manag. 2013, 33, 2798–2810. [Google Scholar] [CrossRef]
- Sharp, V.F. Statistics for the Social Sciences; Little, Brown & Company: Toronto, ON, CA, 1979. [Google Scholar]
- Song, Q.; Wang, Z.; Li, J. Residents’ behaviors, attitudes, and willingness to pay for recycling e-waste in Macau. J. Environ. Manag. 2012, 106, 8–16. [Google Scholar] [CrossRef] [PubMed]
- Yin, J.; Gao, Y.; Xu, H. Survey and analysis of consumers’ behaviour of waste mobile phone recycling in China. J. Clean. Prod. 2014, 65, 517–525. [Google Scholar] [CrossRef]
- Echergaray, F.; Hanssteinet, F.V. Assessing the intention-behavior gap in electronic waste recycling: The case of Brazil. J. Clean. Prod. 2017, 142, 180–190. [Google Scholar] [CrossRef]
- Lang, L.; Wang, Y.; Chen, X.; Zhang, Z.; Yang, N.; Xue, B.; Han, W. Awareness of food waste recycling in restaurants: Evidence from China. Resour. Conserv. Recycl. 2020, 161, 104949. [Google Scholar] [CrossRef]
- De Feo, G.; De Gisi, S. Public opinion and awareness towards MSW and separate collection programmes: A sociological procedure for selecting areas and citizens with a low level of knowledge. Waste Manag. 2010, 30, 958–976. [Google Scholar] [CrossRef]
- De Feo, G.; Polito, A.R. Using economic benefits for recycling in a separate collection centre managed as a “reverse supermarket”: A sociological survey. Waste Manag. 2015, 38, 12–21. [Google Scholar] [CrossRef] [PubMed]
- Wang, S.; Wang, J.; Yang, S.; Li, J.; Zhou, K. From intention to behavior: Comprehending residents’ waste sorting intention and behavior formation process. Waste Manag. 2020, 38, 41–50. [Google Scholar] [CrossRef] [PubMed]
- Dwivedy, M.; Mittal, R.K. Willingness of residents to participate in e-waste recycling in India. Environ. Dev. 2013, 6, 48–68. [Google Scholar] [CrossRef]
- Chi, X.; Wang, M.J.L.; Reuter, M.A. E-waste collection channels and household recycling behaviors in Taizhou of China. J. Clean. Prod. 2014, 80, 87–95. [Google Scholar] [CrossRef]
- Mattsson, C.H.; Berg, P.E.O.; Clarkson, P.A. The development of systems for property close collection of recyclables: Experiences from Sweden. Resour. Conserv. Recycl. 2003, 38, 39–57. [Google Scholar] [CrossRef]
- Agovino, M.; D’Uva, M.; Garofalo, A.; Marchesano, K. Waste management performance in Italian provinces: Efficiency and spatial effects of local governments and citizen action. Ecol. Indic. 2018, 89, 680–695. [Google Scholar] [CrossRef]
- De Feo, G.; De Gisi, S. Domestic Separation and Collection of Municipal Solid Waste: Opinion and Awareness of Citizens and Workers. Sustainability 2010, 2, 1297–1326. [Google Scholar] [CrossRef]






| No. | Question | Answers |
|---|---|---|
| Age | - | |
| Sex | Male; female. | |
| What is your occupation? | Student; housewife; office worker; worker; trader; teacher; professional; retired; unemployed; other. | |
| What is your level of education? | Nothing; first level (primary); second level (secondary); third level (high); fourth level (degree); other. | |
| Q1 | Do you know what waste cooking oil is? | Yes; No (briefly explain the meaning). |
| Q2 | Do you know that waste cooking oil is collected in your town? | Yes; No. |
| Q3 | Do you collect waste cooking oil? | Yes; No. |
| Q4 | If he/she answered ‘No’ to Q2 and Q3 If you do not collect waste cooking oil, how do you dispose of it? | In the kitchen; in the toilet; out of home. |
| Q5 | If he/she answered ‘No’ to Q3 Why you do not collect waste cooking oil? | It is too challenging; I have no time; other. |
| Q6 | If he/she answered ‘No’ to Q3 Do you know that not collecting waste cooking oil seriously damages the environment? | Yes; No. |
| Q7 | Do you know that there has been an informative campaign in your town about waste cooking oil? | Yes; No. |
| Q8 | If he/she answered ‘Yes’ to Q3 Where do you deliver your waste cooking oil? | Separate Collection Centre; street bins; both. |
| Q9 | If he/she answered ‘street bins’ or ‘both’ to Q8 How far is the nearest bin from your house? | - |
| Q10 | If he/she answered ‘Separate Collection Center’ or ‘both’ to Q8 How far is the Separate Collection Center from your house? | - |
| Q11 | How often do you deliver waste cooking oil? | - |
| Q12 | How do you evaluate the quality of the waste cooking oils collection system? | Very good; good; average; poor; very poor. |
| Q13 | Are you the only one who collects waste cooking oil at your home? | Yes; No. |
| Age Groups | Men | Women | Difference (%) | |||
|---|---|---|---|---|---|---|
| Population (A) | Sample (B) | Population (C) | Sample (D) | Men [(B) − (A)/(A)] × 100 | Women [(D) − (C)/(C)] × 100 | |
| 16-30 | 50.9 | 44.2 | 49.1 | 55.8 | −13.2 | 13.6 |
| 31-60 | 49.0 | 44.8 | 51.0 | 55.2 | −8.6 | 8.2 |
| 61-87 | 45.2 | 54.0 | 54.8 | 46.0 | 19.5 | −16.1 |
| Total | 48.6 | 46.0 | 51.4 | 54.0 | −5.3 | 5.1 |
| Age Groups | Men | Women | Total | Difference (%) | |||||
|---|---|---|---|---|---|---|---|---|---|
| Population | Sample | Population | Sample | Population | Sample | Men | Women | Total | |
| 16–30 | 25.1 | 14.1 | 22.9 | 15.2 | 24.0 | 14.7 | −43.8 | −33.6 | −38.8 |
| 31–60 | 53.2 | 69.3 | 52.2 | 72.8 | 52.7 | 71.2 | 30.3 | 39.5 | 35.1 |
| 61–87 | 21.8 | 16.6 | 24.9 | 12.0 | 23.3 | 14.1 | −23.9 | −51.8 | −39.7 |
| Tot. | 100.0 | 100.0 | 100.0 | 100.0 | 100.0 | 100.0 | - | - | - |
| Key | 1 | 2 | 3 | 4 | 5 | 6 | 7 | 8 | 9 | 10 | 11 | 12 | 13 |
|---|---|---|---|---|---|---|---|---|---|---|---|---|---|
| Age | 0.921 | 0.322 | 0.775 | 0.154 | 0.526 | 0.844 | 0.124 | 0.106 | 0.140 | 0.328 | 0.540 | 0.053 | 0.001 1 |
| Sex | 0.862 | 0.001 1 | 0.086 | 0.166 | 0.034 1 | 0.553 | 0.313 | 0.113 | 0.491 | 0.120 | 0.654 | 0.583 | 5.1 × 10−9 1 |
| Occupation | 0.157 | 0.219 | 0.318 | 0.407 | 0.137 | 0.999 | 0.890 | 0.170 | 0.509 | 0.268 | 0.716 | 0.221 | 7.3 × 10−29 1 |
| Education | 0.029 1 | 0.317 | 0.003 1 | 0.314 | 0.153 | 0.039 1 | 0.829 | 0.059 | 0.550 | 0.864 | 0.621 | 0.839 | 0.193 |
| Average | 0.492 | 0.215 | 0.295 | 0.260 | 0.212 | 0.609 | 0.539 | 0.112 | 0.422 | 0.395 | 0.633 | 0.424 | 0.048 |
| Significance frequency | 1 | 1 | 1 | 0 | 1 | 1 | 0 | 0 | 0 | 0 | 0 | 0 | 3 |
| Significance percentage | 25.0 | 25.0 | 25.0 | 0.0 | 25.0 | 25.0 | 0.0 | 0.0 | 0.0 | 0.0 | 0.0 | 0.0 | 75.0 |
Publisher’s Note: MDPI stays neutral with regard to jurisdictional claims in published maps and institutional affiliations. |
© 2020 by the authors. Licensee MDPI, Basel, Switzerland. This article is an open access article distributed under the terms and conditions of the Creative Commons Attribution (CC BY) license (http://creativecommons.org/licenses/by/4.0/).
Share and Cite
De Feo, G.; Di Domenico, A.; Ferrara, C.; Abate, S.; Sesti Osseo, L. Evolution of Waste Cooking Oil Collection in an Area with Long-Standing Waste Management Problems. Sustainability 2020, 12, 8578. https://doi.org/10.3390/su12208578
De Feo G, Di Domenico A, Ferrara C, Abate S, Sesti Osseo L. Evolution of Waste Cooking Oil Collection in an Area with Long-Standing Waste Management Problems. Sustainability. 2020; 12(20):8578. https://doi.org/10.3390/su12208578
Chicago/Turabian StyleDe Feo, Giovanni, Aurelio Di Domenico, Carmen Ferrara, Salvatore Abate, and Libero Sesti Osseo. 2020. "Evolution of Waste Cooking Oil Collection in an Area with Long-Standing Waste Management Problems" Sustainability 12, no. 20: 8578. https://doi.org/10.3390/su12208578
APA StyleDe Feo, G., Di Domenico, A., Ferrara, C., Abate, S., & Sesti Osseo, L. (2020). Evolution of Waste Cooking Oil Collection in an Area with Long-Standing Waste Management Problems. Sustainability, 12(20), 8578. https://doi.org/10.3390/su12208578

