Sustaining Small Exporters’ Performance: Capturing Heterogeneous Effects of Government Export Assistance Programs on Global Value Chain Informedness
Abstract
1. Introduction
2. Theoretical Background and Research Framework
3. Literature Review and Hypothesis Development
3.1. Government EPPs
3.2. Firm Informedness from Global Value Chain Perspective
Informed firms know about the resources and competencies of other firms as well, and may wish to engage them in co-production networks through alliances and strategic partnerships. An informed firm will also know about its value centrality in co-production, and about the value-adding capabilities of its business network partners.—Kauffman et al. [20] (p. 3)
3.2.1. The Impact of EPP Adoption on Value Chain Informedness of SMEs
3.3. Export Performance
3.3.1. The Impact of EPP Adoption on the Sustainable Export Performance of SMEs
3.3.2. The Impact of Value Chain Informedness on Sustainable Export Performance of SMEs
4. Research Methods
4.1. Partial Least-Squares Structural Equation Modelling with an Importance and Performance Analysis Matrix (IPA Matrix) Analysis
5. Empirical Testing and Results
5.1. Data Collection and Demographic Profiles of Respondent Firms
5.2. Common Method Bias and Non-Response Bias Testing
5.3. Measurement Model Analysis
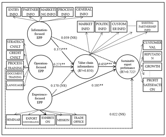
5.4. Structural Model Analysis (Hypotheses Testing)
5.5. IPA Matrix Analysis
6. Conclusions and Discussion
6.1. Empirical Findings
6.2. Discussion
6.2.1. Conclusions and Theoretical Implications
6.2.2. Practical Implication
6.3. Limitation
Author Contributions
Funding
Conflicts of Interest
Appendix A. Factor Loadings (Number of Observations = 156)
| INFEP | OPFEP | EXPEP | VCINFD | SUSEXF | |
| ENTRY INFO | 0.879 | ||||
| PARTNER INFO | 0.862 | ||||
| MARKETING INFO | 0.832 | ||||
| PROCESS INFOR | 0.794 | ||||
| GENERAL INFO | 0.758 | ||||
| STRATEGY CNSLT | 0.787 | ||||
| CREDIT CNSLT | 0.833 | ||||
| PROCESS TRAINING | 0.775 | ||||
| DOCUMENT TRAINING | 0.850 | ||||
| LANGUAGE | 0.744 | ||||
| SEMINAR | 0.768 | ||||
| EXPORT COUNSELLING | 0.809 | ||||
| EXHIBITION | 0.824 | ||||
| MISSION | 0.880 | ||||
| TRADE OFFICE | 0.877 | ||||
| MARKET INFD | 0.650 | ||||
| POLITIC INFD | 0.827 | ||||
| CUSTOMER INFD | 0.831 | ||||
| COMPETITOR INFD | 0.606 | ||||
| PROCESS INFD | 0.714 | ||||
| LOGISTICS INFD | 0.704 | ||||
| POTENTIAL PARTNERSHIP INFD | 0.691 | ||||
| EXISTING PARTNERSHIP INFD | 0.726 | ||||
| CUSTOMER VAL | 0.747 | ||||
| REPUTATION | 0.764 | ||||
| GROWTH | 0.767 | ||||
| DIVERSIFICATION | 0.697 | ||||
| EXPORT SALES | 0.490 | ||||
| MARKET SHARE | 0.675 | ||||
| ENTRY SATISFACTION | 0.768 | ||||
| PROFIT SATISFACTION | 0.754 |
Appendix B. Cross Loadings (Number of Observations = 156)
| INFEP | OPFEP | EXPEP | VCINFD | SUSEXF | |
| ENTRY INFO | 0.879 | 0.721 | 0.647 | 0.622 | 0.606 |
| PARTNER INFO | 0.862 | 0.748 | 0.717 | 0.605 | 0.579 |
| MARKETING INFO | 0.832 | 0.703 | 0.641 | 0.658 | 0.642 |
| PROCESS INFO | 0.794 | 0.651 | 0.591 | 0.627 | 0.587 |
| GENERAL INFO | 0.758 | 0.685 | 0.632 | 0.500 | 0.443 |
| STRATEGY CNSLT | 0.683 | 0.787 | 0.610 | 0.594 | 0.562 |
| CREDIT CNSLT | 0.743 | 0.833 | 0.668 | 0.629 | 0.583 |
| PROCESS TRAINING | 0.638 | 0.775 | 0.674 | 0.579 | 0.566 |
| DOCUMENT TRAINING | 0.701 | 0.850 | 0.761 | 0.608 | 0.628 |
| LANGUAGE | 0.615 | 0.744 | 0.711 | 0.498 | 0.462 |
| SEMINAR | 0.650 | 0.676 | 0.768 | 0.521 | 0.551 |
| EXPORT COUNSELLING | 0.594 | 0.689 | 0.809 | 0.568 | 0.584 |
| EXHIBITION | 0.606 | 0.695 | 0.824 | 0.588 | 0.540 |
| MISSION | 0.694 | 0.739 | 0.880 | 0.601 | 0.628 |
| TRADE OFFICE | 0.700 | 0.759 | 0.877 | 0.598 | 0.601 |
| MARKET INFD | 0.446 | 0.507 | 0.473 | 0.650 | 0.531 |
| POLITIC INFD | 0.676 | 0.641 | 0.607 | 0.827 | 0.715 |
| CUSTOMER INFD | 0.673 | 0.656 | 0.631 | 0.831 | 0.712 |
| COMPETITOR INFD | 0.423 | 0.449 | 0.443 | 0.606 | 0.490 |
| COMPETITOR INFD | 0.500 | 0.459 | 0.428 | 0.714 | 0.608 |
| LOGISTICS INFD | 0.470 | 0.479 | 0.454 | 0.704 | 0.567 |
| POTENTIAL PARTNERSHIP INFD | 0.481 | 0.477 | 0.431 | 0.691 | 0.574 |
| EXISTING PARTNERSHIP INFD | 0.508 | 0.516 | 0.485 | 0.726 | 0.598 |
| CUSTOMER VAL | 0.568 | 0.547 | 0.513 | 0.675 | 0.764 |
| REPUTATION | 0.452 | 0.448 | 0.447 | 0.523 | 0.767 |
| GROWTH | 0.464 | 0.453 | 0.451 | 0.558 | 0.697 |
| DIVERSIFICATION | 0.295 | 0.384 | 0.415 | 0.419 | 0.490 |
| EXPORT SALES | 0.423 | 0.436 | 0.504 | 0.525 | 0.675 |
| MARKET SHARE | 0.413 | 0.354 | 0.371 | 0.411 | 0.768 |
| ENTRY SATISFACTION | 0.539 | 0.565 | 0.488 | 0.707 | 0.754 |
| PROFIT SATISFACTION | 0.601 | 0.615 | 0.569 | 0.683 | 0.756 |
References
- Leonidou, L.C.; Palihawadana, D.; Theodosiou, M. National Export-Promotion Programs as Drivers of Organizational Resources and Capabilities: Effects on Strategy, Competitive Advantage, and Performance. J. Int. Mark. 2011, 19, 1–29. [Google Scholar] [CrossRef]
- Agndal, H.; Chetty, S. The impact of relationships on changes in internationalisation strategies of SMEs. Eur. J. Mark. 2007, 41, 1449–1474. [Google Scholar] [CrossRef]
- Sousa, C.M.P.; Bradley, F. Effects of Export Assistance and Distributor Support on the Performance of SMEs: The Case of Portuguese Export Ventures. Int. Small Bus. J. 2009, 27, 681–701. [Google Scholar] [CrossRef]
- Kim, D.-H. Industrial Report: Strategy for Export Assistance System Development for SMEs; Institute for Industrial Economics and Trade: Seoul, Korea, 2015. [Google Scholar]
- Leonidou, L.C.; Katsikeas, C.S.; Palihawadana, D.; Spyropoulou, S. An analytical review of the factors stimulating smaller firms to export. Int. Mark. Rev. 2007, 24, 735–770. [Google Scholar] [CrossRef]
- Ayob, A.H.; Freixanet, J. Insights into public export promotion programs in an emerging economy: The case of Malaysian SMEs. Eval. Program Plann. 2014, 46, 38–46. [Google Scholar] [CrossRef]
- Durmuşoǧlu, S.S.; Apfelthaler, G.; Nayir, D.Z.; Alvarez, R.; Mughan, T. The effect of government-designed export promotion service use on small and medium-sized enterprise goal achievement: A multidimensional view of export performance. Ind. Mark. Manag. 2012, 41, 680–691. [Google Scholar] [CrossRef]
- Francis, J.; Collins-Dodd, C. Impact of export promotion programs on firm competencies, strategies and performance. Int. Mark. Rev. 2004, 21, 474–495. [Google Scholar] [CrossRef]
- Shamsuddoha, A.K.; Yunus Ali, M.; Oly Ndubisi, N. Impact of government export assistance on internationalization of SMEs from developing nations. J. Enterp. Inf. Manag. 2009, 22, 408–422. [Google Scholar] [CrossRef]
- Wilkinson, T.; Brouthers, L.E. Trade promotion and SME export performance. Int. Bus. Rev. 2006, 15, 233–252. [Google Scholar] [CrossRef]
- Diamantopoulos, A.; Kakkos, N. Managerial Assessments of Export Performance: Conceptual Framework and Empirical Illustration. J. Int. Mark. 2007, 15, 1–31. [Google Scholar] [CrossRef]
- Styles, C.; Patterson, P.G.; Ahmed, F. A relational model of export performance. J. Int. Bus. Stud. 2008, 39, 880–900. [Google Scholar] [CrossRef]
- Leonidou, L.C.; Samiee, S.; Aykol, B.; Talias, M.A. Antecedents and Outcomes of Exporter–Importer Relationship Quality: Synthesis, Meta-Analysis, and Directions for Further Research. J. Int. Mark. 2014, 22, 21–46. [Google Scholar] [CrossRef]
- Freixanet, J. Export promotion programs: Their impact on companies’ internationalization performance and competitiveness. Int. Bus. Rev. 2012, 21, 1065–1086. [Google Scholar] [CrossRef]
- Spence, M.M.; Manning, L.M.; Crick, D. An investigation into the use of collaborative ventures in the internationalization of high performing Canadian SMEs. Eur. Manag. J. 2008, 26, 412–428. [Google Scholar] [CrossRef]
- Haddoud, M.Y.; Jones, P.; Newbery, R. Export promotion programmes and SMEs’ performance. J. Small Bus. Enterp. Dev. 2017, 24, 68–87. [Google Scholar] [CrossRef]
- Ling-yee, L. Effect of export financing resources and supply-chain skills on export competitive advantages: implications for superior export performance. J. World Bus. 2001, 36, 260–279. [Google Scholar] [CrossRef]
- Measson, N.; Campbell-Hunt, C. How smes use trade shows to enter global value chains. J. Small Bus. Enterp. Dev. 2015, 22, 99–126. [Google Scholar] [CrossRef]
- Lages, L.F.; Montgomery, D.B. The relationship between export assistance and performance improvement in Portuguese export ventures. An empirical test of the mediating role of pricing strategy adaptation. Eur. J. Mark. 2005, 39, 755–784. [Google Scholar] [CrossRef]
- Kauffman, R.J.; Li, T.; Van Heck, E. A theory of informedness and business network co-production. In Proceedings of the Annual Hawaii International Conference on System Sciences, Honolulu, HI, USA, 5–8 January 2010; 2010; pp. 1–10. [Google Scholar]
- Thimm, H.; Rasmussen, K.B. Obtaining informedness in collaborative networks through automated information provisioning - A modelling framework and active database system approach. Int. J. Comput. Integr. Manuf. 2013, 26, 1054–1065. [Google Scholar] [CrossRef]
- Spens, K.M.; Kovács, G. A content analysis of research approaches in logistics research. Int. J. Phys. Distrib. Logist. Manag. 2006, 36, 374–390. [Google Scholar] [CrossRef]
- Johanson, J.; Vahlne, J.-E. The Internationalization Process of the Firm—A Model of Knowledge Development and Increasing Foreign Market Commitments. J. Int. Bus. Stud. 1977, 8, 23–32. [Google Scholar] [CrossRef]
- Johanson, J.; Vahlne, J.E. The Uppsala internationalization process model revisited: From liability of foreignness to liability of outsidership. J. Int. Bus. Stud. 2009, 40, 1411–1431. [Google Scholar] [CrossRef]
- Vahlne, J.E.; Johanson, J. From internationalization to evolution: The Uppsala model at 40 years. J. Int. Bus. Stud. 2017, 48, 1087–1102. [Google Scholar] [CrossRef]
- Gardó, T.F.; García, H.C.; Descals, A.M. Internationalization of SME retailer: Barriers and the role of public support organizations. Int. J. Retail Distrib. Manag. 2015, 43, 183–200. [Google Scholar] [CrossRef]
- Barney, J. Firm Resources and Sustained Competitive Advantage. J. Manag. 1991, 17, 99–120. [Google Scholar] [CrossRef]
- Wade, M.; Hulland, J. Review: The resource-based view and information systems research: Review, extension, and suggestions for future research. MIS Q. 2004, 28, 107–142. [Google Scholar] [CrossRef]
- Lavie, D. The competitive advantage of interconnected firms: An extension of the resource-based view. Acad. Manag. Rev. 2006, 31, 638–658. [Google Scholar] [CrossRef]
- Kraaijenbrink, J.; Spender, J.; Groen, A. The resource-based view: a review and assessment of its critiques. J. Manag. 2010, 36, 349–372. [Google Scholar] [CrossRef]
- Sarmento, M.; Simões, C. The evolving role of trade fairs in business: A systematic literature review and a research agenda. Ind. Mark. Manag. 2018, 73, 154–170. [Google Scholar] [CrossRef]
- Nguyen, T.D.; Barrett, N.J.; Fletcher, R. Information internalisation and internationalisation-Evidence from Vietnamese firms. Int. Bus. Rev. 2006, 15, 682–701. [Google Scholar] [CrossRef]
- Li, T.; Kauffman, R.J.; van Heck, E.; Vervest, P.; Dellaert, B.G.C. Consumer informedness and firm information strategy. Inf. Syst. Res. 2014, 25, 345–363. [Google Scholar] [CrossRef]
- Li, T.; Meshkova, Z. Examining the impact of rich media on consumer willingness to pay in online stores. Electron. Commer. Res. Appl. 2013, 12, 449–461. [Google Scholar] [CrossRef]
- Clemons, E.K. How Information Changes Consumer Behavior and How Consumer Behavior Determines Corporate Strategy. J. Manag. Inf. Syst. 2008, 25, 13–40. [Google Scholar] [CrossRef]
- Han, J.H.; Kim, H.-M. The role of information technology use for increasing consumer informedness in cross-border electronic commerce: An empirical study. Electron. Commer. Res. Appl. 2019, 100826. [Google Scholar] [CrossRef]
- Chetty, S.; Agndal, H. Social Capital and its Influence on Changes in Internationalization Mode among Small and Medium-Sized Enterprises. J. Int. Mark. 2007, 15, 1–29. [Google Scholar] [CrossRef]
- Costa, E.; Soares, A.L.; De Sousa, J.P. Information, knowledge and collaboration management in the internationalisation of SMEs: A systematic literature review. Int. J. Inf. Manag. 2016, 36, 557–569. [Google Scholar] [CrossRef]
- Lisboa, A.; Skarmeas, D.; Lages, C. Export market exploitation and exploration and performance: Linear, moderated, complementary and non-linear effects. Int. Mark. Rev. 2013, 30, 211–230. [Google Scholar] [CrossRef]
- Fuerst, S.; Zettinig, P. Knowledge creation dynamics within the international new venture. Eur. Bus. Rev. 2015, 27, 182–213. [Google Scholar] [CrossRef]
- Coviello, N.E. The Network Dynamics of International New Ventures. J. Int. Bus. Stud. 2006, 37, 713–731. [Google Scholar] [CrossRef]
- Toften, K.; Hammervoll, T. The influence of export information use on export knowledge and performance: Some empirical evidence. Mark. Intell. Plan. 2005, 28, 736–753. [Google Scholar] [CrossRef]
- Martine, M. Evaluating export promotion programmes: U.K. overseas trade missions and export performance. Small Busienss Econ. 2003, 20, 83–103. [Google Scholar]
- Felzensztein, C.; Ciravegna, L.; Robson, P.; Amorós, J.E. Networks, Entrepreneurial Orientation, and Internationalization Scope: Evidence from Chilean Small and Medium Enterprises. J. Small Bus. Manag. 2015, 53, 145–160. [Google Scholar] [CrossRef]
- Kim, Y.R.; Todo, Y.; Shimamoto, D.; Matous, P. Are seminars on export promotion effective? Evidence from a randomised controlled trial. World Econ. 2018, 41, 2954–2982. [Google Scholar] [CrossRef]
- Diamantopoulos, A.; Souchon, A.L. Measuring Export Information Use: Scale Development and Validation. J. Bus. Res. 1999, 46, 1–14. [Google Scholar] [CrossRef]
- Dvouletý, O. Effects of soft loans and credit guarantees on performance of supported firms: Evidence from the Czech Public Programme START. Sustain 2017, 9, 2293. [Google Scholar] [CrossRef]
- Dvouletý, O.; Blažková, I. The impact of public grants on firm-level productivity: Findings from the Czech food industry. Sustain 2019, 11, 552. [Google Scholar] [CrossRef]
- Kersten, R.; Harms, J.; Liket, K.; Maas, K. Small Firms, large Impact? A systematic review of the SME Finance Literature. World Dev. 2017, 97, 330–348. [Google Scholar] [CrossRef]
- Fiorentin, F.A.; Pereira, M.; Suarez, D.V. As times goes by. A dynamic impact assessment of the innovation policy and the Matthew effect on Argentinean firms. Econ. Innov. New Technol. 2018, 1–17. [Google Scholar] [CrossRef]
- Fu, D.; Wu, Y. Export survival pattern and its determinants: An empirical study of Chinese manufacturing firms. Asia. Pac. Econ. Lit. 2014, 28, 161–177. [Google Scholar] [CrossRef]
- Ahimbisibwe, G.M.; Nkundabanyanga, S.K.; Nkurunziza, G.; Nyamuyonjo, D. Knowledge absorptive capacity: do all its dimensions matter for export performance of SMEs? World J. Entrep. Manag. Sustain. Dev. 2016, 12, 139–160. [Google Scholar] [CrossRef]
- Choi, Y.S.; Lim, U. Contextual factors affecting the innovation performance of manufacturing SMEs in korea: A structural equation modeling approach. Sustain 2017, 9, 1193. [Google Scholar] [CrossRef]
- Gefen, D.; Straub, D.; Boudreau, M.C. Structural Equation Modeling and Regression: Guidelines for Research Practice. Commun. Assoc. Inf. Syst. 2000, 4, 1–70. [Google Scholar] [CrossRef]
- Reinartz, W.; Haenlein, M.; Henseler, J. An empirical comparison of the efficacy of covariance-based and variance-based SEM. Int. J. Res. Mark. 2009, 26, 332–344. [Google Scholar] [CrossRef]
- Peng, D.X.; Lai, F. Using partial least squares in operations management research: A practical guideline and summary of past research. J. Oper. Manag. 2012, 30, 467–480. [Google Scholar] [CrossRef]
- Hair, J.F., Jr.; Hult, G.T.M.; Ringle, C.; Sarstedt, M. A Primer on Partial Least Squares Structural Equation Modeling (PLS-SEM); Sage publication Ltd.: London, UK, 2013. [Google Scholar]
- Sattler, H.; Völckner, F.; Riediger, C.; Ringle, C.M. The Impact of Brand Extension Success Drivers on Brand Extension Price Premiums. Int. J. Res. Mark. 2010, 27, 319–328. [Google Scholar] [CrossRef]
- Hair, J.F.; Hult, G.T.M.; Ringle, C.; Sarstedt, M. A Primer on Partial Least Squares Structural Equation Modeling (PLS-SEM), 2nd ed.; SAGE Publications: New York, NY, USA, 2017. [Google Scholar]
- Rigdon, E.; Ringle, C. Assessing heterogeneity in customer satisfaction studies: across industry similarities and within industry differences. Adv. Int. Mark. 2011, 22, 169–194. [Google Scholar]
- Berghman, L.; Matthyssens, P.; Streukens, S.; Vandenbempt, K. Deliberate Learning Mechanisms for Stimulating Strategic Innovation Capacity. Long Range Plann. 2013, 46, 39–71. [Google Scholar] [CrossRef]
- Han, J.H.; Wang, Y.; Naim, M. Reconceptualization of information technology flexibility for supply chain management: An empirical study. Int. J. Prod. Econ. 2017, 187, 196–215. [Google Scholar] [CrossRef]
- Gosain, S.; Malhotra, A.; El Sawy, O.A. Coordinating for Flexibility in e-Business Supply Chains. J. Manag. Inf. Syst. 2004, 21, 7–45. [Google Scholar] [CrossRef]
- Bryman, A.; Bell, E. Business Research Methods; Oxford university press: New York, NY, USA, 2012. [Google Scholar]
- Saunders, M.N.K.; Lewis, P.; Thornhill, A. Research Methods for Business Students, 6th ed.; Pearson Education Limited: Harlow, UK, 2012. [Google Scholar]
- Thomas, A. Research Skills for Management Studies, 1st ed.; Routledge: London, UK, 2004. [Google Scholar]
- Podsakoff, P.M.; Organ, D.W. Self-Reports in Organizational Research: Problems and Prospects. J. Manag. 1986, 12, 531–544. [Google Scholar] [CrossRef]
- Podsakoff, P.M.; MacKenzie, S.B.; Lee, J.Y.; Podsakoff, N.P. Common method biases in behavioral research: A critical review of the literature and recommended remedies. J. Appl. Psychol. 2003, 88, 879–903. [Google Scholar] [CrossRef]
- Chang, S.-J.; van Witteloostuijn, A.; Eden, L. From the Editors: Common method variance in international business research. J. Int. Bus. Stud. 2010, 41, 178–184. [Google Scholar] [CrossRef]
- Armstrong, J.; Overton, T. Estimating nonresponse bias in mail surveys. J. Mark. Res. 1977, 14, 396–402. [Google Scholar] [CrossRef]
- Brace, N.; Snelgar, R.; Kemp, R. SPSS for Psychologists, 5th ed.; Palgrave Macmillan: New York, NY, USA, 2012. [Google Scholar]
- Chin, W. The partial least squares approach to structural equation modeling. In Modern Methods for Business Research; A.Marcoulides, G., Ed.; Lawrence Erlbaum Association: Mahwah, NJ, USA, 1998. [Google Scholar]
- Henseler, J.; Ringle, C.M.; Sinkovics, R.R. The use of partial least squares path modeling in international marketing. Adv. Int. Mark. 2009, 20, 277–319. [Google Scholar]
- Hulland, J. Use of partial least squares (PLS) in strategic management research: a review of four recent studies. Strateg. Manag. J. 1999, 20, 195–204. [Google Scholar] [CrossRef]
- Fornell, C.; Larcker, D. Evaluating structural equation models with unobservable variables and measurement error. J. Mark. Res. 1981, 18, 35–90. [Google Scholar] [CrossRef]
- Iacobucci, D.; Saldanha, N.; Deng, X. A Meditation on Mediation: Evidence That Structural Equations Models Perform Better Than Regressions. J. Consum. Psychol. 2007, 17, 139–153. [Google Scholar] [CrossRef]
- Preacher, K.; Hayes, A. Asymptotic and resampling strategies for assessing and comparing indirect effects in multiple mediator models. Behav. Res. Methods 2008, 40, 879–891. [Google Scholar] [CrossRef]
- Fonseca, L.M.; Domingues, J.P. Exploratory research of ISO 14001:2015 transition among Portuguese organizations. Sustain 2018, 10, 781. [Google Scholar] [CrossRef]




| Measurement Variables (Abbreviations) | Indicators (Abbreviations) | Reference |
|---|---|---|
| Information-focused EPP (INEP) | Use of following EPPs: | |
| Foreign market entry information provision | ||
| (economic, political and market information) (ENTRY INFO) | ||
| General knowledge on potential foreign partners (PARTNER INFO) | [1,6,11] | |
| International marketing information and methods (MARKETING INFO) | ||
| Exporting and logistical process information (PROCESS INFO) | ||
| Export publications and general literature (GENERAL INFO) | ||
| Operation-focused EPP (OPEP) | Use of following EPP: | [6,11,13] |
| Export strategy consulting (STRATEGY) | ||
| Firm credit and financial consulting (CONSULTING) | ||
| Training programs specialised in exporting processes (PROCESS TRAINING) | ||
| Training programs on international documents (DOCUMENT TRAINING) | ||
| Export language counselling (LANGUAGE) | ||
| Experience-focused EPP (EXPEP) | Participation in export-related seminars and policy conferences (SEMINAR) | [1,16] |
| Participation in export counselling (EXPORT COUNSELLING) | ||
| Participation in trade shows/exhibitions (EXHIBITION) | ||
| Participation in trade missions (MISSION) | ||
| Support from international trade offices (TRADE OFFICE) | ||
| Value chain informedness (VCINFD) | We have sufficient levels of information capability regarding: | [20,21,62,63] |
| Target foreign market status (scale, trend, opportunity) (MARKET INFD) | ||
| Target foreign market political status (regulations, administrative systems) (POLITIC INFD) | ||
| Foreign customer (plan, preference, possible order levels) (CUSTOMER INFD) | ||
| Foreign competitor (COMPETITOR INFD) | ||
| Market entry and export processes (documentation, customs) (PROCESS INFD) | ||
| Foreign market logistics processes (transport method, transport process, lead time) (LOGISTICS INFD) | ||
| Information configuration of potential foreign partnership (POTENTIAL PARTNERSHIP INFD) | ||
| Information configuration of existing foreign partnership (EXISTING PARTNERSHIP INFD) | ||
| SME’s sustainable export performance (SUSEXF) | Customer value (CUSTOMER VAL) | [1,12,16,43] |
| Robust reputation amongst customers (REPUTATION) | ||
| Longer-term growth (GROWTH) | ||
| Export diversification (DIVERSIFICATION) | ||
| Satisfaction with overall export sales (EXPORT SALES) | ||
| Satisfaction with market share (MARKET SHARE) | ||
| Satisfaction with new market entry (ENTRY SATISFACTION) | ||
| Satisfaction with overall profit (PROFIT SATISFACTION) |
| Company Age | Main Export Item | ||||
| Age | Frequency | Rate (%) | Items | Frequency | Rate (%) |
| 1–5 years | 35 | 22% | Electronic | 41 | 26% |
| 6–10 years | 52 | 33% | Machine and commodity parts | 32 | 21% |
| 11–15 years | 26 | 17% | Heavy industry | 21 | 13% |
| 16–20 years | 21 | 13% | Technology and communication items | 19 | 12% |
| Over 20 years | 22 | 14% | Commodities | 17 | 11% |
| Total | 156 | 100% | Food ingredients | 13 | 8% |
| Chemical ingredients | 13 | 8% | |||
| Total | 156 | 100% | |||
| Export Experience | Export Markets (Multiple Choices) | ||||
| Age | Frequency | Rate (%) | Age | Frequency | Rate (%) |
| 1–5 years | 71 | 46% | China | 100 | 29% |
| 6–10 years | 39 | 25% | South East Asia | 86 | 25% |
| 11–15 years | 25 | 16% | Japan | 73 | 21% |
| 16–20 years | 12 | 8% | North America | 44 | 13% |
| Over 20 years | 9 | 6% | Western Europe | 14 | 4% |
| Total | 156 | 100% | Eastern Europe | 12 | 3% |
| Oceania | 9 | 3% | |||
| Africa | 6 | 2% | |||
| Specific emerging economies (Brazil, Russia, etc.) | 6 | 2% | |||
| Total | 344 | 100% | |||
| Latent Variables | Number of Indicators | Internal Consistency Reliability | Convergent Validity | Indicator Reliability | |
|---|---|---|---|---|---|
| Composite Reliability | Cronbach’s Alpha | AVE | Factor Loadings | ||
| Information-focused EEP (INEP) | 5 | 0.915 | 0.883 | 0.683 | 0.758 to 0.879 |
| Operation-focused EEP (OPEP) | 5 | 0.898 | 0.858 | 0.725 | 0.744 to 0.850 |
| Experience-focused EEP (EXPEP) | 5 | 0.919 | 0.889 | 0.767 | 0.768 to 0.880 |
| Value chain informedness (VCINFD) | 8 | 0.896 | 0.867 | 0.725 | 0.606 to 0.831 |
| Sustainable export performance (SUEXF) | 12 | 0.881 | 0.847 | 0.527 | 0.490 to 0.764 |
| Latent Variables | INFEP | OPFEP | EXPEP | SUSEXF | VCINFD |
|---|---|---|---|---|---|
| INFEP | 0.826 | ||||
| OPFEP | 0.848 | 0.851 | |||
| EXPEP | 0.780 | 0.855 | 0.878 | ||
| SUSEXF | 0.699 | 0.705 | 0.699 | 0.725 | |
| VCINFD | 0.734 | 0.731 | 0.691 | 0.837 | 0.851 |
| Effects on Endogenous Variables with Hypotheses | Path Coefficient β (t-Value) | |
|---|---|---|
| Non-Mediated Model | Mediated Model | |
| Effects on value chain informedness | Variance explained (R2): 0.580 | |
| H1a: INFEP → VCINFD | 0.373 (2.998 ***) | |
| H1b: OPEP → VCINFD | 0.271 (2.261 **) | |
| H1c: EXPEP → VCINFD | 0.170 (1.154) | |
| Effects on sustainable export performance | Variance explained (R2): 0.557 | Variance explained (R2): 0.722 |
| H2a: INFP → SUSEXF | 0.255 (2.263 **) | 0.059 (0.610) |
| H2b: OPEP → SUSEXF | 0.245 (1.994 **) | 0.022 (0.229) |
| H2c: EXPEP → SUSEXF | 0.300 (2.692 ***) | 0.185 (2.127 **) |
| Value chain informedness’ effects on sustainable export performance | ||
| H3: VCINFD → SUSEXF | 0.650(8.245 ***) | |
| Measurement variables | Importance | Performance |
|---|---|---|
| INFEP | 4.794 | 60.464 |
| OPFEP | 4.925 | 59.885 |
| PRTEP | 4.981 | 62.386 |
| Indicators | Importance | Performance |
|---|---|---|
| Export strategy consulting (STRATEGY CNSLT) | 0.031 | 58.471 |
| Firm credit and financial consulting (CREDIT CNSLT) | 0.033 | 59.745 |
| Training programs specialised in exporting processing (PROCESS TRAINING) | 0.030 | 64.756 |
| Training programs on international documents (DOCUMENT TRAINING) | 0.034 | 57.580 |
| Export language counselling (LANGUAGE) | 0.026 | 59.108 |
© 2019 by the authors. Licensee MDPI, Basel, Switzerland. This article is an open access article distributed under the terms and conditions of the Creative Commons Attribution (CC BY) license (http://creativecommons.org/licenses/by/4.0/).
Share and Cite
Han, J.H.; Park, H.-Y. Sustaining Small Exporters’ Performance: Capturing Heterogeneous Effects of Government Export Assistance Programs on Global Value Chain Informedness. Sustainability 2019, 11, 2380. https://doi.org/10.3390/su11082380
Han JH, Park H-Y. Sustaining Small Exporters’ Performance: Capturing Heterogeneous Effects of Government Export Assistance Programs on Global Value Chain Informedness. Sustainability. 2019; 11(8):2380. https://doi.org/10.3390/su11082380
Chicago/Turabian StyleHan, Jeong Hugh, and Hyun-Yong Park. 2019. "Sustaining Small Exporters’ Performance: Capturing Heterogeneous Effects of Government Export Assistance Programs on Global Value Chain Informedness" Sustainability 11, no. 8: 2380. https://doi.org/10.3390/su11082380
APA StyleHan, J. H., & Park, H.-Y. (2019). Sustaining Small Exporters’ Performance: Capturing Heterogeneous Effects of Government Export Assistance Programs on Global Value Chain Informedness. Sustainability, 11(8), 2380. https://doi.org/10.3390/su11082380
