Advanced Dimming Control Algorithm for Sustainable Buildings by Daylight Responsive Dimming System
Abstract
1. Introduction
1.1. Study Objective
1.2. Previous Research
2. Daylight Responsive Dimming System (DRDS)
2.1. System Works of Conventional DRDS
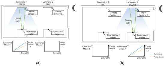
2.2. Conventional Dimming Control Algorithm (Direct Illuminance Learning Method)
2.3. Proposed Dimming Control Algorithm (Indirect Illuminance Learning Method)
3. Evaluation
3.1. Test Bed
3.2. Accuracy Evaluation
3.3. Energy Savings Evaluation
4. Discussion and Conclusions
Author Contributions
Funding
Conflicts of Interest
Nomenclature
| DRDS | Daylight responsive dimming system |
| ETj | Final work plane illuminance at the position directly under the luminaire (j) |
| Ej | Work plane illuminance at the position directly under the luminaire (j) |
| Eij | Work plane illuminance at the position directly under the luminaire (j) by luminaire (i) |
| EDj | Work plane illuminance at the position directly under the luminaire (j) by daylight |
| n | Number of luminaires in the room |
| ERj | Required illuminance at the position directly under the luminaire (j) |
| g(Lj) | Regression equation of work plane illuminance at the position directly under the luminaire |
| (j) | According to the dimming level of luminaire (j) |
| IEij | Proportion of work plane illuminance at the position directly under the luminaire (i) and work plane illuminance at the position directly under the luminaire (j) by luminaire (i) |
References
- Ministry of Land, Infrastructure and Transport. To Cope with Climate Change Zero Energy Building Promotion Plan. In National Building Policy Committee Reporting; Ministry of Land, Infrastructure and Transport (Korea): Sejong, Korea, 2016. [Google Scholar]
- Seoul Energy Dream Center. Commercialization of Green Building Remodelling Project for Private Buildings. In Building Energy Seminar; Seoul Energy Dream Center: Seoul, Korea, 2015. [Google Scholar]
- Costanzo, V.; Evola, G.; Marletta, L.; Pistone Nascone, F. Application of Climate Based Daylight Modelling to the Refurbishment of a School Building in Sicily. Sustainability 2018, 10, 2653. [Google Scholar] [CrossRef]
- Piderit Moreno, M.B.; Labarca, C.Y. Methodology for assessing daylighting design strategies in classroom with a climate-based method. Sustainability 2015, 7, 880–897. [Google Scholar] [CrossRef]
- Lee, K.S.; Han, K.J.; Lee, J.W. Feasibility study on parametric optimization of daylighting in building shading design. Sustainability 2016, 8, 1220. [Google Scholar] [CrossRef]
- Guan, Y.; Yan, Y. Daylighting Design in classroom based on yearly-graphic analysis. Sustainability 2016, 8, 604. [Google Scholar] [CrossRef]
- Mohelníková, J.; Míček, D.; Floreková, S.; Selucká, A.; Dvořák, M. Analysis of Daylight Control in a Chateau Interior. Buildings 2018, 8, 68. [Google Scholar] [CrossRef]
- Moazzeni, M.H.; Ghiabaklou, Z. Investigating the influence of light shelf geometry parameters on daylight performance and visual comfort, a case study of educational space in Tehran, Iran. Buildings 2016, 6, 26. [Google Scholar] [CrossRef]
- Kim, S.H.; Kim, I.T.; Choi, A.S.; Sung, M. Evaluation of Optimized PV Power Generation an Electrical Energy Savings from the PV Blind-integrated Daylight Responsive Dimming System Using LED Lighting. Sol. Energy 2014, 107, 746–757. [Google Scholar] [CrossRef]
- Al-Ashwal, N.T.; Budaiwi, I.M. Energy savings due to daylight and artificial lighting integration in office buildings in hot climate. Int. J. Energy Environ. 2011, 2, 999–1012. [Google Scholar]
- Fernandes, L.L.; Lee, E.S.; Ward, G. Lighting energy savings potential of split-pane electrochromic windows controlled for daylighting with visual comfort. Energy Build. 2013, 61, 8–20. [Google Scholar] [CrossRef]
- Caicedo, D.; Pandharipande, A.; Willems, F.M. Daylight-adaptive lighting control using light sensor calibration prior-information. Energy Build. 2014, 73, 105–114. [Google Scholar] [CrossRef]
- Yoo, S.; Kim, J.; Jang, C.Y.; Jeong, H. A sensor-less LED dimming system based on daylight harvesting with BIPV systems. Opt. Express 2014, 22, A132–A143. [Google Scholar] [CrossRef] [PubMed]
- Gentile, N.; Dubois, M.C. Field data and simulations to estimate the role of standby energy use of lighting control systems in individual offices. Energy Build. 2017, 155, 390–403. [Google Scholar] [CrossRef]
- Nagy, Z.; Yong, F.Y.; Frei, M.; Schlueter, A. Occupant centered lighting control for comfort and energy efficient building operation. Energy Build. 2015, 94, 100–108. [Google Scholar] [CrossRef]
- Gentile, N.; Laike, T.; Dubois, M.C. Lighting control systems in individual offices rooms at high latitude: Measurements of electricity savings and occupants’ satisfaction. Sol. Energy 2016, 127, 113–123. [Google Scholar] [CrossRef]
- Kaminska, A.; Ożadowicz, A. Lighting Control Including Daylight and Energy Efficiency Improvements Analysis. Energies 2018, 11, 2166. [Google Scholar] [CrossRef]
- Yun, G.Y.; Kim, H.; Kim, J.T. Effects of occupancy and lighting use patterns on lighting energy consumption. Energy Build. 2012, 46, 152–158. [Google Scholar] [CrossRef]
- Pandharipande, A.; Caicedo, D. Daylight integrated illumination control of LED systems based on enhanced presence sensing. Energy Build. 2011, 43, 944–950. [Google Scholar] [CrossRef]
- Wang, Z.; Tan, Y.K. Illumination control of LED systems based on neural network model and energy optimization algorithm. Energy Build. 2013, 62, 514–521. [Google Scholar] [CrossRef]
- Choi, H.; Hong, S.; Choi, A.; Sung, M. Toward the accuracy of prediction for energy savings potential and system performance using the daylight responsive dimming system. Energy Build. 2016, 133, 271–280. [Google Scholar] [CrossRef]
- Yun, S.I.; Kim, K.S. Sky Luminance Measurements Using CCD Camera and Comparisons with Calculation Models for Predicting Indoor Illuminance. Sustainability 2018, 10, 1556. [Google Scholar] [CrossRef]
- Park, B.C.; Choi, A.S.; Jeong, J.W.; Lee, E.S. Performance of integrated systems of automated roller shade systems and daylight responsive dimming systems. Build. Environ. 2011, 46, 747–757. [Google Scholar] [CrossRef]
- Parise, G.; Martirano, L. Daylight impact on energy performance of internal lighting. IEEE Trans. Ind. Appl. 2013, 49, 242–249. [Google Scholar] [CrossRef]
- Ul Haq, M.A.; Hassan, M.Y.; Abdullah, H.; Rahman, H.A.; Abdullah, M.P.; Hussin, F.; Said, D.M. A review on lighting control technologies in commercial buildings, their performance and affecting factors. Renew. Sustain. Energy Rev. 2014, 33, 268–279. [Google Scholar] [CrossRef]
- Korean Standards Association. Korean Industrial Standards, KS A3011, KS Recommended Levels of Illumination; KSA: Seoul, Korea, 1998. [Google Scholar]
- Duffie, J.A.; Beckman, W.A. Solar Engineering of Thermal Processes; John Wiley & Sons: Hoboken, NJ, USA, 2013. [Google Scholar]
- Park, B.C.; Choi, A.S.; Jeong, J.W.; Lee, E.S. A Preliminary Study on the Performance of Daylight Responsive Dimming Systems with Improved Closed-Loop Control Algorithm. Leukos 2011, 8, 41–59. [Google Scholar]
- Jeong, K.Y.; Choi, A.S.; Sung, M. A mock-up study for validation of an improved control algorithm for automated roller shade. Indoor Built Environ. 2016, 25, 17–28. [Google Scholar] [CrossRef]














| x4 | x3 | x2 | x | R2 | |
|---|---|---|---|---|---|
| g(L1) | 0.0051 | −0.2112 | 2.9129 | 7.1438 | 0.9999 |
| g(L2) | 0.0045 | −0.1894 | 2.6403 | 7.0639 | 0.9999 |
| g(L3) | 0.006 | −0.251 | 3.4595 | 7.2117 | 0.9999 |
| g(L4) | 0.0055 | −0.2328 | 3.2959 | 7.0318 | 0.9999 |
| g(L5) | 0.006 | −0.2531 | 3.5007 | 8.2746 | 0.9999 |
| g(L6) | 0.0058 | −0.2436 | 3.413 | 8.2883 | 0.9999 |
| P1 | P2 | P3 | P4 | P5 | P6 | |
|---|---|---|---|---|---|---|
| L1 | 1 | 0.557 | 0.356 | 0.269 | 0.095 | 0.092 |
| L2 | 0.470 | 1 | 0.245 | 0.372 | 0.085 | 0.099 |
| L3 | 0.361 | 0.264 | 1 | 0.558 | 0.339 | 0.257 |
| L4 | 0.247 | 0.372 | 0.471 | 1 | 0.222 | 0.338 |
| L5 | 0.094 | 0.086 | 0.362 | 0.273 | 1 | 0.567 |
| L6 | 0.092 | 0.100 | 0.267 | 0.379 | 0.510 | 1 |
| (%) | ||||||
|---|---|---|---|---|---|---|
| Sky Condition | P1 | P2 | P3 | P4 | P5 | P6 |
| Clear | - | - | - | - | 99.00 | 98.97 |
| Partly cloudy | - | - | 99.68 | 99.41 | 98.93 | 98.93 |
| Overcast | 98.90 | 99.06 | 98.96 | 99.08 | 98.69 | 98.89 |
| Sky Condition | Average Power Consumption (W) | Daily Power Consumption (Wh) | Savings (%) |
|---|---|---|---|
| Clear | 12.81 | 115.25 | 87.69 |
| Partly cloudy | 16.80 | 151.22 | 83.84 |
| Overcast | 37.11 | 333.96 | 64.32 |
© 2018 by the authors. Licensee MDPI, Basel, Switzerland. This article is an open access article distributed under the terms and conditions of the Creative Commons Attribution (CC BY) license (http://creativecommons.org/licenses/by/4.0/).
Share and Cite
Kim, I.-T.; Kim, Y.-S.; Nam, H.; Hwang, T. Advanced Dimming Control Algorithm for Sustainable Buildings by Daylight Responsive Dimming System. Sustainability 2018, 10, 4087. https://doi.org/10.3390/su10114087
Kim I-T, Kim Y-S, Nam H, Hwang T. Advanced Dimming Control Algorithm for Sustainable Buildings by Daylight Responsive Dimming System. Sustainability. 2018; 10(11):4087. https://doi.org/10.3390/su10114087
Chicago/Turabian StyleKim, In-Tae, Yu-Sin Kim, Hyeonggon Nam, and Taeyon Hwang. 2018. "Advanced Dimming Control Algorithm for Sustainable Buildings by Daylight Responsive Dimming System" Sustainability 10, no. 11: 4087. https://doi.org/10.3390/su10114087
APA StyleKim, I.-T., Kim, Y.-S., Nam, H., & Hwang, T. (2018). Advanced Dimming Control Algorithm for Sustainable Buildings by Daylight Responsive Dimming System. Sustainability, 10(11), 4087. https://doi.org/10.3390/su10114087
