Abstract
The implementation of e-jeepneys stands as a change process that will eventually transition to the modernization of the public transport system in the Philippines. To address concerns about jeepneys’ effects on the environment, energy use, society, the economy, and policies, their acceptability in the Philippines must be considered. This research study aims to identify the sources of influence on Filipinos’ adoption of e-jeepney utilization as a mode of transportation using the extended Pro-Environmental Planned Behavior (PEBP) model. A total of 502 commuters voluntarily answered the survey questionnaire. Based on the findings, perceived environmental concern (PEC) is the most significant determinant influencing attitude (AT) and, thus, affecting the Filipinos’ behavioral intention (BI) towards the adoption of e-jeepneys. Conversely, AT was the primary determinant of BI, which strongly supported the notion of AT as a strong driving force shaping behavioral decisions. Moreover, perceived authority support (PAS) emerged as a strong predictor of subjective norms (SNs), demonstrating the influence of institutional support on societal perceptions. As a result, more environmentally conscious people are more likely to view e-jeepneys positively and intend to use them as a mode of transportation. The endorsement or support from authoritative figures or institutions notably influences subjective norms, which are individuals’ perceptions of social pressures regarding the use of e-jeepneys.
1. Introduction
The Philippine transportation system plays a vital role in developing and evolving the economy and the country’s society. The Philippine economy depends heavily on transportation to connect its significant population and commercial centers [1]. An effective transportation system is essential to improving the country’s investment, economic, and climate growth [2]. A country’s development, sustainability, and economy can be significantly measured by how well its public transportation system functions in terms of reliability and safety [3].
Jeepneys are of significant economic importance in the Philippines, as they sustain the daily income of countless mechanics, drivers, and traders [4]. Additionally, jeepneys are a cost-effective, convenient, and readily available mode of public transportation, particularly for individuals lacking the financial means to acquire and maintain private transit [5]. They play a vital role and contribute to the Philippines’ economy. However, due to the detrimental impacts of diesel jeepneys on the environment and human health, the government decided to replace the traditional ones with a modernized and more sustainable jeepney that will make thousands of drivers unemployed [6].
The transition from diesel vehicles to EVs, such as e-jeepneys, is being gradually implemented in the Philippines. This new technological advancement supports the government’s efforts to enhance commuter mobility by guaranteeing the public a safe, clean, and efficient public transportation system [7]. E-jeepneys are electric vehicles designed based on diesel jeepneys. They are a much more environmentally friendly electric-powered version of diesel jeepneys. They can mitigate the environmental impact of smoke-producing automobiles [8]. These electric jeepneys require an internal electric motor. They must have closed-circuit television cameras (CCTVs), Wi-Fi and USB connections, GPSs, safety features such as speed limiters, accessibility features including ramps and seatbelts, and a dashboard camera [9]. The design and engineering of these electric jeepneys are much more closely similar to minibuses than traditional jeepneys.
In the Philippines, addressing the acceptance of e-jeepneys is a critical issue, as it aligns with the government’s program to modernize public utility vehicles, mainly traditional jeepneys. The jeepney modernization program aims to replace these conventional vehicles with safer, more efficient, and eco-friendly alternatives [10]. Many traditional jeepneys are notorious for emitting harmful smoke and are often in poor condition, leading to accidents [11]. According to Transportation Secretary Jaime Bautista, modernizing jeepneys will strengthen the CASA (Convenient, Accessible, Safe, Secure, and Affordable) program in the transport sector. Moreover, this initiative is expected to generate employment opportunities for mechanics, dispatchers, administrative staff, and others [12].
While the government needs to proceed with jeepney modernization, it is crucial to consider the impact on drivers, whose livelihoods depend on traditional jeepneys, and commuters, who rely on affordable transportation. Therefore, understanding the acceptance of e-jeepneys, a specific type of electric vehicle tailored to the unique needs of Filipino transportation, becomes paramount. This research aims to explore the factors influencing the acceptance of e-jeepneys compared to other electric vehicles, providing insights crucial for policymakers, stakeholders, and the general public.
2. Review of Related Literature
2.1. Challenges and Opportunities of E-Jeepneys
Electric jeeps face specific challenges and opportunities compared to other types of electric vehicles. Challenges include their limited range and smaller battery capacities, making them suitable mainly for short- to medium-distance trips [13]. Maintaining or increasing payload capacity while transitioning to electric power can also be challenging due to the weight of batteries [14]. Moreover, the rough terrain in many Philippines areas impedes electric jeep performance. However, there are significant opportunities as well. Electric jeeps offer environmental benefits by reducing air pollution and greenhouse gas emissions. They can also provide cost savings over time due to their lower operating costs than traditional vehicles [15]. Additionally, electric jeeps can improve passenger experience with quieter and smoother rides [16]. Developing electric jeep technology can lead to battery technology and vehicle design innovation. With proper government support and incentives, electric jeep adoption can contribute to a more sustainable transportation system in the Philippines.
2.2. Jeepney Modernization Program
The Department of Transportation (DOTr) implemented the Jeepney Modernization Program, also known as the Public Utility Vehicle Modernization Program (PUVMP), in 2017, according to Malasique and Rosete [6]. Its primary objective is to enhance the efficiency and environmental friendliness of the nation’s public transportation system. To improve service quality, the program intends to modernize public fleets, streamline franchising procedures, restructure public transportation route planning, and encourage professionalization. The DOTr suggests an unprecedented shift in the nation’s direction by extending the lives of public transportation vehicles. Consequently, maintenance services for PUVs older than 15 years would be discontinued, and all operators would be obligated to utilize brand-new vehicles that adhere to Philippine National Standards and Euro IV emissions standards.
According to the research by Agaton et al. [17], compared to diesel jeepneys, e-jeepneys offer more financial potential. The results exhibit reliability in all investigated scenarios. Additionally, the results indicate that, in light of the prevailing business environment, it is advisable to proceed with an imminent investment rather than delaying or postponing one, as doing so could potentially lead to missed prospects. The modernized jeepney initiative is supported by conventional financial tools and environmental interests, including the internal rate of return, payback period, and return on investment. Other investment analyses, including public opinion, health and non-health benefits, and economic ramifications on employment and taxation, support the conclusions drawn from the research analysis employing the suggested return on assets for the e-jeepney project. Furthermore, this research proposes further measures from the government, including augmenting the subsidy amount accompanied by flexible payment terms, raising jeepney base fares to facilitate a quicker and more profitable return on investment, strategically placing charging infrastructures while considering the interplay between charging decisions and travel, and maintaining endeavors to depend on cleaner, more affordable, and renewable energy sources.
2.3. Adoption of E-Vehicles in International Setting
A comprehensive review by Verma et al. [18] in India identifies various factors influencing the adoption of electric vehicles (EVs), including environmental concerns, government incentives, and technological advancements. It highlights the potential of EVs to reduce greenhouse gas emissions and dependency on fossil fuels, thus supporting their adoption as a sustainable transportation solution. In addition, a study by Sovacool [19] in the United Kingdom reviews existing literature on electric vehicle adoption and proposes a conceptual framework to understand the key drivers of adoption. It emphasizes the importance of vehicle performance, cost, infrastructure availability, and government policies in shaping consumer attitudes towards electric vehicles. Another study by Guo et al. [20] examines the potential impact of electric vehicle adoption on air quality in Beijing, China. Contrary to expectations, the authors find that widespread adoption of electric vehicles may lead to slight air quality improvement due to increased electricity demand and emissions from power generation. Similarly, research by Nanaki & Koroneos [21] in Greece analyzes electric vehicles’ costs and environmental impacts compared to conventional vehicles. While electric vehicles offer potential benefits regarding reduced carbon emissions, the authors highlight challenges such as high battery costs and emissions associated with electricity generation, which may limit their widespread adoption.
Several Chinese cities, such as Shenzhen and Beijing, have replaced large portions of their conventional bus fleets with electric buses. Shenzhen, for instance, boasts the world’s largest electric bus fleet, with over 16,000 electric buses operating in the city. The Chinese government’s solid incentives and subsidies for electric buses have facilitated this transition [22]. In contrast, the Philippines has focused on replacing traditional jeepneys with electric jeepneys. The government’s jeepney modernization program aims to gradually phase out old, polluting jeepneys and replace them with environmentally friendly electric jeepneys. This approach addresses the needs of the Philippines’ unique public transportation system, which relies heavily on jeepneys for intracity travel.
Also, many European cities, such as Amsterdam and Zurich, have extensive electric tram networks that support their public transportation systems [23]. Trams offer efficient, high-capacity transportation with zero emissions, contributing to cleaner air and reduced traffic congestion [24]. While electric trams are common in Europe, the Philippines’ urban areas, particularly Metro Manila, face challenges, such as narrow streets and informal settlements, making tram systems less feasible. Instead, electric jeepneys are a more flexible and adaptable solution for the Philippines’ transportation needs, providing door-to-door service in densely populated areas.
Norway, a pioneer in adopting electric vehicles, including electric taxis, has seen a rapid increase in electric taxis, supported by government incentives such as tax exemptions, toll exemptions, and access to bus lanes [25]. In the Philippines, electric jeepneys serve as a mode of public transportation rather than individual taxis. Electric jeepneys provide a shared ride service, similar to conventional jeepneys, but with the added benefit of zero emissions and lower operating costs.
In Japan, an extensive network of electric trains, such as the Shinkansen (bullet train) and urban commuter trains, offers fast, reliable, and energy-efficient intercity and intracity travel [26]. While electric trains are a vital part of the Philippines’ transportation infrastructure, particularly in Metro Manila (e.g., LRT and MRT), electric jeepneys complement these systems by providing last-mile connectivity to areas not serviced by trains. Electric jeepneys bridge the gap between major transportation hubs and smaller communities, enhancing accessibility and connectivity.
Prior studies also addressed various aspects of energy management and optimization related to transportation, including microgrids within buildings and vehicle-to-grid systems. They propose innovative techniques and methodologies to improve energy operations’ efficiency, reliability, and security in transportation systems. For instance, the study by Li et al. [27] investigates optimization techniques for microgrids, particularly in the context of energy management in buildings. While not directly related to transportation, the optimization methodologies explored in this study can be adapted to improve the operational efficiency of e-jeepneys. By applying similar stochastic-weighted, robust optimization techniques, e-jeepney operators can optimize their energy usage, considering factors such as battery degradation and varying thermal loads, to enhance overall performance and reliability. Another study by Shang & Li [28] focuses on federated learning techniques for real-time vehicle-to-grid (V2G) dispatch, addressing security concerns and non-independent and identically distributed (non-IID) data challenges. Although the primary focus is V2G systems, federated learning and real-time dispatch optimization can be applied to e-jeepneys in the Philippines. By implementing security-enhanced federated learning algorithms like FedPT-V2G, e-jeepney fleets can optimize their dispatch operations in real time, considering traffic conditions, passenger demand, and energy availability, leading to more efficient and reliable transportation services. Finally, Shang et al. [29] propose a dispatching mechanism for vehicle-to-grid (V2G) systems using distributed edge computing and attention-based long short-term memory (LSTM) networks. While the focus is on V2G systems, efficient and adaptable dispatching principles can be applied to optimize the operations of e-jeepneys in the Philippines. By leveraging distributed edge computing and attention-based LSTM networks, e-jeepney operators can enhance their dispatching strategies by considering route optimization, energy management, and real-time demand forecasting. This can improve efficiency, reduce energy consumption, and enhance service reliability for e-jeepney transportation networks.
While prior studies have considered the complex interplay of factors such as environmental concerns, government incentives, and technological advancement, a critical gap exists in understanding the socio-technological influences that impact the adoption of e-jeepneys, such as perceived safety, infrastructure, and sustainability. This missing information represented a vital aspect of the study, as it can shed light on the nuanced dynamics that shape the acceptance of e-jeepneys in the Philippines.
2.4. Theory of Planned Behavior (TPB) and Pro-Environmental Planned Behavior (PEPB) Model
Previous investigations have widely applied the Theory of Planned Behavior (TPB). The TPB has been utilized to examine how individuals engage in specific actions that are influenced by their subjective norms and attitude towards the behavior in question [30]. Individuals are more likely to intend to engage in the behavior under consideration when they have a favorable attitude and a subjective norm. [31]. The TPB is regarded as one of the most practical social and behavioral sciences theories.
One is the study by La Barbera and Azjen [32], which used a sample that explores the antecedents of voting for European integration to explain how one’s behavior is affected by attitude. The study’s method was to provide a set of open-ended questionnaires to assess the behaviors of two sides, young and old respondents. Upon examination of the structural equation model of voting intentions, supported by the TPB, it showed that individuals’ behavioral and control beliefs significantly impacted the latent constructs regarding their way of voting. In addition, the results demonstrated that the respondents’ beliefs regarding the difficulty of exercising direct democratic control via citizenship and voting influenced their intentions to vote, thereby establishing perceived behavioral control.
Another study using the TPB model by Asare [33] aimed to determine the behavioral intention of condom use among college students. The findings of the study also indicated that attitudes towards perceived behavioral control and subjective norms predicted intentions to use condoms. Another study by Pourmand et al. [34] assessed the factors influencing self-care behaviors for managing hypertension. The TPB was also utilized, and results showed that obtaining perceived behavioral control influenced self-care routines for female patients with hypertension. The results also show that subjective norms positively affected younger patients. All studies showed accurate and positive results by applying the TPB model.
Several research studies have extended the TPB model to examine people’s attitudes regarding environmental behavior. The concept extension of the Theory of Planned Behavior, known as the Pro-Environmental Planned Behavior (PEPB) model, has also commonly been used in past studies assessing factors influencing behavioral state. The model considers four factors, perceived behavioral control (PBC), subjective norms (SNs), attitude (AT), and behavioral intention (BI), utilized in the Theory of Planned Behavior, which were eventually augmented by two more factors. The only concepts not part of the TPB model are perceived authority support (PAS) and perceived environmental concern (PEC), added in this extended model to deeply comprehend and forecast environmental behaviors.
Many studies have used the Pro-Environmental Planned Behavior (PEPB) model as an assessment model. One study by Mufidah [35] determined the behavioral intention of using ecolabelled products of citizens in developing regions in Taiwan and Indonesia. The same procedure was used with the TPB model; the study provided questionnaire surveys to briefly assess the respondents’ behavioral intentions from the two regions. Structural equation modelling (SEM) was also included to analyze the model further, and it was found that the behavioral intention is 49% in Taiwan and 72% in Indonesia. The results concluded that behavioral intention and attitude determined those numbers in both regions.
Overall, both models showed their accuracy and reliability to be utilized to identify and predict behavioral intentions, primarily including pro-environmental behaviors. Moreover, the current study will also use these models to examine influential factors in adopting e-jeepneys that are yet to be explored. By confirming the relevant influence of PEPB factors on the adoption of e-jeepneys, the conceptual framework developed for this research study contributed to consumer behavior modelling. For sustainable energy growth and the advancement of the Philippines’ economic and environmental well-being, research on the country’s acceptance of e-jeepneys is essential.
This paper addresses a critical aspect of transportation modernization by focusing on the acceptance of e-jeepneys in the Philippines. It provides insights into the factors influencing the adoption of these vehicles, which is crucial for policymakers, stakeholders, and transportation authorities. The paper extends the traditional PEPB (Pro-Environmental Planned Behavior) model by incorporating additional factors such as affordability, infrastructure, and perceived safety. This extension allows for a more comprehensive understanding of the factors shaping acceptance, providing practical guidance for interventions and policy development. The paper employs SEM to analyze the relationships between various factors influencing the acceptance of e-jeepneys. SEM allows for the simultaneous examination of complex relationships among multiple variables. Using SEM, the paper provides a robust statistical framework for exploring the interplay between affordability, infrastructure, perceived safety, and other factors in determining acceptance.
Thus, incorporating extended factors such as affordability, perceived safety, and infrastructure into the PEPB model represents a methodological innovation. This integration allows for a more nuanced understanding of acceptance behavior, going beyond the traditional predictors of attitude, subjective norms, and perceived behavioral control. The paper applies these methodological approaches within the specific context of the Philippines, where traditional jeepneys are a prominent mode of transportation. This contextualization enhances the relevance and applicability of the findings to the local transportation landscape.
This present study represents a novel approach to addressing public transportation challenges in the Philippines, particularly in urban areas, where traditional jeepneys dominate the landscape. The introduction of e-jeepneys presents a sustainable alternative, offering reduced emissions and improved energy efficiency compared to conventional vehicles. By focusing on the adoption dynamics of e-jeepneys, we contribute to the growing body of literature on sustainable transportation solutions tailored to the Philippine context.
One of this study’s primary contributions lies in applying the extended PEBP model to analyze the factors influencing Filipinos’ adoption of e-jeepneys. While the PEBP model has been widely used in environmental psychology research, its application to transportation adoption in the Philippines is relatively unexplored. By extending this model to encompass the specific socio-cultural and contextual factors relevant to e-jeepney adoption, our research offers a novel framework for understanding consumer behavior in the transportation sector.
The novelty of our study is twofold: first, in its contextual adaptation of the PEBP model to a specific transportation mode within the unique socio-cultural environment of the Philippines, and second, in its focus on e-jeepneys, a relatively new concept in the realm of sustainable urban transport. Additionally, our methodology is designed with replicability in mind, allowing it to be adapted and applied to other contexts beyond the Philippines. By detailing the steps and considerations involved in our approach, other researchers can replicate and modify our methodology to explore transportation adoption dynamics in different regions or with other sustainable vehicle types. This enhances the utility and impact of our research, offering a versatile framework for comparative studies and broader applications in diverse settings. This approach not only underscores the novelty of our research but also positions it as a valuable resource for future studies in various regions facing similar transportation challenges.
3. Conceptual Framework
Understanding the factors impacting the acceptance and adoption of e-jeepneys becomes essential as the Philippines works to solve environmental issues and reduce its carbon footprint. The extended Pro-Environmental Planned Behavior (PEPB) model served in the same way as the foundation for this conceptual framework, as shown in Figure 1, which aimed to thoroughly explain Filipinos’ intents and behaviors concerning using e-jeepneys. The PEPB model extends the TPB model to include additional variables unique to pro-environmental behaviors. This framework consists of the following elements when examining Filipinos’ acceptance of e-jeepneys: perceived authority support (PAS), perceived environmental concern (PEC), attitude (AT), subjective norms (SNs), perceived behavioral control (PBC), affordability (AF), behavioral intention (BI), perceived safety (PS), and infrastructure (IF). This framework thoroughly explained the variables impacting the use of sustainable transportation in the Philippines. The use of e-jeepneys is encouraged, and the formulation of policies and initiatives to advance sustainable mobility in the nation is supported by these data.
Figure 1.
Proposed conceptual framework based on the Pro-Environmental Planned Behavior (PEPB) model.
Perceived authority support (PAS) represents the influence of governmental and institutional support on public perceptions and behaviors [36,37]. PAS is included based on social influence theories, which suggest that support from authoritative figures or institutions can significantly shape subjective norms and behaviors. The government’s initiative to promote electric jeepneys instead of traditional jeepneys is anticipated to impact public preference for using electric jeepneys as a mode of transportation. The government’s initiative to encourage the usage of e-jeepneys as a mode of transportation may affect consumer demand for e-jeepneys. According to numerous studies, government policies are crucial in boosting e-jeepney usage. For example, a study by Frisnedi and Angeles [38] discovered that while the e-jeepney appeared popular among commuters, the drivers required differing dispositions. The pandemic has hampered modernization efforts, as most motorists suffered the consequences of the quarantine. It is no longer necessary to advertise the e-jeepney to commuters; instead, the government should provide a more robust support system, including a communication channel between the relevant agencies. Another study by Agaton et al. [17] also recommends that the government take steps to boost the number of base fares and subsidies, set up charging terminals in public places, and keep working to increase reliance on more affordable, clean, and renewable energy sources, to increase the appeal of the e-jeepney to transportation operators. Studies have shown that support for environmental initiatives from those in positions of power benefits people’s willingness to engage in ecological activities [39]. Commuters will be more inclined to utilize e-jeepneys as a means of transportation if the government conducts and implements the use of the vehicles perfectly. Thus, the following were hypothesized:
H1.
Perceived authority support (PAS) has a positive and significant impact on perceived environmental concern (PEC).
H2.
Perceived authority support (PAS) positively and significantly impacts attitude (AT).
H3.
Perceived authority support (PAS) positively and significantly impacts subjective norms (SNs).
H4.
Perceived authority support (PAS) positively and significantly impacts perceived behavioral control (PBC).
Perceived environmental concern (PEC) was selected due to its strong theoretical and empirical linkage to pro-environmental behavior, as demonstrated in numerous studies on environmental psychology and sustainable transportation. It reflects the public’s awareness and concern about environmental issues, which significantly influence their adoption of eco-friendly technologies. Individual self-interest towards the environment is expressed through environmental concern. Compared to environmental consequences, PEC can be considered an indicator of an individual’s perception [36,40]. The present study’s perceived environmental concern (PEC) represents commuters’ attitudes towards e-jeepneys. Commuters’ experiences while riding in e-jeepneys were expected to influence their decisions. If commuters believe using e-jeepneys is beneficial and sustainable, they will utilize them. Studies have revealed that environmental concerns influence consumer behavior [41,42]. How individuals feel and think about environmental protection is at the center of the broad and all-encompassing worldview known as environmental concern. Environmental concern significantly impacts how situation-specific cognition is seen and assessed, particularly concerning personally important behavioral implications [43]. In the extended PEPB model, attitude (AT), subjective norms (SNs), and perceived behavioral control (PBC) regarding pro-environmental behaviors, such as e-jeepneys, are influenced by perceived environmental concern [44]. Those with a vital concern for the environment are more likely to view e-jeepneys as a strategy to lessen air pollution, greenhouse gas emissions, and the total ecological footprint of transportation [45]. This increased concern may favorably impact their attitudes and intents to utilize e-jeepneys, which could ultimately result in their increased adoption. Thus, the following were hypothesized:
H5.
Perceived environmental concern (PEC) positively and significantly impacts attitude (AT).
H6.
Perceived environmental concern (PEC) positively and significantly impacts subjective norms (SNs).
H7.
Perceived environmental concern (PEC) positively and significantly impacts perceived behavioral control (PBC).
Grounded in the Theory of Planned Behavior (TPB), attitude is a well-established determinant of behavioral intention. It was selected because it encapsulates individuals’ positive or negative evaluations of using e-jeepneys, which is crucial for predicting adoption behavior [36,46]. It encompasses their beliefs about the positive or negative consequences of using e-jeepneys as a mode of transportation. Commuters will undoubtedly use the e-jeepney as a form of transportation if they positively perceive it. According to Ajzen [46], attitude (AT) indicates how positively or negatively other people see the action or behavior. Numerous studies have repeatedly found a relationship between consumers’ propensity to use sustainable items and their attitudes towards sustainability. A positive attitude suggests that Filipinos perceive e-jeepneys as environmentally friendly, cost-effective, and convenient alternatives to traditional jeepneys [33]. It has been demonstrated that attitude (AT) favorably impacts the subjective norm (SN) for participating in environmental impact assessments [18]. Thus, the following was hypothesized:
H8.
Attitude (AT) positively and significantly impacts behavioral intention (BI) when using e-jeepneys.
Subjective norms capture the perceived social pressure to perform or not perform a behavior. This variable is grounded in the TPB and is crucial for understanding how societal expectations influence the adoption of e-jeepneys [30]. It includes perceptions of what significant others, including family, peers, and society, expect regarding e-jeepneys. The Theory of Planned Behavior (TPB) states that SNs greatly influence behavioral intentions, which reflect perceived social pressure and influence [47]. Perceived social support and encouragement for adopting e-jeepneys can benefit intentions to embrace this mode of transportation in the context of sustainable transportation [48]. Eriksson and Forward’s assessment of studies on environmental behavior [49] also highlights the significance of subjective and societal norms in determining pro-environmental intentions. They point out that people are more likely to adopt environmentally conscious actions when they sense and believe that others have confidence and support them, such as driving electric vehicles like e-jeepneys. If Filipinos perceive that their social network values and encourages e-jeepney usage, they are more likely to consider adopting this sustainable mode of transportation. Thus, the following was hypothesized:
H9.
Subjective norms (SNs) positively and significantly impact the behavioral intention (BI) to use e-jeepneys.
Perceived behavioral control (PBC) addresses circumstances in which individuals may not fully control the behavior of interest [50]. PBC is included in the model based on its role in the TPB and PEPB models, reflecting individuals’ perceived ease or difficulty in performing the behavior [51]. PBC is crucial for understanding barriers and facilitators to the adoption of e-jeepneys [52]. PBC reflects Filipinos’ beliefs about their ability to use e-jeepneys effectively. It considers factors such as familiarity with the technology, accessibility of e-jeepney services, and financial feasibility [53]. It was predicted that passengers’ perceptions of their inclination to take an e-jeepney would influence their intention. When presented with environmental limits, commuters’ confidence and belief in their ability to make decisions and their positive outlook on the future intention of using e-jeepneys are essential factors that support their perceived behavioral control (PBC) [54]. High perceived behavioral control indicates that individuals believe they have the resources, opportunities, and skills to embrace e-jeepney use. Thus, the following was hypothesized:
H10.
Perceived behavioral control (PBC) positively and significantly impacts the behavioral intention (BI) to use e-jeepneys.
Affordability is a crucial factor influencing individuals’ decisions to adopt such modes of transportation. With the increasing prices of fuels and diesel for transportation, some transport groups sought a fare hike to cope with the price hike of fuels. According to studies, people are more likely to consider adopting e-jeepneys if they believe they are more affordable than other types of transportation [17,33]. This view finds an advantage in cheaper fuel prices, fewer maintenance costs, and prospective government subsidies for environmentally efficient cars [55]. In sustainable transportation, people’s intentions to use electric vehicles, especially e-jeepneys, are significantly influenced by affordability [45]. High initial costs or recurring expenses can hamper adoption. Still, their intention can also be encouraged by factors that make adoption more affordable, such as subsidies, tax breaks, or decreased operating costs. Thus, the following was hypothesized:
H11.
Affordability (AF) positively and significantly impacts the behavioral intention (BI) to use e-jeepneys.
One crucial aspect influencing people’s intention to use e-jeepneys as a mode of transportation is their perception of safety. Research has consistently shown that individuals are more inclined to use e-jeepneys or electric vehicles when they perceive them as safe modes of transportation [17]. Safety perception includes vehicle design considerations, accident rates, and overall safety features [56]. According to studies, prospective customers are more likely to use and adopt e-jeepneys when considering these vehicles to be low-risk and high-benefit solutions [17,57]. Studies have also revealed that safety standards and government restrictions influence people’s sense of safety [58,59]. People are more likely to view e-jeepneys as safe and reliable modes of transportation when they comply with safety laws and benchmarks. Thus, the following was hypothesized:
H12.
Perceived safety (PS) positively and significantly impacts the behavioral intention (BI) to use e-jeepneys.
Infrastructure, including charging stations and related facilities, is crucial in determining individuals’ behavioral intentions for EV adoption, such as e-jeepneys. The physical and logistical components that enable electric jeepneys to be a sustainable means of transportation are called infrastructure [1]. The infrastructure for e-jeepneys consists of several parts and services that use electricity more effectively and practically. Studies have repeatedly demonstrated that the accessibility and availability of e-jeepney charging infrastructure substantially impact people’s inclinations to use them [60,61]. When charging stations are nearby, people are less likely to worry about running out of power while traveling, making e-jeepneys more appealing as a realistic option [62]. Intentions to use e-jeepneys can also be favorably impacted by the availability of information on charging infrastructure, such as the locations of charging stations and their current availability, according to studies [63,64]. The availability of information increases users’ confidence in the viability of e-jeepney adoption. Thus, the following was hypothesized:
H13.
Infrastructure (IF) positively and significantly impacts the behavioral intention (BI) to use e-jeepneys.
4. Materials and Methods
4.1. Setting
The study determined the factors affecting Filipinos’ acceptance of e-jeepneys, specifically commuters in Metro Manila, Philippines. The region was considered the target locale for data gathering to achieve the study’s goals since the researchers were designated in populated areas to assess respondents based on their availability. One study by Coz et al. [65] also considered assessing the workspaces and conditions of jeepney drivers near the University of the Philippines Diliman to maintain the availability of the UP student researchers who would conduct their study. However, due to the unknown number of routes of e-jeepneys and the population of commuters who ride and travel using e-jeepneys daily, this study will employ a convenience sampling technique for data collection. The technique was appropriate for this study since it will select a sample for a broad population mainly based on convenience [66]. The research study’s target respondents were commuters aged 18 and above who have experienced or are traveling using e-jeepneys within Metro Manila.
4.2. Participants and Sampling Technique
This research study employed a non-probability sampling technique. More precisely, convenience sampling was employed through an online survey questionnaire. Convenience sampling selects participants according to their accessibility, willingness, and availability [67]. Through this sampling method, researchers can gather data quickly and efficiently [68]. Convenience sampling was used in this study due to the limitations of the researchers. Because of the limited availability of participants and financial and time restrictions, the convenience sampling technique was expected to acquire varied responses consistently in a set period. An online survey questionnaire was used for ease of distribution, completion, and collection of the survey. The participants would only require an internet connection and a smart device to complete the survey. Responses were collected instantly after completion, unlike traditional surveys, which require a logistical approach for collection.
This research study aimed to acquire and gather responses from adult commuters within Metro Manila. The projected minimum sample size was 400 in the research study, as according to Yamane’s research [69], a minimum sample size of 400 is required to obtain a 5% margin of error. This basis was used by Illescas et al.’s study entitled “Online or Traditional Learning at the Near End of the Pandemic: Assessment of Students’ Intentions to Pursue Online Learning in the Philippines” [70]. It states that convenience sampling is a non-probability method with an easy and cost-efficient way to gather data. It allows researchers to collect the target samples easily and in an accessible manner. Also, this study proves that this technique enables the relationship between researchers and participants with rarer complications. Therefore, the dataset gathered for this study will likely indicate commuters who have experience with or often use e-jeepneys as a mode of transportation.
4.3. Data Gathering Tools
The researchers decided to conduct their research study via a self-administered type of online survey questionnaire using Google Forms to ensure that the survey questionnaire would reach as many potential volunteers as possible without having to go through the trouble of meeting face-to-face. Additionally, this helped speed up the data-gathering process by surveying multiple participants at once at their convenience. The survey questionnaire was presented in English.
The survey questionnaire was adapted from the paper’s literature review and aimed to examine the factors that affected Filipinos’ acceptance of the e-jeepney as a mode of transportation. The survey questionnaire included multiple-choice questions with responses that ranged from “strongly disagree” to “strongly agree” on a 5-point Likert scale to evaluate the responses. The survey contained ten sections that affected the acceptance of commuters and consisted of 42-item questions. The first section of the questionnaire consisted of (1) a six-item question used to determine the respondent’s demographic information, such as gender, age, educational background, residential area in Metro Manila, monthly allowance/salary, and the frequency of their use of e-jeepneys (weekly). The following sections of the survey questionnaire consisted of indicators and dependent variables based on the extended Pro-Environmental Planned Behavior (PEPB) Model: (2) Perceived Authority Support (PAS), (3) Perceived Environmental Support (PEC), (4) Attitude (AT), (5) Subjective Norm (SN), (6) Perceived Behavioral Concern (PBC), (7) Affordability (AF), (8) Behavioral Intention (BI), (9) Infrastructure (IF), and (10) Perceived Safety (PS). Table 1 shows the summary of the construct and measurement items adopted from literatures.
Table 1.
Construct and Measurement Items.
4.4. Research Procedures
The online survey questionnaire was created and provided via Google Forms. The survey questionnaire served as the instrument for data collection, consisting of a series of questions that assessed the perspective of the target participants regarding the current study. The researchers evaluated the questionnaires’ relevancy, applicability, and accuracy by first providing 100 participants with a consent form to execute the data-gathering procedure officially. After receiving the consent, the researchers approached the targeted respondents with the survey questionnaire on commonly used online platforms, notably Messenger and Microsoft Teams. The researchers provided the online questionnaire to 400 targeted respondents who assessed the forms, and the answers were easily collected. Furthermore, the procedure was considered a success that gave the signal to conduct data analysis of the gathered data. The researchers applied principal component analysis (PCA), which analyzed and provided a summary of information regarding the results obtained from a vast number of respondents.
4.5. Data Analysis
The survey data that was gathered was subjected to multivariate analysis. The present investigation employed the structural equation modelling (SEM) methodology. SEM is an increasingly multivariate technique used in various studies to examine and evaluate multivariate causal relationships. Because SEM examines both direct and indirect effects and impacts on hypothesized causal relationships, it is distinct from other modelling techniques. SEM is a statistical technique developed over three generations and used for almost 100 years. The first generation of SEM used path analysis to construct the logic of causal modelling. The social sciences later transformed SEM to incorporate factor analysis. The second generation of SEM saw an increase in capacity. In 2000, the third generation of SEM started, with Judea Pearl creating the “structural causal model,” followed by Lee’s (2007) incorporation of Bayesian modelling [83].
According to Beran and Violato [84], applications of SEM include examining fundamental relationships between variables and more intricate examinations of measurement equivalence for first- and higher-order constructs. SEM also presents a versatile framework for showcasing the relationships between multiple variables [85]. This allows researchers to utilize empirical models to assess the validity of their theories. The capacity to control measurement error, one of the most considerable constraints of most studies, may be SEM’s significant benefit [86].
Confirmatory factor analysis and path analysis were statistical methods combined to form SEM. The goal of confirmatory factor analysis, which has its roots in psychometrics, is to examine hidden emotional and cognitive qualities like attitude and satisfaction. The causal connections between several variables can be explained via path analysis [87].
5. Results
5.1. Profile of Demographics
Table 2 illustrates the overview of the study’s breakdown of the participants’ profile population. Based on the numbers, 502 individuals partook in the survey from 2 January 2024, until 31 January 2024. The profile takes notes of their sex, age, place of residence in Metro Manila, educational attainment, monthly income, and daily utilization of electric jeepneys. It was observed that among the 502 respondents who answered the survey, 45% were male, 53.8% were female, and 1.2% of the respondents preferred not to say their sex. The breakdown of the age brackets circulated on the participants that were around 18 to 29 years of age, with a percentage of 94.4%, then grown-ups aged 30 to 39 years of age at 2.4%, 40 to 49 years of age at 2.2%, 50 to 59 years of age at 0.8%, and 60 years of age and beyond at 0.2%.
Table 2.
Profile of demographics.
The survey only covered the residents of Metro Manila (NCR), accumulating the most substantial percentage of individuals coming from the City of Manila at 30.9%, followed by Quezon City at 26.5% and Caloocan City at 7%. The residences with the lowest number of respondents were Pateros at 0.2%, followed by Navotas City at 0.3%, the City of San Juan at 0.5%, and there was a tie between Mandaluyong City and the City of Malabon at 1.4%. Additionally, most respondents were senior high graduates at 55%, followed by junior high graduates at 25.1%, college graduates at 17.5%, post-graduates at 2%, and elementary graduates at 0.4%.
Furthermore, 79.1% of the respondents received less than PHP 15,000 for a monthly salary/allowance, followed by receiving PHP 15,001–PHP 30,000 at 12.7%. As for the rest of the percentages, individuals who receive PHP 30,001 to PHP 45,000, more than PHP 60,000, and PHP 45,001 to PHP 60,000, correspond to the following rates: 4.6%, 2.2%, and 1.4%. Lastly, it was observed that 36.3% of the respondents only use e-jeepneys 1 to 5 times monthly as a mode of transportation, followed by 0 times at 25.9%, 6 to 10 times at 16.5%, more than 20 at 10.6%, 11 to 15 times at 6.6%, and 16 to 20 times at 4.2%.
5.2. Results of SEM
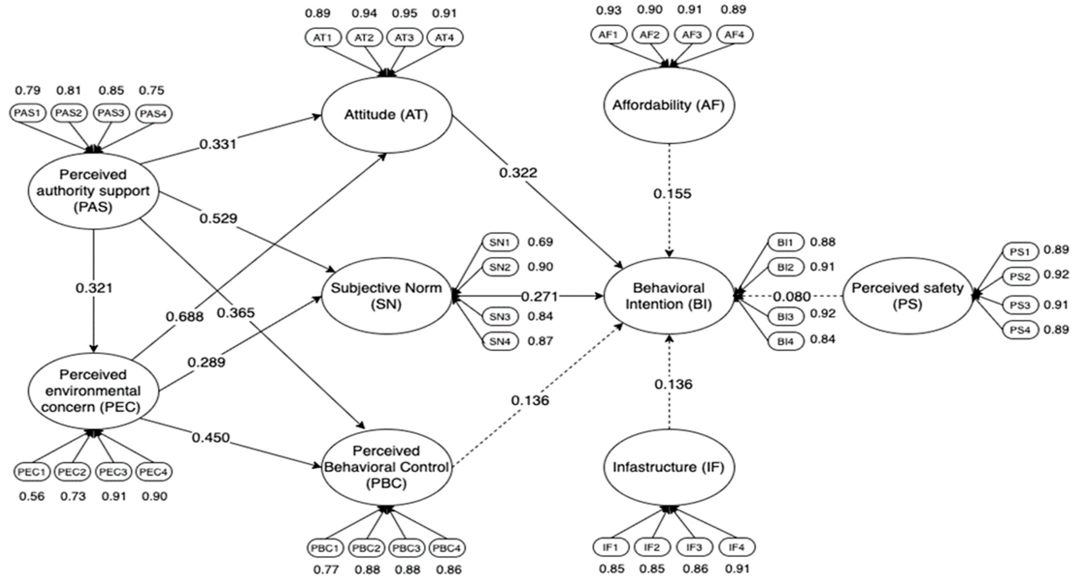
The overall results of the initial SEM as shown in Figure 2 were demonstrated regarding relationships between various factors affecting Filipinos’ acceptance of utilizing e-jeepneys. The model assessed the required accurate measurement of the observed indicators and latent variables used in the data-gathering procedure of the findings gathered from the 502 respondents. Upon observation of the initial SEM model, results displayed significant values showing adequate reliability and validity, determining the accuracy of relationships of the 13 hypotheses proposed that influence Filipinos’ acceptance of e-jeepneys. However, minor modifications must be addressed before the final SEM model is concluded.
Figure 2.
Initial structural equation modelling (SEM).
To identify the factors influencing the acceptance of Filipinos of electric jeepneys, the extended PEPB model consists of thirty-six indicators and nine latent variables. The model’s validity is detailed in Table 3. It was imperative to perform this reliability analysis before undertaking the initial SEM. The breakdown of the overview of the model of behavioral intention was conducted using Cronbach’s alpha (i), with additional validation provided by Factor Loading (FL), Composite Reliability (CR), and Average Variance Extracted (AVE). The Cronbach’s alpha, FL, and CR values must all be more significant than 0.7. Considering its role in the SEM methodology, CR assesses the dependability of the latent variables.
Table 3.
Reliability and convergent results.
In contrast, the AVE ought to be greater than 0.5. The AVE calculates the amount of variance the construct has accumulated compared with the degree of variance attributable to measurement error [88]. Table 3 reveals that two of the thirty-six indicators, SN1 and PEC1, did not meet the minimum value requirement for FL. Only the remaining 34 factors that have surpassed the requisite threshold are valid and dependable. At its core, this analysis investigates the correlation between each measure and the constructs and its internal consistency.
The study’s overall reliability factors were determined through tests provided in Table 4 and Table 5. Using the discriminant validity values of the Fornell–Larcker criterion and the Heterotrait–Monotrait correlation ratio, the tables display the distinct relationships between the given factors and determine the model recommended by [89]. Based on the statements of Hooper et al. [90], discriminant validity is demonstrated when assigned constructs have a greater value than all other construct loadings for Fornell–Larcker and, when referring to the Heterotrait–Monotrait ratio for given constructs using variance-based SEM, the threshold should be less than 0.85. The degree of difference between the overlapping constructs is measured by discriminant validity [91]. When a study uses latent variables, it is essential to evaluate the discriminant validity to ensure the model’s constructs are distinct [92]. The square root of the average variance extracted (AVE) in the Fornell–Larcker criterion must be considerably higher than the correlations between constructs to be considered valid and reliable [93].
Table 4.
Discriminant validity: Fornell–Larcker criterion.
Table 5.
Discriminant validity: Heterotrait–Monotrait ratio.
Results shown in both Table 4 and Table 5 demonstrate convergent validity and reliability since the cumulative numbers fall within the test-established acceptable structure. The conclusion has been made that the total results for every construct were valid, reliable, accurate, and adequate. The constructs in the model ought to be smaller than the squared AVEs of those constructs. Fornell and Larcker developed and cited this procedure for comparing the squared AVEs to the specified latent variables [94]. Based on the results and findings, most of the structures are approved. The conventional metric connects each latent variable’s squared AVE to every other latent variable that underwent reflective evaluation. The variances of all model constructs should not be more critical than their squared AVEs [95]. Furthermore, Table 4 and Table 5 demonstrate the most significant number in the table, which is positioned above the corresponding column. It can also be seen that all the data fit within the expected range. In general, no issues were encountered with discriminant validity, convergent validity, or reliability, and they are all in order. All the following values within the desired range properly demonstrated the structure’s reliability. According to the results in Table 4 and Table 5, the researchers concluded that the model is significantly accurate because valid convergences with the discriminants are present.
5.3. Model Fit Analysis
In Table 6, the final structural equation modelling (SEM) model revealed that nine hypotheses exhibited significant correlations. To assess the validity of the proposed model, a model fit analysis was conducted using the Standardized Root Mean Square Residual (SRMR), Chi-square (χ2) with degrees of freedom (dF), and the Normal Fit Index (NFI), in accordance with the methodologies suggested by Hu & Bentler [96] Hooper [97], and Baumgartner & Homburg [98].
Table 6.
Model fit analysis.
Table 6 indicates that the SRMR parameter is approximately 0.062, the Chi-square value is 4.03, and the NFI is 0.921. These results demonstrate that all parameter estimates exceed the minimum cut-off values recommended for model fit indices. Specifically, an SRMR value below 0.08, a Chi-square value within acceptable limits, and an NFI value above 0.90 collectively support the validity of the model. Consequently, these findings confirm that the proposed SEM model is a robust representation of the underlying data, providing strong support for the hypothesized relationships.
5.4. Final SEM’s Findings
The thirteen hypotheses’ examination revealed that nine showed statistical significance, indicating a significant impact on the acceptance of e-jeepney modernization and its service quality approach among Filipinos as shown in Table 7. This discovery highlights the importance of these aspects influencing public perception and utilizing modernized transportation systems. Furthermore, the positive correlation between the significant hypotheses and the variables emphasizes the constructive relationship between various elements of e-jeepney modernization and service quality perceived by Filipino commuters. Hypotheses H10, H11, H12, and H13 are invalidated, suggesting that they did not produce significant results in the study. This result provides valuable insights into the factors influencing acceptance. It emphasizes the necessity for further research to delve into the intricacies of public attitudes towards e-jeepney modernization in the Philippines.
Table 7.
Testing of hypotheses.
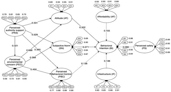
The SEM model in this study examines the relationships between perceived environmental concern (PEC), attitude (AT), perceived authority support (PAS), subjective norms (SNs), and behavioral intention (BI) towards adopting e-jeepneys. The final SEM analysis shown in Table 7 and Figure 3 revealed the following vital relationships. (1) PAS to PEC (b = 0.340, p < 0.001) indicates a positive relationship. This implies that perceived authority figures, such as policymakers and government authorities, lend credibility to information about environmental issues. Their influence can educate the public, shape social norms, and legitimize the importance of environmental concerns, ultimately fostering greater environmental awareness. This could encourage the public to be more mindful of environmental problems and embrace this effort by cutting emissions and adopting sustainable transport alternatives, such as e-jeepneys. (2) PAS also positively impacts attitude (AT) (β = 0.311, p < 0.001) and subjective norms (SNs) (β = 0.539, p < 0.001); as a result, we accept H2 and H3. This implies that authority support has heavily affected Filipinos’ attitudes and subjective norms regarding the use of e-jeepneys. Different programs and policies must be implemented to increase the interest and willingness of Filipino commuters to use alternative modes of transportation that are sustainable and eco-friendly for the environment. The adoption and demand for e-jeepneys among public preferences of commuters, drivers, and operators are impacted and encouraged by government authorities’ initiatives and influence to promote their use as a form of transportation. (3) Perceived environmental concern (PEC) has a positive influence on attitude (AT) (β = 0.707 and p < 0.001). Yichen et al. [99] emphasize the importance of promoting responsible environmental behavior (REB) to mitigate threats to the marine environment from human activities. Their study suggests that perceived behavioral control is critical in influencing attitudes towards responsible marine environmental behavior (M-REB), offering valuable insights for policymakers and educators. Their study supports the hypothesis that perceived environmental control is relevant to attitude. (4) PEC was also observed to significantly influence subjective norms (β = 0.207, p = 0.002). This suggests that Filipinos’ level of environmental awareness will drive them to engage in pro-environmental behaviors. Influence occurs through internalizing societal norms, shaping social interactions and communication, and influencing perceived social pressure. Individuals with higher levels of perceived environmental concern tend to adhere to subjective norms promoting environmentally responsible actions [99]. (5) Perceived environmental concern (PEC) positively influences perceived behavioral control (β = 0.462, p < 0.001). The results imply that environmental concern significantly affects behavioral control by enhancing motivation, providing access to resources and information, fostering social support and influence, expanding the availability of sustainable alternatives, and reinforcing personal values related to environmental responsibility. Additionally, a study by Agaton et al. [17] suggests that Filipinos perceive e-jeepneys as environmentally friendly, cost-effective, and convenient alternatives to traditional jeepneys. (6) Attitude (AT) also showed a direct significant effect on behavioral intention (BI) (β = 0.495, p = <0.001). The results show that Filipinos’ attitudes significantly correlate to people’s potency in performing behavior directed towards utilizing e-jeepneys. This is parallel to the research of Devika et al. [100], which examined the psychological factors affecting passengers’ modes of transportation. The results showed that among all the factors, attitude was the most significant factor influencing the passengers’ intention to utilize public transportation. (7) Subjective norms (SNs) appear to have a notable effect on behavioral intention (BI). The results showed that subjective norms significantly affect the purpose of purchasing, increasing considerations of the country’s society.
Figure 3.
Final SEM model.
The model fit indices indicate a good fit: SRMR = 0.062, NFI = 0.921, and Chi-square/df = 4.03. These values suggest that the model adequately represents the observed data and the hypothesized relationships. The results indicate that environmental concern is critical in shaping positive attitudes towards e-jeepneys, which drives the intention to adopt them. This underscores the importance of environmental education and awareness campaigns. Additionally, perceived support from authorities enhances societal norms, suggesting that government endorsements and policies can significantly influence public acceptance of e-jeepneys.
In conclusion, this study highlights the crucial role of environmental concern and authoritative support in shaping attitudes and societal norms towards adopting e-jeepneys. By focusing on these factors, policymakers and environmental advocates can effectively promote the transition to more sustainable public transportation. Future research should explore additional factors that may influence the adoption of e-jeepneys and assess the long-term impacts of these interventions.
6. Discussion
Introducing e-jeepneys represented a shift to modernize the Philippines’ public transportation infrastructure. To address concerns regarding jeepneys’ impact on the environment, energy use, society, the economy, and policy, it is necessary to consider their acceptability in the Philippines. This study aimed to identify the critical components influencing Filipino commuters’ acceptance of e-jeepneys, employing Partial Least Squares Structural Equation Modelling (PLS-SEM). With the help of the extended PEPB framework, nine latent factors were considered, namely perceived authority support (PAS), perceived environmental concern (PEC), attitude (AT), subjective norms (SNs), perceived behavioral control (PBC), behavioral intention (BI), infrastructure (IF), perceived safety (PS), and affordability (AF).
As seen in the results, perceived authority support (PAS) positively affects perceived environmental concern. This result is supported by several sustainability-related studies that proved the effect of perceived authority support (PAS) on perceived environmental concern (PEC) in transportation and other green mode acceptance. Ong et al. [75] examined the effects of governmental endorsements and policies on public opinion on hybrid car use in the Philippines. The study results showed that higher government support and clear policies focusing on the development of EV adoption were positively related to increased public attention and concern about the environment related to the transport sector. Also, research by Song et al. [101] investigated the effect of local government leadership and regulatory provisions on the public’s perception of electric buses in Chinese cities. The researchers observed that relaying government policies and bus deployment support enhanced environmental concerns and awareness among residents. This suggests the benefit of advocating for policies and initiatives that support adopting and promoting e-jeepneys as environmentally friendly transportation options.
PAS also positively impacts attitudes and subjective norms. Several sustainability-related research studies that demonstrate the impact of perceived authority support (PAS) on attitude (AT) and subjective norm (SNs) in transportation support this conclusion. Even if the market for electric vehicles (EVs) is receiving more attention, EV penetration is still low globally. That is why the research by Srivastava et al. [102] observed the adoption of battery-powered vehicles from the perspective of subsidy and taxation policies to create a sustainable and viable ecosystem of electric vehicles. In a similar study by Li et al. [103], the study’s results investigate and examine the efficacy of several policies and initiatives that have contributed to the EV sector’s explosive growth in China, the country with, by far, the largest EV market globally. The researchers concluded that when government authorities implement policies that support electric vehicles, there is an increase in demand for EVs. Enacting the same policies and initiatives can increase the demand for e-jeepneys.
Furthermore, perceived authority support significantly impacted perceived behavioral concern (PBC). When trusted authorities endorse behaviors or express concern about an issue, it validates individuals’ concerns, reinforcing the importance of addressing the problem and potentially resulting in increased awareness and behavioral change. In the research conducted by Gumasing et al. [82], the investigation focused on understanding the components influencing Filipinos’ acceptance of clean energy applications, utilizing the Pro-Environmental Planned Behavior (PEPB) model as a framework. Their findings revealed that increased authority support positively impacted perceived behavioral concerns among Filipinos regarding renewable energies. This implies that when there is more significant support from authoritative figures or institutions, individuals are more likely to see environmental issues as substantial and feel compelled to act.
Furthermore, by encouraging preferences for sustainable products, cultivating brand devotion and trust, boosting eagerness to pay higher prices, and endorsing environmental initiatives, it is inferred from the data that buyers who prioritize environmental sustainability will become more prepared to hold favorable perceptions of environmentally friendly brands and products, consequently stimulating market demand. This is supported by the finding that perceived environmental concern (PEC) positively influences attitude (AT).
PEC was also observed to influence subjective norms significantly. This finding is evidenced by related studies that confirmed the significant influence of perceived environmental concern (PEC) on subjective norms. One research study by Buhmann et al. [104] examined the factors influencing consumers’ intention to use battery-powered vehicles (BEVs). The study showed an indirect positive effect of environmental concern on consumers’ subjective norms on fully adopting BEVs. German et al. [73] also identified the factors influencing consumers’ intention to select a delivery carrier in the Philippines during the COVID-19 pandemic. The study determined the positive effect of perceived environmental concern on the subjective norms of Filipino consumers. These results suggest that consumers are concerned with pro-environmental matters, obliging them to uphold pro-environmental behaviors.
A significant direct correlation was also observed, that perceived environmental concern (PEC) positively influences perceived behavioral control. There are related studies supporting the credibility of the gathered findings. A survey aligned with the findings conducted by Wang et al. [105] examined the factors influencing the willingness of Chinese millennials to purchase green cars. The study provided similar conclusions, stating that consumers’ perceived environmental concern significantly positively affects their perceived behavioral control. Another study by Zhou et al. [106] examined the determinants influencing Chinese taxi drivers to adopt battery-powered vehicles for their daily livelihood. The study’s results showed that environmental concerns positively affected the willingness of taxi drivers to purchase electric cars. The results imply that people’s ecological concern affects their behavioral control, concluding with positive pro-environmental behavior. Therefore, it is advised that extensive public awareness efforts be launched to inform Filipino commuters about electric vehicles’ financial and environmental advantages and promote their adoption by providing incentives like tax breaks or subsidies.
Attitude (AT) also significantly affected behavioral intention (BI). The study’s findings confirmed the considerable influence of attitude (AT) on one’s behavioral intention (BI). The researchers observed that passengers’ strength of intention to use public transportation is driven by their satisfaction. This suggests supporting transportation services and initiatives that provide satisfaction and a good impression to support acceptance of e-jeepneys and the intention to utilize e-jeepneys.
Subjective norms (SNs) have a notable effect on behavioral intention (BI). The results showed that subjective norms significantly affect the purpose of purchasing, considering the benefit to the country’s society. Jayasingh et al. [107] studied the factors influencing buyers’ intentions to adopt electric bikes. The results revealed that social influence significantly affects consumers’ intention to purchase electric bike vehicles, providing helpful information for administrations and two-wheeler companies to better understand consumer behavior towards purchasing electric two-wheeler vehicles. This suggests that administrations should improve the publicity of EVs, thus supporting the promotion of the sustainable growth of EVs.
Meanwhile, perceived behavioral control (PBC) shows an indirect effect on behavioral intention (BI) (β = 0.136, p = 0.160), rejecting H10. The result implies that the perceptions of Filipino commuters’ inclinations do not significantly affect their behavioral intention while utilizing e-jeepneys as a form of transportation. The insignificant relationship between the variables addresses the circumstances in which people might not have complete control over their behavior or interests [50]. The demand for and adoption of e-jeepneys are dependent on citizens’ perceptions. According to the study by Thompson et al. [52], prior experience, modelling, anticipated assistance, and possible challenges can all affect commuters’ perceptions of using e-jeepneys as a form of transportation. The researchers concluded that commuters’ perceived behavioral control (PBC) is greatly supported by their confidence in their ability to make decisions, their positive outlook on the future use of e-jeepneys, and environmental limitations.
In examining the acceptance of e-jeepneys, it is essential to critically analyze our findings, particularly the significant influence of affordability, perceived safety, and infrastructure on e-jeepney acceptance compared to the existing literature.
Contrary to our expectations, our study did not find a significant influence of affordability on the acceptance of e-jeepneys. This contrasts with several previous studies that have identified affordability as a critical factor influencing the adoption of electric vehicles (EVs). For example, research by Egbue & Long [108] and Tarei et al. [109] found that the high upfront cost of EVs compared to conventional vehicles was a significant barrier to their adoption. The lack of influence of affordability in our study may be attributed to several factors. Firstly, government subsidies and incentives aimed at promoting e-jeepney adoption have mitigated cost concerns among respondents, thus diminishing the perceived barrier of affordability. Additionally, the relatively lower operating costs of e-jeepneys compared to traditional vehicles could have influenced respondents’ perceptions, leading to the insignificance of affordability as a determining factor.
Affordability is an important issue influencing people’s decisions to use alternative transportation. The support for subsidies and support of this alternative mode of transportation may account for the insignificant connection between the factors. Some transport groups looked to raise fares to offset the rising cost of fuels, particularly diesel, for their vehicles. Studies show that if consumers think e-jeepneys are more cost-effective and affordable than other forms of public transportation, they are more inclined to consider adopting them [110,111]. Thus, it is recommended that the government provide substantial investments, subsidies, and support for electric vehicles (EVs) to overcome this obstacle and encourage Filipino commuters to use e-jeepneys as a mode of transportation.
Similarly, our study did not find a significant influence of perceived safety on e-jeepney acceptance, despite safety being a commonly cited concern in EV adoption literature. Previous research by Gong et al. [112] and Li et al. [113] highlighted safety concerns related to battery technology, vehicle stability, and crashworthiness as deterrents to EV adoption. However, our study’s finding of the insignificance of perceived safety suggests that respondents may perceive e-jeepneys as sufficiently safe or that safety considerations are overshadowed by other factors such as environmental benefits or cost savings. It is also possible that the sample population in our study, primarily urban adults, may have different safety perceptions compared to other demographic groups or regions, influencing the overall results.
Furthermore, our study did not find infrastructure availability to be a significant factor in e-jeepney acceptance, contrary to previous research that emphasized the importance of charging infrastructure and range anxiety in EV adoption. Studies by Kumar et al. [114] and Engel et al. [115] have identified limited charging infrastructure as a significant barrier to EV adoption, particularly in regions with inadequate infrastructure development. However, in our study, the lack of influence of infrastructure may indicate that respondents perceive existing infrastructure to be adequate for e-jeepney operation or that factors such as the convenience and accessibility of charging stations are less critical in urban settings, where e-jeepneys predominantly operate.
Overall, the lack of significant influences of affordability, perceived safety, and infrastructure in e-jeepney acceptance highlights the complexity of EV adoption dynamics and the need for context-specific analysis. While our findings may diverge from the existing literature, they provide valuable insights into the unique considerations shaping e-jeepney acceptance in the Philippines. Addressing these nuances is crucial for policymakers and stakeholders in devising effective strategies to promote e-jeepney adoption and accelerate the transition to a sustainable transportation system.
7. Conclusions
The present study adheres to rigorous methodological standards to ensure the validity and replicability of the findings. A large-scale survey methodology was employed, with responses gathered from 502 commuters across different demographic groups in the Philippines. The use of standardized survey instruments and statistical analyses enhances the reliability of the results and facilitates their comparability with future studies. Furthermore, detailed documentation of the research methodology, including the survey questionnaires and data analysis procedures, was provided to enable other researchers to replicate the present study and validate its findings.
The insights generated from this research have significant implications for policymakers, urban planners, and transportation stakeholders in the Philippines. By identifying the critical determinants of e-jeepney adoption, the study’s findings can inform the development of targeted interventions and policy measures to promote the widespread adoption of sustainable transportation solutions. Moreover, the study underscores the importance of public awareness campaigns and stakeholder engagement initiatives to facilitate the transition towards e-jeepney-based transport systems. Through these efforts, the study aims to contribute to the realization of a more sustainable and environmentally friendly transportation landscape in the Philippines.
7.1. Practical and Managerial Implication
Given the sustainability benefits of e-jeepneys, commuters may want to use the vehicles for transportation. The constructs also showed a travel intention regarding e-jeepneys, showing a future intention to use them. Further, the findings demonstrated how authority support, attitude, and safety, environmental, and economic concerns have influenced the decisions of the present generation to use e-jeepneys. Developers and manufacturers of e-jeepneys should also consider sustainability when advertising their products. Standard advertisements should highlight and focus on safety, the consumption of electricity, and the technical components and features of the e-jeepney. With the evident establishment and development of vehicles at present, the utilization of fuel depicted in advertisements must be decreased when it comes to car technology’s noticeable effects and advancement, and advertisements should focus more on electric consumption. Therefore, the sustainability aspects of the economic and environmental benefits must be utilized. Given how cars are developing and advancing technologically, ads highlighting fuel usage should be lessened; instead, they should emphasize the use of electric cars. Employing and utilizing the components of sustainable economic and environmental benefits is essential.
The government should prioritize Filipino commuters’ willingness, attitude, and support in embracing e-jeepneys as an option for transportation. Because this study examined the beneficial effects of aid from the government on Filipino citizens’ desires and attitudes to utilize transportation, the study’s key findings and results may be used by the authorities as the primary grounds for current initiatives and strategies in the jeepney field. To accomplish the desired level of sustainability, the authorities must consider the possible effects and impacts of higher fares on its citizens due to the purchase and acquisition of new e-jeepney models that require a significant amount of the government’s budget.
E-jeepneys are one of the rising forms of transportation in the Philippines. Thus, manufacturers and developers need to continue improving their quality and services. Understanding these circumstances could help guide transportation groups and the transportation system in providing a safe and comfortable journey for the Filipino people. It is recommended that the government, operators, and manufacturers further enhance safety measures inside and outside the e-jeepneys to increase the satisfaction and safety of the Filipino people with the service these automobiles provide. Their service incorporates routine supervision of e-jeepney units to prevent issues such as mechanical concerns that could cause accidents and mishaps. Furthermore, a higher degree of security and customer fulfilment throughout the entire service would result from guaranteeing passenger safety throughout loading and unloading stops. The country should consider the community, the government, utilities, and the infrastructure of the e-jeepneys for the Philippines to adjust to this condition. The government should support and promote effective and functioning transportation and resources as developing nations showcase their plans. In the end, this would help the country’s overall sustainability.
7.2. Theoretical Implication
Using the PEPB model, the study showcased a thorough structure for assessing the behavioral intentions of Filipino commuters regarding the use of e-jeepneys as a mode of transportation. Compared to previous studies, a significant difference this study delivers is a broader investigation of various factors relating to the acceptance of e-jeepneys. In a manner identical to the prior studies’ results, the factors examined in this study show influential correlations, with the exclusion of correlations of perceived behavioral control, affordability, safety, and infrastructure to behavioral intention. These results presented a relevant and reliable outcome, adding insights to our understanding of the relationships between public awareness, government initiatives, knowledge of environmental issues, and concerns about commuters’ behavior towards adopting e-jeepneys as a modern approach to the transportation system. Furthermore, the study’s developed framework may be a basis for future researchers wishing to explore different sections or areas of the transport system, regardless of the industry and process.
7.3. Limitations and Future Research
The study was administered with a limited scope, potentially overlooking various factors influencing commuter acceptance that needed to be accounted for by the researchers, indicating a need for further investigation into the broader aspects of commuter preferences. Additionally, the study took place amidst controversy surrounding e-jeepneys, which could have influenced respondents’ perceptions of the vehicles. We acknowledge the importance of conducting research in contexts free from external biases for its validity. Lastly, convenience sampling was utilized in the study, which allowed a larger pool of respondents; however, this method may have resulted in a lack of diversity in participant demographics and experiences, suggesting a need for more diverse sampling techniques to capture a broader range of perspectives. Hence, future researchers must consider obtaining samples from more varied geographic environments and regions to further accurately articulate Filipinos’ acceptance of e-jeepneys and their service quality approach. Additionally, it is recommended that future research analyze the gender-specific needs and challenges associated with e-jeepney use to ensure that this mode of transport is equitable and accessible to all users. Since this study relies on a sample of commuters who voluntarily answered the survey questionnaire, this self-selection bias may affect the sample’s representativeness and, consequently, the generalizability of the results. Therefore, future researchers should consider whether e-jeepneys provide a gender-equitable mode of transport. Future research should examine gender-specific needs and challenges like safety, accessibility, affordability, and convenience. Understanding these factors can help us design transport systems that cater to the needs of all users, thereby promoting inclusivity and equity.
Author Contributions
Conceptualization, M.J.J.G.; methodology, E.D.R.R., J.N.C.C., A.J.B.O., J.M.R.P. and L.G.B.U.; software, E.D.R.R., J.N.C.C., A.J.B.O., J.M.R.P. and L.G.B.U.; validation, M.J.J.G. and M.M.M.; formal analysis, M.J.J.G. and M.M.M.; investigation, M.J.J.G.; resources, M.J.J.G.; data curation, E.D.R.R., J.N.C.C., A.J.B.O., J.M.R.P. and L.G.B.U.; writing—original draft acquisition, E.D.R.R., J.N.C.C., A.J.B.O., J.M.R.P. and L.G.B.U.; writing—review and editing, M.J.J.G., E.D.R.R., J.N.C.C., A.J.B.O., J.M.R.P., L.G.B.U. and M.M.M.; visualization, M.J.J.G.; supervision, M.J.J.G., A.K.S.O. and M.M.M.; project administration, M.J.J.G., A.K.S.O. and M.M.M.; funding acquisition, M.J.J.G. and A.K.S.O. All authors have read and agreed to the published version of the manuscript.
Funding
This research was funded by Mapúa University Directed Research for Innovation and Value Enhancement (DRIVE) (Funding No. FM-RS-03-81).
Institutional Review Board Statement
This study was approved by the School of Industrial Engineering and Engineering Management Mapua University Research Ethics Committees (approval code: FM-RC-22-45 and approval date: 22 January 2023).
Informed Consent Statement
Informed consent was obtained from all subjects involved in the study.
Data Availability Statement
The data presented in this study are available on request from the corresponding author. The data are not publicly available due to restrictions. Data collected are under specific consent agreements.
Conflicts of Interest
The authors declare no conflicts of interest.
References
- Gumasing, M.J.J.; Prasetyo, Y.T.; Ong, A.K.S.; Persada, S.F.; Nadlifatin, R. Analyzing the service quality of e-trike operations: A new sustainable transportation infrastructure in Metro Manila, Philippines. Infrastructures 2022, 7, 69. [Google Scholar] [CrossRef]
- Nasution, A.A.; Erwin, K.; Bartuska, L. Determinant study of conventional transportation and online transportation. Transp. Res. Procedia 2020, 44, 276–282. [Google Scholar] [CrossRef]
- Sovacool, B.K.; Brown, M.A. Twelve metropolitan carbon footprints: A preliminary comparative global assessment. Energy Policy 2010, 38, 4856–4869. [Google Scholar] [CrossRef]
- Perlora, J. Why Should We Keep Jeepneys: A Cultural and Practical Perspective. Diyaryo Milenyo Digital News. 6 March 2023. Available online: https://diyaryomilenyonews.com/2023/03/06/why-we-should-keep-jeepneys-a-cultural-and-practical-perspective/ (accessed on 6 March 2023).
- Paragas, F. Being mobile with the mobile: Cellular telephony and renegotiations of public transport as public sphere. In Mobile Communications; Springer: London, UK, 2005; pp. 113–129. [Google Scholar] [CrossRef]
- Malasique, A.M.P.; Rosete, M.A.L. Analyzing the implementation of the public utility vehicle modernization program (PUVMP) to the employment of PUV drivers in the Philippines. J. Ind. Eng. Manag. Res. 2022, 3, 45–62. [Google Scholar]
- Villegas, E.; Chino, N.; Ledres, B.; Estember, R. Physical Assessment and Perceived Quality of e-Jeepney in Metro Manila. 2021. Available online: https://www.ieomsociety.org/singapore2021/papers/1199.pdf (accessed on 2 February 2023).
- Cuaresma, N.A.C.; Patalinghug, Q.S.; Viejo, R.C.B.V. Feasibility study of e-Jeepney as an alternative mode of transportation in complex and Solenad 2, Nuvali, Santa Rosa City, Laguna. Phil. E-J. 2022, 18. [Google Scholar]
- Agaton, C.B.; Guno, C.S.; Villanueva, R.O.; Villanueva, R.O. Diesel or electric jeepney? A case study of transport investment in the Philippines using the real options approach. World Electr. Veh. J. 2019, 10, 51. [Google Scholar] [CrossRef]
- Atos, M.S.; Cabe, K.H.C.; Gomez, C.J.; Padupad, C.L. Modernized Tradition: Transformation of Public Transport. DLSU Senior High School Research Congress. 2021. Available online: https://animorepository.dlsu.edu.ph/conf_shsrescon/2021/paper_spl/2/ (accessed on 12 March 2023).
- Mendoza, T.C. Addressing the “Blind Side” of the Government’s Jeepney “Modernization” Program. University of the Philippines Center for Integrative and Development Studies. 2021. Available online: https://cids.up.edu.ph/wp-content/uploads/2022/02/UP-CIDS-Discussion-Paper-2021-02.pdf (accessed on 2 February 2023).
- Lu, B.J. Navigating the Landscape of Jeepney Modernization. In The Philippine News Agency; 6 January 2024. Available online: https://www.pna.gov.ph/opinion/pieces/813-navigating-the-landscape-of-jeepney-modernization (accessed on 6 January 2024).
- Nicholas, M.A.; Tal, G.; Turrentine, T.S. Advanced Plug-in Electric Vehicle Travel and Charging Behavior Interim Report. Escholarship.org. 2017. Available online: https://escholarship.org/uc/item/9c28789j (accessed on 5 February 2023).
- Duke, M.; Andrews, D.; Anderson, T. The feasibility of long range battery electric cars in New Zealand. Energy Pol. 2009, 37, 3455–3462. [Google Scholar] [CrossRef]
- Cano, Z.P.; Banham, D.; Ye, S.; Hintennach, A.; Lu, J.; Fowler, M.; Chen, Z. Batteries and fuel cells for emerging electric vehicle markets. Nat. Energy 2018, 3, 279–289. [Google Scholar] [CrossRef]
- Wang, X.; Osvalder, A.-L.; Höstmad, P. Influence of sound and vibration on perceived overall ride comfort—A comparison between an electric vehicle and a combustion engine vehicle. SAE Int. J. Veh. Dyn. Stab. NVH 2023, 7, 153–171. [Google Scholar] [CrossRef]
- Agaton, C.B.; Collera, A.A.; Guno, C.S. Socio-economic and environmental analyses of sustainable public transport in the Philippines. Sustainability 2020, 12, 4720. [Google Scholar] [CrossRef]
- Verma, M.; Verma, A.; Khan, M. Factors influencing the adoption of electric vehicles in Bengaluru. Trans. Dev. Econ. 2020, 6, 17. [Google Scholar] [CrossRef]
- Sovacool, B.K. Experts, theories, and electric mobility transitions: Toward an integrated conceptual framework for the adoption of electric vehicles. Energy Res. Soc. Sci. 2017, 27, 78–95. [Google Scholar] [CrossRef]
- Guo, J.; Zhang, X.; Gu, F.; Zhang, H.; Fan, Y. Does air pollution stimulate electric vehicle sales? Empirical evidence from twenty major cities in China. J. Clean. Prod. 2020, 249, 119372. [Google Scholar] [CrossRef]
- Nanaki, E.A.; Koroneos, C.J. Comparative economic and environmental analysis of conventional, hybrid and electric vehicles—The case study of Greece. J. Clean. Prod. 2013, 53, 261–266. [Google Scholar] [CrossRef]
- Liu, X.; Sun, X.; Zheng, H.; Huang, D. Do policy incentives drive electric vehicle adoption? Evidence from China. Transp. Res. Part A Policy Pract. 2021, 150, 49–62. [Google Scholar] [CrossRef]
- Arvidsson, N.; Browne, M. A review of the success and failure of tram systems to carry urban freight: The implications for a low emission intermodal solution using electric vehicles on trams. Eur. Trans. 2013, 54, 1–5. Available online: https://ideas.repec.org/a/sot/journl/y2013i54p5.html (accessed on 12 February 2023).
- Newman, P.; Hargroves, K.; Davies-Slate, S.; Conley, D.; Verschuer, M.; Mouritz, M.; Yangka, D. The trackless tram: Is it the transit and city shaping catalyst we have been waiting for? J. Trans. Technol. 2019, 9, 31–55. [Google Scholar] [CrossRef]
- Graham, J.D.; Brungard, E. Consumer adoption of plug-in electric vehicles in selected countries. Future Transp. 2021, 1, 303–325. [Google Scholar] [CrossRef]
- Kosai, S.; Noguchi, H.; Fuse, M.; Yamasue, E. Transport energy efficiency in domestic long-distance travel in Japan. Trans. Res. Rec. 2021, 2676, 636–648. [Google Scholar] [CrossRef]
- Li, Z.; Wu, L.; Xu, Y.; Zheng, X. Stochastic-weighted robust optimization based bilayer operation of a multi-energy building microgrid considering practical thermal loads and battery degradation. IEEE Trans. Sustain. Energy 2021, 13, 668–682. [Google Scholar] [CrossRef]
- Shang, Y.; Li, S. FedPT-V2G: Security enhanced federated transformer learning for real-time V2G dispatch with non-IID data. Appl. Energy 2024, 358, 122626. [Google Scholar] [CrossRef]
- Shang, Y.; Shang, Y.; Yu, H.; Shao, Z.; Jian, L. Achieving efficient and adaptable dispatching for vehicle-to-grid using distributed edge computing and attention-based LSTM. IEEE Trans. Ind. Inform. 2021, 18, 6915–6926. [Google Scholar] [CrossRef]
- Ajzen, I. The theory of planned behavior. Org. Behav. Hum. Decis. Proc. 1991, 50, 179–211. [Google Scholar] [CrossRef]
- Bosnjak, M.; Ajzen, I.; Schmidt, P. The theory of planned behavior: Selected recent advances and applications. Eur. J. Psychol. 2020, 16, 352–356. [Google Scholar] [CrossRef]
- La Barbera, F.; Ajzen, I. Control interactions in the theory of planned behavior: Rethinking the role of subjective norm. Eur. J. Psychol. 2020, 16, 401–417. [Google Scholar] [CrossRef] [PubMed]
- Asare, M. Using the theory of planned behavior to determine the condom use behavior among college students. Am. J. Health Stud. 2015, 30, 43–50. Available online: https://www.ncbi.nlm.nih.gov/pmc/articles/PMC4621079/ (accessed on 12 March 2024). [CrossRef]
- Pourmand, G.; Doshmangir, L.; Ahmadi, A.; Noori, M.; Rezaeifar, A.; Mashhadi, R.; Pourmand, A.; Gordeev, V.S. An application of the theory of planned behavior to self-care in patients with hypertension. BMC Public Health 2020, 20, 1290. [Google Scholar] [CrossRef]
- Mufidah, I.; Jiang, B.C.; Lin, S.C.; Chin, J.; Rachmaniati, Y.P.; Persada, S.F. Understanding the consumers’ behavior intention in using green ecolabel product through pro-environmental planned behavior model in developing and developed regions: Lessons learned from Taiwan and Indonesia. Sustainability 2018, 10, 1423. [Google Scholar] [CrossRef]
- Persada, S.F. Pro-Environmental Planned Behavior Model to Explore the Citizens’ Participation Intention in Environmental Impact Assessment: An Evidence Case in Indonesia; National Taiwan University of Science and Technology: Taipei, Taiwan, 2016. [Google Scholar]
- Lin, S.-C.; Nadlifatin, R.; Amna, A.; Persada, S.; Razif, M. Investigating citizen behavior intention on mandatory and voluntary pro-environmental programs through a pro-environmental planned behavior model. Sustainability 2017, 9, 1289. [Google Scholar] [CrossRef]
- Frisnedi, A.F.D.; Angeles, M. Oh my, jeepney moving thru the 21st century. Int. J. Sci. Res. 2021. Available online: https://www.researchgate.net/profile/April-Faith-Frisnedi-3/publication/355463198_Licensed_Under_Creative_Commons_Attribution_CC_BY_Oh_My_Jeepney_Moving_Thru_the_21_st_Century/links/61716e05c10b387664cb2a32/Licensed-Under-Creative-Commons-Attribution-CC-BY-Oh-My-Jeepney-Moving-Thru-the-21-st-Century.pdf (accessed on 9 March 2024).
- Chin, J.; Jiang, B.; Mufidah, I.; Persada, S.; Noer, B. The investigation of consumers’ behavior intention in using green skincare products: A pro-environmental behavior model approach. Sustainability 2018, 10, 3922. [Google Scholar] [CrossRef]
- Fransson, N.; Garling, T. Environmental concern: Conceptual definitions, measurement methods, and research findings. J. Environ. Psychol. 1999, 19, 369–382. [Google Scholar] [CrossRef]
- Sreen, N.; Purbey, S.; Sadarangani, P. Understanding the relationship between different facets of materialism and attitude toward green products. J. Glob. Mark. 2020, 33, 396–416. [Google Scholar] [CrossRef]
- Tandon, A.; Dhir, A.; Kaur, P.; Kushwah, S.; Salo, J. Why do people buy organic food? The moderating role of environmental concerns and trust. J. Retail. Consum. Serv. 2020, 57, 102247. [Google Scholar] [CrossRef]
- Bamberg, S. How does environmental concern influence specific environmentally related behaviors? A new answer to an old question. J. Environ. Psychol. 2003, 23, 21–32. [Google Scholar] [CrossRef]
- Gumasing, M.J.J.; Bayola, A.; Bugayong, S.L.; Cantona, K.R. Determining the factors affecting Filipinos’ acceptance of the use of renewable energies: A pro-environmental planned behavior model. Sustainability 2023, 15, 7702. [Google Scholar] [CrossRef]
- United Nation ESCAP. Review of Developments in Transport in Asia and the Pacific 2021: Towards Sustainable, Inclusive and Resilient Urban Passenger Transport in Asian Cities. ESCAP 2021. Available online: https://www.unescap.org/kp/2021/review-developments-transport-asia-and-pacific-2021-towards-sustainable-inclusive-and (accessed on 21 April 2023).
- Ajzen, I. Constructing a TPB Questionnaire: Conceptual and Methodological Considerations. Semantic Scholar. 2002. Available online: https://api.semanticscholar.org/CorpusID:16126700 (accessed on 21 April 2023).
- Ham, M.; Jeger, M.; Frajman Ivković, A. The role of subjective norms in forming the intention to purchase green food. Econ. Res.-Ekon. Istraživanja 2015, 28, 738–748. [Google Scholar] [CrossRef]
- Perez, R.E.; Ng, A.C.L.; Tiglao, N.C.C. Enhancing policy capacity through co-design: The case of local public transportation in the Philippines. Policy Des. Pract. 2022, 5, 103–121. [Google Scholar] [CrossRef]
- Eriksson, L.; Forward, S.E. Is the intention to travel in a pro-environmental manner and the intention to use the car determined by different factors? Transp. Res. Part D Transp. Environ. 2011, 16, 372–376. [Google Scholar] [CrossRef]
- Barua, P. The moderating role of perceived behavioral control: The literature criticism and methodological considerations. Int. J. Bus. Soc. Sci. 2013, 4, 57–59. Available online: https://citeseerx.ist.psu.edu/document?repid=rep1&type=pdf&doi=457166e371c9a7f73d61e86f1ca3132c89a00f64 (accessed on 10 March 2024).
- Tavousi, M.; Hidarnia, A.R.; Montazeri, A.; Hajizadeh, E.; Taremain, F.; Ghofranipour, F. Are perceived behavioral control and self-efficacy distinct constructs. Eur. J. Sci. Res. 2009, 30, 146–152. Available online: https://www.researchgate.net/publication/289715491_Are_Perceived_Behavioral_Control_and_Self-Efficacy_Distinct_Constructs (accessed on 10 March 2024).
- Thompson, J.K.; Ata, R.; Roehrig, M.; Chait, S. Tanning: Natural and artificial. Ency. Body Image Hum. Appear. 2012, 775–782. [Google Scholar] [CrossRef]
- Rosellon, M.A.D. Clean Energy Technology in the Philippines: Case of the Electric Vehicle Industry. PIDS Discussion Paper Series. 2021. Available online: https://www.econstor.eu/handle/10419/241063 (accessed on 10 March 2024).
- Bandara, U.C.; Amarasena, T.S.M. Impact of relative advantage, perceived behavioural control and perceived ease of use on intention to adopt with solar energy technology in Sri Lanka. In Proceedings of the 2018 International Conference and Utility Exhibition on Green Energy for Sustainable Development (ICUE), IEEE Xplore, Phuket, Thailand, 24–26 October 2018. [Google Scholar] [CrossRef]
- Palmer, K.; Tate, J.E.; Wadud, Z.; Nellthorp, J. Total cost of ownership and market share for hybrid and electric vehicles in the UK, US, and Japan. Sci. Direct. 2018, 209, 108–119. Available online: https://www.sciencedirect.com/science/article/abs/pii/S030626191731526X (accessed on 21 April 2023). [CrossRef]
- Oppenheim, I.; Shinar, D. A context-sensitive model of driving behaviour and its implications for in-vehicle safety systems. Cogn. Technol. Work. 2012, 14, 261–281. [Google Scholar] [CrossRef]
- Cruz, K.P.C.D.; Tolentino, L.K.S. Unlocking the market potential of electric vehicles in the Philippines: A statistical and neural network approach to customer willingness to purchase electric vehicles. Int. J. Innov. Res. Sci. Stud. 2023, 6, 888–902. [Google Scholar] [CrossRef]
- Barghamadi, M.; Kapoor, A.; Wen, C. A review on li-s batteries as a high efficiency rechargeable lithium battery. J. Electrochem. Soc. 2013, 160, A1256–A1263. [Google Scholar] [CrossRef]
- Amalberti, R. The paradoxes of almost totally safe transportation systems. Saf. Sci. 2001, 37, 109–126. [Google Scholar] [CrossRef]
- Shitole, M.V.; Duggal, M. Sustainable supply chain management for evs in India. Online J. Dist. Educ. E-Learn. 2023, 11, 2583–2591. Available online: https://www.tojned.net/journals/tojdel/articles/v11i02b/v11i02b-102.pdf (accessed on 2 February 2023).
- Josh, F.T.; Vinodha, K.; Ramya, K.C.; Chacko, S.; Gunapriya, B. Execution of smart electric vehicle charging station driven by RE technology. In Proceedings of the 2021 IEEE Mysore Sub Section International Conference (MysuruCon), IEEE Xplore, Hassan, India, 24–25 October 2021. [Google Scholar] [CrossRef]
- Ala, G.; Di Filippo, G.; Viola, F.; Giglia, G.; Imburgia, A.; Romano, P.; Miceli, R. Different scenarios of electric mobility: Current situation and possible future developments of fuel cell vehicles in Italy. Sustainability 2020, 12, 564. [Google Scholar] [CrossRef]
- Greene, D.L.; Kontou, E.; Borlaug, B.; Brooker, A.; Muratori, M. Public charging infrastructure for plug-in electric vehicles: What is it worth? Transp. Res. Part D Transp. Environ. 2020, 78, 102182. [Google Scholar] [CrossRef]
- Das, P.K.; Bhat, M.Y. Global electric vehicle adoption: Implementation and policy implications for India. Environ. Sci. Pollut. Res. 2022, 29, 40612–40622. [Google Scholar] [CrossRef] [PubMed]
- Coz, M.C.; Flores, P.J.; Hernandez, K.L.; Portus, A.J. An ergonomic study on the UP-Diliman jeepney driver’s workspace and driving conditions. Procedia Manuf. 2015, 3, 2597–2604. [Google Scholar] [CrossRef][Green Version]
- Etikan, I.; Musa, S.A.; Alkassim, R.S. Comparison of convenience sampling and purposive sampling. Amer. J. Theor. Appl. Stat. 2016, 5, 1–4. [Google Scholar] [CrossRef]
- Nikolopoulou, K. What Is Convenience Sampling? | Definition & Example. Scibbr. 2022. Available online: https://www.scribbr.com/methodology/convenience-sampling/?fbclid=IwAR1MPWbs0ZaPqaVEU4pcmLJ1tkWtCDMOk-rGHIkSSK2Gvitpui0S3-Ivkk0#:~:text=In%20the%20absence%20of%20a,strong%20hypothesis%20or%20research%20question (accessed on 12 March 2023).
- Jager, J.; Putnick, D.L.; Bornstein, M.H. More than just convenient: The scientific merits of homogenous convenience samples. Monog. Soc. Res. Child Dev. 2017, 82, 13–30. [Google Scholar] [CrossRef]
- Yamane, T. Statistics, an introductory analysis. J. Am. Stat. Assoc. 1965, 60, 678–680. [Google Scholar] [CrossRef]
- Illescas, M.K.A.; Ong, A.K.S.; German, J.D. Online or traditional learning at the near end of the pandemic: Assessment of students’ intentions to pursue online learning in the Philippines. Sustainability 2023, 15, 6611. [Google Scholar] [CrossRef]
- German, J.D.; Redi, A.A.N.P.; Prasetyo, Y.T.; Persada, S.F.; Ong, A.K.S.; Young, M.N.; Nadlifatin, R. Choosing a package carrier during COVID-19 pandemic: An integration of pro-environmental planned behavior (PEPB) theory and service quality (SERVQUAL). J. Clean. Prod. 2022, 346, 131123. [Google Scholar] [CrossRef] [PubMed]
- Soorani, F.; Ahmadvand, M. Determinants of consumers’ food management behavior: Applying and extending the theory of planned behavior. Waste Manag. 2019, 98, 151–159. [Google Scholar] [CrossRef] [PubMed]
- German, J.D.; Ong, A.K.S.; Perwira Redi, A.A.N.; Robas, K.P.E. Predicting factors affecting the intention to use 3PL during the COVID-19 pandemic: A machine learning ensemble approach. Heliyon 2022, 8, e11382. [Google Scholar] [CrossRef]
- Carfora, V.; Cavallo, C.; Caso, D.; Del Giudice, T.; De Devitiis, B.; Viscecchia, R.; Nardone, G.; Cicia, G. Explaining consumer purchase behavior for organic milk: Including trust and green self-identity within the theory of planned behavior. Food Qual. Prefer. 2019, 76, 1–9. [Google Scholar] [CrossRef]
- Ong, A.K.S.; Cordova, L.N.Z.; Longanilla, F.A.B.; Caprecho, N.L.; Javier, R.A.V.; Borres, R.D.; German, J.D. Purchasing intentions analysis of hybrid cars using random forest classifier and deep learninng. World Electr. Veh. J. 2023, 14, 227. [Google Scholar] [CrossRef]
- Venkatesh, V.; Thong, J.Y.L.; Xu, X. Consumer acceptance and use of information technology: Extending the unified theory of acceptance and use of technology. MIS Q. 2012, 36, 157–178. [Google Scholar] [CrossRef]
- Barbopoulos, I.; Johansson, L.O. The consumer motivation scale: A detailed review of item generation, exploration, confirmation, and validation procedures. Data Brief. 2017, 13, 88–107. [Google Scholar] [CrossRef]
- Prasetyo, Y.T.; Tanto, H.; Mariyanto, M.; Hanjaya, C.; Young, M.N.; Persada, S.F.; Miraja, B.A.; Redi, A.A.N.P. Factors affecting customer satisfaction and loyalty in online food delivery service during the COVID-19 pandemic: Its relation with open innovation. J. Open Innov. Technol. Market Complex. 2021, 7, 76. [Google Scholar] [CrossRef]
- Van Droogenbroeck, E.; Van Hove, L. Adoption and usage of e-grocery shopping: A context-specific UTAUT2 model. Sustainability 2021, 13, 4144. [Google Scholar] [CrossRef]
- Okamura, T.; Kaneko, Y.; Nakamura, F.; Wang, R. Passengers’ attitudes to the service items of jeepneys in Metro Manila by different lifestyles. J. East. Asia Soc. Transp. Stud. 2013, 10, 1384–1395. [Google Scholar] [CrossRef]
- Tiglao, N.C.C.; De Veyra, J.M.; Tolentino, N.J.Y.; Tacderas, M.A.Y. The perception of service quality among paratransit users in Metro Manila using structural equations modelling (SEM) approach. Res. Transp. Econ. 2020, 83, 100955. [Google Scholar] [CrossRef]
- Gumasing, M.J.J.; Tadina, K.P.V.; Vidamo, N.D. Sustainability model of e-jeepney operations in Paranaque, Metro Manila. In Proceedings of the 2021 IEEE 8th International Conference on Industrial Engineering and Applications (ICIEA), IEEE Xplore, Chengdu, China, 23–26 April 2021; pp. 247–251. [Google Scholar] [CrossRef]
- Fan, Y.; Chen, J.; Shirkey, G.; John, R.; Wu, S.; Park, H.; Shao, C. Applications of structural equation modeling (SEM) in ecological studies: An updated review. Ecol. Proc. 2016, 5, 19. [Google Scholar] [CrossRef]
- Beran, T.N.; Violato, C. Structural equation modeling in medical research: A primer. BMC Res. Notes 2010, 3, 267. [Google Scholar] [CrossRef]
- Sarstedt, M.; Cheah, J.-H. Partial least squares structural equation modeling using SmartPLS: A software review. J. Market. Anal. 2019, 7, 196–202. [Google Scholar] [CrossRef]
- Dakduk, S.; Gonzalez, Á.; Portalanza, A. Learn about Structural Equation Modeling in SmartPLS with Data from the Customer Behavior in Electronic Commerce Study in Ecuador (2017); SAGE Publications, Ltd.: Thousand Oaks, CA, USA, 2019. [Google Scholar] [CrossRef]
- Abdi, H.; Williams, L.J. Principal component analysis. Wiley Interdiscip. Rev. Comput. Stat. 2010, 2, 433–459. [Google Scholar] [CrossRef]
- Alarcón, D.; Sánchez, J.A. Assessing convergent and discriminant validity in the ADHD-R IV rating scale: User-written commands for average variance extracted (AVE), composite reliability (CR), and heterotrait-monotrait ratio of correlations (HTMT). Univ. Pablo Olavide 2015, 39, 1–39. Available online: https://www.stata.com/meeting/spain15/abstracts/materials/spain15_alarcon.pdf (accessed on 10 March 2024).
- Henseler, J.; Ringle, C.M.; Sarstedt, M. A new criterion for assessing discriminant validity in variance-based structural equation modeling. J. Acad. Market. Sci. 2015, 43, 115–135. [Google Scholar] [CrossRef]
- Hooper, D.; Coughlan, J.; Mullen, M. Evaluating model fit: A synthesis of the structural equation modelling literature. In Proceedings of the 7th European Conference on Research Methodology for Business and Management Studies, London, UK, 19–20 June 2008; pp. 195–200. Available online: https://books.google.com.ph/books?hl=en&lr&id=ZZoHBAAAQBAJ&oi=fnd&pg=PA195&dq=Evaluating+model+fit%3A+a+synthesis+of+the+structural+equation+modelling+literature.&ots=gXXLXwVwa8&sig=8EhOXHVh6VvbPf722L4wYrxKKYg&redir_esc=y&fbclid=IwAR2tnAlGahXgRYmy2X1rB-KZ0JsGkS-qYDgbsdstJ7mV6YJAUxw_ILCCsHY#v=onepage&q=Evaluating%20model%20fit%3A%20a%20synthesis%20of%20the%20structural%20equation%20modelling%20literature.&f=false (accessed on 10 March 2024).
- Hair, J.F., Jr.; Hult, G.T.M.; Ringle, C.M.; Sarstedt, M. A primer on partial least squares structural equation modeling (PLS-SEM). Sage Publications. Eur. J. Tour. Res. 2014. Available online: https://www.researchgate.net/publication/358793637_Hair_J_F_Jr_Hult_G_T_M_Ringle_C_M_Sarstedt_M_2014_A_Primer_on_Partial_Least_Squares_Structural_Equation_Modeling_PLS-SEM_Sage_Publications_ISBN_978-1-4522-1744-4_307_pp (accessed on 13 February 2024).
- Azeez, S.T.; Akinlabi, E.T. Friction stir welding of aluminum alloy: Principle, processing, and safety. In Advances in Welding Technologies for Process Development; CRC Press: Boca Raton, FL, USA, 2019; pp. 261–279. [Google Scholar]
- Alexander, V.; Sindhu, K.N.C.; Zechariah, P.; Resu, A.V.; Nair, S.R.; Kattula, D.; Mohan, V.R.; Alex, T.R.G. Occupational safety measures and morbidity among welders in Vellore, Southern India. Int. J. Occup. Environ. Health 2016, 22, 300–306. [Google Scholar] [CrossRef] [PubMed]
- Yusoff, A.S.M.; Peng, F.S.; Razak, F.Z.A.; Mustafa, W.A. Discriminant validity assessment of religious teacher acceptance: The use of HTMT criterion. J. Phys. Conf. Ser. 2020, 1529, 042045. [Google Scholar] [CrossRef]
- Fornell, C.; Larcker, D.F. Evaluating structural equation models with unobservable variables and measurement error. J. Market. Res. 1981, 18, 39–50. [Google Scholar] [CrossRef]
- Hu, L.; Bentler, P.M. Fit indices in covariance structure modeling: Sensitivity to underparameterized model misspecification. Psychol. Meth. 1998, 3, 424–453. [Google Scholar] [CrossRef]
- Hooper, D.; Coughlan, J.; Mullen, M. Structural equation modeling: Guidelines for determining model fit. J. Bus. Res. Meth. 2008, 6, 53–60. Available online: https://arrow.tudublin.ie/buschmanart/2/ (accessed on 18 March 2024).
- Baumgartner, H.; Homburg, C. Applications of structural equation modeling in marketing and consumer research: A review. Int. J. Res. Market. 1996, 13, 139–161. [Google Scholar] [CrossRef]
- Yichen, L.; Liu, G.; Chang, C.Y.; Lin, C.; Huang, C.; Chen, L.; Yeh, T.K. Perceived behavioral control as a mediator between attitudes and intentions toward marine responsible environmental behavior. Water 2021, 13, 580. [Google Scholar] [CrossRef]
- Devika, R.; Harikrishna, M.; Anjaneyulu, M.V. Influence of psychological factors in mode choice decision making: A structural equation modeling approach. Transp. Res. Proc. 2020, 48, 2821–2830. Available online: https://www.sciencedirect.com/science/article/pii/S2352146520306554?via%3Dihub (accessed on 18 March 2024). [CrossRef]
- Song, Z.; Li, S. The underlying reasons behind the development of public electric buses in China: The Beijing case. Sustainability 2020, 12, 688. [Google Scholar] [CrossRef]
- Srivastava, A.; Kumar, R.R.; Chakraborty, A.; Manteen, A.; Narayanamurthly, G. Design and selection of government policies for electric vehicles adoption: A global perspective. Transp. Res. Part E Log. Transp. Rev. 2022, 161, 102726. [Google Scholar] [CrossRef]
- Li, S.; Zhu, X.; Ma, Y.; Zhang, F.; Zhou, H. The role of government in the market for electric vehicles: Evidence from China. J. Policy Anal. Manag. 2021, 41, 450–485. [Google Scholar] [CrossRef]
- Buhmann, K.M.; Rialp-Criado, J.; Rialp-Criado, A. Predicting consumer intention to adopt battery electric vehicles: Extending the theory of planned behavior. Sustainability 2024, 16, 1284. [Google Scholar] [CrossRef]
- Wang, L.; Zhang, Q.; Wong, P.P. Purchase intention for green cars among Chinese millennials: Merging the value–attitude–behavior theory and theory of planned behavior. Front. Psychol. 2022, 13, 316. Available online: https://www.frontiersin.org/journals/psychology/articles/10.3389/fpsyg.2022.786292/full (accessed on 2 February 2023). [CrossRef]
- Zhou, M.; Long, P.; Kong, N.; Zhao, L.; Jia, F.; Campy, K.S. Characterizing the motivational mechanism behind Taxi Driver’s adoption of electric vehicles for living: Insights from China. Transp. Res. A Policy Pract. 2021, 144, 134–152. [Google Scholar] [CrossRef]
- Jayasingh, S.; Girija, T.; Arunkumar, S. Factors influencing consumers’ purchase intention towards electric two-wheelers. Sustainability 2021, 13, 12851. [Google Scholar] [CrossRef]
- Egbue, O.; Long, S. Barriers to widespread adoption of electric vehicles: An analysis of consumer attitudes and perceptions. Energy Policy 2012, 48, 717–729. [Google Scholar] [CrossRef]
- Tarei, P.K.; Chand, P.; Gupta, H. Barriers to the adoption of electric vehicles: Evidence from India. J. Clean. Prod. 2021, 291, 125847. [Google Scholar] [CrossRef]
- Guno, C.S.; Collera, A.A.; Agaton, C.B. Barriers and drivers of transition to sustainable public transport in the Philippines. World Electr. Veh. J. 2021, 12, 46. [Google Scholar] [CrossRef]
- Vertudazo, M. DOST Touts e-jeep, LPG-powered Jeeps for PUJ Modernization. In GOVPH; 9 March 2023. Available online: https://pcieerd.dost.gov.ph/news/latest-news/513-dost-toutse-jeep-lpg-powered-jeeps-for-puj-modernization (accessed on 9 March 2023).
- Gong, C.; Liu, J.; Han, Y.; Hu, Y.; Yu, H.; Zeng, R. Safety of electric vehicles in crash conditions: A review of hazards to occupants, regulatory activities and technical support. IEEE Trans. Trans. Electrif. 2021, 8, 3870–3883. [Google Scholar] [CrossRef]
- Li, Z.; Duan, L.B.; Cheng, A.G.; Yao, Z.P.; Chen, T.; Yao, W. Lightweight and crashworthiness design of an electric vehicle using a six-sigma robust design optimization method. Eng. Opt. 2018, 51, 1393–1411. [Google Scholar] [CrossRef]
- Kumar, R.R.; Chakraborty, A.; Mandal, P. Promoting electric vehicle adoption: Who should invest in charging infrastructure? Trans. Res. Part E Logist. Trans. Rev. 2021, 149, 102295. [Google Scholar] [CrossRef]
- Engel, H.; Hensley, R.; Knupfer, S.; Sahdev, S. Charging ahead: Electric-vehicle infrastructure demand. McKinsey Cent. Future Mobil. 2018, 8, 1–8. Available online: https://www.mckinsey.com/industries/automotive-and-assembly/our-insights/charging-ahead-electric-vehicle-infrastructure-demand (accessed on 12 March 2023).
Disclaimer/Publisher’s Note: The statements, opinions and data contained in all publications are solely those of the individual author(s) and contributor(s) and not of MDPI and/or the editor(s). MDPI and/or the editor(s) disclaim responsibility for any injury to people or property resulting from any ideas, methods, instructions or products referred to in the content. |
© 2024 by the authors. Licensee MDPI, Basel, Switzerland. This article is an open access article distributed under the terms and conditions of the Creative Commons Attribution (CC BY) license (https://creativecommons.org/licenses/by/4.0/).


