Optimization Design of Parking Models Based on Complex and Random Parking Environments
Abstract
:1. Introduction
- The autonomous vehicle is a symmetrical four-wheeled passenger car with a rectangular body. It adopts front-wheel steering and rear-wheel driving;
- During the vehicle’s motion, the velocity direction at the control point aligns with the direction angle of the trajectory point. The instantaneous turning radius is equal to the curvature radius of the trajectory point;
- The autonomous vehicle travels on an ideal and flat road surface, neglecting any vertical motion of the vehicle;
- Longitudinal and lateral aerodynamic factors are ignored;
- The vehicle acceleration does not exceed 3 m/s2. During the acceleration phase, the constant jerk is assumed to be 20 m/s3;
- All turning maneuvers are assumed to be a constant jerk motion with a circular arc trajectory;
- The maximum centripetal acceleration during a turn is assumed to be equal to the maximum deceleration during braking;
- The time consumed by the friction between the vehicle tires and the ground is negligible;
- Some relevant data of the vehicle included the following: it was 4.9 m long, 1.8 m wide, had a maximum steering wheel angle of 470°, and a steering wheel and front wheel angle of transmission ratio of 16:1 (steering wheel rotation 16°, front wheel rotation 1°).
2. Model Establishment
2.1. Unmanned Vehicle Turning Minimum Radius Solving Problem
2.1.1. Solving the Minimum Radius of Unmanned Vehicles
- (1)
- Vehicle steering principle
- (2)
- Vehicle formulas of motion
- (3)
- Vehicle kinematic model
- (4)
- Minimum turning radius solution
- R = minimum turning radius of the vehicle (minimum);
- L = vehicle length;
- W = vehicle width;
- D = vehicle minimum turning lane width;
- φ = vehicle direction maximum turning angle; (steering wheel maximum turning angle/16 = 470/16 = 29.375).
2.1.2. Unmanned Vehicles Accelerate in a Straight Line
- (1)
- Modeling.
- When , we assumed that and the speed is . The route is . The formula is as follows:The solution is: ; .
- When , thereafter, acceleration is , and the acceleration is . Then, the distance is as follows:The result is obtained as follows:
- In other cases, the distance traveled during the acceleration phase can be calculated using the following formula: > 0, > 0, as the maximum value.
2.1.3. Calculation of the Rate of Change of the Relative Path Curvature Length
2.2. Unmanned Vehicle Parking Trajectory
2.2.1. Unmanned Vehicle Reverse Parking Model
- (1)
- Based on the collision analysis at the vertex D of the vehicle body, the width of the parking space, Sy, is determined. As shown in Figure 7, the radius of the arc covered by the vertex D of the car is calculated as:
- (2)
- To determine the length Sx of the parking space and the maximum value of R1 based on the potential collision between the vehicle’s vertex C and the parking space’s endpoint B′, the distance between the turning center O1 of the right rear wheel when the steering wheel is turned left and the parking space’s boundary A′B′ is obtained using [62]:
- (3)
- The minimum value of R2, denoted as R2min, is estimated based on the potential collision between the vehicle vertex B and an obstacle on the other side of the parking space, as shown in Figure 9. The radius of the curvature of the arc covered by the vehicle vertex B is obtained using:
- (4)
- As shown in Figure 10, based on the analysis of potential collisions between the extended line of the wheel contact point ad and the right side of the vehicle body at point e and the parking space, the maximum value of R2, denoted as R2max, can be determined according to Figure 11. The following formula can be derived:
2.2.2. Unmanned Vehicle Vertical Parking Space Parking Model
- (1)
- Steering system
- (2)
- Uniform acceleration and uniform linear travelUniform acceleration:Uniform linear:
- (3)
- Slow down and reverse parking
2.2.3. Unmanned Vehicle Parking Path Model
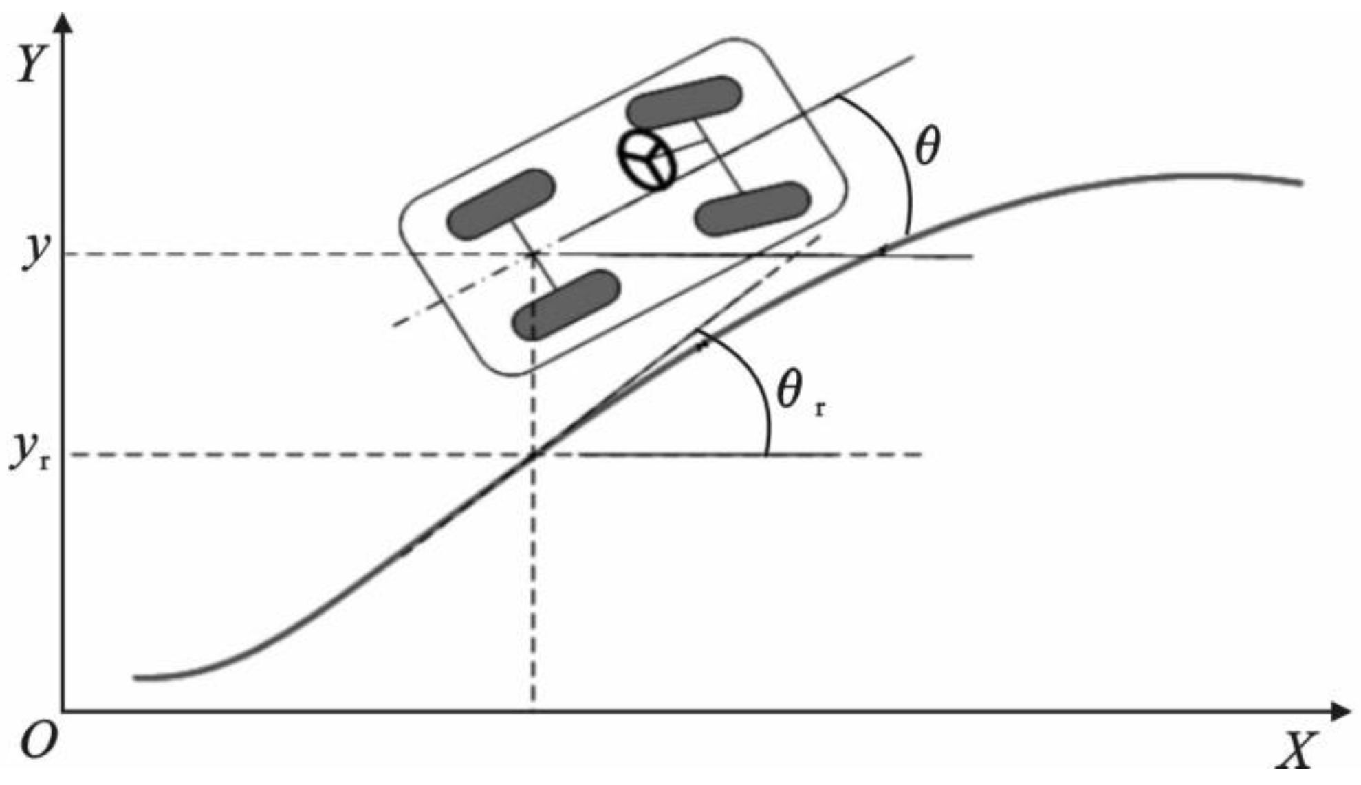
- (1)
- Parking path tracking control law
- (2)
- Parallel parking space parking model
- First turn:
- The first straight-line travel:Uniform straight line:Deceleration:
- Second turn:
- Third turn:
- Second straight sectionUniform straight line:
- Slow down and reverse parking:
- Find the total time:22.404 + 1.1 = 23.504 s
- (3)
- Unmanned vehicle 45° inclined parking space parking model
3. Problem Solving
3.1. Optimal Parking Space Parking Model
- (1)
- Parking-oriented analysis
- (2)
- Curve Analysis
- (3)
- Straight-line path analysis
- (A)
- Δθi = 0, time required ti:
- (B)
- Δθi = π/2, time required ti:
- (C)
- Δθi = π, time required ti:
- (4)
- Reversing path analysis
- reversing process vehicle position in the speed bump or reverse driving: t3i = S3i/V2.
- reversing process of vehicle position in a straight line in addition to speed bumps: t3i = S3i/V3.
- the driver parks at point i, which means there is no parking space in front of him, otherwise he may consider the space in front of him;
- If i is the optimal parking space, it means that there is no more parking space after i. Summing up the above two points, the probability of successful parking can be found as follows:
3.2. Unmanned Vehicle Parking Modeling
- In order to facilitate the study so that only one vehicle can enter at a time and adjacent vehicles will not have an impact on each other.
- The vehicles leave the parking space so that the neighboring vehicles enter the parking lot between t1(x1).t2(x2), respectively; then, Δt = t2(x2) − t1(x1).
- The number of vehicles leaving this parking lot in the Δt interval is randomly generated, and the corresponding parking space number is also randomly generated.
- In the process of vehicles entering the parking lot until the completion of the parking behavior, no other vehicles leave the parking space.
- The above algorithm was implemented and simulated using MATLAB 2021a.
3.3. Optimal Parking Space Driving Trajectory Simulation
4. Conclusions
Supplementary Materials
Author Contributions
Funding
Data Availability Statement
Conflicts of Interest
References
- Sirithinaphong, T.; Chamnongthai, K. The recognition of car license plate for automatic parking system. In Proceedings of the ISSPA’99, the Fifth International Symposium on Signal Processing and Its Applications (IEEE Cat. No. 99EX359), Brisbane, Australia, 22–25 August 1999; IEEE: New York, NY, USA, 1999; Volume 1, pp. 455–457. [Google Scholar]
- Massaro, M.; Limebeer, D.J.N. Minimum-lap-time optimisation and simulation. Veh. Syst. Dyn. 2021, 59, 1069–1113. [Google Scholar] [CrossRef]
- Yu, Z.; Li, Y.; Xiong, L. Overview of Unmanned Vehicle Motion Planning Algorithms. J. Tongji Univ. (Nat. Sci.) 2017, 45, 1150–11591. [Google Scholar]
- Zhao, J.-S.; Liu, X.; Feng, Z.-J.; Dai, J.S. Design of an Ackermann-type steering mechanism. Proc. Inst. Mech. Eng. Part C J. Mech. Eng. Sci. 2013, 227, 2549–2562. [Google Scholar] [CrossRef]
- Marin, L.; Valles, M.; Soriano, A.; Valera, A.; Albertos, P. Event-based localization in ackermann steering limited resource mobile robots. IEEE/ASME Trans. Mechatron. 2013, 19, 1171–1182. [Google Scholar] [CrossRef]
- Behere, S.; Törngren, M. A functional architecture for autonomous driving. In Proceedings of the First International Workshop on Automotive Software Architecture, Montreal, QC, Canada, 4–8 May 2015; pp. 3–10. [Google Scholar]
- Wang, W.; Song, Y.; Zhang, J.; Deng, H. Automatic parking of vehicles: A review of literatures. Int. J. Automot. Technol. 2014, 15, 967–978. [Google Scholar] [CrossRef]
- Hsu, T.-H.; Liu, J.-F.; Yu, P.-N.; Lee, W.-S.; Hsu, J.-S. Development of an automatic parking system for vehicle. In Proceedings of the 2008 IEEE Vehicle Power and Propulsion Conference, Harbin, China, 3–5 September 2008; IEEE: New York, NY, USA, 2008; pp. 1–6. [Google Scholar]
- Bibi, N.; Majid, M.N.; Dawood, H.; Guo, P. Automatic parking space detection system. In Proceedings of the 2017 2nd International Conference on Multimedia and Image Processing (ICMIP), Wuhan, China, 17–19 March 2017; IEEE: New York, NY, USA, 2017; pp. 11–15. [Google Scholar]
- Faisal, A.; Kamruzzaman, M.; Yigitcanlar, T.; Currie, G. Understanding autonomous vehicles. J. Transp. Land Use 2019, 12, 45–72. [Google Scholar] [CrossRef]
- Schwarting, W.; Alonso-Mora, J.; Rus, D. Planning and decision-making for autonomous vehicles. Annu. Rev. Control Robot. Auton. Syst. 2018, 1, 187–210. [Google Scholar] [CrossRef]
- Kato, S.; Takeuchi, E.; Ishiguro, Y.; Ninomiya, Y.; Takeda, K.; Hamada, T. An open approach to autonomous vehicles. IEEE Micro 2015, 35, 60–68. [Google Scholar] [CrossRef]
- Fagnant, D.J.; Kockelman, K. Preparing a nation for autonomous vehicles: Opportunities, barriers and policy recommendations. Transp. Res. Part A Policy Pract. 2015, 77, 167–181. [Google Scholar] [CrossRef]
- Duarte, F.; Ratti, C. The impact of autonomous vehicles on cities: A review. J. Urban Technol. 2018, 25, 3–18. [Google Scholar] [CrossRef]
- Janai, J.; Güney, F.; Behl, A.; Geiger, A. Computer vision for autonomous vehicles: Problems, datasets and state of the art. Found. Trends® Comput. Graph. Vis. 2020, 12, 1–308. [Google Scholar] [CrossRef]
- Brenner, W.; Herrmann, A. An overview of technology, benefits and impact of automated and autonomous driving on the automotive industry. In Digital Marketplaces Unleashed; Springer: Berlin/Heidelberg, Germany, 2018; pp. 427–442. [Google Scholar]
- Yurtsever, E.; Lambert, J.; Carballo, A.; Takeda, K. A survey of autonomous driving: Common practices and emerging technologies. IEEE Access 2020, 8, 58443–58469. [Google Scholar] [CrossRef]
- Savkin, A.V.; Teimoori, H. Bearings-only guidance of a unicycle-like vehicle following a moving target with a smaller minimum turning radius. IEEE Trans. Autom. Control. 2010, 55, 2390–2395. [Google Scholar] [CrossRef]
- Domenici, P. The scaling of locomotor performance in predator–prey encounters: From fish to killer whales. Comp. Biochem. Physiol. Part A Mol. Integr. Physiol. 2001, 131, 169–182. [Google Scholar] [CrossRef] [PubMed]
- Howland, H.C. Optimal strategies for predator avoidance: The relative importance of speed and manoeuvrability. J. Theor. Biol. 1974, 47, 333–350. [Google Scholar] [CrossRef] [PubMed]
- Zhileykin, M.; Eranosyan, A. Algorithms for dynamic stabilization of rear-wheel drive two-axis vehicles with a plug-in rear axle. In IOP Conference Series: Materials Science and Engineering, Proceedings of the 245th ECS Meeting, San Francisco, CA, USA, 26–30 May 2024; IOP Publishing: Bristol, UK, 2020; Volume 963, p. 012010. [Google Scholar]
- Simionescu, P.A.; Beale, D. Synthesis and analysis of the five-link rear suspension system used in automobiles. Mech. Mach. Theory 2002, 37, 815–832. [Google Scholar] [CrossRef]
- Riedel-Lyngskær, N.; Petit, M.; Berrian, D.; Poulsen, P.B.; Libal, J.; Jakobsen, M.L. A spatial irradiance map measured on the rear side of a utility-scale horizontal single axis tracker with validation using open source tools. In Proceedings of the 2020 47th IEEE Photovoltaic Specialists Conference (PVSC), Calgary, AB, Canada, 15 June–21 August 2020; IEEE: New York, NY, USA, 2020; pp. 1026–1032. [Google Scholar]
- An, Z.; Meng, X.; Ji, X.; Xu, X.; Liu, Y. Design and performance of an off-axis free-form mirror for a rear mounted augmented-reality head-up display system. IEEE Photonics J. 2021, 13, 3052726. [Google Scholar] [CrossRef]
- Unser, M.; Aldroubi, A.; Eden, M. B-spline signal processing. I. Theory. IEEE Trans. Signal Process. 1993, 41, 821–833. [Google Scholar] [CrossRef]
- Gordon, W.J.; Riesenfeld, R.F. B-spline curves and surfaces. In Computer Aided Geometric Design; Academic Press: Cambridge, MA, USA, 1974; pp. 95–126. [Google Scholar]
- Buffa, A.; Sangalli, G.; Vázquez, R. Isogeometric methods for computational electromagnetics: B-spline and T-spline discretizations. J. Comput. Phys. 2014, 257, 1291–1320. [Google Scholar] [CrossRef]
- Parumasur, N.; Adetona, R.A.; Singh, P. Efficient solution of burgers’, modified burgers’ and KdV–burgers’ equations using B-spline approximation functions. Mathematics 2023, 11, 1847. [Google Scholar] [CrossRef]
- Briand, T.; Monasse, P. Theory and practice of image B-spline interpolation. Image Process. Line 2018, 8, 99–141. [Google Scholar] [CrossRef]
- Unser, M.; Aldroubi, A.; Eden, M. B-spline signal processing. II. Efficiency design and applications. IEEE Trans. Signal Process. 1993, 41, 834–848. [Google Scholar] [CrossRef]
- Wang, Y.; Tang, S.; Deng, M. Modeling nonlinear systems using the tensor network B-spline and the multi-innovation identification theory. Int. J. Robust Nonlinear Control. 2022, 32, 7304–7318. [Google Scholar] [CrossRef]
- Riedel, F. Optimal stopping with multiple priors. Econometrica 2009, 77, 857–908. [Google Scholar]
- Reikvam, K. Viscosity solutions of optimal stopping problems. Stoch. Stoch. Rep. 1998, 62, 285–301. [Google Scholar] [CrossRef]
- López, F.J.; San Miguel, M.; Sanz, G. Lagrangean methods and optimal stopping. Optimization 1995, 34, 317–327. [Google Scholar] [CrossRef]
- Svensson, L.; Masson, L.; Mohan, N.; Ward, E.; Brenden, A.P.; Feng, L.; Törngren, M. Safe stop trajectory planning for highly automated vehicles: An optimal control problem formulation. In Proceedings of the 2018 IEEE Intelligent Vehicles Symposium (IV), Changshu, China, 26–30 June 2018; IEEE: New York, NY, USA, 2018; pp. 517–522. [Google Scholar]
- Xu, J.; Chen, G.; Xie, M. Vision-guided automatic parking for smart car. In Proceedings of the IEEE Intelligent Vehicles Symposium 2000 (Cat. No. 00TH8511), Dearborn, MI, USA, 5 October 2000; IEEE: New York, NY, USA, 2000; pp. 725–730. [Google Scholar]
- Ma, S.; Jiang, H.; Han, M.; Xie, J.; Li, C. Research on automatic parking systems based on parking scene recognition. IEEE Access 2017, 5, 21901–21917. [Google Scholar] [CrossRef]
- Song, Y.; Liao, C. Analysis and review of state-of-the-art automatic parking assist system. In Proceedings of the 2016 IEEE International Conference on Vehicular Electronics and Safety (ICVES), Beijing, China, 10–12 July 2016; IEEE: New York, NY, USA, 2016; pp. 1–6. [Google Scholar]
- Jung, H.G.; Kim, D.S.; Yoon, P.J.; Kim, J. Parking slot markings recognition for automatic parking assist system. In Proceedings of the 2006 IEEE Intelligent Vehicles Symposium, Tokyo, Japan, 13–15 June 2006; IEEE: New York, NY, USA, 2006; pp. 106–113. [Google Scholar]
- Zhang, P.; Xiong, L.; Yu, Z.; Fang, P.; Yan, S.; Yao, J.; Zhou, Y. Reinforcement learning-based end-to-end parking for automatic parking system. Sensors 2019, 19, 3996. [Google Scholar] [CrossRef]
- Suhr, J.K.; Jung, H.G. Automatic parking space detection and tracking for underground and indoor environments. IEEE Trans. Ind. Electron. 2016, 63, 5687–5698. [Google Scholar] [CrossRef]
- Conejero, J.A.; Jordán, C.; Sanabria-Codesal, E. An iterative algorithm for the management of an electric car-rental service. J. Appl. Math. 2014, 2014, 483734. [Google Scholar] [CrossRef]
- Onieva, E.; Alonso, J.; Pérez, J.; Milanes, V.; de Pedro, T. Autonomous car fuzzy control modeled by iterative genetic algorithms. In Proceedings of the 2009 IEEE International Conference on Fuzzy Systems, Jeju, Republic of Korea, 20–24 August 2009; IEEE: New York, NY, USA, 2009; pp. 1615–1620. [Google Scholar]
- Divelbiss, A.W.; Wen, J.T. Trajectory tracking control of a car-trailer system. IEEE Trans. Control Syst. Technol. 1997, 5, 269–278. [Google Scholar] [CrossRef]
- Ritzinger, U.; Puchinger, J.; Hartl, R.F. A survey on dynamic and stochastic vehicle routing problems. Int. J. Prod. Res. 2016, 54, 215–231. [Google Scholar] [CrossRef]
- Jeong, S.; Jang, Y.J.; Kum, D. Economic analysis of the dynamic charging electric vehicle. IEEE Trans. Power Electron. 2015, 30, 6368–6377. [Google Scholar] [CrossRef]
- Yoerger, D.R.; Cooke, J.G.; Slotine JJ, E. The influence of thruster dynamics on underwater vehicle behavior and their incorporation into control system design. IEEE J. Ocean. Eng. 1990, 15, 167–178. [Google Scholar] [CrossRef]
- Kang, C.M.; Lee, S.H.; Chung, C.C. Comparative evaluation of dynamic and kinematic vehicle models. In Proceedings of the 53rd IEEE Conference on Decision and Control, Los Angeles, CA, USA, 15–17 December 2014; IEEE: New York, NY, USA, 2014; pp. 648–653. [Google Scholar]
- Rokonuzzaman, M.; Mohajer, N.; Nahavandi, S.; Mohamed, S. Model predictive control with learned vehicle dynamics for autonomous vehicle path tracking. IEEE Access 2021, 9, 128233–128249. [Google Scholar] [CrossRef]
- Chai, R.; Tsourdos, A.; Savvaris, A.; Chai, S.; Xia, Y.; Chen, C.L.P. Design and implementation of deep neural network-based control for automatic parking maneuver process. IEEE Trans. Neural Netw. Learn. Syst. 2020, 33, 1400–1413. [Google Scholar] [CrossRef] [PubMed]
- Zhao, J.; Zhang, X.; Shi, P.; Liu, Y. Automatic driving control method based on time delay dynamic prediction. In Proceedings of the Cognitive Systems and Signal Processing: Third International Conference, ICCSIP 2016, Beijing, China, 19–23 November 2016; Revised Selected Papers 3. Springer: Singapore, 2017; pp. 443–453. [Google Scholar]
- Li, X.; Li, Q.; Yin, C.; Zhang, J. Autonomous navigation technology for low-speed small unmanned vehicle: An overview. World Electr. Veh. J. 2022, 13, 165. [Google Scholar] [CrossRef]
- Backman, J.; Oksanen, T.; Visala, A. Navigation system for agricultural machines: Nonlinear model predictive path tracking. Comput. Electron. Agric. 2012, 82, 32–43. [Google Scholar] [CrossRef]
- Berclaz, J.; Fleuret, F.; Turetken, E.; Fua, P. Multiple object tracking using k-shortest paths optimization. IEEE Trans. Pattern Anal. Mach. Intell. 2011, 33, 1806–1819. [Google Scholar] [CrossRef]
- Jiang, H.; Fels, S.; Little, J.J. A linear programming approach for multiple object tracking. In Proceedings of the 2007 IEEE Conference on Computer Vision and Pattern Recognition, Minneapolis, MN, USA, 17–22 June 2007; IEEE: New York, NY, USA, 2007; pp. 1–8. [Google Scholar]
- Hua, L.; Chen, M.; Han, X.; Zhang, X.; Zheng, F.; Zhuang, W. Research on the vibration model and vibration performance of cold orbital forging machines. Proc. Inst. Mech. Eng. Part B J. Eng. Manuf. 2022, 236, 828–843. [Google Scholar] [CrossRef]
- Chen, M.; Zhang, X.; Zhuang, W.; Shu, Y.; Zhou, Z.; Xiong, W. Kinematics and dynamics simulations of cold orbital forging machines based on ADAMS. Proc. Inst. Mech. Eng. Part B J. Eng. Manuf. 2023, 237, 250–260. [Google Scholar] [CrossRef]
- Gu, Z.; Chen, M.; Wang, C.; Zhuang, W. Static and Dynamic Analysis of a 6300 KN Cold Orbital Forging Machine. Processes 2021, 9, 7. [Google Scholar] [CrossRef]
- Chen, M.; Ning, X.; Zhou, Z.; Shu, Y.; Tang, Y.; Cao, Y.; Shang, X.; Han, X. LMS/RLS/OCTAVE Vibration Controls of Cold Orbital Forging Machines for Improving Quality of Forged Vehicle Parts. World Electr. Veh. J. 2022, 13, 76. [Google Scholar] [CrossRef]
- Wang, Y.; Chen, L.; Zhou, L. Vehicle motion model and analysis of the “Tesla brake failure” event. Mech. Pract. 2022, 44, 852–856. [Google Scholar]
- Jiang, H.; Guo, K.; Zhang, J. Automatic parallel parking steering controller based on path planning. J. Jilin Univ. (Eng. Ed.) 2011, 41, 293–297. [Google Scholar] [CrossRef]
- Jiang, H. Research on Steering Control Strategy of Automatic Parallel Parking System. Ph.D. Thesis, Jilin University, Changchun, China, 2010. [Google Scholar]
- Wu, B. Research on Automatic Parking Path Simulation and Motion Control. Master’s Thesis, Hefei University of Technology, Hefei, China, 2012. [Google Scholar]
- Jiang, H.; Zhang, X.; Ma, S. Non time reference spiral curved ramp path tracking control for intelligent vehicles. J. Chongqing Univ. Technol. (Nat. Sci.) 2018, 32, 1–6. [Google Scholar]
- Guo, K.; Li, H.; Song, X.; Huang, J. Research on Path Tracking Control Strategy of Automatic Parking System. Chin. J. Highw. Eng. 2015, 28, 106–114. [Google Scholar] [CrossRef]






















| Symbol | Meaning |
|---|---|
| L | Unmanned vehicle captain (m) |
| W | The width of the unmanned vehicle (m) |
| r | Maximum steering wheel turning angle (°) |
| φ | Maximum front wheel turning angle (°) |
| Rmin | Minimum turning radius for unmanned vehicles (m) |
| vf | The maximum speed of the steering wheel of the unmanned vehicle (m/s) |
| J | Maximum acceleration and jerk (m/s3) |
| am1 | Maximum throttle acceleration (m/s2) |
| am2 | Ultimate brake acceleration (m/s2) |
| a1 | The magnitude of the acceleration of uniformly accelerated motion during the acceleration phase (m/s2) |
| a2 | The magnitude of the acceleration of uniformly decelerating motion during the acceleration phase (m/s2) |
| t1 | Time of acceleration phase (s) |
| v1 | Speed after acceleration t1 time (m/s) |
| t2 | Duration of deceleration phase (s) |
| v2 | Speed after acceleration t2 time (m/s) |
| v3 | Unmanned vehicle turnaround speed when turning (m/s) |
| t3 | The time of unmanned vehicles traveling at a constant speed during a turn (s) |
| θ | Unmanned vehicle reversing process of the corner (°) |
Disclaimer/Publisher’s Note: The statements, opinions and data contained in all publications are solely those of the individual author(s) and contributor(s) and not of MDPI and/or the editor(s). MDPI and/or the editor(s) disclaim responsibility for any injury to people or property resulting from any ideas, methods, instructions or products referred to in the content. |
© 2023 by the authors. Licensee MDPI, Basel, Switzerland. This article is an open access article distributed under the terms and conditions of the Creative Commons Attribution (CC BY) license (https://creativecommons.org/licenses/by/4.0/).
Share and Cite
Liu, X.; Zhu, S.; Fang, Y.; Wang, Y.; Fu, L.; Lei, W.; Zhou, Z. Optimization Design of Parking Models Based on Complex and Random Parking Environments. World Electr. Veh. J. 2023, 14, 344. https://doi.org/10.3390/wevj14120344
Liu X, Zhu S, Fang Y, Wang Y, Fu L, Lei W, Zhou Z. Optimization Design of Parking Models Based on Complex and Random Parking Environments. World Electric Vehicle Journal. 2023; 14(12):344. https://doi.org/10.3390/wevj14120344
Chicago/Turabian StyleLiu, Xunchen, Siqi Zhu, Yuan Fang, Yutong Wang, Lijuan Fu, Wenjing Lei, and Zijian Zhou. 2023. "Optimization Design of Parking Models Based on Complex and Random Parking Environments" World Electric Vehicle Journal 14, no. 12: 344. https://doi.org/10.3390/wevj14120344
APA StyleLiu, X., Zhu, S., Fang, Y., Wang, Y., Fu, L., Lei, W., & Zhou, Z. (2023). Optimization Design of Parking Models Based on Complex and Random Parking Environments. World Electric Vehicle Journal, 14(12), 344. https://doi.org/10.3390/wevj14120344
