Research Progress on the Surface Modification of Basalt Fibers and Composites: A Review
Abstract
1. Introduction
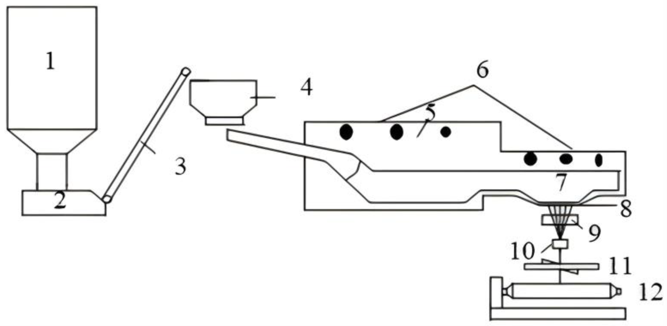
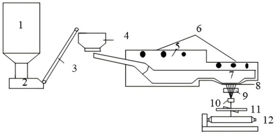
2. Production Process and Properties of BFs
3. Basalt-Fiber-Reinforced Resin Matrix Composites
3.1. BF-Reinforced Thermosetting Resin Composites
3.1.1. BF-Reinforced EP Resin Composites
3.1.2. BF-Reinforced UPR Composites
3.1.3. BF-Reinforced PF Resin Composites
- The weak BF–resin interface. The weak BF–resin interface limits the application of BFRRCs. Particularly, in the extreme environment of high temperatures and erosion, unsticking often occurs between the fibers and the resin matrix, leading to disruption in the adhesion between them. In general, the fiber is usually modified to improve the interfacial bonding strength between the fiber and the resin, which improves the performance of BFRRCs. However, it is often difficult to achieve fiber modification in large-scale production due to the complex operation process and high cost. Moreover, attention should be paid to the feasibility of BFRRCs in actual production processes in subsequent studies;
- The increase in single-fiber content shows their limited contribution to improving the properties of BFRRCs. A mixture of various fibers can improve the mechanical properties, impact resistance, and wear properties of composites. In general, the main objective of preparing composites by blending fibers is to reduce the cost of composites without reducing their properties. Characteristics of BFs such as high strength, low cost, and environmental protection make them particularly suitable for use as blending fibers; consequently, the composites can be prepared with certain economic and environmental benefits, and the process is conducive to the further promotion and use of FRRCs [11,61].
3.2. BF-Reinforced Thermoplastic Resin Composites
3.2.1. BF-Reinforced PE Resin Composites
3.2.2. BF-Reinforced PP Resin Composites
3.2.3. BF-Reinforced PA Resin Composites
3.3. BF-Reinforced Composites Using Other Resins
4. Surface-Modification Technology
4.1. Silane-Coupling-Agent-Modified BF
4.2. Rare-Earth-Coupling-Agent-Modified BF
- The cost of rare-earth elements is relatively high, coupled with the mining and extraction expenses of rare-earth elements, and their overall cost becomes significantly higher than that of SCAs;
- The pollution of the ecological environment caused by rare-earth mining and the harm posed to human health caused by long-term use cannot be ignored;
- The modification process of rare-earth coupling agents for BF is often more complex than that of SCAs.
5. Challenges and Prospects
5.1. Challenges
- The interfacial bonding strength of BFRRC still needs to be further improved. To note, the interfacial bonding strength directly affects the mechanical properties and application prospects of BFRRC. In previous studies, fiber modification was often used to improve the interfacial bonding strength, and matrix modification has also been reported. However, some studies have found that BFRRC reinforced via fiber modification or matrix modification still undergoes the phenomenon of disadhesion between the fibers and the matrix during the material performance. This can affect its applications; in particular, when BFRRC is exposed for a longer duration to the external environment or erosion environments [113];
- Inadequate research on the properties of BFRRC limits its practical application. To date, extensive research efforts have been devoted to studies on the mechanical and thermodynamic properties of BFRRC; nonetheless, relatively few studies have been carried out on the durability of BFRRC. Moreover, some durability studies have found that the effect of BFRRC is weakened or lost [77,85,113]. In addition, most of the studies on the durability of BFRRC have been simulated in the laboratory, and the experimental data may be quite different from the results obtained after actual application, which are not convincing enough. Further, only a few studies are available on the durability of BFRRC used in practical scenarios;
- The knowledge about the economic aspects of the new BF-surface-modification method is insufficient. The traditional destructive surface-modification technique of BF includes acid–base treatment and plasma modification. However, acid–base modification inevitably causes certain losses to the silicate skeleton of BF, and the improvement in the interfacial properties of BFRRC is limited. Therefore, progressively more attention has been paid to the non-destructive surface-modification technique. However, agents used in non-destructive surface modification, such as SCAs and rare-earth coupling agents, are often expensive and complex, thus, it becomes difficult to achieve mass production in industrial applications [143];
- Recycling of BFRRC is another problem that is inevitably encountered. With the continuous promotion and application of BFRRC, the recycling of BFRRC at the end of its service life will be a challenging task.
5.2. Prospects
- First, it is required to improve the interfacial bonding strength of BFRRC—in particular, to ensure its safe and efficient long-term exposure to the external environment and erosion environments. In the follow-up study, research attempts should be made to improve the interfacial bonding strength of BFRRC by combining BF surface modification and matrix modification techniques or adding adhesive materials with good compatibility with BF and the resin matrix;
- Research should be conducted on the durability of BFRRC as this directly determines its service life and cost. Resin materials are usually degradable, as indicated by biological and abiotic factors [85]. Therefore, improvement in the durability of BFRRC is significantly important. In the follow-up study, attempts should be made to add filler materials to improve the compactness of BFRRC and reduce the passage of corrosive media such as seawater into the interior of BFRRC. This approach can improve the durability of BFRRC in corrosive environments such as seawater. Moreover, materials such as engineering ceramics can also be added to improve the thermal stability of BFRRC, which can eventually improve the durability of BFRRC in high-temperature environments;
- Third, it is also imperative to study the methods for reducing the cost of preparation of BFRRC. To note, the cost of material production is the key factor that restricts its widespread use. The non-destructive surface-modification technology of BF developed in recent years—in particular, the method of preparing BF modified with rare-earth coupling agents—involves a significantly higher production cost than the previously reported destructive surface-modification technique. Unfortunately, the high production cost directly limits the popularization and application of non-destructive surface-modification technology. In the future, the cost can be reduced through the synergistic effects of the composite used with other low-cost fiber-modified materials, among which nanomaterials offer great potential as the most suitable candidates. Moreover, simplification of the manufacturing process of BFRRC can also effectively reduce the costs;
- Further research should be conducted on the recycling of BFRRC. In the next few decades, the BFRRCs in service will be eliminated one after another due to factors such as the end of service life or replacement requirements, and the recycling of many eliminated BFRRCs face serious challenges. Therefore, the recycling issues of BFRRC should be considered in its manufacturing stage, including the classification and recycling of BF- and resin-based materials.
6. Conclusions
- Compared with traditional GF, BF offers significant economic and environmental benefits. BF-reinforced resin matrix composites (BFRRCs) prepared with BF have stable properties. In the future, BF can be used to partially or completely replace GF as the reinforcement material of FRRCs;
- The mechanical properties, thermodynamic properties, and durability of BF-enhanced resin-based composites can generally be improved by several-tens to several-thousand percent. Nonetheless, the interfacial bonding strength, durability, and overall properties of BFRRC still need to be further improved;
- The mechanical properties of BFRRCs can be improved by BF modification, resin matrix modification, the addition of a reinforcement agent, and BF mixed with other fibers. In the follow-up research, the appropriate BFRRC enhancement method can be selected according to the performance and cost requirements;
- Non-destructive surface-modification techniques such as silane coupling agents and rare-earth coupling agents can effectively improve the overall properties of BFRRCs. However, the cost of non-destructive surface-modification technology is too high, which leads to fewer practical applications. Thus, undeniably, a lot more systematic exploration is further demanded for cost reduction and practical application effects;
- BFRRC is a light-weight, high-strength, energy-saving, and environmentally sustainable material with excellent comprehensive properties. It can be widely used in the fields of construction, aerospace, automobiles, and power;
- In the future, BFRRC research can be advanced in the areas of developing high-performance composite materials, the green manufacturing process of BFRRC, and intelligent applications of BFRRC. In addition, researchers should strengthen the integration of industry, academia, and research to promote technology transformation.
Author Contributions
Funding
Institutional Review Board Statement
Informed Consent Statement
Data Availability Statement
Conflicts of Interest
References
- Al-Baijat, H.M. The use of basalt aggregates in concrete mixes in Jordan. Jo. J. Civil. Eng. 2008, 2, 63–70. [Google Scholar]
- Militký, J.; Kovačič, V.R.; Rubnerová, J. Influence of thermal treatment on tensile failure of basalt fibers. Eng. Fract. Mech. 2002, 69, 1025–1033. [Google Scholar] [CrossRef]
- Xu, Y.-M.; Jiang, S.-Y. Geochemical transition from Cretaceous island arc basalt-like to oceanic island basalt-like basaltic rocks in the Jiurui district of the Yangtze Block, South China. J. Asi. Earth Sci. 2024, 264, 106075. [Google Scholar] [CrossRef]
- Akıncı, A.C.; Nurlu, N.; Güney, A. Origin and geodynamic implications of basaltic rocks intercalated with Miocene turbidites around the İskenderun Basin (Eastern Mediterranean/Turkey). J. Afr. Earth Sci. 2023, 198, 104780. [Google Scholar] [CrossRef]
- Xiang, G.; Zheng, H.; Lin, B.; Wang, Y.; Zhang, H.; Wang, D.; Tang, J.; Liu, L.; Wang, F. Modified basalt material reinforced organic coatings: A review. Corros. Comm. 2024, 13, 37–48. [Google Scholar] [CrossRef]
- Acar, V.; Cakir, F.; Alyamaç, E.; Seydibeyoğlu, M.Ö. 8—Basalt fibers. In Fiber Technology for Fiber-Reinforced Composites; Seydibeyoğlu, M.Ö., Mohanty, A.K., Misra, M., Eds.; Woodhead Publishing: Sawston, UK, 2017; pp. 169–185. [Google Scholar]
- Jamshaid, H.; Mishra, R. A green material from rock: Basalt fiber—A review. J. Text. Inst. 2016, 107, 923–937. [Google Scholar] [CrossRef]
- Kramár, S.; Pipíška, T.; Sťahel, P.; Pijáková, B.; Stupavská, M.; Oberle, A.; Král, P.; Ráheľ, J. Effect of plasma sizing on basalt fibers adhesion with wood-working resins. Eur. J. Wood Wood Prod. 2021, 79, 873–885. [Google Scholar] [CrossRef]
- Liu, H.C.; Yu, Y.F.; Liu, Y.P.; Zhang, M.J.; Li, L.; Ma, L.; Sun, Y.; Wang, W.X. A Review on Basalt Fiber Composites and Their Applications in Clean Energy Sector and Power Grids. Polymers 2022, 14, 2376. [Google Scholar] [CrossRef]
- Tábi, T.; Tamás, P.; Kovács, J.G. Chopped basalt fibres: A new perspective in reinforcing poly(lactic acid) to produce injection moulded engineering composites from renewable and natural resources. Express Polym. Lett. 2013, 7, 107–119. [Google Scholar] [CrossRef]
- Lopresto, V.; Leone, C.; De Iorio, I. Mechanical characterisation of basalt fibre reinforced plastic. Compos. Part B Eng. 2011, 42, 717–723. [Google Scholar] [CrossRef]
- Lopresto, V.; Papa, I.; Langella, A. Basalt Fibres in Vinyl Ester Resin Laminates Under Low Velocity Impact Conditions. J. Dyn. Behav. Mater. 2018, 4, 328–335. [Google Scholar] [CrossRef]
- Celauro, C.; Praticò, F.G. Asphalt mixtures modified with basalt fibres for surface courses. Constr. Build. Mater. 2018, 170, 245–253. [Google Scholar] [CrossRef]
- Decky, M.; Hodasova, K.; Papanova, Z.; Remisova, E. Sustainable Adaptive Cycle Pavements Using Composite Foam Concrete at High Altitudes in Central Europe. Sustainability 2022, 14, 9034. [Google Scholar] [CrossRef]
- Mostovoy, A.; Bekeshev, A.; Tastanova, L.; Akhmetova, M.; Bredihin, P.; Kadykova, Y. The effect of dispersed filler on mechanical and physicochemical properties of polymer composites. Polym. Polym. Compos. 2021, 29, 583–590. [Google Scholar] [CrossRef]
- Liu, L.; Xiang, D.; Ma, J.; Sun, H.; Harkin-Jones, E.; Wang, M.; Zeng, S.; Wu, Y. Multifunctional basalt fiber reinforced polymer composites with in-situ damage self-sensing and temperature-sensitive behavior. Compos. Comm. 2024, 50, 101990. [Google Scholar] [CrossRef]
- Rong, Y.; Zhao, P.; Shen, T.; Gao, J.; Zhou, S.; Huang, J.; Zhao, G.; Liu, Y. Mechanical and tribological properties of basalt fiber fabric reinforced polyamide 6 composite laminates with interfacial enhancement by electrostatic self-assembly of graphene oxide. J. Mater. Res. Technol. 2023, 27, 7795–7806. [Google Scholar] [CrossRef]
- Ren, D.; Luo, W.; Su, S.; Wang, Z.; Kong, L.; Ai, C. Study on crack resistance of basalt fiber reinforced asphalt mixture modified by titanate coupling agent based on digital image correlation. Constr. Build. Mater. 2024, 437, 136934. [Google Scholar] [CrossRef]
- Lu, Z.F.; Kong, L.; He, Z.Y.; Xu, H.; Yang, K.; Shen, Z.Z.; Huang, Z.D. Modification Mechanism and Rheological Properties of Emulsified Asphalt Evaporative Residues Reinforced by Coupling-Modified Fiber. Materials 2021, 14, 7363. [Google Scholar] [CrossRef]
- Mittal, G.; Lee, S.W.; Rhee, K.Y. Reduced graphene oxide coating on basalt fabric using electrophoretic deposition and its role in the mechanical and tribological performance of epoxy/basalt fiber composites. Nanotechnol. Rev. 2021, 10, 1383–1394. [Google Scholar] [CrossRef]
- Iorio, M.; Marra, F.; Santarelli, M.L.; González-Benito, J. Reinforcement-matrix interactions and their consequences on the mechanical behavior of basalt fibers-cement composites. Constr. Build. Mater. 2021, 309, 125103. [Google Scholar] [CrossRef]
- Jagadeesh, P.; Rangappa, S.M.; Siengchin, S. Basalt fibers: An environmentally acceptable and sustainable green material for polymer composites. Constr. Build. Mater. 2024, 436, 136834. [Google Scholar] [CrossRef]
- Vinay, S.S.; Sanjay, M.R.; Siengchin, S.; Venkatesh, C.V. Basalt fiber reinforced polymer composites filled with nano fillers: A short review. Mater. Today Proc. 2022, 52, 2460–2466. [Google Scholar] [CrossRef]
- Balaji, K.V.; Shirvanimoghaddam, K.; Yadav, R.; Ferdowsi, M.R.G.; Naebe, M. Effect of matrix modification and fiber surface treatment on the properties of basalt fiber reinforced polypropylene composites. Hyb. Adv. 2024, 6, 100253. [Google Scholar] [CrossRef]
- Li, Y.; Sun, S.; Zhou, Y.; Xu, X.; Zhan, J. Influence of air plasma modification power on surface properties of basalt fibers and basalt/poly(butylene succinate) adhesion. Appl. Surf. Sci. 2023, 630, 157416. [Google Scholar] [CrossRef]
- Fiore, V.; Scalici, T.; Di Bella, G.; Valenza, A. A review on basalt fibre and its composites. Compos. Part B Eng. 2015, 74, 74–94. [Google Scholar] [CrossRef]
- Ivanitskii, S.G.; Gorbachev, G.F. Continuous basalt fibers: Production aspects and simulation of forming processes. I. State of the art in continuous basalt fiber technologies. Powder Metall. Met. Ceram. 2011, 50, 125–129. [Google Scholar] [CrossRef]
- Kogan, F.M.; Nikitina, O.V. Solubility of chrysotile asbestos and basalt fibers in relation to their fibrogenic and carcinogenic action. Environ. Health Perspect. 1994, 102 (Suppl. S5), 205–206. [Google Scholar]
- Dhand, V.; Mittal, G.; Rhee, K.Y.; Park, S.-J.; Hui, D. A short review on basalt fiber reinforced polymer composites. Compos. Part B Eng. 2015, 73, 166–180. [Google Scholar] [CrossRef]
- Lu, Z.; Xian, G.; Li, H. Effects of elevated temperatures on the mechanical properties of basalt fibers and BFRP plates. Constr. Build. Mater. 2016, 127, 1029–1036. [Google Scholar] [CrossRef]
- Wu, G.; Wang, X.; Wu, Z.S.; Dong, Z.Q.; Zhang, G.C. Durability of basalt fibers and composites in corrosive environments. J. Compos. Mater. 2015, 49, 873–887. [Google Scholar] [CrossRef]
- Zhu, L.; Sun, B.; Hu, H.; Gu, B. Constitutive equations of basalt filament tows under quasi-static and high strain rate tension. Mater. Sci. Eng. A 2010, 527, 3245–3252. [Google Scholar] [CrossRef]
- Landucci, G.; Rossi, F.; Nicolella, C.; Zanelli, S. Design and testing of innovative materials for passive fire protection. Fire Saf. J. 2009, 44, 1103–1109. [Google Scholar] [CrossRef]
- Liu, X.H. Comparison and characteristics of continuous basalt fiber with carbon fiber, aramid fiber and glass fiber. Shanxi Sci. Technol. 2014, 29, 87–90. (In Chinese) [Google Scholar]
- Wenhuai, L.; Fei, P.; Shanqin, X.; Liu, L.; Shuo, Y.; Jingting, H.; Peng, G. BF reinforced composites and research progress of their application in concrete structures. CHN. Concr Cem. Prod. 2024, 64, 1–6. (In Chinese) [Google Scholar] [CrossRef]
- Mingchao, W.; Zuoguang, Z.; Zhijie, S.; Min, L. Corrosion resistance characteristic of continuous basalt fiber and its reinforcing composites. J Beijing Univ Aeronaut Astronaut. 2006, 32, 1255–1258. (In Chinese) [Google Scholar]
- Yan, L.; Chu, F.L.; Tuo, W.Y.; Zhao, X.B.; Wang, Y.; Zhang, P.Q.; Gao, Y.B. Review of research on basalt fibers and basalt fiber-reinforced composites in China (I): Physicochemical and mechanical properties. Polym. Polym. Compos. 2021, 29, 1612–1624. [Google Scholar] [CrossRef]
- Bozkurt, Ö.; Gökdemir, M.E. Effect of basalt fiber hybridization on the vibration-damping behavior of carbon fiber/epoxy composites. Polym. Compos. 2018, 39, E2274–E2282. [Google Scholar] [CrossRef]
- Chairman, C.A.; Thirumaran, B.; Babu, S.P.K.; Ravichandran, M. Two-body abrasive wear behavior of woven basalt fabric reinforced epoxy and polyester composites. Mater. Res. Express 2020, 7, 035307. [Google Scholar] [CrossRef]
- Yang, J.; Bai, Y.; Sun, J.; Lv, K.; Lang, Y. Recent advances of thermosetting resin and its application prospect in oil and gas drilling and production engineering. Geoenergy Sci. Eng. 2023, 230, 212222. [Google Scholar] [CrossRef]
- Jin, F.L.; Lee, S.Y.; Park, S.J. Polymer matrices for carbon fiber-reinforced polymer composites. Carbon Lett. 2013, 14, 76–88. [Google Scholar] [CrossRef]
- Matykiewicz, D.; Barczewski, M.; Mousa, M.S.; Sanjay, M.R.; Siengchin, S. Impact Strength of Hybrid Epoxy–Basalt Composites Modified with Mineral and Natural Fillers. ChemEngineering 2021, 5, 56. [Google Scholar] [CrossRef]
- Sapuan, S.M.; Aulia, H.S.; Ilyas, R.A.; Atiqah, A.; Dele-Afolabi, T.T.; Nurazzi, M.N.; Supian, A.B.M.; Atikah, M.S.N. Mechanical Properties of Longitudinal Basalt/Woven-Glass-Fiber-reinforced Unsaturated Polyester-Resin Hybrid Composites. Polymers 2020, 12, 2211. [Google Scholar] [CrossRef] [PubMed]
- Bazan, P.; Mierzwinski, D.; Bogucki, R.; Kuciel, S. Bio-Based Polyethylene Composites with Natural Fiber: Mechanical, Thermal, and Ageing Properties. Materials 2020, 13, 2595. [Google Scholar] [CrossRef] [PubMed]
- Adole, O.; Anguilano, L.; Minton, T.; Campbell, J.; Sean, L.; Valisios, S.; Tarverdi, K. Basalt fibre-reinforced high density polyethylene composite development using the twin screw extrusion process. Polym. Test. 2020, 91, 106467. [Google Scholar] [CrossRef]
- Mazur, K.; Kuciel, S.; Salasinska, K. Mechanical, fire, and smoke behavior of hybrid composites based on polyamide 6 with basalt/carbon fibres. J. Compos. Mater. 2019, 53, 3979–3991. [Google Scholar] [CrossRef]
- Liu, J.K.; Wang, S.P.; Peng, Y.Y.; Zhu, J.; Zhao, W.W.; Liu, X.Q. Advances in sustainable thermosetting resins: From renewable feedstock to high performance and recyclability. Prog. Polym. Sci. 2021, 113, 101353. [Google Scholar] [CrossRef]
- Zhang, Z.; Liu, H.; Ban, X.; Liu, X.; Guo, Y.; Sun, J.; Liu, Y.; Zhang, S.; Lei, J. Thermosetting resin modified asphalt: A comprehensive review. J. Traffic Transp. Eng. (Engl. Ed.) 2023, 10, 1001–1036. [Google Scholar] [CrossRef]
- Bocci, E.; Graziani, A.; Canestrari, F. Mechanical 3D characterization of epoxy asphalt concrete for pavement layers of orthotropic steel decks. Constr. Build. Mater. 2015, 79, 145–152. [Google Scholar] [CrossRef]
- Chhorn, B.; Jung, W. Experimental investigation of the flexural fatigue performance of plain woven basalt fiber/epoxy. Sci. Pro. 2021, 104, 00368504211029451. [Google Scholar] [CrossRef]
- Chowdhury, I.R.; O’Dowd, N.P.; Comer, A.J. Failure prediction in a non-crimp basalt fibre reinforced epoxy composite. Compos. Struct. 2023, 322, 117413. [Google Scholar] [CrossRef]
- Kim, M.; Lee, T.-W.; Park, S.-M.; Jeong, Y.G. Structures, electrical and mechanical properties of epoxy composites reinforced with MWCNT-coated basalt fibers. Compos. Part A Appl. Sci. Manufac. 2019, 123, 123–131. [Google Scholar] [CrossRef]
- Dhand, V.; Hyunsuk, C.; Hassan, T.; Koo, C.M.; Rhee, K.Y. Tailored eutectic alloy coating for enhanced EMI and X-ray protection by basalt fiber CNT/epoxy composite. J. Mater. Res. Technol. 2024, 31, 689–697. [Google Scholar] [CrossRef]
- Ulus, H.; Kaybal, H.B.; Eskizeybek, V.; Avci, A. Significantly improved shear, dynamic-mechanical, and mode II fracture performance of seawater aged basalt/epoxy composites: The impact of halloysite nanotube reinforcement. Eng. Sci. Tech. Int. J. 2021, 24, 1005–1014. [Google Scholar] [CrossRef]
- Preda, N.; Costas, A.; Lilli, M.; Sbardella, F.; Scheffler, C.; Tirillò, J.; Sarasini, F. Functionalization of basalt fibers with ZnO nanostructures by electroless deposition for improving the interfacial adhesion of basalt fibers/epoxy resin composites. Compos. Part A Appl. Sci. Manufac. 2021, 149, 106488. [Google Scholar] [CrossRef]
- Guo, Y.; Zhou, M.H.; Yin, G.Z.; Kalali, E.; Wang, N.; Wang, D.Y. Basalt Fiber-Based Flame Retardant Epoxy Composites: Preparation, Thermal Properties, and Flame Retardancy. Materials 2021, 14, 902. [Google Scholar] [CrossRef]
- ASTM D 3801-10; Standard Test Method for Measuring the Comparative Burning Characteristics of Solid Plastics in a Vertical Position. American Society for Testing and Materials: West Conshohocken, PA, USA, 2010.
- Karvanis, K.; Rusnáková, S.; Krejcí, O.; Zaludek, M. Preparation, Thermal Analysis, and Mechanical Properties of Basalt Fiber/Epoxy Composites. Polymers 2020, 12, 1785. [Google Scholar] [CrossRef]
- Mittal, G.; Rhee, K.Y. Hierarchical structures of CNT@basalt fabric for tribological and electrical applications: Impact of growth temperature and time during synthesis. Compos. Part A Appl. Sci. Manufac. 2018, 115, 8–21. [Google Scholar] [CrossRef]
- An, W.; Wang, X.-L.; Liu, X.; Wu, G.; Xu, S.; Wang, Y.-Z. Chemical recovery of thermosetting unsaturated polyester resins. Green Chem. 2022, 24, 701–712. [Google Scholar] [CrossRef]
- Dehkordi, M.T.; Nosraty, H.; Shokrieh, M.M.; Minak, G.; Ghelli, D. Low velocity impact properties of intra-ply hybrid composites based on basalt and nylon woven fabrics. Mater. Des. 2010, 31, 3835–3844. [Google Scholar] [CrossRef]
- Manikandan, V.; Winowlin Jappes, J.T.; Suresh Kumar, S.M.; Amuthakkannan, P. Investigation of the effect of surface modifications on the mechanical properties of basalt fibre reinforced polymer composites. Compos. Part B Eng. 2012, 43, 812–818. [Google Scholar] [CrossRef]
- Lilli, M.; Jurko, M.; Sirjovova, V.; Zvonek, M.; Cech, V.; Scheffler, C.; Rogero, C.; Ilyn, M.; Tirillò, J.; Sarasini, F. Basalt fibre surface modification via plasma polymerization of tetravinylsilane/oxygen mixtures for improved interfacial adhesion with unsaturated polyester matrix. Mater. Chem. Phys. 2021, 274, 125106. [Google Scholar] [CrossRef]
- Shahid, A.T.; Hofmann, M.; Garrido, M.; Correia, J.R.; Rosa, I.C. Freeze-Thaw Durability of Basalt Fibre Reinforced Bio-Based Unsaturated Polyester Composite. Materials 2023, 16, 5411. [Google Scholar] [CrossRef] [PubMed]
- Jeevanantham, S.; Kaliappan, S.; Natrayan, L.; Joshi, S. Characterization of peanut husk-derived Si3N4 basalt fiber-reinforced unsaturated polyester resin composites. Biomass Convers. Biorefin. 2024, 15, 5887–5898. [Google Scholar] [CrossRef]
- Dayalan, P.; Mahanwar, P.A. Effect of nano silica on mechanical and water absorption properties of basalt/polyester hybrid composite with glass/hemp. J. Polym. Res. 2023, 30, 341. [Google Scholar] [CrossRef]
- Tang, K.; Zhang, A.; Ge, T.; Liu, X.; Tang, X.; Li, Y. Research progress on modification of phenolic resin. Mater. Today Commun. 2021, 26, 101879. [Google Scholar] [CrossRef]
- Lyu, Y.; Zhan, Y.; Li, J.; Fang, G. A tough, strong, and fast-curing phenolic resin enabled by dopamine-grafted chitosan and polyethyleneimine-functionalized graphene. Int. J. Biol. Macromol. 2024, 279, 135472. [Google Scholar] [CrossRef]
- Sandhya, P.K.; Sreekala, M.S.; Padmanabhan, M.; Jesitha, K.; Thomas, S. Effect of starch reduced graphene oxide on thermal and mechanical properties of phenol formaldehyde resin nanocomposites. Compos. Part B Eng. 2019, 167, 83–92. [Google Scholar] [CrossRef]
- Pugazhenthi, N.; Anand, P. Mechanical and thermal behavior of hybrid composite medium density fiberboard reinforced with phenol formaldehyde. Heliyon 2021, 7, e08597. [Google Scholar] [CrossRef]
- Li, Z.; Li, Y.Z.; Wan, J.J.; Zhao, S.G. Static and dynamic adhesive properties between continuous basalt fibre cords and NR/SBR matrix tackified by p-octylphenolic resins. Int. J. Adhes. Adhes. 2018, 85, 1–7. [Google Scholar] [CrossRef]
- Jacob Moses, A.; Suresh Babu, A.; Ananda Kumar, S. Analysis of physical properties and wear behavior of phenol formaldehyde—Basalt fiber reinforced brake pad. Mater. Today: Proc. 2020, 33, 1128–1132. [Google Scholar] [CrossRef]
- Peng, Z.G.; Zhang, H.J.; Feng, Q.; Zheng, Y. Improvement of basalt fiber dispersion and its effect on mechanical characteristics of oil well cement. J. Blgd. Eng. 2023, 76, 107244. [Google Scholar] [CrossRef]
- Kumar, I.A.; Kumar, A.A.J.; Prakash, M. Thermal Characterization of Flax/Basalt Fiber Reinforced Phenol Resin Brake Pad Material: Effective Replacement of Asbestos. J. Nat. Fibers 2021, 18, 1384–1394. [Google Scholar] [CrossRef]
- Eslami-Farsani, R.; Khalili, S.M.R.; Najafi, M. Effect of Thermal Cycling on Hardness and Impact Properties of Polymer Composites Reinforced by Basalt and Carbon Fibers. J. Therm. Stresses 2013, 36, 684–698. [Google Scholar] [CrossRef]
- Li, T.; Zhu, H.; Shen, J.; Keller, T. Thermophysical and thermomechanical properties of basalt-phenolic FRP rebars under high temperature. Constr. Build. Mater. 2022, 342, 127983. [Google Scholar] [CrossRef]
- Lohmus, R.; Kallakas, H.; Tuhkanen, E.; Gulik, V.; Kiisk, M.; Saal, K.; Kalamees, T. The Effect of Prestressing and Temperature on Tensile Strength of Basalt Fiber-Reinforced Plywood. Materials 2021, 14, 4701. [Google Scholar] [CrossRef]
- Ageyeva, T.; Sibikin, I.; Kovács, J.G. A Review of Thermoplastic Resin Transfer Molding: Process Modeling and Simulation. Polymers 2019, 11, 1555. [Google Scholar] [CrossRef]
- Naito, K.; Nagai, C. Effects of temperature and water absorption on the interfacial mechanical properties of carbon/glass-reinforced thermoplastic epoxy hybrid composite rods. Compos. Struct. 2022, 282, 115103. [Google Scholar] [CrossRef]
- Yao, J.W.; Chang, H.C.; Zhang, T.; Niu, Y.F. Synergistic toughening in the interleaved carbon fibre reinforced epoxy composites by thermoplastic resin and nanomaterials. Polym. Test. 2022, 115, 107769. [Google Scholar] [CrossRef]
- Zhu, P.; Shi, J.; Bao, L.M. Effect of polyetherimide nanoparticle coating on the interfacial shear strength between carbon fiber and thermoplastic resins. Appl. Surf. Sci. 2020, 509, 145395. [Google Scholar] [CrossRef]
- Juan, R.; Domínguez, C.; Robledo, N.; Paredes, B.; García-Muñoz, R.A. Incorporation of recycled high-density polyethylene to polyethylene pipe grade resins to increase close-loop recycling and Underpin the circular economy. J. Cleaner Prod. 2020, 276, 124081. [Google Scholar] [CrossRef]
- Satapathy, S. Development of value-added composites from recycled high-density polyethylene, jute fiber and flyash cenospheres: Mechanical, dynamic mechanical and thermal properties. Int. J. Plast. Technol. 2018, 22, 386–405. [Google Scholar] [CrossRef]
- Bazan, P.; Nosal, P.; Kozub, B.; Kuciel, S. Biobased Polyethylene Hybrid Composites with Natural Fiber: Mechanical, Thermal Properties, and Micromechanics. Materials 2020, 13, 2967. [Google Scholar] [CrossRef]
- Kramár, S.; Trcala, M.; Chitbanyong, K.; Král, P.; Puangsin, B. Basalt-Fiber-Reinforced Polyvinyl Acetate Resin: A Coating for Ductile Plywood Panels. Materials 2020, 13, 49. [Google Scholar] [CrossRef] [PubMed]
- Mazur, K.; Jakubowska, P.; Romańska, P.; Kuciel, S. Green high density polyethylene (HDPE) reinforced with basalt fiber and agricultural fillers for technical applications. Compos. Part B Eng. 2020, 202, 108399. [Google Scholar] [CrossRef]
- Zhou, X.; Wang, Y.; Chen, S.; Wang, C.; Dong, S.; Lan, T.; Zu, L.; Song, X.; Kong, Y. Research on Microstructure and Mechanical Properties of Nylon6/Basalt Fiber/High-Density Polyethylene Composites. ACS Omega 2022, 7, 44972–44983. [Google Scholar] [CrossRef]
- Huang, R.Z.; Mei, C.T.; Xu, X.W.; Kärki, T.; Lee, S.; Wu, Q.L. Effect of Hybrid Talc-Basalt Fillers in the Shell Layer on Thermal and Mechanical Performance of Co-Extruded Wood Plastic Composites. Materials 2015, 8, 8510–8523. [Google Scholar] [CrossRef]
- Nguyen, V.D.; Hao, J.; Wang, W. Ultraviolet Weathering Performance of High-Density Polyethylene/Wood-Flour Composites with a Basalt-Fiber-Included Shell. Polymers 2018, 10, 831. [Google Scholar] [CrossRef]
- Miller, L.; Soulliere, K.; Sawyer-Beaulieu, S.; Tseng, S.; Tam, E. Challenges and Alternatives to Plastics Recycling in the Automotive Sector. Materials 2014, 7, 5883–5902. [Google Scholar] [CrossRef]
- Guo, J.; Mu, S.Y.; Yu, C.F.; Hu, C.N.; Guan, F.C.; Zhang, H.; Gong, Y.M. Mechanical and thermal properties of polypropylene/modified basalt fabric composites. J. Appl. Polym. Sci. 2015, 132, 42504. [Google Scholar] [CrossRef]
- Song, D.Q.; Wang, B.; Tao, W.C.; Wang, X.; Zhang, W.; Dai, M.F.; Li, J.Y.; Zhou, Z.W. Synergistic reinforcement mechanism of basalt fiber/cellulose nanocrystals/polypropylene composites. Nanotechnol. Rev. 2022, 11, 3020–3030. [Google Scholar] [CrossRef]
- Kufel, A.; Kuciel, S. Basalt/Wood Hybrid Composites Based on Polypropylene: Morphology, Processing Properties, and Mechanical and Thermal Expansion Performance. Materials 2019, 12, 2557. [Google Scholar] [CrossRef] [PubMed]
- Russo, P.; Papa, I.; Pagliarulo, V.; Lopresto, V. Polypropylene/Basalt Fabric Laminates: Flexural Properties and Impact Damage Behavior. Polymers 2020, 12, 1079. [Google Scholar] [CrossRef] [PubMed]
- Kufel, A.; Para, S.; Kuciel, S. Basalt/Glass Fiber Polypropylene Hybrid Composites: Mechanical Properties at Different Temperatures and under Cyclic Loading and Micromechanical Modelling. Materials 2021, 14, 5574. [Google Scholar] [CrossRef] [PubMed]
- Saleem, A.; Medina, L.; Skrifvars, M. Mechanical performance of hybrid bast and basalt fibers reinforced polymer composites. J. Polym. Res. 2020, 27, 61. [Google Scholar] [CrossRef]
- Saleem, A.; Medina, L.; Skrifvars, M. Influence of Fiber Coating and Polymer Modification on Mechanical and Thermal Properties of Bast/Basalt Reinforced Polypropylene Hybrid Composites. J. Compos. Sci. 2020, 4, 119. [Google Scholar] [CrossRef]
- Tang, C.H.; Xu, F.X.; Li, G.Y. Combustion Performance and Thermal Stability of Basalt Fiber-Reinforced Polypropylene Composites. Polymers 2019, 11, 1826. [Google Scholar] [CrossRef]
- Balaji, K.V.; Shirvanimoghaddam, K.; Yadav, R.; Mahmoodi, R.; Unnikrishnan, V.; Naebe, M. The synergy of the matrix modification and fiber geometry to enhance the thermo-mechanical properties of basalt fiber-polypropylene composites for automotive applications. J. Appl. Polym. Sci. 2024, 141, e55682. [Google Scholar] [CrossRef]
- Tuna, B.; Benkreira, H. Recycling and Upcycling of Polyamides. Mater. Sci. Mater. Eng. 2024. [Google Scholar] [CrossRef]
- Gomez, C.; Salvatori, D.; Caglar, B.; Trigueira, R.; Orange, G.; Michaud, V. Resin Transfer molding of High-Fluidity Polyamide-6 with modified Glass-Fabric preforms. Compos. Part A Appl. Sci. Manuf. 2021, 147, 106448. [Google Scholar] [CrossRef]
- Hirschberg, V.; Rodrigue, D. Recycling of polyamides: Processes and conditions. J. Polym. Sci. 2023, 61, 1937–1958. [Google Scholar] [CrossRef]
- Zheng, Q.L.; Wang, B.; Li, X.P.; Xiao, X.D.; Jin, H.M.; Zhang, H.W.; Zhao, Y. Microstructural, Mechanical, and Tribological Performances of Composites Prepared via Melt Compounding of Polyamide 6, Basalt Fibers, and Styrene-Ethylene-Butylene-Styrene Copolymer. Materials 2023, 16, 3237. [Google Scholar] [CrossRef] [PubMed]
- Lee, T.W.; Lee, S.; Park, S.M.; Lee, D. Mechanical, thermomechanical, and local anisotropy analyses of long basalt fiber reinforced polyamide 6 composites. Compos. Struct. 2019, 222, 110917. [Google Scholar] [CrossRef]
- Zhou, S.F.; Wang, J.J.; Wang, S.Z.; Ma, X.Z.; Huang, J.; Zhao, G.Z.; Liu, Y.Q. Facile preparation of multiscale graphene-basalt fiber reinforcements and their enhanced mechanical and tribological properties for polyamide 6 composites. Mater. Chem. Phys. 2018, 217, 315–322. [Google Scholar] [CrossRef]
- Yu, S.; Oh, K.H.; Hong, S.H. Enhancement of the mechanical properties of basalt fiber-reinforced polyamide 6,6 composites by improving interfacial bonding strength through plasma-polymerization. Compos. Sci. Technol. 2019, 182, 107756. [Google Scholar] [CrossRef]
- Yu, S.; Hwang, J.Y.; Hong, S.H. 3D microstructural characterization and mechanical properties determination of short basalt fiber-reinforced polyamide 6,6 composites. Compos. Part B Eng. 2020, 187, 107839. [Google Scholar] [CrossRef]
- Blackman, Z.; Olonisakin, K.; MacFarlane, H.; Rodriguez-Uribe, A.; Tripathi, N.; Mohanty, A.K.; Misra, M. Sustainable basalt fiber reinforced polyamide 6,6 composites: Effects of fiber length and fiber content on mechanical performance. Compos. Part C Open Access 2024, 14, 100495. [Google Scholar] [CrossRef]
- Bednarowski, D.; Bazan, P.; Kuciel, S. Enhancing Strength and Sustainability: Evaluating Glass and Basalt Fiber-Reinforced Biopolyamide as Alternatives for Petroleum-Based Polyamide Composite. Polymers 2023, 15, 3400. [Google Scholar] [CrossRef]
- Barczewski, M.; Hejna, A.; Andrzejewski, J.; Anisko, J.; Piasecki, A.; Mróz, A.; Ortega, Z.; Rutkowska, D.; Salasinska, K. The Recyclability of Fire-Retarded Biobased Polyamide 11 (PA11) Composites Reinforced with Basalt Fibers (BFs): The Influence of Reprocessing on Structure, Properties, and Fire Behavior. Molecules 2024, 29, 3233. [Google Scholar] [CrossRef]
- Zhao, X.; Wang, X.; Wu, Z.S.; Wu, J. Experimental study on effect of resin matrix in basalt fiber reinforced polymer composites under static and fatigue loading. Constr. Build. Mater. 2020, 242, 118121. [Google Scholar] [CrossRef]
- Zhu, L.M.; Lyu, L.H.; Zhang, X.F.; Wang, Y.; Guo, J.; Xiong, X.Q. Bending Properties of Zigzag-Shaped 3D Woven Spacer Composites: Experiment and FEM Simulation. Materials 2019, 12, 1075. [Google Scholar] [CrossRef]
- Bonsu, A.O.; Mensah, C.; Liang, W.Y.; Yang, B.; Ma, Y.S. Mechanical Degradation and Failure Analysis of Different Glass/Basalt Hybrid Composite Configuration in Simulated Marine Condition. Polymers 2022, 14, 3480. [Google Scholar] [CrossRef]
- Zhang, Y.H.; Yu, C.X.; Chu, P.K.; Lv, F.Z.; Zhang, C.A.; Ji, J.H.; Zhang, R.; Wang, H.L. Mechanical and thermal properties of basalt fiber reinforced poly(butylene succinate) composites. Mater. Chem. Phys. 2012, 133, 845–849. [Google Scholar] [CrossRef]
- Liu, H.C.; Yu, Y.F.; Zhang, M.J.; Yu, H.; Li, L.; Liu, Y.P.; Yang, H.J.; Tian, Z.B. Effect of sizing agent on properties of basalt fiber/blended resin matrix composites. J. Mater. Sci. 2023, 58, 5642–5657. [Google Scholar] [CrossRef]
- Xue, G.L.; Sun, B.H.; Han, L.; Liu, B.C.; Liang, H.Y.; Pu, Y.F.; Tang, H.M.; Ma, F.W. Triblock Copolymer Compatibilizers for Enhancing the Mechanical Properties of a Renewable Bio-Polymer. Polymers 2022, 14, 2734. [Google Scholar] [CrossRef] [PubMed]
- Chao, F.; Liang, G.; Kong, W.; Zhang, X. Study of dielectric property on BaTiO3/BADCy composite. Mater. Chem. Phys. 2008, 108, 306–311. [Google Scholar] [CrossRef]
- He, S.; Liang, G.; Wang, J.; Yan, H. Mechanical and thermal properties of bisphenol A-based cyanate ester and diallyl phthalate blends. Polym. Bull. 2009, 62, 237–246. [Google Scholar] [CrossRef]
- Dreyer, C.; Motoc, D.L. Reaction-to-fire parameters of CE/epoxy blend-based CF/FF and BF/FF hybrid composites. J. Therm. Anal. Calorim. 2020, 142, 661–669. [Google Scholar] [CrossRef]
- Motoc, D.L.; Bou, S.F.; Balart, R. Thermal properties comparison of hybrid CF/FF and BF/FF cyanate ester-based composites. J. Therm. Anal. Calorim. 2018, 133, 509–518. [Google Scholar] [CrossRef]
- Lee, S.O.; Rhee, K.Y.; Park, S.J. Influence of chemical surface treatment of basalt fibers on interlaminar shear strength and fracture toughness of epoxy-based composites. J. Ind. Eng. Chem. 2015, 32, 153–156. [Google Scholar] [CrossRef]
- Balaji, K.V.; Shirvanimoghaddam, K.; Rajan, G.S.; Ellis, A.V.; Naebe, M. Surface treatment of Basalt fiber for use in automotive composites. Mater. Today Chem. 2020, 17, 100334. [Google Scholar]
- Wang, G.J.; Liu, Y.W.; Guo, Y.J.; Zhang, Z.X.; Xu, M.X.; Yang, Z.X. Surface modification and characterizations of basalt fibers with non-thermal plasma. Surf. Coat. Technol. 2007, 201, 6565–6568. [Google Scholar] [CrossRef]
- Hosseini, A.; Raji, A. Improved double impact and flexural performance of hybridized glass basalt fiber reinforced composite with graphene nanofiller for lighter aerostructures. Polym. Test. 2023, 125, 107244. [Google Scholar] [CrossRef]
- Zhang, B.X.; Fang, L.W.; Ding, Z.W.; Li, M. The effect of modified basalt fiber on mechanical properties of oil well cement slurry. Case Stud. Constr. Mater. 2024, 20, 130182. [Google Scholar] [CrossRef]
- Cheng, X.; Liu, J.; Han, C.; Zhang, X.; Wu, Z. Silane coupling agent impact on surface features of modification of basalt fibers and the rheological properties of basalt fiber reinforced asphalt. Constr. Build. Mater. 2023, 366, 130182. [Google Scholar] [CrossRef]
- Jia, H.; Liu, C.; Qiao, Y.; Zhang, Y.; Dang, X.; Chen, Y.; Jian, X. Enhanced interfacial and mechanical properties of basalt fiber reinforced poly(aryl ether nitrile ketone) composites by amino-silane coupling agents. Polymer 2021, 230, 124028. [Google Scholar] [CrossRef]
- Liu, T.; Bai, R.; Chen, Z.; Li, Y.; Yang, Y. Tailoring of polyethylene fiber surface by coating silane coupling agent for strain hardening cementitious composite. Constr. Build. Mater. 2021, 278, 122263. [Google Scholar] [CrossRef]
- Lin, G.; Wang, H.; Boquan, Y.; Qu, G.; Chen, S.; Kuang, T.; Yu, K.; Zhenning, L. Combined treatments of fiber surface etching/silane-coupling for enhanced mechanical strength of aramid fiber-reinforced rubber blends. Mater. Chem. Phys. 2020, 255, 123486. [Google Scholar] [CrossRef]
- Iorio, M.; Santarelli, M.L.; González-Gaitano, G.; González-Benito, J. Surface modification and characterization of basalt fibers as potential reinforcement of concretes. Appl. Surf. Sci. 2018, 427, 1248–1256. [Google Scholar] [CrossRef]
- Arslan, C.; Dogan, M. The effects of silane coupling agents on the mechanical properties of basalt fiber reinforced poly(butylene terephthalate) composites. Compos. Part B Eng. 2018, 146, 145–154. [Google Scholar] [CrossRef]
- Luo, X.Y.; Wei, Y.H.; Ma, L.L.; Tian, W.; Zhu, C.Y. Effect of Corrosive Aging Environments on the Flexural Properties of Silane-Coupling-Agent-Modified Basalt-Fiber-Reinforced Composites. Materials 2023, 16, 1543. [Google Scholar] [CrossRef]
- Zheng, L.; Shui, T.; Xiang, D.; Zhang, J.; Liu, L.; Sun, H.; Wu, Y.; Cheng, J.; Zhao, C.; Li, H. Effect of seawater corrosion on the mechanical properties of basalt fiber reinforced polymer composites modified by silane coupling agent KH560 and carboxylated carbon nanotubes. Mater. Today Commun. 2024, 40, 109753. [Google Scholar] [CrossRef]
- Zheng, H.; Wang, Z.; Wang, Y.; Hu, J.; Lin, B.; Zhang, H.; Khalaf, A.H.; Tang, J. Investigation of optimal mechanical and anticorrosive properties of silane coupling agents modified chopped basalt fiber reinforced waterborne epoxy coatings. Surf. Coat. Technol. 2024, 487, 131023. [Google Scholar] [CrossRef]
- Marion, C.; Li, R.; Waters, K.E. A review of reagents applied to rare-earth mineral flotation. Adv. Colloid Interface Sci. 2020, 279, 102142. [Google Scholar] [CrossRef] [PubMed]
- Cheisson, T.; Schelter, E.J. Rare earth elements: Mendeleev’s bane, modern marvels. Science 2019, 363, 489–493. [Google Scholar] [CrossRef]
- Li, C.; Wang, H.Y.; Zhao, X.L.; Fu, Y.D.; He, X.D.; Song, Y.G. Investigation of Mechanical Properties for Basalt Fiber/Epoxy Resin Composites Modified with La. Coatings 2021, 11, 666. [Google Scholar] [CrossRef]
- Li, Y.; Zhang, N.; Liang, J.C.; Yu, K.F.; Zhao, Z.X.; Liang, C. Epoxy resin with both ultraviolet shielding and enhanced thermal mechanical properties: Study on synergistic modification of Ce-Zr-Si oxide nanoparticles and basalt fibers. Polym. Compos. 2024, 45, 3591–3603. [Google Scholar] [CrossRef]
- Zhu, M.M.; Ma, J.X. Basalt fiber modified with lanthanum-ethylenediaminetetraacetic acid as potential reinforcement of cyanate matrix composites. Appl. Surf. Sci. 2019, 464, 636–643. [Google Scholar] [CrossRef]
- Zeng, L.; Yuan, Z.; Zhang, H.; Li, T.; Zhang, R.; Yang, C.; Liu, C.; Li, Y.; Li, H. Effect of CeO2 doping on structural, electrical and mechanical properties of basalt fibers. J. Non-Cryst. Solids 2024, 626, 122784. [Google Scholar] [CrossRef]
- Li, C.; Zhang, L.W.; Wang, H.Y.; Song, Y.G.; Wang, J.Y. Study of Hygrothermal Aging for Basalt Fiber/Epoxy Resin Composites Modified with CeCl3. Polymers 2024, 16, 819. [Google Scholar] [CrossRef]
- Liu, J.-X.; Chen, M.-R.; Cui, Y.; Yang, J.-P.; Wu, Z.-S. Effect of CeO2 on high temperature properties of basalt fiber. Chin. Rare Earths 2019, 40, 1–8. [Google Scholar]
- Qian, X.W.; Ji, X.Y.; Yan, C.N.; Huang, J.; Wu, Y.F.; Wang, X.Y. Superiority of basalt fibers with different modifications in contact oxidation reactor for wastewater treatment: Exploration of microbial community and underlying mechanism. J. Environ. Chem. Eng. 2024, 12, 124028. [Google Scholar] [CrossRef]


















| Thermal Properties | BFs | GFs |
|---|---|---|
| Maximum application temperature (K) | 1255 | 923 |
| Sustained operating temperature (K) | 1093 | 753 |
| Minimum operating temperature (K) | 15 | 210 |
| Thermal conductivity (W·(m·K)−1) | 0.031–0.038 | 0.034–0.04 |
| Melting temperature (K) | 1720 | 1390 |
| Thermal expansion coefficient (K−1) | 8.0 × 10−6 | 5.4 × 10−6 |
| Property | BFs | E-GFs |
|---|---|---|
| Volume resistivity (Ω·m) | 1 × 1012 | 1 × 1011 |
| Loss angle tangent frequency (1 MHz) | 0.005 | 0.0047 |
| Relative dielectric constant (1 MHz) | 2.2 | 2.3 |
| Property | BFs | E-GFs | S2-GF |
|---|---|---|---|
| Quality loss rate after boiling for 3 h (wt.%) | 0.4 | 6.2 | 5 |
| Quality loss rate of NaOH after boiling for 3 h (wt.%) | 4.3 | 6 | 5 |
| Quality loss rate of HCl after boiling for 3 h (wt.%) | 8.1 | 38.9 | 15.7 |
| Type of Resin | The Mechanical Properties of BFRRC | Ref. | |||
|---|---|---|---|---|---|
| Tensile Strength | Flexural Strength | Bending Strength | Impact Strength | ||
| EP resin | - | - | - | increased by 339.3% | [42] |
| UPR | increased by 2626% | increased by 804% | - | - | [43] |
| PE resin | increased by 87.8% | increased by 132.6% | - | - | [44] |
| PE resin | increased by 59.7% | increased by 175% | - | - | [45] |
| PP resin | increased by 133% | - | - | - | [24] |
| PA resin | - | - | increased by 70% | - | [46] |
| BF-Surface-Modification Material | Modification Method | Matrix | Improved Mechanical Properties | Ref. |
|---|---|---|---|---|
| ZnO | Electroless deposition | EP resin | Apparent interfacial shear strength increased by 42%. | [55] |
| Graphene oxide | Electrophoretic deposition | EP resin | Tensile strength increased by 13.2% and coefficient of friction reduced by 18.1%. | [20] |
| Tetravinylsilane | Plasma polymerization technique | UPR | Interlaminar shear strength above 180%. | [63] |
| Methacrylic acid and KH-570 | Surface coating | Phenolic epoxy resin | Compressive strength and flexural strength of MBF cement stone increased by 15.9% and 13.5%, respectively. | [73] |
| Cellulose nanocrystals | - | PP resin | Mechanical strength increased by 64.31%. | [92] |
| Graphene | Polyurethane sizing agent coating | PA resin | Tensile strength and flexural strength increased by 18.2% and 34%, respectively. | [105] |
| 3-Aminopropyltriethoxysilane | Plasma polymerization technique | PA resin | Interfacial shear strength and tensile strength increased by 50.3% and 32.5%, respectively. | [106] |
| Sample Code | Tensile Properties | Flexural Properties | Impact Properties | |||
|---|---|---|---|---|---|---|
| Tensile Strength (MPa) | Percentage Strain (%) | Young’s Modulus (MPa) | Flexural Strength (MPa) | Flexural Modulus (MPa) | Impact Strength (kJ·m−2) | |
| PBT | 48.9 ± 0.54 | 22.2 ± 0.53 | 1900 ± 200 | 48.9 ± 0.54 | 2400 ± 50 | 29.9 ± 1.40 |
| PBT/BF | 47.6 ± 0.89 | 3.1 ± 0.23 | 3600 ± 100 | 47.6 ± 0.89 | 4400 ± 20 | 20.0 ± 0.31 |
| PBT/AP-BF | 63.4 ± 1.75 | 6.2 ± 0.22 | 3700 ± 200 | 63.4 ± 1.75 | 4200 ± 70 | 24.0 ± 1.95 |
| PBT/GP-BF | 62.0 ± 0.92 | 4.3 ± 0.40 | 3600 ± 200 | 62.0 ± 0.92 | 4500 ± 210 | 20.5 ± 0.31 |
| PBT/MA-BF | 61.9 ± 1.07 | 5.3 ± 0.05 | 3600 ± 200 | 61.9 ± 1.07 | 4200 ± 220 | 21.7 ± 0.94 |
Disclaimer/Publisher’s Note: The statements, opinions and data contained in all publications are solely those of the individual author(s) and contributor(s) and not of MDPI and/or the editor(s). MDPI and/or the editor(s) disclaim responsibility for any injury to people or property resulting from any ideas, methods, instructions or products referred to in the content. |
© 2025 by the authors. Licensee MDPI, Basel, Switzerland. This article is an open access article distributed under the terms and conditions of the Creative Commons Attribution (CC BY) license (https://creativecommons.org/licenses/by/4.0/).
Share and Cite
Zhu, M.; Zhu, M.; Zhai, R.; Zhu, W.; He, J. Research Progress on the Surface Modification of Basalt Fibers and Composites: A Review. Materials 2025, 18, 1164. https://doi.org/10.3390/ma18051164
Zhu M, Zhu M, Zhai R, Zhu W, He J. Research Progress on the Surface Modification of Basalt Fibers and Composites: A Review. Materials. 2025; 18(5):1164. https://doi.org/10.3390/ma18051164
Chicago/Turabian StyleZhu, Miaomiao, Mingming Zhu, Ruoxin Zhai, Wuwei Zhu, and Jiabei He. 2025. "Research Progress on the Surface Modification of Basalt Fibers and Composites: A Review" Materials 18, no. 5: 1164. https://doi.org/10.3390/ma18051164
APA StyleZhu, M., Zhu, M., Zhai, R., Zhu, W., & He, J. (2025). Research Progress on the Surface Modification of Basalt Fibers and Composites: A Review. Materials, 18(5), 1164. https://doi.org/10.3390/ma18051164

