Application of Powder-Bed Fusion of Metals Using a Laser for Manufacturing of M300 Maraging Steel Tools Intended for Sheet Metal Bending
Abstract
1. Introduction
2. Materials and Methods
2.1. Material
2.2. Punch Fabrication
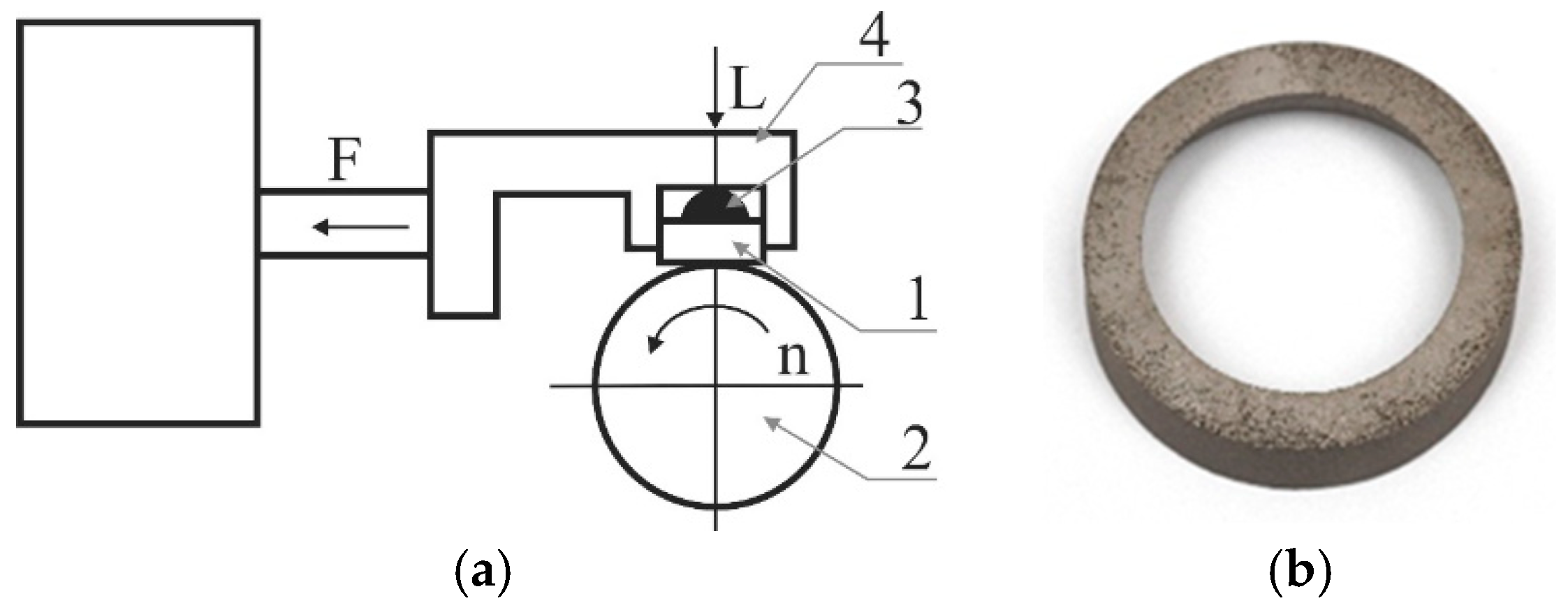
2.3. Experimental Forming
2.4. Testing of Fabricated Tools and Drawpieces
2.4.1. Surface Topography
2.4.2. Tribological Tests
2.4.3. Hardness Measurement
2.4.4. Microstructural Analysis
2.4.5. Measurement of the Geometry of Punches and Drawpieces
2.4.6. µCT Measurements
3. Results and Discussion
3.1. Testing of Punches Manufactured Using PBF-LB/M Technology
3.1.1. Surface Topography of 3D-Printed Working Layer of Tools
- Mean roughness: Ra = 0.42 μm;
- Average maximum height: Rz = 28.729 μm.
- Mean roughness: Ra = 0.035 μm;
- Average maximum height: Rz = 0.220 μm.
3.1.2. Wear Behaviour
3.1.3. Hardness of 3D-Printed Working Layer of Tools
3.1.4. Microstructural Analysis of 3D-Printed Working Layer of Tools
3.1.5. µCT Measurements of 3D-Printed Working Layer of Tools
3.2. Geometric Measurements
3.3. Test Results of Drawpieces Made with a 3D Printing Tool
3.3.1. Surface Roughness and Topography of Drawpieces
- Mean roughness: Ra = 0.096 μm;
- Average maximum height: Rz = 0.503 μm.
- Mean roughness: Ra = 1317 μm;
- Average maximum height: Rz = 5568 μm.
3.3.2. Vickers Hardness of Drawpieces
3.3.3. Microstructure of Drawpieces
3.3.4. Geometry of Drawpieces
3.4. Discussion
- -
- 1.2842 (NMV);
- -
- 1.2379 (NC11LV);
- -
- 1.2063 (NC6);
- -
- Toolox 33;
- -
- 1.7225 (40HM).
- -
- Receiving a product in accordance with the specifications;
- -
- Optimal production time;
- -
- Lower costs of starting production to the current manufacturing technology;
- -
- Longer service life for the equipment;
- -
- Extension of the service intervals for the equipment;
- -
- Reduction of service/inspection costs;
- -
- Process repeatability;
- -
- Respect for aspects related to environmental protection;
- -
- Security of supply.
4. Summary and Conclusions
- As a result of the sheet metal forming process, the hardness of the punch material increased in relation to the punch before forming. This increase was at a level equal to, on average, 6%. The hardness of the printed punches made of maraging steel M300 using the PBF-LB/M method is approximately 360 HV1. The highest hardness value was measured for the punch used to form the Inconel 625 sheet (357 HV1). The highest standard deviation value of 62.80 HV1 was measured for the Inconel 625 alloy drawpiece formed using polished punch.
- The outer surface of the tested steel is uneven, which is related to the printing process.
- Microscopic observations of sheets after pressing using tools after 3D printing without additional processing and after polishing do not show significant differences.
- M300 maraging steel is characterized by minimum of porosity after the printing process. An analysis of the chemical composition using the EDS method confirmed the presence of oxygen in these areas.
- Tribological tests showed that in the case of the friction pair M300 steel and AW-6061 T0 aluminium alloy, an increase in the countersample mass by 0.06% was observed. Due to the tendency of aluminium alloys to galling, part of the worn aluminium alloy was deposited on the working surface of the countersample made of M300 steel.
- The lowest coefficient of friction (μ = 0.518) was observed in the case of friction pair Inconel 625 and M300 steel, which explains the high share of oxides on the countersample surface and the dominant abrasive wear mechanism.
- Geometric measurements showed that both types of tools (without finishing and after polishing), showed wear resulting from high forming force. The tools were deformed in the middle part by plastic deformation. Significantly greater deformation occurred in the part of the tool used as a substrate for 3D printing. The printed layers were deformed due to the low strength of the base material (S235 structural steel).
- Tools fabricated using the PBF-LB/M additive manufacturing method have the potential to revolutionize tool production. Additive technologies may become more common and competitive in relation to conventional production methods, but currently, they require further development and optimisation.
- In the future, comprehensive research is planned to explore the impact of, among others, heat treatment, surface treatment using, e.g., laser remelting or alloying, as well as the use of PVD anti-wear coatings, aimed at achieving increased hardness and wear resistance, and the scope of application of such tools, which, however, will significantly increase the costs of tool production.
Author Contributions
Funding
Institutional Review Board Statement
Informed Consent Statement
Data Availability Statement
Conflicts of Interest
References
- Frohn-Sörensen, P.; Geueke, M.; Engel, B.; Löffler, B.; Bickendorf, P.; Asimi, A.; Bergweiler, G.; Schuh, G. Design for 3D Printed Tools: Mechanical Material Properties for Direct Polymer Additive Tooling. Polymers 2022, 14, 1694. [Google Scholar] [CrossRef]
- Kuo, C.C.; Li, M.R. A cost-effective method for rapid manufacturing sheet metal forming dies. Int. J. Adv. Manuf. Technol. 2015, 85, 2651–2656. [Google Scholar] [CrossRef]
- Trzepieciński, T. Recent Developments and Trends in Sheet Metal Forming. Metals 2020, 10, 779. [Google Scholar] [CrossRef]
- Żaba, K.; Kuczek, Ł.; Puchlerska, S.; Wiewióra, M.; Góral, M.; Trzepieciński, T. Analysis of Tribological Performance of New Stamping Die Composite Inserts Using Strip Drawing Test. Adv. Mech. Mater. Eng. 2023, 40, 55–62. [Google Scholar] [CrossRef]
- Jonsson, C.J.; Stolt, R.; Elgh, F. Stamping Tools for Sheet Metal Forming: Current State and Future Research Directions. In Transdisciplinary Engineering for Complex Socio-Technical Systems–Real-Life Applications; Pokojski, J., Gil, M., Newnes, L., Wognum, N., Stjepandic, J., Eds.; IOP Press: Bristol, UK, 2020; pp. 281–290. [Google Scholar]
- Zastosowania Druku 3D Dla Stali Narzędziowej. Available online: https://centrumdruku3d.pl/zastosowania-druku-3d-dla-stali-narzedziowej/ (accessed on 4 June 2024).
- Leal, R.; Barreiros, F.M.; Alves, L.; Romeiro, F.; Vasco, J.C.; Santos, M.; Marto, C. Additive manufacturing tooling for the automotive industry. Int. J. Adv. Manuf. Technol. 2017, 92, 1671–1676. [Google Scholar] [CrossRef]
- Anderson, A. Comparison of sheet-metal-forming simulation and try-out tools in the design of a forming tool. J. Eng. Des. 2024, 15, 551–561. [Google Scholar] [CrossRef][Green Version]
- Tondini, F.; Basso, A.; Arinbjarnar, U.; Nielsen, C.V. The Performance of 3D Printed Polymer Tools in Sheet Metal Forming. Metals 2021, 11, 1256. [Google Scholar] [CrossRef]
- Vidosav, D.; Majstorovic, V.D.; Vukadinovic, V.; Zivkovic, J. Towards the Digital Model of Tool Lifecycle Management in Sheet Metal Forming. J. Mach. Eng. 2023, 23, 141–166. [Google Scholar]
- CNC vs Additive Manufacturing (AM): 3 Scenarios Where AM Wins. Available online: https://www.stratasys.com/en/resources/blog/cnc-vs-additive-manufacturing-am-3-scenarios-where-am-wins/ (accessed on 4 June 2024).
- Summerville, E.; Venkatesan, K.; Subramanian, C. Wear processes in hot forging press tools. Mater. Des. 1995, 16, 289–294. [Google Scholar] [CrossRef]
- Kanishka, K.; Acherjee, B. A systematic review of additive manufacturing-based remanufacturing techniques for component repair and restoration. J. Manuf. Process. 2023, 89, 220–283. [Google Scholar] [CrossRef]
- Zhu, S.; Du, W.; Wang, X.; Han, G.; Ren, Z.; Zhou, K. Advanced additive remanufacturing technology. Chin. J. Mech. Eng. Addit. Manuf. Front. 2023, 2, 100066. [Google Scholar] [CrossRef]
- Díaz, E.; Amado, J.M.; Montero, J.; Tobar, M.J.; Yáñez, A. Comparative study of co-based alloys in repairing low Cr-Mo steel components by laser cladding. Phys. Procedia 2012, 39, 368–375. [Google Scholar] [CrossRef]
- Foster, J.; Cullen, C.; Fitzpatrick, S.; Payne, G.; Hall, L.; Marashi, J. Remanufacture of hot forging tools and dies using laser metal deposition with powder and a hard-facing alloy Stellite 21®. J. Remanufacturing 2019, 9, 189–203. [Google Scholar] [CrossRef]
- Pellin, A.; Israel, C.L.; Dalcin, R.L. An investigation on the suitability of different welding recovery procedures for cold stamping punches in VF800AT steel. Int. J. Adv. Manuf. Technol. 2024, 132, 2823–2838. [Google Scholar] [CrossRef]
- Pater, Z.; Samołyk, G. Podstawy Technologii Obróbki Plastycznej Metali; Politechnika Lubelska: Lublin, Poland, 2013. [Google Scholar]
- Cao, J.; Banu, M. Opportunities and Challenges in Metal Forming for Lightweighting: Review and Future Work. J. Manuf. Sci. Eng. 2020, 142, 110813. [Google Scholar] [CrossRef]
- Pająk, E. Obróbka ubytkowa. In Technologia Obróbki Wiórowej, Ściernej i Erozyjnej oraz Systemów Mikroelektromechanicznych; Wydawnictwo PWSZ w Koninie: Konin, Poland, 2016. [Google Scholar]
- Joghan, H.D.; Hölker-Jäger, R.; Komodromos, A.; Tekkaya, A.E. Hybrid Additive Manufacturing of Forming Tools. Automot. Innov. 2023, 6, 311–323. [Google Scholar] [CrossRef]
- Yun, S.; Kwon, J.; Cho, W.; Lee, D.H.; Kim, Y. Performance improvement of hot stamping die for patchwork blank using mixed cooling channel designs with straight and conformal channels. Appl. Therm. Eng. 2020, 165, 114562. [Google Scholar] [CrossRef]
- Chantzis, D.; Liu, X.; Politis, D.J. Review on additive manufacturing of tooling for hot stamping. Int. J. Adv. Manuf. Technol. 2020, 109, 87–107. [Google Scholar] [CrossRef]
- Escher, C.; Wilzer, J. Tool steels for hot stamping of high strength automotive body parts. Int. Conf. Stone Concr. Mach. (ICSCM) 2015, 3, 219–228. [Google Scholar]
- Choomlucksana, J.; Ongsaranakorn, M.; Suksabai, P. Improving the Productivity of Sheet Metal Stamping Subassembly Area Using the Application of Lean Manufacturing Principles. Procedia Manuf. 2015, 2, 102–107. [Google Scholar] [CrossRef]
- Dong, Y.; Formosa, D.; Fernandez, J.; Li, X.; Fuentes, G.; Zoltan, K.; Dong, H. Development of low-friction and wear-resistant surfaces for low-cost Al hot stamping tools. MATEC Web Conf. 2015, 21, 05009. [Google Scholar] [CrossRef]
- Toboła, D.; Kalisz, J.; Czechowski, K.; Wronska, I.; Machynia, Z. Surface Treatment for Improving Selected Physical and Functional Properties of Tools and Machine Parts—A Review. J. Appl. Mater. Eng. 2020, 60, 23–36. [Google Scholar] [CrossRef]
- Fainshmidt, E.M.; Pegashkin, V.F. Thermochemical treatment of tools for hot forging. Met. Sci. Heat Treat. 2000, 42, 263–266. [Google Scholar] [CrossRef]
- Zhou, L.; Miller, J.; Vezza, J.; Mayster, M.; Raffay, M.; Justice, Q.; Al Tamimi, Z.; Hansotte, G.; Sunkara, L.D.; Bernat, J. Additive Manufacturing: A Comprehensive Review. Sensors 2024, 24, 2668. [Google Scholar] [CrossRef] [PubMed]
- Ponis, S.; Aretoulaki, E.; Maroutas, T.N.; Plakas, G.; Dimogiorgi, K. A Systematic Literature Review on Additive Manufacturing in the Context of Circular Economy. Sustainability 2021, 13, 6007. [Google Scholar] [CrossRef]
- Asnafi, N. Metal Additive Manufacturing—State of the Art 2020. Metals 2021, 11, 867. [Google Scholar] [CrossRef]
- Alfaify, A.; Saleh, M.; Abdullah, F.M.; Al-Ahmari, A.M. Design for Additive Manufacturing: A Systematic Review. Sustainability 2020, 12, 7936. [Google Scholar] [CrossRef]
- Dehghanghadikolaei, A.; Namdari, N.; Mohammadian, B.; Fotovvati, B. Additive Manufacturing Methods: A Brief Overview. J. Sci. Eng. Res. 2018, 5, 123–131. [Google Scholar]
- Caban, J.; Szala, M.; Kęsik, J.; Czuba, Ł. Wykorzystanie druku 3D w zastosowaniach automotive. Autobusy 2017, 6, 573–579. [Google Scholar]
- Rodzaje Technologii Druku 3D. Available online: https://3dwpraktyce.pl/rodzaje-technologii-druku-3d/ (accessed on 6 June 2024).
- Obeidi, M.A.; Healy, P.; Alobaidi, H.; Bourke, D.; Brabazon, D. Towards a Sustainable Laser Powder Bed Fusion Process via the Characterisation of Additively Manufactured Nitinol Parts. Designs 2024, 8, 45. [Google Scholar] [CrossRef]
- Guan, J.; Wang, Q. Laser Powder Bed Fusion of Dissimilar Metal Materials: A Review. Materials 2023, 16, 2757. [Google Scholar] [CrossRef] [PubMed]
- Pauzon, C.; Hryha, E.; Foret, P.; Nyborg, L. Effect of argon and nitrogen atmospheres on the properties of stainless steel 316 L parts produced by laser-powder bed fusion. Mater. Des. 2019, 179, 107873. [Google Scholar] [CrossRef]
- Humnabad, P.S.; Tarun, R.; Das, I. An Overview Of Direct Metal Laser Sintering (DMLS) Technology For Metal 3D Printing. J. Mines Met. Fuels 2022, 70, 127–133. [Google Scholar] [CrossRef]
- Sing, S.L.; Yeong, W.Y. Laser powder bed fusion for metal additive manufacturing: Perspectives on recent developments. Virtual Phys. Prototyp. 2020, 15, 359–370. [Google Scholar] [CrossRef]
- Sefene, E.M. State-of-the-art of selective laser melting process: A comprehensive review. J. Manuf. Syst. 2022, 63, 250–274. [Google Scholar] [CrossRef]
- Kim, M.S.; Chu, W.S.; Kim, Y.M.; Avila, A.P.G.; Ahm, S.H. Direct metal printing of 3D electrical circuit using rapid prototyping. Int. J. Precis. Eng. Manuf. 2009, 10, 147–150. [Google Scholar] [CrossRef]
- Anuj, S.S.S.; Muralidharan, B. Review on 3D printing techniques for cutting tools with cooling channels. Heliyon 2023, 9, e22557. [Google Scholar]
- Kunisetti, P.; Prasad, B.S. A detailed study on optimizing DMLS process parameters to enhance AlSi10Mg metal component properties. J. Eng. Appl. Sci. 2024, 71, 177. [Google Scholar] [CrossRef]
- Gao, B.; Zhao, H.; Peng, L.; Sun, Z. A Review of Research Progress in Selective Laser Melting (SLM). Micromachines 2023, 14, 57. [Google Scholar] [CrossRef]
- Gunasekaran, J.; Sevvel, P.; Somomon, I.J. Metallic materials fabrication by selective laser melting: A review. Mater. Today Proc. 2021, 37, 252–256. [Google Scholar] [CrossRef]
- Cobbinah, P.V.; Nzeukou, R.A.; Onawale, O.T.; Matizamhuka, W.R. Laser Powder Bed Fusion of Potential Superalloys: A Review. Metals 2021, 11, 58. [Google Scholar] [CrossRef]
- Zhang, C.; Zhu, J.; Zheng, H.; Li, H.; Liu, S.; Cheng, G.J. A review on microstructures and properties of high entropy alloys manufactured by selective laser melting. Int. J. Extrem. Manuf. 2020, 2, 032003. [Google Scholar] [CrossRef]
- Mellor, S.; Hao, L.; Zhang, D. Additive manufacturing: A framework for implementation. Int. J. Prod. Econ. 2014, 149, 194–201. [Google Scholar] [CrossRef]
- Attar, H.; Ehtemam-Haghighi, S.; Kent, D.; Dargusch, M.S. Recent developments and opportunities in additive manufacturing of titanium-based matrix composites: A review. Int. J. Mach. Tools Manuf. 2018, 133, 85–102. [Google Scholar] [CrossRef]
- Kruth, J.-P.; Badrossamay, M.; Yasa, E.; Deckers, J.; Thijs, L.; Van Humbeeck, J. Part and material properties in selective laser melting of metals. In Proceedings of the 16th International Symposium on Electromachining, Shanghai, China, 19–23 April 2010; pp. 1–12. [Google Scholar]
- Olakanmi, E.O.; Cochrane, R.; Dalgarno, K. A review on selective laser sintering/melting (SLS/SLM) of aluminium alloy powders: Processing, microstructure, and properties. Prog. Mater. Sci. 2015, 74, 401–477. [Google Scholar] [CrossRef]
- Yap, C.Y.; Chua, C.K.; Dong, Z.L.; Liu, Z.H.; Zhang, D.Q.; Loh, L.E.; Sing, S.L. Review of selective laser melting: Materials and applications. Appl. Phys. Rev. 2015, 2, 041101. [Google Scholar] [CrossRef]
- Thijs, L.; Verhaeghe, F.; Craeghs, T.; Van Humbeeck, J.; Kruth, J.-P. A study of the microstructural evolution during selective laser melting of Ti–6Al–4V. Acta Mater. 2010, 58, 3303–3312. [Google Scholar] [CrossRef]
- Lamikiz, A.; Sanchez, J.; de Lacalle, L.L.; Arana, J. Laser polishing of parts built up by selective laser sintering. Int. J. Mach. Tools Manuf. 2007, 47, 2040–2050. [Google Scholar] [CrossRef]
- Kang, N.; Fu, Y.; Coddet, P.; Guelorget, B.; Liao, H.; Coddet, C. On the microstructure, hardness and wear behavior of Al-Fe-Cr quasicrystal reinforced Al matrix composite prepared by selective laser melting. Mater. Des. 2017, 132, 105–111. [Google Scholar] [CrossRef]
- Yasa, E.; Deckers, J.; Kruth, J.P. The investigation of the influence of laser remelting on density, surface quality and microstructure of selective laser melting parts. Rapid Prototyp. J. 2011, 17, 312–327. [Google Scholar] [CrossRef]
- EN ISO 6892-1; Metallic Materials—Tensile Testing—Part 1: Method of Test at Room Temperature. ISO: Geneva, Switzerland, 2009.
- Czapla, K.; Żaba, K.; Kot, M.; Nejman, I.; Madej, M.; Trzepieciński, T. Tribological Performance of Anti-Wear Coatings on Tools for Forming Aluminium Alloy Sheets Used for Producing Pull-Off Caps. Materials 2023, 16, 6465. [Google Scholar] [CrossRef] [PubMed]
- ISO 6507-1; Metallic Materials—Vickers Hardness Test Part 1—Test Method. International Organization for Standardization (ISO): Geneva, Switzerland, 2018.
- Sandalli, H.; Özdoğan, M. Review on Galling of Aluminum in Cold Forming Processes. Duzce Univ. J. Sci. Technol. 2024, 12, 1709–1722. [Google Scholar] [CrossRef]
- Filali, O.; Dubois, A.; Moghadam, M.; Nielsen, C.V.; Dubar, L. Numerical prediction of the galling of aluminium alloys in cold strip drawing. J. Manuf. Process. 2022, 73, 340–353. [Google Scholar] [CrossRef]
- Konyashin, I.; Ries, B.; Hlawatschek, D.; Zhuk, Y.; Mazilkin, A.; Straumal, B.; Dorn, F.; Park, D. Wear-resistance and hardness: Are they directly related for nanostructured hard materials? Int. J. Refract. Met. Hard Mater. 2015, 49, 203–211. [Google Scholar] [CrossRef]
- Ajuka, L.O.; Ogedengbe, T.S.; Adeyi, T.; Ikumapayi, O.M.; Akinlabi, E.T. Wear characteristics, reduction techniques and its application in automotive parts–A review. Cogent Eng. 2023, 10, 2170741. [Google Scholar] [CrossRef]
- Gordon, J.V.; Narra, S.P.; Cunningham, R.W.; Liu, H.; Chen, H.; Suter, R.M.; Beuth, J.L.; Rollett, A.D. Defect structure process maps for laser powder bed fusion additive manufacturing. Addit. Manuf. 2020, 36, 101552. [Google Scholar] [CrossRef]
- Sun, J.; Guo, M.; Shi, K.; Gu, D. Influence of powder morphology on laser absorption behavior and printability of nanoparticle-coated 90W-Ni-Fe powder during laser powder bed fusion. Addit. Manuf. 2022, 1, 11. [Google Scholar] [CrossRef]
- Brown, C.U.; Jacob, G.; Possolo, A.M.; Beauchamp, C.R.; Peltz, M.A.; Stoudt, M.R.; Donmez, M.A. The Effects of Laser Powder Bed Fusion Process Parameters on Material Hardness and Density for Nickel Alloy 625. In Advanced Manufacturing Series (NIST AMS); National Institute of Standards and Technology: Gaithersburg, MD, USA, 2018; Report number 100-19. [Google Scholar]
- Asnafi, N. Application of Laser-Based Powder Bed Fusion for Direct Metal Tooling. Metals 2021, 11, 458. [Google Scholar] [CrossRef]
- Asnafi, N.; Rajalampi, J.; Aspenberg, D. Design and validation of 3D-printed tools for stamping of DP600. IOP Conf. Ser. Mater. Sci. Eng. 2019, 651, 012010. [Google Scholar] [CrossRef]
- Mooney, B.; Kourousis, K.I. A Review if Factors Affecting the Mechanical Properties of Maraging Steel 300 Fabricated via Laser Powder Bed Fusion. Metals 2020, 10, 1273. [Google Scholar] [CrossRef]
- Asnafi, N.; Shams, T.; Aspenberg, D.; Oberg, C. 3D Metal Printing from an Industrial Perspective—Product Design, Production, and Business Models. Berg-Und Huettenmaenn Monatshefte 2019, 164, 91–100. [Google Scholar] [CrossRef]
- Asnafi, N.; Rajalampi, J.; Aspenberg, D.; Alveflo, A. Production Tools Made by Additive Manufacturing Through Laser-based Powder Bed Fusion. Berg-Und Huttenmännische Monatshefte (BHM) 2020, 165, 125–136. [Google Scholar] [CrossRef]
- Kiswanto, G.; Mahmudah, A.; Priadi, D. Punch Force Behavior during Micro V-Bending Process of the Copper Foil. Int. J. Technol. 2017, 8, 1314–1320. [Google Scholar] [CrossRef][Green Version]
- Yoshida, T.; Isogai, E. Springback Problems in Forming of High-Strength Steel Sheets and Countermeasures. Nippon Steel Tech. Rep. 2013, 103, 4–10. [Google Scholar]
- Guzmán-Flores, I.; Granda-Gutiérrez, E.E.; Cruz-González, C.E.; Hernández-García, H.M.; Díaz-Guillén, J.C.; Flores-González, L.; Praga-Alejo, R.J.; Martínez-Delgado, D.I. Enhancing the Mechanical Properties of a 6061 Aluminum Alloy by Heat Treatment from the Perspective of Taguchi Design-of-Experiments. Appl. Sci. 2024, 14, 5407. [Google Scholar] [CrossRef]
- Naronikar, A.H.; Jamadagni, H.N.A.; Simha, A.; Saikiran, B. Optimizing the Heat Treatment Parameters of Al-6061 Required for Better Formability. Mater. Today Proc. 2018, 5, 24240–24247. [Google Scholar] [CrossRef]
- Rao, E.S.; Ramanaiah, N. Influence of Heat Treatment on Mechanical and Corrosion Properties of Aluminium Metal Matrix Composites (AA 6061 Reinforced with MoS2). Mater. Today Proc. 2017, 4, 11270–11278. [Google Scholar]

























| C | Cu | Mn | N | P | S | Fe |
|---|---|---|---|---|---|---|
| 0.15 | 0.60 | 1.35 | 0.01 | 0.030 | 0.030 | balance |
| Ni | Co | Mo | Ti | Mn | Si | C | P | S | Fe |
|---|---|---|---|---|---|---|---|---|---|
| 18.50 | 9.75 | 4.25 | 0.90 | 0.10 | 0.10 | 0.01 | 0.005 | 0.005 | balance |
| Yield Strength Rp0.2, MPa | Ultimate Tensile Strength Rm, MPa | Elongation A, % |
|---|---|---|
| 65 | 115 | 29.0 |
| Yield Strength Rp0.2, MPa | Ultimate Tensile Strength Rm, MPa | Elongation A, % |
|---|---|---|
| 528.3 | 958.8 | 47.8 |
| Mg | Mn | Fe | Si | Cu | Zn | Cr | Ti | Other | Al |
|---|---|---|---|---|---|---|---|---|---|
| 1.1 | 0.1 | 0.58 | 0.75 | 0.37 | 0.2 | 0.19 | 0.9 | 0.05 | 95.76 |
| Ni | Cr | Mo | Fe | Nb | Si | Al | Ti | Mn | Co | C | P | Ta | S |
|---|---|---|---|---|---|---|---|---|---|---|---|---|---|
| 61.21 | 21.96 | 8.31 | 4.07 | 3.42 | 0.26 | 0.24 | 0.2 | 0.20 | 0.05 | 0.04 | 0.01 | 0.01 | 0.0002 |
| Distance from the Parting Line, mm | Vickers Hardness HV1 | |
|---|---|---|
| All Results | Without Pores | |
| 5.5 | 374 | 374 |
| 5 | 332 | 357 |
| 4.5 | 346 | 358 |
| 4 | 340 | 351 |
| 3.5 | 335 | 349 |
| 3 | 351 | 354 |
| 2.5 | 340 | 356 |
| 2 | 357 | 357 |
| 1.5 | 353 | 370 |
| 1 | 371 | 371 |
| 0.5 | 398 | 398 |
| 0 | 251 | 251 |
| −0.5 | 184 | 184 |
| −1 | 183 | 183 |
| Distance from the Parting Line, mm | All Results | Without Pores | ||
|---|---|---|---|---|
| O | P | O | P | |
| 5.5 | 389 | 384 | ||
| 5 | 380 | 395 | ||
| 4.5 | 381 | 384 | ||
| 4 | 377 | 388 | ||
| 3.5 | 382 | 386 | ||
| 3 | 388 | 384 | ||
| 2.5 | 387 | 384 | ||
| 2 | 383 | 396 | ||
| 1.5 | 388 | 393 | ||
| 1 | 396 | 389 | ||
| 0.5 | 396 | 388 | ||
| 0 | 256 | 230 | ||
| −0.5 | 187 | 170 | ||
| −1 | 187 | 172 | ||
| Sheet Material (Tool Surface Condition) | Min. HV1 | Max. HV1 | Arithmetic Mean HV1 | Standard Deviation HV1 |
|---|---|---|---|---|
| Inconel 625 (O) | 239 | 321 | 278.23 | 32.24 |
| Inconel 625 (P) | 169 | 357 | 273.54 | 62.80 |
| AW-6061 T0 (O) | 138 | 149 | 142.46 | 3.15 |
| AW-6061 T0 (P) | 131 | 174 | 145.69 | 13.64 |
Disclaimer/Publisher’s Note: The statements, opinions and data contained in all publications are solely those of the individual author(s) and contributor(s) and not of MDPI and/or the editor(s). MDPI and/or the editor(s) disclaim responsibility for any injury to people or property resulting from any ideas, methods, instructions or products referred to in the content. |
© 2024 by the authors. Licensee MDPI, Basel, Switzerland. This article is an open access article distributed under the terms and conditions of the Creative Commons Attribution (CC BY) license (https://creativecommons.org/licenses/by/4.0/).
Share and Cite
Żaba, K.; Balcerzak, M.; Kuczek, Ł.; Wiewióra, M.; Różycka, I.; Trzepieciński, T.; Mizera, J. Application of Powder-Bed Fusion of Metals Using a Laser for Manufacturing of M300 Maraging Steel Tools Intended for Sheet Metal Bending. Materials 2024, 17, 6185. https://doi.org/10.3390/ma17246185
Żaba K, Balcerzak M, Kuczek Ł, Wiewióra M, Różycka I, Trzepieciński T, Mizera J. Application of Powder-Bed Fusion of Metals Using a Laser for Manufacturing of M300 Maraging Steel Tools Intended for Sheet Metal Bending. Materials. 2024; 17(24):6185. https://doi.org/10.3390/ma17246185
Chicago/Turabian StyleŻaba, Krzysztof, Maciej Balcerzak, Łukasz Kuczek, Marcel Wiewióra, Ilona Różycka, Tomasz Trzepieciński, and Jarosław Mizera. 2024. "Application of Powder-Bed Fusion of Metals Using a Laser for Manufacturing of M300 Maraging Steel Tools Intended for Sheet Metal Bending" Materials 17, no. 24: 6185. https://doi.org/10.3390/ma17246185
APA StyleŻaba, K., Balcerzak, M., Kuczek, Ł., Wiewióra, M., Różycka, I., Trzepieciński, T., & Mizera, J. (2024). Application of Powder-Bed Fusion of Metals Using a Laser for Manufacturing of M300 Maraging Steel Tools Intended for Sheet Metal Bending. Materials, 17(24), 6185. https://doi.org/10.3390/ma17246185

