Effects of Mode Mixity and Loading Rate on Fracture Behavior of Cracked Thin-Walled 304L Stainless Steel Sheets with Large Non-Linear Plastic Deformation
Abstract
:1. Introduction
2. Experimental Study
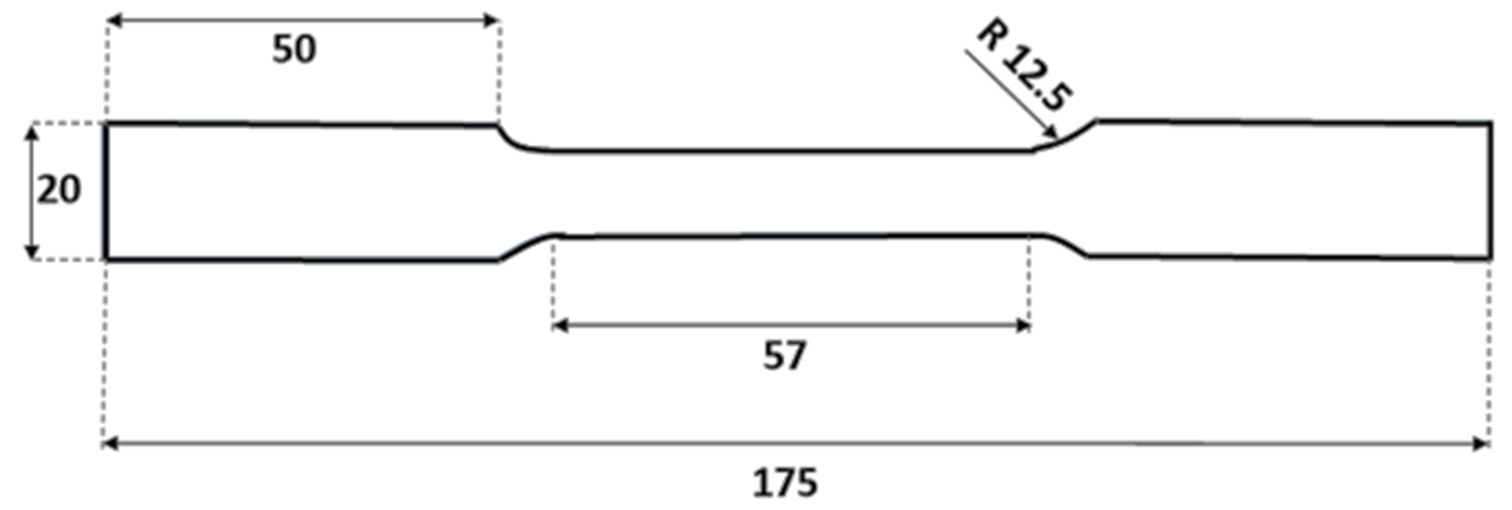
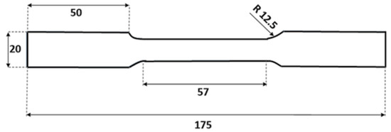
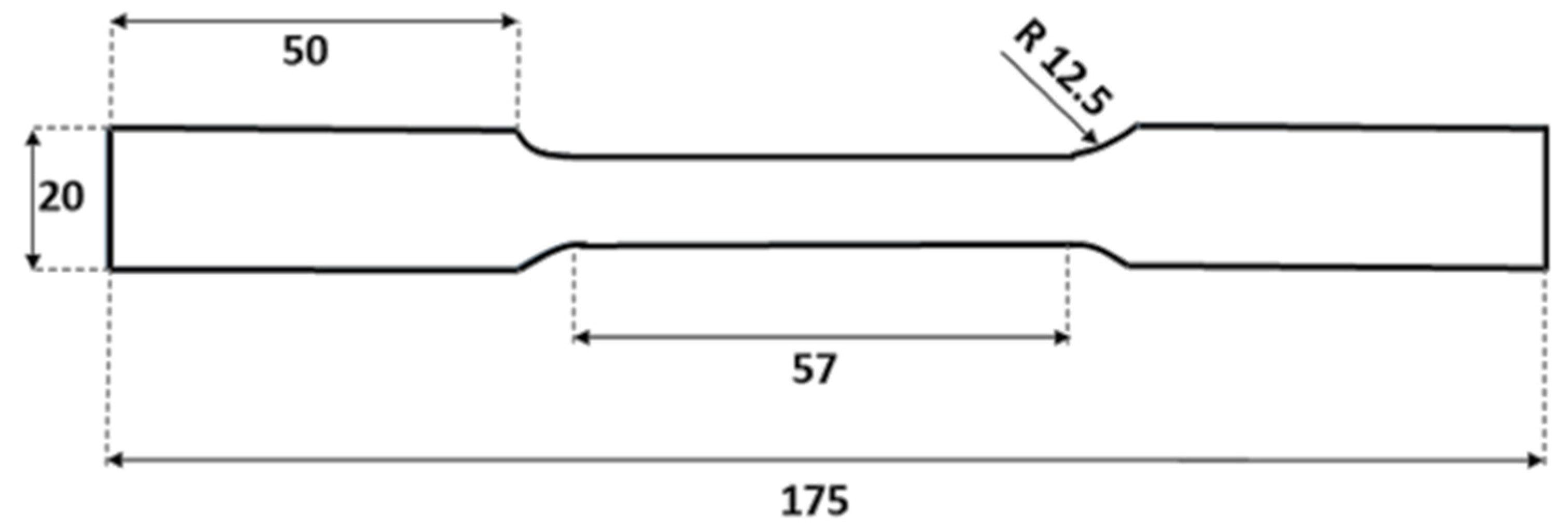
2.1. Material and Specimen
2.2. Fracture Test
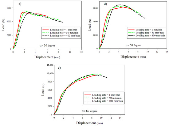
3. Results and Discussion
4. Conclusions
Author Contributions
Funding
Institutional Review Board Statement
Informed Consent Statement
Data Availability Statement
Conflicts of Interest
References
- Haeri, H.; Sarfarazi, V.; Ebneabbasi, P.; Aliha, M.; Saeedi, G.; Karimi, H.R.; Far, A.M. Edge notched disc test for evaluation of mode-I fracture toughness of brittle material. J. Mater. Res. Technol. 2023, 27, 4997–5009. [Google Scholar] [CrossRef]
- Aliha, M.; Zalnezhad, M.; Haghighatpour, P.J. Fracture toughness of colored slurry seal at low temperatures and different loading Modes: Comparative study with warm and hot mix asphalt materials. Constr. Build. Mater. 2023, 409, 133786. [Google Scholar] [CrossRef]
- Bidadi, J.; Akbardoost, J.; Aliha, M.R.M.; Googarchin, H.S.; Akhavan-Safar, A.; da Silva, L.F.M. Mixed-Mode I/II Fracture Load Prediction in Cracked Rock Geometries Using the Tangential Stress Contour (TSC) Method. In Proceedings of the International Conference on Mechanics of Solids, Porto, Portugal, 3–4 November 2023; pp. 65–90. [Google Scholar] [CrossRef]
- Akbardoost, J.; Bidadi, J. Experimental Investigation on the Effect of the Specimen Thickness on the Mode II Fracture Resistance of Rocks. J. Eng. Geol. 2020, 14, 203–222. [Google Scholar]
- Bidadi, J.; Googarchin, H.S.; Akhavan-Safar, A.; da Silva, L. Loading rate effects on mixed-mode I/II fracture envelope of epoxy resins with nonlinear behavior. Theor. Appl. Fract. Mech. 2023, 125, 103858. [Google Scholar] [CrossRef]
- Bidadi, J.; Aliha, M.; Akbardoost, J. Development of maximum tangential strain (MTSN) criterion for prediction of mixed-mode I/III brittle fracture. Int. J. Solids Struct. 2022, 256, 111979. [Google Scholar] [CrossRef]
- Bidadi, J.; Akbardoost, J.; Aliha, M.R.M. Thickness effect on the mode III fracture resistance and fracture path of rock using ENDB specimens. Fatigue Fract. Eng. Mater. Struct. 2020, 43, 277–291. [Google Scholar] [CrossRef]
- Torabi, A.R.; Berto, F.; Campagnolo, A. Elastic-plastic fracture analysis of notched Al 7075-T6 plates by means of the local energy combined with the equivalent material concept. Phys. Mesomech. 2016, 19, 204–214. [Google Scholar] [CrossRef]
- Arabnia, A.; Akbardoost, J.; Cicero, S.; Torabi, A.R. Mixed Mode Fracture Investigation of Rock Specimens Containing Sharp V-Notches. Materials 2022, 15, 8779. [Google Scholar] [CrossRef]
- Torabi, A.R.; Motamedi, M.A.; Bahrami, B.; Noushak, M.; Cicero, S.; Álvarez, J.A. Determination of Translaminar Notch Fracture Toughness for Laminated Composites Using Brazilian Disk Test. Polymers 2022, 14, 3246. [Google Scholar] [CrossRef]
- Torabi, A.; Majidi, H.; Amani, H.; Akbardoost, J. Implementation of XFEM for fracture prediction of VO-notched brittle specimens. Eur. J. Mech. A/Solids 2020, 81, 103970. [Google Scholar] [CrossRef]
- Shi, W. Configurational fracture toughness from the perfectly plastic field ahead of the tip of a sharp V-notch under longitudinal shear. Eur. J. Mech. A/Solids 2016, 55, 67–72. [Google Scholar] [CrossRef]
- Torabi, A.; Talebi, H.; Ayatollahi, M.; Petru, M. Mixed mode I-III fracture resistance of stainless steel 316L weakened by V-notches with end holes. Theor. Appl. Fract. Mech. 2022, 122, 103574. [Google Scholar] [CrossRef]
- Zhu, S.-P.; Xu, S.; Hao, M.-F.; Liao, D.; Wang, Q. Stress-strain calculation and fatigue life assessment of V-shaped notches of turbine disk alloys. Eng. Fail. Anal. 2019, 106, 104187. [Google Scholar] [CrossRef]
- Papanicolaou, G.C.; Kontaxis, L.C.; Portan, D.V.; Petropoulos, G.N.; Valeriou, E.; Alexandropoulos, D. Mechanical Performance Enhancement of Aluminum Single-Lap Adhesive Joints Due to Organized Alumina Nanotubes Layer Formation on the Aluminum Adherends. Appl. Nano 2021, 2, 206–221. [Google Scholar] [CrossRef]
- Torabi, A.; Alaei, M. Mixed-mode ductile failure analysis of V-notched Al 7075-T6 thin sheets. Eng. Fract. Mech. 2015, 150, 70–95. [Google Scholar] [CrossRef]
- Torabi, A.; Berto, F. Strain energy density to assess mode II fracture in U-notched disk-type graphite plates. Int. J. Damage Mech. 2014, 23, 917–930. [Google Scholar] [CrossRef]
- Mirsayar, M.; Shahbazian, B. An energy-based criterion for mixed-mode I/II/III fracture considering effective critical distances. Eng. Fract. Mech. 2022, 272, 108674. [Google Scholar] [CrossRef]
- Hatami, F.; Ayatollahi, M.; Torabi, A. Limit curves for brittle fracture in key-hole notches under mixed mode I/III loading based on stress-based criteria. Eur. J. Mech. A/Solids 2021, 85, 104089. [Google Scholar] [CrossRef]
- Chaudhari, V.V.; Kulkarni, D.M.; Prakash, R. Study of influence of notch root radius on fracture behaviour of extra deep drawn steel sheets. Fatigue Fract. Eng. Mater. Struct. 2009, 32, 975–986. [Google Scholar] [CrossRef]
- Chaudhari, V.V.; Kulkarni, D.M. Influence of loading rate on fracture behaviour of extra deep drawn steel sheets. Fatigue Fract. Eng. Mater. Struct. 2015, 38, 851–859. [Google Scholar] [CrossRef]
- Tosal; Rodríguez; Belzunce; Betegón. A crack tip blunting analysis in the ductile-to-brittle transition of a structural steel. Fatigue Fract. Eng. Mater. Struct. 2000, 23, 365–369. [Google Scholar] [CrossRef]
- Dorward, R.C.; Hasse, K.R. Strain rate effects on tensile deformation of 2024-0 and 7075-0 aluminum alloy sheet. J. Mater. Eng. Perform. 1995, 4, 216–220. [Google Scholar] [CrossRef]
- Ayres, R.A. Thermal gradients, strain rate, and ductility in sheet steel tensile specimens. Met. Trans. A 1985, 16, 37–43. [Google Scholar] [CrossRef]
- Korhonen, A.S.; Kleemola, H.J. Effects of strain rate and deformation heating in tensile testing. Met. Trans. A 1978, 9, 979–986. [Google Scholar] [CrossRef]
- Mukai, T.; Higashi, K.; Tsuchida, S.; Tanimura, S. Influence of strain rate on tensile properties in some commercial aluminum alloys. J. Jpn. Inst. Light Met. 1993, 43, 252–257. [Google Scholar] [CrossRef]
- Fressengeas, C.; Molinari, A. Inertia and thermal effects on the localization of plastic flow. Acta Met. 1985, 33, 387–396. [Google Scholar] [CrossRef]
- Semiatin, S.L.; Ayres, R.A.; Jonas, J.J. An analysis of the nonisothermal tensile test. Met. Trans. A 1985, 16, 2299–2308. [Google Scholar] [CrossRef]
- Torabi, A.; Sadeghian, H.; Ayatollahi, M. Mixed mode I/II crack propagation in stainless steel 316L sheets by large plastic deformations: Prediction of critical load by combining LEFM with fictitious material concept. Eng. Fract. Mech. 2021, 247, 107657. [Google Scholar] [CrossRef]
- Torabi, A.; Berto, F.; Razavi, N. Tensile failure prediction of U-notched plates under moderate-scale and large-scale yielding regimes. Theor. Appl. Fract. Mech. 2018, 97, 434–439. [Google Scholar] [CrossRef]
- Park, S.-H.; Lee, S.; Brust, F.W.; Huh, N.-S. New engineering J-estimation schemes for complex cracked pipes based on energy equivalence concept. Eng. Fract. Mech. 2023, 277, 108999. [Google Scholar] [CrossRef]
- Shukla, S.S.; Murthy, K. A study on the effect of different Paris constants in mixed mode (I/II) fatigue life prediction in Al 7075-T6 alloy. Int. J. Fatigue 2023, 176, 107895. [Google Scholar] [CrossRef]
- Green, S.J.; Langan, J.J.; Leasia, J.D.; Yang, W.H. Material properties, including strain-rate effects, as related to sheet metal forming. Met. Trans. 1971, 2, 1813–1820. [Google Scholar] [CrossRef]
- Takuda, H.; Enami, T.; Kubota, K.; Hatta, N. The formability of a thin sheet of Mg–8.5Li–1Zn alloy. J. Mater. Process. Technol. 2000, 101, 281–286. [Google Scholar] [CrossRef]
- Srinivas, M.; Kamat, S.V. Effect of strain rate on fracture toughness of mild steel. Mater. Sci. Technol. 2001, 17, 529–535. [Google Scholar] [CrossRef]
- Torabi, A.; Ayatollahi, M.; Torabi, M.; Rahimi, A. Crack growth onset in thin aluminum sheets under mixed mode I/II loading: A new form of the Equivalent Material Concept. Thin-Walled Struct. 2019, 144, 106337. [Google Scholar] [CrossRef]
- Jin, H.; Sanborn, B.; Lu, W.-Y.; Song, B. Mechanical characterization of 304L-VAR stainless steel in tension with a full coverage of low, intermediate, and high strain rates. Mech. Mater. 2021, 152, 103654. [Google Scholar] [CrossRef]











| M | Loading Mode | α (Degree) | YI* | YII* |
|---|---|---|---|---|
| 1 | Mode I | 0 | 1.21 | 0 |
| 0.8 | Mixed-mode I/II | 15 | 1.10 | 0.35 |
| 0.57 | Mixed-mode I/II | 30 | 0.78 | 0.61 |
| 0.24 | Mixed-mode I/II | 50 | 0.31 | 0.75 |
| 0 | Mode II | 67 | 0 | 0.58 |
| Property | Loading Rate (mm/min) | ||
|---|---|---|---|
| 1 | 50 | 400 | |
| (MPa) | 280 ± 4 | 259 ± 3.5 | 305 ± 3 |
| (MPa) | 704 ± 3 | 635 ± 5 | 606 ± 4.3 |
| (%) | 98 ± 6 | 105 ± 9 | 108 ± 8 |
Disclaimer/Publisher’s Note: The statements, opinions and data contained in all publications are solely those of the individual author(s) and contributor(s) and not of MDPI and/or the editor(s). MDPI and/or the editor(s) disclaim responsibility for any injury to people or property resulting from any ideas, methods, instructions or products referred to in the content. |
© 2023 by the authors. Licensee MDPI, Basel, Switzerland. This article is an open access article distributed under the terms and conditions of the Creative Commons Attribution (CC BY) license (https://creativecommons.org/licenses/by/4.0/).
Share and Cite
Bidadi, J.; Saeidi Googarchin, H.; Akhavan-Safar, A.; da Silva, L.F.M. Effects of Mode Mixity and Loading Rate on Fracture Behavior of Cracked Thin-Walled 304L Stainless Steel Sheets with Large Non-Linear Plastic Deformation. Materials 2023, 16, 7690. https://doi.org/10.3390/ma16247690
Bidadi J, Saeidi Googarchin H, Akhavan-Safar A, da Silva LFM. Effects of Mode Mixity and Loading Rate on Fracture Behavior of Cracked Thin-Walled 304L Stainless Steel Sheets with Large Non-Linear Plastic Deformation. Materials. 2023; 16(24):7690. https://doi.org/10.3390/ma16247690
Chicago/Turabian StyleBidadi, Jamal, Hamed Saeidi Googarchin, Alireza Akhavan-Safar, and Lucas F. M. da Silva. 2023. "Effects of Mode Mixity and Loading Rate on Fracture Behavior of Cracked Thin-Walled 304L Stainless Steel Sheets with Large Non-Linear Plastic Deformation" Materials 16, no. 24: 7690. https://doi.org/10.3390/ma16247690
APA StyleBidadi, J., Saeidi Googarchin, H., Akhavan-Safar, A., & da Silva, L. F. M. (2023). Effects of Mode Mixity and Loading Rate on Fracture Behavior of Cracked Thin-Walled 304L Stainless Steel Sheets with Large Non-Linear Plastic Deformation. Materials, 16(24), 7690. https://doi.org/10.3390/ma16247690

