Testing the Influence of Metakaolinite and Zeolite on the Adhesion of BFRP and GFRP Bars to Concrete
Abstract
:1. Introduction
- Concrete class (higher concrete classes result in greater adhesion).
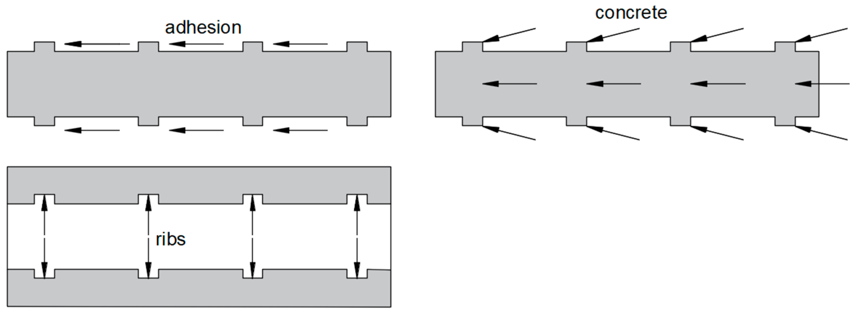
- Friction between materials due to their interlocking.
- The surface condition of the reinforcement (a light, non-peeling rust layer increases adhesion).
- The type of reinforcing bars—ribbed bars exhibit 1.5 times greater adhesion than smooth bars.
- Concrete age (over time, concrete strength increases, affecting adhesion).
- Material adhesion—intermolecular attraction.
- Shear of concrete between the concrete ribs.
- Diameter, shape, as well as the arrangement and termination of the reinforcement.
- Placement and consolidation of the concrete mix (vibrating the concrete ensures thorough encasement of the reinforcing bars in the concrete mix).
- Proper curing of fresh concrete.
2. Materials and Methods
2.1. Materials
2.2. Methods
3. Results
3.1. Analysis of Concrete Properties
3.2. Analysis of the Strength Properties of Bars
3.3. Surface Characteristics of FRP Bars
3.4. Analysis of Tests of Adhesion of Steel and FRP Composite Bars to Concrete
4. Conclusions
- The addition of metakaolin and zeolite to concrete had a positive effect on the adhesion of reinforcing bars to concrete;
- The force–displacement relationship showed a consistent pattern in all the tested series;
- The maximum force values achieved during the tests of the adhesion of basalt bars to concrete were 21.9 kN for reference concrete, 25.4 kN for concrete with metakaolin, and 26.7 kN for concrete with zeolite;
- The GFRP bars in beams exhibited similar force–displacement curves to the basalt reinforcement series, but the maximum force value was the highest, reaching 26.7 kN;
- The use of metakaolin improved adhesion by 8% for basalt BFRP bars and 28% for glass GFRP bars;
- The use of zeolite improved adhesion by 11% for basalt BFRP bars and 33% for glass GFRP bars;
- The addition of active pozzolanic additives in the form of metakaolin to concrete improved the adhesion stress values () by approximately 20% for glass bars and 15% for basalt bars, especially in the destruction phase;
- Adhesion stresses at slip met the normative conditions in all the series.
Author Contributions
Funding
Data Availability Statement
Conflicts of Interest
References
- Szymczak, P. Testing the adhesion of GFRP and BFRP composite rods to concrete. Przegląd Bud. 2018, 89, 2. [Google Scholar]
- Bywalski, C.; Drzazga, M.; Kaźmierowski, M.; Kamiński, M. FRP composite bars as shear reinforcement. Mater. Bud. 2016, 6, 34–35. (In Polish) [Google Scholar]
- Grygo, R.; Kosior-Kazberuk, M. Reinforcement of concrete structures with non-metallic FRP composite bars. In Budownictwo i Inżynieria Środowiska; Politechnika Białostocka: Białystok, Poland, 2017; Volume 8, pp. 21–28. ISSN 2081-3279. (In Polish) [Google Scholar]
- Krassowska, J.; Piña Ramírez, C. Flexural Capacity of Concrete Beams with Basalt Fiber-Reinforced Polymer Bars and Stirrups. Materials 2022, 15, 8270. [Google Scholar] [CrossRef] [PubMed]
- Lapko, A.; Urbański, M. Experimental and theoretical analysis of deflections of concrete beams reinforced with basalt rebar. Arch. Civ. Mech. Eng. 2015, 15, 223–230. [Google Scholar] [CrossRef]
- Woyciechowski, P.; Woliński, P.; Adamczewski, G. Prediction of Carbonation Progress in Concrete Containing Calcareous Fly Ash Co-Binder. Materials 2019, 12, 2665. [Google Scholar] [CrossRef]
- Hosseini, S.J.A.; Koushfar, K.; Rahman, A.B.A.; Razavi, M. Zagadnienie przyczepności w betonie zbrojonym: Przegląd stanu wiedzy. Cem. Wapno Beton 2014, 19, 93–105. [Google Scholar]
- Smarzewski, P.; Stolarski, A. Testing and determining the adhesion stresses of concrete to reinforcing steel. Biul. Wojsk. Akad. Tech. 2007, 56, 7–24. (In Polish) [Google Scholar]
- Rajczyk, M.; Stachecki, B. Experimental studies of adhesion of composite basalt reinforcement (BFRP) to concrete. Sci. J. Częstochowa Univ. Technol. 2011, 24, 202–211. [Google Scholar]
- Achillides, Z. Bond Behaviour of FRP Bars in Concrete. Ph.D. Thesis, University of Sheffield, Sheffield, UK, 1998. [Google Scholar]
- Ahmed, A.; Uddin, N.; Akbar, M.; Salih, R.; Khan, M.A.; Bisheh, H.; Rabczuk, T. Prediction of shear behavior of glass FRP bars-reinforced ultra-highperformance concrete I-shaped beams using machine learning. Int. J. Mech. Mater. Des. 2023. [Google Scholar] [CrossRef]
- Altalmas, A.; El Refai, A.; Abed, F. Bond degradation of basalt fiber-reinforced polymer (BFRP) bars exposed to accelerated aging conditions. Constr. Build. Mater. 2015, 81, 162–171. [Google Scholar] [CrossRef]
- Baena, M.; Torres, L.; Turon, A.; Barris, C. Experimental study of bond behaviour between concrete and FRP bars using a pull-out test. Compos. Part B Eng. 2009, 40, 784–797. [Google Scholar] [CrossRef]
- Banaeipour, A.; Tavakkolizadeh, M.; Akbar, M.; Hussain, Z.; Ostrowski, K.A.; Bahadori, A.; Spyrka, M. Effects of Small Deviations in Fiber Orientation on Compressive Characteristics of Plain Concrete Cylinders Confined with FRP Laminates. Materials 2022, 16, 261. [Google Scholar] [CrossRef]
- Cosenza, E.; Manfredi, G.; Realfonzo, R. Behavior and Modeling of Bond of FRP Rebars to Concrete. J. Compos. Constr. 1997, 1, 40–51. [Google Scholar] [CrossRef]
- Solyom, S.; Balázs, G.L. Bond of FRP bars with different surface characteristics. Constr. Build. Mater. 2020, 264, 119839. [Google Scholar] [CrossRef]
- Grygo, R.; Bujnarowski, K.; Prusiel, J.A. Analysis of the possibility of using plastic post-production waste in construction. Econ. Environ. 2022, 81, 241–256. [Google Scholar] [CrossRef]
- Taerwe, L. Non-Metallic (FRP) Reinforcement for Concrete Structures: Proceedings of the Second International RILEM Symposium; CRC Press: Boca Raton, FL, USA, 1995. [Google Scholar]
- Benmokrane, B.; Tighiouart, B. Bond Strength and Load Distribution of Composite GFRP Reinforcing Bars in Concrete. Mater. J. 1996, 93, 254–259. [Google Scholar]
- San Nicolas, R.; Cyr, M.; Escadeillas, G. Characteristics and applications of flash metakaolins. Appl. Clay Sci. 2013, 83–84, 253–262. [Google Scholar] [CrossRef]
- Konkol, J.; Musiał, K. The influence of age on the compressive strength of concrete modified with the addition of metakaolinite. J. Civ. Eng. Environ. Archit. 2016, 63, 4. (In Polish) [Google Scholar]
- Konkol, J.; Prokopski, G. Optimization of the composition of concretes with the addition of metakaolinite. J. Civ. Eng. Environ. Archit. 2016, 63, 4. (In Polish) [Google Scholar]
- Małaszkiewicz, D.; Świderski, M. The influence of the addition of metakaolinite on selected properties of cement composites. Mater. Bud. 2016, 10, 25–27. (In Polish) [Google Scholar]
- Żebrowski, W.; Wolka, P.; Zieliński, A.; Dąbrowski, M. Reduction of ASR corrosion in concrete using metakaolin MK-40 and traditional mineral additives. Mater. Bud. 2022, 3, 55–58. (In Polish) [Google Scholar]
- Zieliński, A.; Wolka, P.; Żebrowski, W. The influence of the addition of metakaolin on the autogenous and total shrinkage of cement matrix materials. Mater. Bud. 2022, 12, 125–130. (In Polish) [Google Scholar]
- De Silva, P.S.; Glasser, F.P. Pozzolanic activaction of metakaolin. Adv. Cem. Res. 1992, 4, 167–178. [Google Scholar] [CrossRef]
- Ambroise, J.; Maximilien, S.; Pera, J. Properties of Metakaolin blended cements. Adv. Cem. Based Mater. 1994, 1, 161–168. [Google Scholar] [CrossRef]
- Batis, G.; Pantazopoulou, P.; Tsivilis, S.; Badogiannis, E. The effect of metakaolin on the corrosion behavior of cement mortars. Cem. Concr. Compos. 2005, 27, 125–130. [Google Scholar] [CrossRef]
- PN-EN 450-1:2012; Fly Ash for Concrete—Part 1: Definition, Specifications and Conformity Criteria. Polish Committee for Standardization: Warszawa, Poland, 2012.
- EN 206+A2:2021-08; Concrete—Requirements, Properties, Production and Compliance. National Standards Authority of Ireland: Nashua, NH, USA, 2021.
- EN 12350-2:2019; Testing Fresh Concrete. Slump Test. Slovenian Institute for Standardization: Ljubljana, Slovenia, 2019.
- EN 12350-7:2019; TC—Tracked Changes. Testing Fresh Concrete. Air Content. Pressure Methods. Slovenian Institute for Standardization: Ljubljana, Slovenia, 2019.
- EN 12390-3:2009; Testing Hardened Concrete—Part 3: Compressive Strength of Test Specimens. Slovenian Institute for Standardization: Ljubljana, Slovenia, 2009.
- EN 12390-5:2019; Testing Hardened Concrete—Part 5: Flexural Strength of Test Specimens. Slovenian Institute for Standardization: Ljubljana, Slovenia, 2019.
- EN 12390-13:2013; Testing Hardened Concrete. Determination of Secant Modulus of Elasticity in Compression. Slovenian Institute for Standardization: Ljubljana, Slovenia, 2013.
- ACI Committee 440. Guide for the Design and Connstruction of Structural Concrete Reinforced with Fiber-Reinforced Polymer (FRP) Bars; American Concrete Institute: Farmington Hills, MI, USA, 2015. [Google Scholar]
- EN 10080-2005; Steel for the Reinforcement of Concrete. European Committee for Standardization: Brussels, Belgium, 2007.
- AL-mahmoud, F.; Castel, A.; François, R.; Tourneur, C. Effect of surface pre-conditioning on bond of carbon fibre reinforced polymer rods to concrete. Cem. Concr. Compos. 2007, 29, 677–689. [Google Scholar] [CrossRef]
- Hao, Q.; Wang, Y.; He, Z.; Ou, J. Bond strength of glass fiber reinforced polymer ribbed rebars in normal strength concrete. Constr. Build. Mater. 2009, 23, 865–871. [Google Scholar] [CrossRef]
- Soong, W.H.; Raghavan, J.; Rizkalla, S.H. Fundamental mechanisms of bonding of glass fiber reinforced polymer reinforcement to concrete. Constr. Build. Mater. 2011, 25, 2813–2821. [Google Scholar] [CrossRef]
- EN 1992-1-1:2008; Eurokod 2 Design of Concrete Structures—Part 1-1: General Rules and Rules for Buildings. Polski Komitet Normalizacji: Warsaw, Poland, 2008.
- RILEM. RILEM TC 162-TDF: Test and design methods for steel fibre reinforced concrete. Mater. Struct. 2003, 36, 560–567. [Google Scholar]
- Rojas, M.F.; Cabrera, J. The effect of temperature on the hydration rate and stability of the hydration phases of metakaolin–lime–water systems. Cem. Concr. Res. 2002, 32, 133–138. [Google Scholar] [CrossRef]














| Reference Concrete | Concrete with Metakaolin (10%) | Concrete with Zeolite (10%) | |
|---|---|---|---|
| Steel | R+steel-01 | M+steel-01 | Z+steel-01 |
| R+steel-02 | M+steel-02 | Z+steel-02 | |
| R+steel-03 | M+steel-03 | Z+steel-03 | |
| BFRP | R+BFRP-01 | M+BFRP-01 | Z+BFRP-01 |
| R+BFRP-02 | M+BFRP-02 | Z+BFRP-02 | |
| R+BFRP-03 | M+BFRP-03 | Z+BFRP-03 | |
| GFRP | R+GFRP-01 | M+GFRP-01 | Z+GFRP-01 |
| R+GFRP-02 | M+GFRP-02 | Z+GFRP-02 | |
| R+GFRP-03 | M+GFRP-03 | Z+GFRP-03 |
| Mixture Proportions | Quantity |
|---|---|
| Cement 42.5R, kg/m3 | 360 |
| Water, kg/m3 | 162 |
| Sand 0.125–4 mm, kg/m3 | 709 |
| Aggregate 2/8, kg/m3 | 709 |
| Aggregate 8/16, kg/m3 | 631 |
| Metakaolin or Zeolit | 36 |
| Concrete | Slump | Density | fck | fctm | Ecm |
|---|---|---|---|---|---|
| mm | kg/m3 | MPa | MPa | GPa | |
| R | 200 ± 2.35 | 2529.5 ± 3.25 | 51.96 ± 1.57 | 3.55 ± 0.27 | 29.33 ± 1.01 |
| M | 210 ± 1.63 | 2390.5 ± 0.36 | 62.15 ± 0.87 | 3.84 ± 0.65 | 30.55 ± 1.35 |
| Z | 35 ± 1.17 | 2321.5 ± 0.87 | 59.33 ± 6.59 | 3.79 ± 0.10 | 33.25 ± 0.98 |
| Bars | Ø | fu | Agt | E |
|---|---|---|---|---|
| mm | MPa | % | GPa | |
| STEEL | 8.09 ± 1.60 | 511.2 ± 2.8 | 8.2 ± 1.3 | 215.8 ± 1.3 |
| BFRP | 7.24 ± 1.58 | 879.5 ± 18.3 | 4.2 ± 4.0 | 39.1 ± 2.4 |
| GFRP | 8.06 ± 2.56 | 744.3 ± 43.7 | 2.45 ± 2.4 | 37.81 ± 2.6 |
| Bars | ||||||
|---|---|---|---|---|---|---|
| Mm | mm | mm | mm2 | Mm | - | |
| Steel | 3.02 | 0.70 | 8.09 | 51.4 | 17.03 | 2.11 |
| BFRP | 10.56 | 1.06 | 7.24 | 41.1 | 3.89 | 0.54 |
| GFRP | 15.58 | 1.16 | 8.06 | 51.0 | 3.28 | 0.41 |
| Bars | Average Value of Force Applied to the Sample [kN] at Slip | Average Tensile Stresses [MPa] at Slip | ||||||
|---|---|---|---|---|---|---|---|---|
| F0.001 | F0.1 | F1 | Fmax | |||||
| kN | kN | kN | kN | MPa | MPa | MPa | MPa | |
| R-steel | 12.8 | 26.4 | 26.4 | 26.4 | 303.1 | 625.2 | 625.2 | 625.2 |
| R-BFRP | 12.1 | 19.2 | 19.2 | 21.0 | 286.6 | 454.7 | 454.7 | 497.3 |
| R-GFRP | 11.7 | 16.0 | 16.0 | 20.6 | 277.1 | 378.9 | 378.9 | 487.9 |
| M-steel | 13.4 | 22.4 | 24.0 | 25.0 | 316.9 | 530.5 | 568.4 | 592.1 |
| M-BFRP | 11.8 | 12.8 | 16.0 | 25.2 | 279.0 | 303.1 | 378.9 | 596.8 |
| M-GFRP | 12.5 | 19.2 | 19.2 | 25.8 | 296.0 | 454.7 | 454.7 | 611.0 |
| Z-steel | 16.0 | 22.4 | 19.2 | 24.8 | 378.9 | 530.5 | 454.7 | 587.3 |
| Z-BFRP | 16.0 | 16.0 | 19.2 | 27.6 | 378.9 | 378.9 | 454.7 | 653.7 |
| Z-GFRP | 19.2 | 16.0 | 19.2 | 27.8 | 454.7 | 378.9 | 454.7 | 658.4 |
Disclaimer/Publisher’s Note: The statements, opinions and data contained in all publications are solely those of the individual author(s) and contributor(s) and not of MDPI and/or the editor(s). MDPI and/or the editor(s) disclaim responsibility for any injury to people or property resulting from any ideas, methods, instructions or products referred to in the content. |
© 2023 by the authors. Licensee MDPI, Basel, Switzerland. This article is an open access article distributed under the terms and conditions of the Creative Commons Attribution (CC BY) license (https://creativecommons.org/licenses/by/4.0/).
Share and Cite
Krassowska, J.; Wolka, P.; Protchenko, K.; Vidales-Barriguete, A. Testing the Influence of Metakaolinite and Zeolite on the Adhesion of BFRP and GFRP Bars to Concrete. Materials 2023, 16, 7435. https://doi.org/10.3390/ma16237435
Krassowska J, Wolka P, Protchenko K, Vidales-Barriguete A. Testing the Influence of Metakaolinite and Zeolite on the Adhesion of BFRP and GFRP Bars to Concrete. Materials. 2023; 16(23):7435. https://doi.org/10.3390/ma16237435
Chicago/Turabian StyleKrassowska, Julita, Paweł Wolka, Kostiantyn Protchenko, and Alejandra Vidales-Barriguete. 2023. "Testing the Influence of Metakaolinite and Zeolite on the Adhesion of BFRP and GFRP Bars to Concrete" Materials 16, no. 23: 7435. https://doi.org/10.3390/ma16237435
APA StyleKrassowska, J., Wolka, P., Protchenko, K., & Vidales-Barriguete, A. (2023). Testing the Influence of Metakaolinite and Zeolite on the Adhesion of BFRP and GFRP Bars to Concrete. Materials, 16(23), 7435. https://doi.org/10.3390/ma16237435

