Effect of Frequency and Ratio of Wet/Dry Stages in Cyclic Corrosion Tests on Localized Corrosion of Complex-Phase High-Strength Steel
Abstract
:1. Introduction
2. Materials and Methods
2.1. Specimens, Solution, and Microstructure Analysis
2.2. Electrochemical Tests
2.3. Cyclic Corrosion Tests and Corrosion Product Analysis
3. Results and Discussion
3.1. Microstructure Analysis
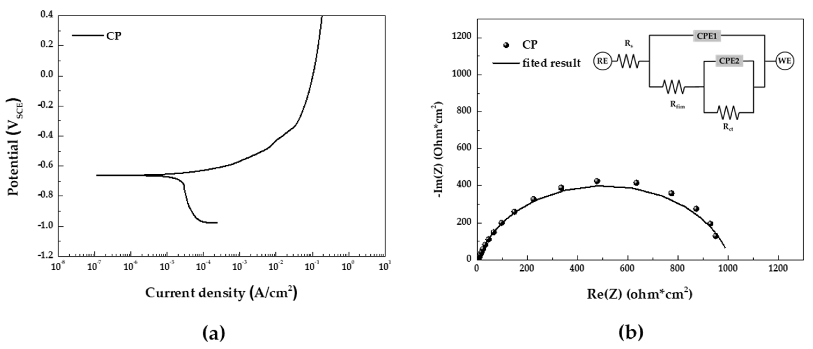
3.2. Electrochemical Tests
3.3. Effect of Frequency and Ratio of Wet/Dry Stage in the CCT
3.4. Analysis of Corrosion Products and Cross-Section after CCT
3.5. Mechanism of Localized Corrosion in CCT
3.5.1. Corrosion Mechanism of Salt Spray and Dry Stages in the CCT
3.5.2. Corrosion Mechanism of Wet Stage in the CCT
3.5.3. Effect of Frequency and Ratio of Wet/Dry Stage in the CCT
4. Conclusions
- The microstructure of CP steel consists of ferrite, bainite, and martensite with different surface potentials.
- The electrochemical measurements demonstrated that uniform corrosion occurred during the salt spray stage of CCT.
- With increasing frequency and ratio of wet/dry stages up to 15 CCT cycles, localized corrosion was accelerated more than uniform corrosion, resulting in an increase in the pitting factor.
- However, starting from the 15th CCT cycle, when the ratio of wet/dry stages was set to 3, uniform corrosion accelerated more than localized corrosion, leading to a decrease in the pitting factor because of the remaining water film.
- After conducting CCT for up to 30 cycles, we found that simulating localized corrosion was most effective when the frequency and ratio of wet/dry stages were both set to 2.
Supplementary Materials
Author Contributions
Funding
Institutional Review Board Statement
Informed Consent Statement
Data Availability Statement
Conflicts of Interest
References
- Kuziak, R.; Kawalla, R.; Waengler, S. Advanced high strength steels for automotive industry. Arch. Civ. Mech. Eng. 2008, 8, 103–117. [Google Scholar] [CrossRef]
- Bracke, L.; Verbeken, K.; Kestens, L.; Penning, J. Microstructure and texture evolution during cold rolling and annealing of a high Mn TWIP steel. Acta Mater. 2009, 57, 1512–1524. [Google Scholar] [CrossRef]
- Liu, Q.; Zhou, Q.; Venezuela, J.; Zhang, M.; Wang, J.; Atrens, A. A review of the influence of hydrogen on the mechanical properties of DP, TRIP, and TWIP advanced high-strength steels for auto construction. Corros. Rev. 2016, 34, 127–152. [Google Scholar] [CrossRef]
- Lesch, C.; Kwiaton, N.; Klose, F.B. Advanced high strength steels (AHSS) for automotive applications– tailored properties by smart microstructural adjustments. Steel Res. Int. 2017, 88, 1700210. [Google Scholar] [CrossRef]
- Cho, S.-W.; Ko, S.-J.; Yoo, J.-S.; Yoo, Y.-H.; Song, Y.-K.; Kim, J.-G. Effect of Cr on aqueous and atmospheric corrosion of automotive carbon steel. Materials 2021, 14, 2444. [Google Scholar] [CrossRef] [PubMed]
- Dong, B.; Liu, W.; Zhang, T.; Chen, L.; Fan, Y.; Zhao, Y.; Li, H.; Yang, W.; Sun, Y. Clarifying the effect of a small amount of Cr content on the corrosion of Ni-Mo steel in tropical marine atmospheric environment. Corros. Sci. 2023, 210, 110813. [Google Scholar] [CrossRef]
- Yang, X.; Yang, Y.; Sun, M.; Jia, J.; Cheng, X.; Pei, Z.; Li, Q.; Xu, D.; Xiao, K.; Li, X. A new understanding of the effect of Cr on the corrosion resistance evolution of weathering steel based on big data technology. J. Mater. Sci. Technol. 2022, 104, 67–80. [Google Scholar] [CrossRef]
- Hao, L.; Zhang, S.; Dong, J.; Ke, W. Atmospheric corrosion resistance of MnCuP weathering steel in simulated environments. Corros. Sci. 2011, 53, 4187–4192. [Google Scholar] [CrossRef]
- Kim, K.M.; Kim, G.-I.; Son, G.-H.; Yoo, Y.-H.; Hong, S.; Kim, J.-G. New Accelerated Corrosion Test Method Simulating Atmospheric Corrosion of Complex Phase Steel Combining Cyclic Corrosion Test and Electrochemically Accelerated Corrosion Test. Materials 2023, 16, 3132. [Google Scholar] [CrossRef]
- Liu, B.; Mu, X.; Yang, Y.; Hao, L.; Ding, X.; Dong, J.; Zhang, Z.; Hou, H.; Ke, W. Effect of tin addition on corrosion behavior of a low-alloy steel in simulated costal-industrial atmosphere. J. Mater. Sci. Technol. 2019, 35, 1228–1239. [Google Scholar] [CrossRef]
- Hao, L.; Zhang, S.; Dong, J.; Ke, W. Evolution of atmospheric corrosion of MnCuP weathering steel in a simulated coastal-industrial atmosphere. Corros. Sci. 2012, 59, 270–276. [Google Scholar] [CrossRef]
- ISO 14993; Corrosion of Metals and Alloys–Accelerated Testing Involving Cyclic Exposure to Salt Mist, Dry and Wet Conditions. International Organization for Standardization [ISO]: Geneva, Switzerland, 2018.
- Sato, K.; Sueyoshi, H.; Yamada, K. Characterization of complex phase steel using backscattered electron images with controlled collection angles. Microscopy 2015, 64, 297–304. [Google Scholar] [CrossRef] [PubMed]
- Guan, M.; Yu, H. Fatigue crack growth behaviors in hot-rolled low carbon steels: A comparison between ferrite–pearlite and ferrite–bainite microstructures. Mater. Sci. Eng. A 2013, 559, 875–881. [Google Scholar] [CrossRef]
- Hofer, C.; Leitner, H.; Winkelhofer, F.; Clemens, H. Structural characterization of, S.P. “carbide-free” bainite in a Fe–0.2 C–1.5 Si–2.5 Mn steel. Mater. Charact. 2015, 102, 85–91. [Google Scholar] [CrossRef]
- Santofimia, M.; Zhao, L.; Petrov, R.; Sietsma, J. Characterization of the microstructure obtained by the quenching and partitioning process in a low-carbon steel. Mater. Charact. 2008, 59, 1758–1764. [Google Scholar] [CrossRef]
- Traxler, I.; Schimo-Aichhorn, G.; Muhr, A.; Commenda, C.; Jerrar, A.; Sagl, R.; Mraczek, K.; Rudomilova, D.; Luckeneder, G.; Duchaczek, H. Optimization of metallographic sample preparation for AFM/SKPFM based phase distinction of complex and dual phase high strength steels. Pract. Metallogr. 2021, 58, 308–331. [Google Scholar] [CrossRef]
- Fushimi, K.; Yanagisawa, K.; Nakanishi, T.; Hasegawa, Y.; Kawano, T.; Kimura, M. Microelectrochemistry of dual-phase steel corroding in 0.1 M sulfuric acid. Electrochim. Acta 2013, 114, 83–87. [Google Scholar] [CrossRef]
- Hu, Q.; Cheng, Y.F. Measurements by SKPFM and Finite-Element Modeling of Hydrogen Atom Diffusion and Distribution in Ferrite and Bainite Contained in X80 Steel. Steel Res. Int. 2023, 94, 2200810. [Google Scholar] [CrossRef]
- Ito, M.; Ooi, A.; Tada, E.; Nishikata, A. In situ evaluation of carbon steel corrosion under salt spray test by electrochemical impedance spectroscopy. J. Electrochem. Soc. 2020, 167, 101508. [Google Scholar] [CrossRef]
- Isakhani-Zakaria, M.; Allahkaram, S.R.; Ramezani-Varzaneh, H.A. Evaluation of corrosion behaviour of Pb-Co3O4 electrodeposited coating using EIS method. Corros. Sci. 2019, 157, 472–480. [Google Scholar] [CrossRef]
- Bentiss, F.; Lebrini, M.; Vezin, H.; Chai, F.; Traisnel, M.; Lagrené, M. Enhanced corrosion resistance of carbon steel in normal sulfuric acid medium by some macrocyclic polyether compounds containing a 1, 3, 4-thiadiazole moiety: AC impedance and computational studies. Corros. Sci. 2009, 51, 2165–2173. [Google Scholar] [CrossRef]
- Ebrahimi, N.; Momeni, M.; Kosari, A.; Zakeri, M.; Moayed, M.H. A comparative study of critical pitting temperature (CPT) of stainless steels by electrochemical impedance spectroscopy (EIS), potentiodynamic and potentiostatic techniques. Corros. Sci. 2012, 59, 96–102. [Google Scholar] [CrossRef]
- Li, Q.; Wang, Z.; Han, W.; Han, E. Characterization of the corrosion products formed on carbon steel in Qinghai salt lake atmosphere. Corrosion 2007, 63, 640–647. [Google Scholar] [CrossRef]
- Liu, Y.; Liu, M.; Lu, X.; Wang, Z. Effect of temperature and ultraviolet radiation on corrosion behavior of carbon steel in high humidity tropical marine atmosphere. Mater. Chem. Phys. 2022, 277, 124962. [Google Scholar] [CrossRef]
- Fan, Y.; Liu, W.; Li, S.; Chowwanonthapunya, T.; Wongpat, B.; Zhao, Y.; Dong, B.; Zhang, T.; Li, X. Evolution of rust layers on carbon steel and weathering steel in high humidity and heat marine atmospheric corrosion. J. Mater. Sci. Technol. 2020, 39, 190–199. [Google Scholar] [CrossRef]
- Asami, K.; Kikuchi, M. In-depth distribution of rusts on a plain carbon steel and weathering steels exposed to coastal–industrial atmosphere for 17 years. Corros. Sci. 2003, 45, 2671–2688. [Google Scholar] [CrossRef]
- Wang, Y.; Mu, X.; Dong, J.; Umoh, A.J.; Ke, W. Insight into atmospheric corrosion evolution of mild steel in a simulated coastal atmosphere. J. Mater. Sci. Technol. 2021, 76, 41–50. [Google Scholar] [CrossRef]
- Li, S.; Hihara, L. In situ Raman spectroscopic identification of rust formation in Evans’ droplet experiments. Electrochem. Commun. 2012, 18, 48–50. [Google Scholar] [CrossRef]
- Li, Z.-L.; Xiao, K.; Dong, C.-F.; Cheng, X.-Q.; Xue, W.; Yu, W. Atmospheric corrosion behavior of low-alloy steels in a tropical marine environment. J. Iron Steel Res. Int. 2019, 26, 1315–1328. [Google Scholar] [CrossRef]
- Hao, L.; Zhang, S.; Dong, J.; Ke, W. Evolution of corrosion of MnCuP weathering steel submitted to wet/dry cyclic tests in a simulated coastal atmosphere. Corros. Sci. 2012, 58, 175–180. [Google Scholar] [CrossRef]
- Alcántara, J.; de la Fuente, D.; Chico, B.; Simancas, J.; Díaz, I.; Morcillo, M. Marine atmospheric corrosion of carbon steel: A review. Materials 2017, 10, 406. [Google Scholar] [CrossRef] [PubMed]
- Ma, Y.; Li, Y.; Wang, F. Corrosion of low carbon steel in atmospheric environments of different chloride content. Corros. Sci. 2009, 51, 997–1006. [Google Scholar] [CrossRef]
- Dai, N.; Zhang, J.; Chen, Q.; Yi, B.; Cao, F.; Zhang, J. Effect of the direct current electric field on the initial corrosion of steel in simulated industrial atmospheric environment. Corros. Sci. 2015, 99, 295–303. [Google Scholar] [CrossRef]
- Oh, S.J.; Cook, D.; Townsend, H. Atmospheric corrosion of different steels in marine, rural and industrial environments. Corros. Sci. 1999, 41, 1687–1702.s. [Google Scholar] [CrossRef]
- Alcántara, J.; Chico, B.; Díaz, I.; De la Fuente, D.; Morcillo, M. Airborne chloride deposit and its effect on marine atmospheric corrosion of mild steel. Corros. Sci. 2015, 97, 74–88. [Google Scholar] [CrossRef]
- Jones, D.A. Principles and Prevention of Corrosion, 2nd ed.; Upper Saddle River, NJ, USA, 1996; pp. 213–214. [Google Scholar]
- Thee, C.; Hao, L.; Dong, J.; Mu, X.; Wei, X.; Li, X.; Ke, W. Atmospheric corrosion monitoring of a weathering steel under an electrolyte film in cyclic wet–dry condition. Corros. Sci. 2014, 78, 130–137. [Google Scholar] [CrossRef]












| Specimens | Composition (wt.%) | ||||||||
|---|---|---|---|---|---|---|---|---|---|
| C | Cr | Si | Mn | Ni | Al | Nb | Ti | Fe | |
| CP steel | 0.11–0.18 | - | 0.4–1.2 | 1.8–2.6 | 0.8–1.2 | 0.01–0.04 | 0.01–0.05 | 0.01–0.03 | Bal. |
| No. | Cycle Flow | |||||||||||||||||||||||||||||||||
|---|---|---|---|---|---|---|---|---|---|---|---|---|---|---|---|---|---|---|---|---|---|---|---|---|---|---|---|---|---|---|---|---|---|---|
| h. | 1 | 2 | 3 | 4 | 5 | 6 | 7 | 8 | Freq. (/Cycle) | Ratio (/Cycle) | ||||||||||||||||||||||||
| min. | 15 | 30 | 45 | 60 | 15 | 30 | 45 | 60 | 15 | 30 | 45 | 60 | 15 | 30 | 45 | 60 | 15 | 30 | 45 | 60 | 15 | 30 | 45 | 60 | 15 | 30 | 45 | 60 | 15 | 30 | 45 | 60 | ||
| 1 | Salt spray | Dry | Wet | 1 | 1 | |||||||||||||||||||||||||||||
| 2 | Salt spray | Dry | Wet | Dry | Wet | 2 | 1 | |||||||||||||||||||||||||||
| 3 | Salt spray | Dry | Wet | Dry | Wet | 2 | 2 | |||||||||||||||||||||||||||
| 4 | Salt spray | Dry | Wet | Dry | Wet | 2 | 3 | |||||||||||||||||||||||||||
| Specimen | Ecorr (VSCE) | icorr (A/cm2) | βa (mVSCE/de.) | βc (mVSCE/de.) |
|---|---|---|---|---|
| CP steel | −0.660 | 2.29 × 10−5 | 47.8 | 859.1 |
| Specimen | Rs (Ω × cm2) | CPE 1 | Rfilm (Ω × cm2) | CPE 2 | Rct (Ω × cm2) | Rp (Ω × cm2) | ||
|---|---|---|---|---|---|---|---|---|
| Qfilm (Fsn−1/cm2) | n1 | Qdl (Fsn−1/cm2) | n2 | |||||
| CP steel | 4.06 | 3.20 × 10−4 | 0.86 | 10.23 | 2.31 × 10−4 | 0.85 | 994 | 1004 |
| CCT Condition | No. 1 | No. 2 | No. 3 | No. 4 | ||||
|---|---|---|---|---|---|---|---|---|
| CCT Cycle | 15 Cycles | 30 Cycles | 15 Cycles | 30 Cycles | 15 Cycles | 30 Cycles | 15 Cycles | 30 Cycles |
| Localized corrosion density (#/49 cm2) | 28 | 11 | 33 | 39 | 59 | 62 | 109 | 74 |
| Localized corrosion area fraction (%) | 4.87 | 3.23 | 8.63 | 13.97 | 5.24 | 15.69 | 9.36 | 17.21 |
| Specimen | CCT Condition | Uniform Corrosion [y (mg/cm2), x (Cycle Number)] | Localized Corrosion [y (μm), x (Cycle Number)] | α1 (%) | α2 (%) |
|---|---|---|---|---|---|
| CP steel | No. 1 | y = 16.16 + 3.280 x, R2 = 99.19% | y = 18.67 + 9.036 x, R2 = 100.0% | - | - |
| No. 2 | y = 12.79 + 3.597 x, R2 = 99.96% | y = −15.77 + 14.20 x, R2 = 94.32% | 9.7 | 57.1 | |
| No. 3 | y = 19.63 + 3.656 x, R2 = 98.94% | y = 9.90+ 14.80 x, R2 = 88.12% | 11.5 | 63.8 | |
| No. 4 | y = 1.27 + 4.95 x, R2 = 95.12% | y = 40.90 + 14.88 x, R2 = 88.57% | 50.9 | 64.7 |
Disclaimer/Publisher’s Note: The statements, opinions and data contained in all publications are solely those of the individual author(s) and contributor(s) and not of MDPI and/or the editor(s). MDPI and/or the editor(s) disclaim responsibility for any injury to people or property resulting from any ideas, methods, instructions or products referred to in the content. |
© 2023 by the authors. Licensee MDPI, Basel, Switzerland. This article is an open access article distributed under the terms and conditions of the Creative Commons Attribution (CC BY) license (https://creativecommons.org/licenses/by/4.0/).
Share and Cite
Yoo, J.-S.; Kim, G.-I.; Kim, J.-G. Effect of Frequency and Ratio of Wet/Dry Stages in Cyclic Corrosion Tests on Localized Corrosion of Complex-Phase High-Strength Steel. Materials 2023, 16, 7329. https://doi.org/10.3390/ma16237329
Yoo J-S, Kim G-I, Kim J-G. Effect of Frequency and Ratio of Wet/Dry Stages in Cyclic Corrosion Tests on Localized Corrosion of Complex-Phase High-Strength Steel. Materials. 2023; 16(23):7329. https://doi.org/10.3390/ma16237329
Chicago/Turabian StyleYoo, Jin-Seok, Geon-Il Kim, and Jung-Gu Kim. 2023. "Effect of Frequency and Ratio of Wet/Dry Stages in Cyclic Corrosion Tests on Localized Corrosion of Complex-Phase High-Strength Steel" Materials 16, no. 23: 7329. https://doi.org/10.3390/ma16237329
APA StyleYoo, J.-S., Kim, G.-I., & Kim, J.-G. (2023). Effect of Frequency and Ratio of Wet/Dry Stages in Cyclic Corrosion Tests on Localized Corrosion of Complex-Phase High-Strength Steel. Materials, 16(23), 7329. https://doi.org/10.3390/ma16237329
