Investigations into the Influence of Temperature on the Tensile Shear Strength of Various Adhesives
Abstract
:1. Introduction
2. Materials and Methods
2.1. Materials
2.1.1. Wood
2.1.2. Adhesives
2.2. Methods
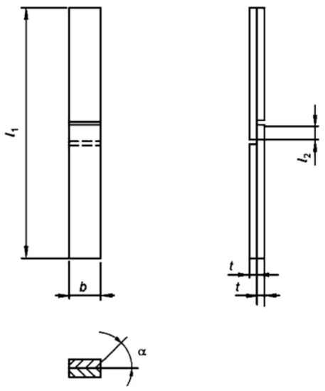
2.2.1. Tensile Shear Strength According to EN 302-1:2013-06
Temperature Curves during Heating
2.2.2. DSC
- Heating rate: 20 °C/min,
- Temperature range: −80 °C to 200 °C.
3. Results
3.1. Shear Strength
- Solid wood: 34% (significant, p = 4.482 × 10−19)
- PRF: 33% (significant, p = 7.165 × 10−10)
- MF: 34% (significant, p = 2.478 × 10−10)
- PUR 1F (with fibers): 53% (significant, p = 6.675 × 10−21)
- PUR 1 (without fibers): 53% (significant, p = 6.027 × 10−25)
- PVAc: 96% (significant, p = 1.172 × 10−27)
- EPI: 50% (significant, p = 1.046 × 10−12)
3.2. DSC
4. Discussion
5. Conclusions
Author Contributions
Funding
Data Availability Statement
Acknowledgments
Conflicts of Interest
References
- Niemz, P.; Teischinger, A.; Sandberg, D. Springer Handbook of Wood Science and Technology, 1st ed.; Springer: Cham, Switzerland, 2023. [Google Scholar] [CrossRef]
- Clauß, S. Structure-Property Relationships of One-Component Moisture-Curing Polyurethane Adhesives under Thermal Load. Ph.D. Thesis, ETH Zürich, Zürich, Switzerland, 2011. [Google Scholar]
- Leyder, C.; Klippel, M.; Bartlomé, O.; Heeren, N.; Kissling, S.; Goto, Y.; Frangi, A. Investigations on the Sustainable Resource Use of Swiss Timber. Sustainability 2021, 13, 1237. [Google Scholar] [CrossRef]
- Hozjan, T.; Bedon, C.; Orgin, A.; Cvetkovska, M.; Klippel, M. Literature Review on Timber–Concrete Composite Structures in Fire. J. Struct. Eng. 2019, 145, 04019142. [Google Scholar] [CrossRef]
- Ehrhart, T.; Palma, P.; Schubert, M.; Steiger, R.; Frangi, A. Predicting the strength of European beech (Fagus sylvatica L.) boards using image-based local fibre direction data. Wood Sci. Technol. 2022, 56, 123–146. [Google Scholar] [CrossRef]
- Motohashi, K.; Tomita, B.; Mizumachi, H.; Sakaguchi, H. Temperature Dependency of Bond Strength of Polyvinyl Acetate Emulsion Adhesives for Wood. Default J. 1984, 16, 72–85. [Google Scholar]
- Qin, Z.; Teng, K. Mechanical model and changed chemical structure of phenol-formaldehyde adhesive on plywood with different hot press process. J. Adhes. 2022, 98, 2348–2365. [Google Scholar] [CrossRef]
- Matyašovský, J.; Sedliacik, J.; Simon, P.; Novak, I.; Krystofiak, T.; Jurkovic, P.; Duchovič, P.; Sedliačiková, M.; Cibulkova, Z.; Micusik, M.; et al. Antioxidant Activity of Keratin Hydrolysates Studied by DSC. J.-Am. Leather Chem. Assoc. 2019, 114, 20–28. [Google Scholar]
- EN 302-1:2013-06; Adhesives for Load-Bearing Timber Structures—Test Methods—Part 1: Determination of Longitudinal Tensile Shear Strength. Beuth Verlag: Berlin, Germany, 2013.
- Bernaczyk, A.; Wagenführ, A.; Zboray, R.; Flisch, A.; Lüthi, T.; Vetter, B.; Rentsch, M.; Terfloth, C.; Lincke, J.; Krystofiak, T.; et al. Investigations on the Characterization of Various Adhesive Joints by Means of Nanoindentation and Computer Tomography. Materials 2022, 15, 8604. [Google Scholar] [CrossRef] [PubMed]
- Wagenführ, R.; Wagenführ, A. Holzatlas, 7th ed.; Carl Hanser Verlag GmbH & Co. KG: Munich, Germany, 2022. [Google Scholar]
- Ren, D.; Frazier, C.E. Structure/durability relationships in polyurethane wood adhesives: Neat films or wood/polyurethane composite specimens? Int. J. Adhes. Adhes. 2013, 45, 77–83. [Google Scholar] [CrossRef]
- López-Suevos, F.; Frazier, C. Parallel-plate rheology of latex films bonded to wood. Holzforschung 2005, 59, 435–440. [Google Scholar] [CrossRef]
- Schmidt, R.G.; Frazier, C.E. Solid-state NMR analysis of adhesive bondlines in pilot scale flakeboards. Wood Fiber Sci. 2000, 32, 419–425. [Google Scholar]
- Frihart, C.R. Wood Adhesives. In Wood Adhesion and Adhesives; Forest Products Society: Madison, WI, USA, 2005; pp. 203–210. [Google Scholar]
- Hering, S. Charakterisierung und Modellierung der Materialeigenschaften von Rotbuchenholz zur Simulation von Holzverklebungen. Ph.D. Thesis, ETH Zürich, Zürich, Switzerland, 2011. [Google Scholar]
- Dunky, M.; Niemz, P. Holzwerkstoffe und Leime; Springer: Berlin, Germany, 2002. [Google Scholar]
- Ehrenstein, G.W. Thermische Analyse; Carl Hanser Verlag: Munich, Germany, 2020. [Google Scholar] [CrossRef]
- Widmann, G.; Riesen, R. Thermoanalyse: Anwendungen, Begriffe, Methoden; Hüthig: Heidelberg, Germany, 1987. [Google Scholar]
- Frihart, C. Wood Adhesion and Adhesives. In Handbook of Wood Chemistry and Wood Composites, 2nd ed.; CRC Press: Boca Raton, FL, USA, 2012. [Google Scholar] [CrossRef]
- Wagenführ, A.; Scholz, F. (Eds.) Taschenbuch der Holztechnik, 3rd ed.; Fachbuchverlag: Leipzig, Germany, 2018; ISBN 978-3-446-45440-8. [Google Scholar]
- ASTM D7247; Standard Test Method for Evaluating the Shear Strength of Adhesive Bonds in Laminated Wood Products at Elevated Temperatures. ASTM International: West Conshohocken, PA, USA, 2006.
- Plath, L. Mikroskopische Untersuchung von Holzverleimungen. Adhäsion 1970, 14, 318–323+336. [Google Scholar]
- Kollmann, F. Über die Abhängigkeit einiger mechanischer Eigenschaften der Hölzer von der Zeit, von Kerben und von der Temperatur. Holz Roh- Werkst. 1952, 10, 269–279. [Google Scholar] [CrossRef]
- Kollmann, F. Technologie des Holzes und der Holzwerkstoffe 1 Anatomie und Pathologie, Chemie, Physik, Elastizität und Festigkeit, 2nd ed.; Springer: Berlin, Germany, 1951. [Google Scholar]
- Assor, C.; Placet, V.; Chabbert, B.; Habrant, A.; Lapierre, C.; Pollet, B.; Perré, P. Concomitant changes in viscoelastic properties and amorphous polymers during the hydrothermal treatment of hardwood and softwood. J. Agric. Food Chem. 2009, 57, 6830–6837. [Google Scholar] [CrossRef] [PubMed]
- Brosse, N.; El Hage, R.; Chaouch, M.; Pétrissans, M.; Dumarçay, S.; Gérardin, P. Investigation of the chemical modifications of beech wood lignin during heat treatment. Polym. Degrad. Stab. 2010, 95, 1721–1726. [Google Scholar] [CrossRef]
- Rousset, P.; Lapierre, C.; Pollet, B.; Quirino, W.; Perre, P. Effect of severe thermal treatment on spruce and beech wood lignins. Ann. For. Sci. 2009, 66, 110. [Google Scholar] [CrossRef]
- Windeisen, E.; Wegener, G. Behaviour of lignin during thermal treatments of wood. Ind. Crop. Prod. 2008, 27, 157–162. [Google Scholar] [CrossRef]
- Wan, G.; Frazier, C. Lignin Acidolysis Predicts Formaldehyde Generation in Pine Wood. ACS Sustain. Chem. Eng. 2017, 5, 4830–4836. [Google Scholar] [CrossRef]
- Wan, G.; Frazier, C.E. Pine Extractives Strongly Affect Lignin Thermochemical Pathways. ACS Sustain. Chem. Eng. 2019, 7, 17999–18004. [Google Scholar] [CrossRef]
- Fengel, D. Über die Veränderungen des Holzes und seiner Komponenten im Temperaturbereich bis 200 °C*—Erste Mitteilung: Heiß= und Kaltwasserextrakte von thermisch behandeltem Fichtenholz. Holz Roh- Werkst. 1966, 24, 9–14. [Google Scholar] [CrossRef]
- Hofmann, T.; Rétfalvi, T.; Albert, L.; Niemz, P. Investigation of the Chemical Changes in the Structure of Wood Thermally Modified within a Nitrogen Atmosphere Autoclave. Wood Res. 2008, 53, 85–98. [Google Scholar]
- Hänsel, A. Holz und Holzwerkstoffe Prüfung–Struktur–Eigenschaften, 2nd ed.; Logos Verlag: Berlin, Germany, 2015. [Google Scholar]
- Schnider, A.; Niemz, P.; Hurst, T. Verklebung von thermisch vergüteter Buche. Holz-Zentralblatt 2008, 134, 100–101. [Google Scholar]
- Niemz, P. Eigenschaften und Verwendung von Industriell Wärmebehandeltem Laubholz Lecture; Universität Sopron: Sopron, Hungary, 2007. [Google Scholar]
- Altunok, M.; Percin, O.; Wetzig, M.; Niemz, P. Eigenschaften von Schichtholz (LVL) aus wärmebehandelten Furnieren verschiedener Holzarten. Holztechnologie 2013, 54, 9. [Google Scholar]
- Sedliačik, J.; Šmidriaková, M. Heat resistance of adhesive joints for wood constructions. Acta Fac. Xylologiae 2012, 54, 79–94. [Google Scholar]
- Góral, Z.; Mastalska-Popławska, J.; Izak, P.; Rutkowski, P.; Gnyla, J.; Majka, T.M.; Pielichowski, K. Impact of melamine and its derivatives on the properties of poly(vinyl acetate)-based composite wood adhesive. Eur. J. Wood Wood Prod. 2020, 79, 177–188. [Google Scholar] [CrossRef]





| Adhesive | Density [g/cm3] | Viscosity [mPa·s] | Solid Content [%] | Open Time [min] |
|---|---|---|---|---|
| PRF | 1.15 ± 0.02 | 950 ± 550 | 58 ± 3 | 180 |
| MF | 1.21 ± 0.05 | 12,500 ± 5300 | 64 ± 3 | 10 |
| PUR 1 | 1.15 ± 0.05 | 15,500 ± 2500 | 100 | 25 |
| PUR 1F | 1.15 ± 0.05 | 13,500 ± 2500 | 100 | 25 |
| PVAc | 1.05 ± 0.05 | 5000 ± 2000 | 49 ± 2 | 10 |
| EPI | 1.5 ± 0.05 | 11,000 ± 2000 | 60 ± 2 | 10 |
| Adhesive | Structural | 2-Part Mix | Water-Based | Thermoset | Structure | Compliant? | Solids Content | Cure during Exp. Heating? |
|---|---|---|---|---|---|---|---|---|
| PRF | yes | yes | yes | yes | homo | no | 58 | yes |
| MF | yes | yes | yes | yes | homo | no | 64 | yes |
| PUR | yes | sometimes | no | no | dual-phase | yes | 100 | yes |
| PVAc | no | sometimes | yes | no | latex film | yes | 50 | no |
| EPI | yes | yes | yes | yes | dual-phase | yes | 60 | very little |
| Adhesive | Application Amount [g/m2] | Pressing Time [min] | Pressing Temperature [°C] |
|---|---|---|---|
| PRF | 180, both sides | 300 | 20 |
| MF | 200, both sides | 360 | 20 |
| PUR 1 | 200, one-sided | 80 | 20 |
| PUR 1F | 200, one-sided | 150 | 20 |
| PVAc | 185, one-sided | 45 | 20 |
| EPI | 160, one-sided | 45 | 20 |
| Set Temperature in the Oven [°C] | Joint Temperature in the Oven [°C] | Joint Temperature during Shear Strength Test [°C] | |
|---|---|---|---|
| Beginning | End | ||
| 50 | 48 | 49 | 42 |
| 70 | 68 | 67 | 53 |
| 110 | 107 | 108 | 82 |
| 150 | 149 | 145 | 122 |
| 200 | 200 | 198 | 147 |
| Variant | Average Shear Strength at 20 °C [N/mm2] | Lower 95% Confidence Interval at 20 °C [N/mm2] | Average Shear Strength at 200 °C [N/mm2] | Lower 95% Confidence Interval at 200 °C [N/mm2] | |
|---|---|---|---|---|---|
| Solid wood | 14.02 | 13.60 | 9.26 | 8.90 | 0.62 |
| PRF | 11.93 | X | 8.05 | x | 0.67 |
| MF | 11.46 | X | 7.61 | x | 0.66 |
| PUR 1 | 13.48 | X | 6.28 | x | 0.47 |
| PUR 1F | 14.29 | X | 6.78 | x | 0.47 |
| PVAc | 10.08 | X | 0.38 | x | 0.04 |
| EPI | 11.59 | X | 5.80 | x | 0.50 |
Disclaimer/Publisher’s Note: The statements, opinions and data contained in all publications are solely those of the individual author(s) and contributor(s) and not of MDPI and/or the editor(s). MDPI and/or the editor(s) disclaim responsibility for any injury to people or property resulting from any ideas, methods, instructions or products referred to in the content. |
© 2023 by the authors. Licensee MDPI, Basel, Switzerland. This article is an open access article distributed under the terms and conditions of the Creative Commons Attribution (CC BY) license (https://creativecommons.org/licenses/by/4.0/).
Share and Cite
Bernaczyk, A.; Wagenführ, A.; Terfloth, C.; Lincke, J.; Krystofiak, T.; Niemz, P. Investigations into the Influence of Temperature on the Tensile Shear Strength of Various Adhesives. Materials 2023, 16, 6173. https://doi.org/10.3390/ma16186173
Bernaczyk A, Wagenführ A, Terfloth C, Lincke J, Krystofiak T, Niemz P. Investigations into the Influence of Temperature on the Tensile Shear Strength of Various Adhesives. Materials. 2023; 16(18):6173. https://doi.org/10.3390/ma16186173
Chicago/Turabian StyleBernaczyk, Arkadiusz, André Wagenführ, Christian Terfloth, Jörg Lincke, Tomasz Krystofiak, and Peter Niemz. 2023. "Investigations into the Influence of Temperature on the Tensile Shear Strength of Various Adhesives" Materials 16, no. 18: 6173. https://doi.org/10.3390/ma16186173
APA StyleBernaczyk, A., Wagenführ, A., Terfloth, C., Lincke, J., Krystofiak, T., & Niemz, P. (2023). Investigations into the Influence of Temperature on the Tensile Shear Strength of Various Adhesives. Materials, 16(18), 6173. https://doi.org/10.3390/ma16186173

