An Innovative Absorption Propagation System Hollow Block Made of Concrete Modified with Styrene–Butadiene Rubber and Polyethylene Terephthalate Flakes to Reduce the Propagation of Mechanical Vibrations in Walls
Abstract
1. Introduction
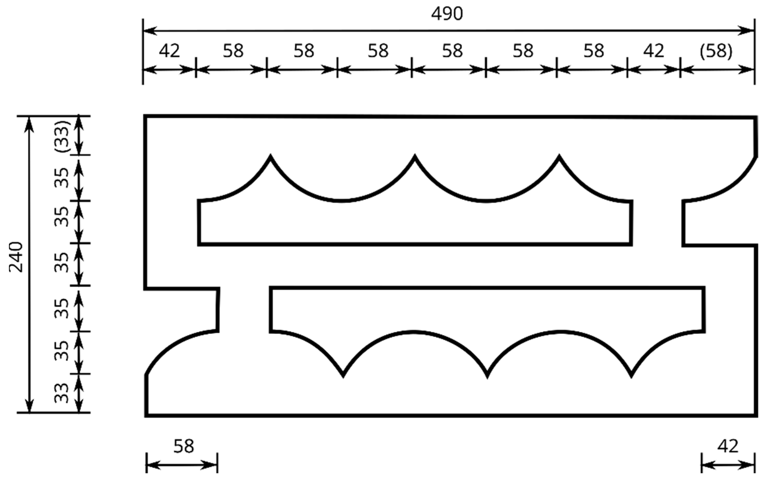
2. APS Innovative Concrete Wall Hollow Block
3. Recycling SBR and PET Materials
4. Comparative Alpha Hollow Block
5. Research of the Reduction in Mechanical Vibrations
5.1. Description of the Stand for Measuring the Effectiveness of Damping Hollow Blocks
5.2. Testing with a Modal Hammer and Discussion of the Results
6. Test Results for Alpha and APS Hollow Blocks
6.1. Assessment of the Efficiency of Hollow Block Damping
6.2. Test Results of Free Vibration
7. Testing of the Damping Effectiveness of APS Hollow Blocks
7.1. Discussion of the Nature of the Research
7.2. Determination of the Nature of Mechanical Vibrations
7.3. Simulation of Damping of Selected Signals
7.4. Discussion of the Results
8. Conclusions and Summary of the Research
9. Patents
Author Contributions
Funding
Institutional Review Board Statement
Informed Consent Statement
Data Availability Statement
Conflicts of Interest
References
- Hasan, M.; Saidi, T.; Sarana, D. The strength of hollow concrete block walls, reinforced hollow concrete block beams, and columns. J. King Saud Univ. Eng. Sci. 2022, 34, 523–535. [Google Scholar] [CrossRef]
- Papliński, A.T.; Bloczki Kontra Pustaki. Dom z Betonu Komórkowego czy Ceramiki? Murator. 2023. Available online: https://muratordom.pl/budowa/sciany-murowane/bloczki-kontra-pustaki-dom-z-betonu-komorkowego-czy-ceramiki-aa-dGMn-zjnz-5nie.html (accessed on 28 May 2023).
- Ołdakowska, E. Beton cementowy modyfikowany rozdrobnionymi odpadami gumowymi (Cement concrete modified by fragmented rubber waste). Zesz. Naukowe. Bud. 2006, 109, 241–246. [Google Scholar]
- Duda, A.; Sobota, D. Badania zużytych opon do wykorzystania w budownictwie (Testing tyre bales from compressed used car tyres for use in construction). Builder 2017, 21, 74–77. [Google Scholar]
- Ramdani, S.; Guettala, A.; Benmalek, M.L.; Aguiar, J.B. Physical and mechanical performance of concrete made with waste rubber aggregate, glass powder and silica sand powder. J. Build. Eng. 2019, 21, 302–311. [Google Scholar] [CrossRef]
- Fraile-Garcia, E.; Ferreiro-Cabello, J.; Mendivil-Giro, M.; San Vicente-Navarro, A. Thermal behaviour of hollow blocks and bricks made of concrete doped with waste tyre rubber. Constr. Build. Mater. 2018, 176, 193–200. [Google Scholar] [CrossRef]
- Saikia, N.; de Brito, J. Mechanical properties and abrasion behaviour of concrete containing shredded PET bottle waste as a partial substitution of natural aggregate. Constr. Build. Mater. 2014, 52, 236–244. [Google Scholar] [CrossRef]
- Akcaozoglu, S.; Atis, C.D.; Akcaozoglu, K. An investigation on the use of shredded waste PET bottles as aggregate in lightweight concrete. Waste Manag. 2010, 30, 285–290. [Google Scholar] [CrossRef]
- Rahmani, E.; Dehestani, M.; Beygi, M.H.; Allahyari, H.; Nikbin, I. On the mechanical properties of concrete containing waste PET particles. Constr. Build. Mater. 2013, 47, 1302–1308. [Google Scholar] [CrossRef]
- Benosman, A.S.; Taibi, H.; Belbachir, M.; Senhadij, Y. Diffusion of chloride ions in polimer-mortar composities. J. Appl. Polym. Sci. 2008, 110, 1600–1605. [Google Scholar] [CrossRef]
- Qaidi, S.; Al-Kamaki, Y.; Hakeem, I.; Dulaimi, A.F.; Özkılıç, Y.; Sabri, M.; Sergeev, V. Investigation of the physical-mechanical properties and durability of high-strength concrete with recycled PET as a partial replacement for fine aggregates. Front. Mater. 2023, 10, 1101146. [Google Scholar] [CrossRef]
- Siddique, R.; Khatib, J.; Kaur, I. Use of recycled plastic in concrete: A review. Waste Manag. 2008, 10, 1835–1852. [Google Scholar] [CrossRef]
- Pacheco-Torgal, F.; Ding, Y.; Jalali, S. Properties and durability of concrete containing polymeric wastes (tyre rubber and polyethylene terephthalate bottles): An overview. Constr. Build. Mater. 2012, 30, 714–724. [Google Scholar] [CrossRef]
- Nikbin, I.M.; Ahmadi, H. Fracture behaviour of concrete containing waste tire and waste polyethylene terephthalate: An sustainable fracture design. Constr. Build. Mater. 2020, 261, 952–960. [Google Scholar] [CrossRef]
- Adamczyk-Królak, I. Guma i politereftalan etylenu z recyklingu—Składniki materiałów (Rubber and polyethylene terephthalate from recycling: Components of building materials). Zesz. Nauk. Politech. Częstochowskiej 2018, 24, 9–12. [Google Scholar] [CrossRef]
- Rakoczy, B.; Szalewska, M.; Karpus, K. Prawne Aspekty Zagospodarowania Zasobami Środowiska. Oddziaływanie na Zasoby Środowiska. In Towarzystwo Naukowe Organizacji i Kierownictwa; Dom Organizatora: Toruń, Poland, 2014; p. 472. [Google Scholar]
- Raport Roczny PEP 2019. Plastics Europe. Available online: https://plasticseurope.org/pl/knowledge-hub/raport-roczny-pep-2019/ (accessed on 15 May 2023).
- Major, M.; Major, I. Wykorzystanie odpadów gumowych w budownictwie zrównoważonym (The use of rubber waste in sustainable civil engineering). Bud. O Zoptymalizowanym Potencjale Energetycznym 2014, 2, 38–45. [Google Scholar]
- Karalar, M.; Özkılıç, Y.O.; Aksoylu, C.; Sabri Sabri, M.M.; Beskopylny, A.N.; Stel’makh, S.A.; Shcherban’, E.M. Flexural behavior of reinforced concrete beams using waste marble powder towards application of sustainable concrete. Front. Mater. 2022, 9, 1068791. [Google Scholar] [CrossRef]
- Özkılıç, Y.O.; Basaran, B.; Aksoylu, C.; Karalar, M.; Martins, C.H. Mechanical behavior in terms of shear and bending performance of reinforced concrete beam using waste fire clay as replacement of aggregate. Case Stud. Constr. Mater. 2023, 18, e02104. [Google Scholar] [CrossRef]
- Aksoylu, C.; Özkılıç, Y.O.; Hadzima-Nyarko, M.; Isık, E.; Arslan, M.H. Investigation on improvement in shear performance of reinforced-concrete beams produced with recycled steel wires from waste tires. Sustainability 2022, 14, 13360. [Google Scholar] [CrossRef]
- Özkılıç, Y.O.; Karalar, M.; Aksoylu, C.; Beskopylny, A.N.; Stel’makh, S.A.; Shcherban, E.M.; Qaidi, S.; da SA Pereira, I.; Monteiro, S.N.; Azevedo, A.R.G. Shear performance of reinforced expansive concrete beams utilizing aluminium waste. J. Mater. Res. Technol. 2023, 24, 5433–5448. [Google Scholar] [CrossRef]
- Batayneh, M.; Marie, I.; Asi, I. Promoting the use of crumb rubber concrete in developing countries. J. Waste. Manag. 2008, 28, 2171–2176. [Google Scholar] [CrossRef]
- Girskas, G.; Nagrockiene, D. The use of steel cord scrap in concrete. Constr. Sci. 2016, 18, 22–26. [Google Scholar] [CrossRef]
- Bostanci, S.C.; Limbachiya, M.; Kew, H. Portland-composite and composite cement concretes made with coarse recycled and recycled glass sand aggregates: Engineering and durability properties. Constr. Build. Mater. 2016, 128, 324–340. [Google Scholar] [CrossRef]
- Thomas, B.S.; Gupta, R.C.; Panicker, V.J. Recycling of waste tire rubber as aggregate in concrete: Durability-related performance. J. Clean. Prod. 2016, 112, 504–513. [Google Scholar] [CrossRef]
- Siddique, R.; Naik, T. Properties of concrete containing scrap-tire rubber—An overview. Waste Manag. 2004, 24, 563–569. [Google Scholar] [CrossRef] [PubMed]
- Jura, J. Ekologiczne aspekty wykorzystania materiałów odpadowych w sektorze budowlanym. In Budownictwo Zrównoważone: Wybrane Aspekty Projektowe i Wykonawcze; Pawłowski, K., Ed.; Wydawnictwo Uczelniane Uniwersytetu Technologiczno-Przyrodniczego: Bydgoszcz, Poland, 2017; Volume 2, pp. 20–32. [Google Scholar]
- Sofi, A. Effect of waste tyre rubber on mechanical and durability properties of concrete—A review. Ain Shams Eng. J. 2018, 9, 2691–2700. [Google Scholar] [CrossRef]
- Batayneh, M.; Marie, I.; Asi, I. Use of selected waste materials in concrete mixes. Waste Manag. 2007, 27, 1870–1876. [Google Scholar] [CrossRef] [PubMed]
- Halbiniak, J.; Katzer, J.; Major, M.; Langier, B.; Major, I. An example of harnessing crushed ceramic pots for the production of watertight concrete. Struct. Concrete 2021, 22, E308–E314. [Google Scholar] [CrossRef]
- Rutkowska, G.; Ogrodnik, P.; Żółtowski, M.; Powęzka, A.; Kucharski, M.; Krejsa, M. Fly Ash from the thermal transformation of sewage sludge as an additive to concrete resistant to environmental influences in communication tunnels. Appl. Sci. 2022, 12, 1802. [Google Scholar] [CrossRef]
- Katzer, J.; Halbiniak, J.; Langier, B.; Major, M.; Major, I. Influence of varied waste ceramic fillers on the resistance of concrete to freeze–thaw cycles. Materials 2021, 14, 624. [Google Scholar] [CrossRef]
- Halbiniak, J.; Katzer, J.; Major, M.; Major, I. A proposition of an in situ production of a blended cement. Materials 2020, 13, 2289. [Google Scholar] [CrossRef]
- Yesilata, B.; Isiker, Y.; Turgut, P. Thermal insulation enhancement in concretes by adding waste PET and rubber pieces. Constr. Build. Mater. 2009, 23, 1878–1882. [Google Scholar] [CrossRef]
- Mazur, W. Elementy Konstrukcyjne z Ceramiki Budowlanej (Structural Components of Construction Ceramics). Izolacje 2019, 10, 74–79. [Google Scholar]
- Jaroszewicz, M.; Klimm, J. Zaawansowane technologie i nowoczesne wyroby ceramiki budowlanej (Advanced technologies and modern building ceramic products). Mater. Ceram. 2015, 67, 95–100. [Google Scholar]
- Grabowski, W. Budownictwo Ogólne: Praca Zbiorowa. T. 1, Materiały i Wyroby Budowlane; Arkady: Warszawa, Poland, 2010. [Google Scholar]
- Rzeszutko, M. Ściany akustyczne z pustaków ceramicznych Porotherm. Mater. Bud. 2008, 8, 7–8. [Google Scholar]
- Turgut, P.; Yesilata, B. Physico-mechanical and thermal performance of newly developed rubber-added bricks. Energy Build. 2008, 40, 679–688. [Google Scholar] [CrossRef]
- Fraile-Garcia, E.; Ferreiro-Cabello, J.; Defez, B.; Peris-Fajanes, G. Acoustic behavior of hollow blocks and bricks made of concrete doped with waste-tire rubber. Materials 2016, 9, 962. [Google Scholar] [CrossRef]
- Del Coz Diaz, J.J.; Nieto Garcia, P.J.; Alvarez Rabanal, F.P.; Martinez-Luengas, A.L. Design and shape optimization of a new type of hollow concrete masonry block using the finite element method. Eng. Struct. 2011, 33, 1–9. [Google Scholar] [CrossRef]
- Dang, B.-L.; Nguyen-Ngoc, H.; Duc Hoang, T.; Nguyen-Xuan, H.; Abdel Wahab, M. Numerical investigation of novel prefabricated hollow concrete blocks for stepped-type seawall structures. Eng. Struct. 2019, 198, 109558. [Google Scholar] [CrossRef]
- Uenishi, K.; Shigeno, N.; Sakaguchi, S.; Yamachi, H.; Nakamori, J. Controlled disintegration of reinforced concrete blocks based on wave and fracture dynamics. Struct. Integr. Procedia 2016, 2, 350–357. [Google Scholar] [CrossRef]
- Caruana, C.; Yousif, C.; Bacher, P.; Buhagiar, S.; Grima, C. Determination of thermal characteristics of standard and improved hollow concrete blocks using different measurement techniques. J. Build. Eng. 2017, 13, 336–346. [Google Scholar] [CrossRef]
- Izolacyjność Akustyczna Stropów w Budynkach Mieszkalnych. Available online: https://inzynierbudownictwa.pl/izolacyjnosc-akustyczna-stropow-w-budynkach-mieszkalnych/ (accessed on 21 May 2023).
- Dulak, L. Izolacyjność od Dźwięków Powietrznych i Dźwięków Uderzeniowych Stropów Produkcji; KONBET POZNAŃ Sp. z o.o. Sp. K, Akubud: Bielsko-Biała, Poland, 2017. [Google Scholar]
- Müller-Boruttau, F. Ochrona przed drganiami. Elastyczne posadowienie budynków z zastosowaniem materiałów elastomerowych Calenberg—(cz. 1). Przegląd Bud. 2009, 6, 22–27. [Google Scholar]
- Flodr, J.; Lehner, P.; Krejsa, M. Experimental and numerical evaluation of clinch connections of thin-walled building structures. Sustainability 2020, 12, 5691. [Google Scholar] [CrossRef]
- Asphaug, S.K.; Kvande, T.; Time, B.; Peuhkuri, R.H.; Kalamees, T.; Johansson, P.; Berardi, U.; Lohne, J. Moisture control strategies of habitable basements in cold climates. Build. Environ. 2020, 169, 106572. [Google Scholar] [CrossRef]
- Rouba, B.J. Zawilgocenie jako problem w ochronie obiektów budowlanych i zbiorów muzealnych. In Problemy Muzeów Związane z Zachowaniem i Konserwacją Zbiorów; UMNRiPR-S: Szreniawa, Poland, 2017; pp. 35–58. [Google Scholar]
- Trochonowicz, M. Wilgoć w obiektach budowlanych. Problematyka badań wilgotnościowych (Moisture in buildings objects. Humidity testing problems). Bud. I Archit. 2010, 7, 131–144. [Google Scholar] [CrossRef]
- Kormanikova, E.; Kotrasova, K.; Melcer, J.; Valaskova, V. Numerical investigation of the dynamic responses of fibre-reinforced polymer composite bridge beam subjected to moving vehicle. Polymers 2022, 14, 812. [Google Scholar] [CrossRef]
- Aly, A.M.; El-Feky, M.S.; Kohail, M.; Nasr, E.S.A.R. Performance of geopolymer concrete containing recycled rubber. Constr. Build. Mater. 2019, 207, 136–144. [Google Scholar] [CrossRef]
- Kaewunruen, S.; Li, D.; Xiang, Z. Enhancement of dynamic damping in eco-friendly railway concrete sleepers using waste-tyre crumb rubber. Materials 2018, 11, 1169. [Google Scholar] [CrossRef]
- Abdelmonem, A.; El-Feky, M.S.; Nasr, E.S.A.R.; Kohail, M. Performance of high strength concrete containing recycled rubber. Constr. Build. Mater. 2019, 277, 116660. [Google Scholar] [CrossRef]
- Youssf, O.; El Gawady, M.A.; Mills, J.E. Experimental investigation of crumb rubber concrete columns under seismic loading. Structures 2015, 3, 13–27. [Google Scholar] [CrossRef]
- Dijckmans, A.; EKblad, A.; Smekal, A.; Degrande, G.; Lombaert, G. Efficacy of a sheet pile wall as a wave barrier for railway. Soil Dyn. Earthq. Eng. 2016, 84, 55–69. [Google Scholar] [CrossRef]
- Kawulok, M.; Freiherrová, N.; Horňáková, M.; Juračka, D.; Krejsa, M. Hyperbolic paraboloid tensile structure—Numerical CFD simulation of wind flow in RWIND software. Buildings 2023, 13, 681. [Google Scholar] [CrossRef]
- Moghadam, M.J.; Zad, A.; Mehrannina, N.; Dasaran, N. Experimental evaluation of mechanically stabilized earth walls with recycled crumb rubbers. J. Rock Mech. Geotech. Eng. 2018, 5, 947–957. [Google Scholar] [CrossRef]
- Ismail, M.K.; Hassan, A.A. Impact resistance and acoustic absorption capacity of self-consolidating rubberized concrete. Mater. J. 2016, 113, 725–736. [Google Scholar] [CrossRef]
- Transport—Wyniki Działalności w 2020 Roku. Available online: https://stat.gov.pl/obszary-tematyczne/transport-i-lacznosc/transport/transport-wyniki-dzialalnosci-w-2020-roku,9,20.html (accessed on 17 May 2023).
- Çelik, A.İ.; Özkılıç, Y.O.; Zeybek, Ö.; Özdöner, N.; Tayeh, B.A. Performance assessment of fiber-reinforced concrete produced with waste lathe fibers. Sustainability 2022, 14, 11817. [Google Scholar] [CrossRef]
- Basaran, B.; Kalkan, I.; Aksoylu, C.; Özkılıç, Y.O.; Sabri, M.M.S. Effects of waste powder, fine and coarse marble aggregates on concrete compressive strength. Sustainability 2022, 14, 14388. [Google Scholar] [CrossRef]
- Shcherban’, E.M.; Stel’makh, S.A.; Beskopylny, A.N.; Mailyan, L.R.; Meskhi, B.; Shilov, A.A.; Chernil’nik, A.; Özkılıç, Y.O.; Aksoylu, C. Normal-weight concrete with improved stress–strain characteristics reinforced with dispersed coconut fibers. Appl. Sci. 2022, 12, 11734. [Google Scholar] [CrossRef]
- Beskopylny, A.N.; Shcherban, E.M.; Stel’makh, S.A.; Meskhi, B.; Shilov, A.A.; Varavka, V.; Evtushenko, A.; Özkılıç, Y.O.; Aksoylu, C.; Karalar, M. Composition components influence on the concrete properties with the additive of rubber tree seed shells. Appl. Sci. 2022, 12, 11744. [Google Scholar] [CrossRef]
- Major, M.; Adamczyk-Królak, I. Ażurowy Pustak Ścienny (Openwork Wall Hollow Brick), Politechnika Częstochowska. Patent No. PL 235427 B1, 27 July 2020. [Google Scholar]
- PN-EN 771-3: 2011+A1:2015; Specification for Masonry Units—Part 3: Aggregate Concrete Masonry Units (Dense and Lightweight Aggregates). Polish Committee for Standardization: Warszawa, Poland, 2015.
- PN-EN 772-16:2011; Methods of Test for Masonry Units—Part 16: Determination of Dimensions. Polish Committee for Standardization: Warszawa, Poland, 2011.
- EN 1996-1-1; Eurocode 6—Design of Masonry Structures—Part 1-1: General Rules for Reinforced and Unreinforced Masonry Structures. European Union: Brussels, Belgium, 1996.
- PN-EN 12390-4:2020-03; Testing Hardened Concrete—Part 4: Compressive Strength—Specification for Testing Machines. Polish Committee for Standardization: Warszawa, Poland, 2020.
- Technical Data Sheet of SBR Rubber Granules, Orzeł S.A, Poniatowa. Available online: www.orzelsa.com (accessed on 28 May 2023).
- Technical Data Sheet of Polyethylene Terephthalate in the Form of Colored PET Flakes, PRT Radomsko Sp. z o.o. Available online: www.petrecyclingteam.com (accessed on 28 May 2023).
- PBF-24/12; Technical Specifications, Pustak Betonowy Fundamentowy CJ Blok® PBF-24/12,5. C.J. Blok Fabryka Elementów Budowlanych Sp. z o.o: Głogów Małopolski, Poland, 2017.
- Gutowski, R.; Świetlicki, W.E. Dynamika i Drgania Układów Mechanicznych; PWN: Warszawa, Poland, 1986. [Google Scholar]
- Cempel, C. Podstawy Wibroakustycznej Diagnostyki Maszyn; WNT: Warszawa, Poland, 1982. [Google Scholar]
- Cempel, C. Wibroakustyka Stosowana; PWN: Warszawa, Poland, 1989. [Google Scholar]
- Parszewski, Z. Drgania i Dynamika Maszyn; WNT: Warszawa, Poland, 1982. [Google Scholar]
- Mc Duff, J.N.; Curreri, J.R. Drgania w Technice; PWT: Warszawa, Poland, 1960. [Google Scholar]
- Osiński, Z. Tłumienie Drgań; PWN: Warszawa, Poland, 1997. [Google Scholar]
- Kucharski, T. System Pomiaru Drgań Mechanicznych; WNT: Warszawa, Poland, 2018. [Google Scholar]
- Balaha, M.M.; Badawy, A.A.M.; Hashish, M. Effect of using ground waste tire rubber as fine aggregate on the behaviour of concrete mixes. Indian J. Eng. Mater. S. 2007, 14, 427–435. [Google Scholar]

























| Real dimensions | Length | 490 mm/+3−5 mm |
| Width | 240 mm/+3−5 mm | |
| Height | 240 mm/+3−5 mm | |
| Shape and construction | Group 2 according to EN 1996-1-1 [70] | |
| Item weight | 43.8 kg | |
| Compressive strength (perpendicular to the laying surface 490 × 240) | 26.7 N/mm2 | |
| Water absorption | 4.9 g/(m2s) | |
| Durability (resistance to freeze/thaw) | Frost resistant | |
| Additives from Recycled Waste | 100 [%] | Modified Concrete Series |
|---|---|---|
| 15% by Weight of Cement | ||
| Rubber granulate 0 ÷ 1 mm | 90 | 18% |
| Rubber granulate 0.8 ÷ 2 mm | 18% | |
| Rubber granulate 2 ÷ 4 mm | 54% | |
| PET flakes | 10 | 10% |
| Sum of additions | 100 | 100% |
| c/w | w/c | CEM I 32.5R Cement [kg/m3] | Water after Correction [l/m3] | Washed Sand [kg/m3] | Gravel 2 ÷ 8 mm [kg/m3] | Stacheplast 202N Superplasticizer in the Amount of 1.2% of the Cement Weight [l/m3] | Percentage of Additives in the Mass of Cement [%] | SBR Rubber Granules [kg/m3] | PET Flakes [kg/m3] | ||
|---|---|---|---|---|---|---|---|---|---|---|---|
| 0 ÷ 1 mm | 0.8 ÷ 2 mm | 2 ÷ 4 mm | |||||||||
| 2.1 | 0.476 | 416 | 193.1 | 306 | 1107 | 4.99 | 15 | 11.23 | 11.23 | 33.69 | 6.24 |
| APS Hollow Block | Average Compressive Strength fcm [MPa] | Concrete Strength Class | ||
|---|---|---|---|---|
| After 7 Days | After 14 Days | After 28 Days | ||
| Modified concrete | 34.0 | 37.5 | 39.8 | C25/30 |
| Physical and Chemical Properties | SBR Rubber Granules |
|---|---|
| Form | Granulate |
| Color | Black |
| Smell | Mild |
| Density | 350 ÷ 700 kg/m3 |
| Solubility | It does not dissolve in water |
| Ignition point | >350 °C |
| Ignition temperature | >350 °C |
| Thermal degradation | >180 °C |
| A dangerous decay/products | SOx, N0x, organic hydrocarbons, degradation at temperatures below 800 °C and in conditions of oxygen deficiency—intensive formation of soot |
| Physical and Chemical Properties | Polyethylene Terephthalate in the Form of Colored PET Flakes |
|---|---|
| Form | Flakes |
| Color | Colorful |
| Intrinsic viscosity | 0.74 ± 0.03 dL/g |
| The size of the flakes | <12 mm |
| Density | 260 ± 50 kg/m3 |
| Humidity | <1% |
| Specific density | Approx. 1.35 g/cm3 |
| Dust units | <0.5% |
| Metal | <100 ppm |
| Paper | <50 ppm |
| PVC | <50 ppm |
| Flakes covered with glue | <1000 ppm |
| Dimensions | Length | 490 mm/+3−5 mm |
| Width | 240 mm/+3−5 mm | |
| Height | 240 mm/+3−5 mm | |
| Shape and construction | Group 2 according to EN 1996-1-1 [70] | |
| Item weight | 46 kg | |
| Compressive strength (perpendicular to the laying surface 490 × 240) | 25 N/mm2 | |
| Water absorption | 5.5 g/(m2s) | |
| Durability (resistance to freeze/thaw) | Frost resistant | |
| No. | t [s] | a [m/s2] | |
|---|---|---|---|
| Alpha | APS | ||
| 1. | 0.01 | 36.72 | 31.03 |
| 2. | 0.02 | 26.12 | 22.27 |
| 3. | 0.03 | 18.86 | 15.11 |
| 4. | 0.04 | 14.02 | 10.21 |
| 5. | 0.05 | 10.22 | 7.09 |
| 6. | 0.06 | 7.12 | 4.81 |
| 7. | 0.07 | 5.06 | 3.84 |
| 8. | 0.08 | 3.89 | 1.95 |
| 9. | 0.09 | 2.85 | 1.44 |
| 10. | 0.10 | 1.92 | 1.12 |
| 11. | 0.11 | 1.69 | 0.87 |
| 12. | 0.12 | 1.35 | 0.75 |
Disclaimer/Publisher’s Note: The statements, opinions and data contained in all publications are solely those of the individual author(s) and contributor(s) and not of MDPI and/or the editor(s). MDPI and/or the editor(s) disclaim responsibility for any injury to people or property resulting from any ideas, methods, instructions or products referred to in the content. |
© 2023 by the authors. Licensee MDPI, Basel, Switzerland. This article is an open access article distributed under the terms and conditions of the Creative Commons Attribution (CC BY) license (https://creativecommons.org/licenses/by/4.0/).
Share and Cite
Major, M.; Adamczyk, I.; Kalinowski, J. An Innovative Absorption Propagation System Hollow Block Made of Concrete Modified with Styrene–Butadiene Rubber and Polyethylene Terephthalate Flakes to Reduce the Propagation of Mechanical Vibrations in Walls. Materials 2023, 16, 5028. https://doi.org/10.3390/ma16145028
Major M, Adamczyk I, Kalinowski J. An Innovative Absorption Propagation System Hollow Block Made of Concrete Modified with Styrene–Butadiene Rubber and Polyethylene Terephthalate Flakes to Reduce the Propagation of Mechanical Vibrations in Walls. Materials. 2023; 16(14):5028. https://doi.org/10.3390/ma16145028
Chicago/Turabian StyleMajor, Maciej, Izabela Adamczyk, and Jarosław Kalinowski. 2023. "An Innovative Absorption Propagation System Hollow Block Made of Concrete Modified with Styrene–Butadiene Rubber and Polyethylene Terephthalate Flakes to Reduce the Propagation of Mechanical Vibrations in Walls" Materials 16, no. 14: 5028. https://doi.org/10.3390/ma16145028
APA StyleMajor, M., Adamczyk, I., & Kalinowski, J. (2023). An Innovative Absorption Propagation System Hollow Block Made of Concrete Modified with Styrene–Butadiene Rubber and Polyethylene Terephthalate Flakes to Reduce the Propagation of Mechanical Vibrations in Walls. Materials, 16(14), 5028. https://doi.org/10.3390/ma16145028

