Effects of Temperature and Applied Potential on the Stress Corrosion Cracking of X80 Steel in a Xinzhou Simulated Soil Solution
Abstract
:1. Introduction
2. Materials and Methods
2.1. X80 Pipeline Steel
2.2. Soil Environment
2.3. Electrochemical Test
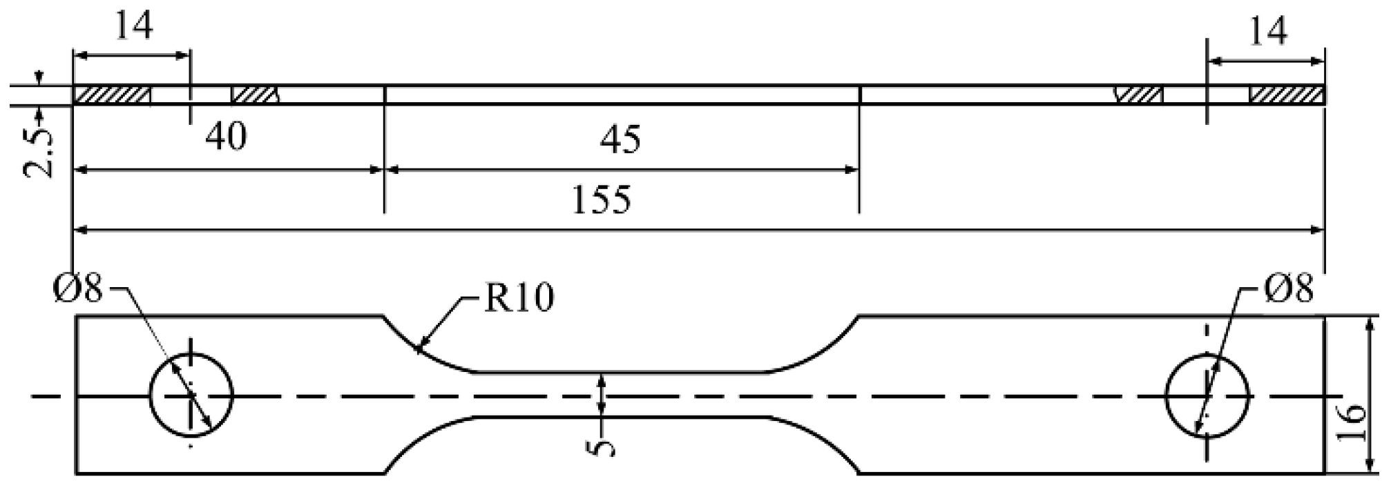
2.4. Slow Strain Rate Test (SSRT)
3. Results
3.1. Potentiodynamic Polarization
3.2. SSRT of X80 Steel Tested at Different Potentials in Simulated Xinzhou Soil Solution
3.3. SEM Images of X80 Steel after SSRT
4. Discussion
4.1. Effects of Applied Potentials on SCC of X80 Steel in Xinzhou Simulated Solution
4.2. Effects of Temperature on the SCC of X80 Steel in Xinzhou Simulated Solution
5. Conclusions
- The SCC mechanism of X80 steel in a Xinzhou simulated soil solution is affected by both anodic dissolution and hydrogen embrittlement.
- When the potential is higher than −550 mV, the applied potential is anode potential for the crack tip and crack wall and the susceptibility to SCC is low.
- When the potential is between −850 mV and −1000 mV, the SCC process is promoted by a combined effect of anodic reaction at the crack tip and cathodic reaction at the crack wall. The anodic and cathodic processes have different effects on SCC at different potentials.
- At the more negative potential of −1150 mV, which is a cathodic polarization for both the crack tip and the crack wall, the SCC of X80 steel is mainly affected by hydrogen embrittlement.
- The temperature has an unapparent effect on the variation in SCC susceptibility with the applied potentials at different temperatures. However, there is an apparent change in the susceptibility to SCC, which increases as the temperature rises around the weak cathodic polarization area and at the open circuit potential.
Author Contributions
Funding
Institutional Review Board Statement
Informed Consent Statement
Data Availability Statement
Conflicts of Interest
References
- Albarran, J.L.; Aguilar, A.; Martinez, L.; Lopez, H.F. Corrosion and cracking behavior in an AP I X80 steel exposed to sour gas environment. Corrosion 2002, 58, 783–790. [Google Scholar] [CrossRef]
- Koh, S.U.; Kim, J.S.; Yang, B.Y.; Kim, K.Y. Effect of line pipe steel microstructure on susceptibility to sulfide stress cracking. Corrosion 2004, 60, 244–251. [Google Scholar] [CrossRef]
- Beavers, J.A. 2013 Frank Newman Speller Award Lecture: Integrity Management of Natural Gas and Petroleum Pipelines Subject to Stress Corrosion Cracking. Corrosion 2014, 70, 3–18. [Google Scholar] [CrossRef]
- Ryakhovskikh, I.V.; Bogdanov, R.I.; Ignatenko, V.E. Intergranular stress corrosion cracking of steel gas pipelines in weak alkaline soil electrolytes. Eng. Fail. Anal. 2018, 94, 87–95. [Google Scholar] [CrossRef]
- Boven, G.V.; Chen, W.; Rogge, R. The role of residual stress in neutral pH stress corrosion cracking of pipeline steels. Part I: Pitting and cracking occurrence. Acta Mater. 2007, 55, 29–42. [Google Scholar]
- Niazi, H.; Eadie, R.; Chen, W.X.; Zhang, H. High pH stress corrosion cracking initiation and crack evolution in buried steel pipelines: A review. Eng. Fail. Anal. 2021, 120, 105013. [Google Scholar] [CrossRef]
- Niu, L.; Cheng, Y.F. Corrosion behavior of X-70 pipe steel in near-neutral pH solution. Appl. Surf. Sci. 2007, 253, 8626–8630. [Google Scholar] [CrossRef]
- Bouaeshi, W.; Ironside, S.; Eadie, R. Research and Cracking Implications from an Assessment of Two Variants of Near-Neutral pH Crack Colonies in Liquid Pipelines. Corrosion 2007, 63, 648–660. [Google Scholar] [CrossRef]
- Meresht, E.S.; Farahani, T.S.; Neshati, J. Failure analysis of stress corrosion cracking occurred in a gas transmission steel pipeline. Eng. Fail. Anal. 2011, 18, 963–970. [Google Scholar] [CrossRef]
- Javidi, M.; Horeh, S.B. Investigating the mechanism of stress corrosion cracking in near-neutral and high pH environments for API 5L X52 steel. Corros. Sci. 2014, 80, 213–220. [Google Scholar] [CrossRef]
- Song, L.F.; Liu, Z.Y.; Li, X.G.; Du, C.W. Characteristics of hydrogen embrittlement in high-pH stress corrosion cracking of X100 pipeline steel in carbonate/ bicarbonate solution. Constr. Build. Mater. 2020, 263, 120124. [Google Scholar] [CrossRef]
- Li, D.G.; Feng, Y.R.; Bai, Z.Q.; Zhu, J.W.; Zheng, M.S. Photo-electrochemical analysis of passive film formed on X80 pipeline steel in bicarbonate/carbonate buffersolution. Appl. Surf. Sci. 2008, 254, 2837–2843. [Google Scholar] [CrossRef]
- Lu, B.T.; Song, F.; Gao, M.; Elboujdaini, M. Crack growth model for pipelinesexposed to concentrated carbonate–bicarbonate solution with high pH. Corros. Sci. 2010, 52, 4064–4072. [Google Scholar] [CrossRef]
- Zhang, G.A.; Cheng, Y.F. Micro-electrochemical characterization of corrosion of pre-cracked X70 pipeline steel in a concentrated carbonate/bicarbonatesolution. Corros. Sci. 2010, 52, 960–968. [Google Scholar] [CrossRef]
- Song, F.M. Predicting the Mechanisms and Crack Growth Rates of Pipelines Undergoing SCC at high pH. Corros. Sci. 2009, 51, 2657–2674. [Google Scholar] [CrossRef]
- Wang, J.Q.; Atrens, A. SCC Initiation for X65 Pipeline Steel in the ‘High’ pH Carbonate/Bicarbonate Solution. Corros. Sci. 2003, 45, 2199–2217. [Google Scholar] [CrossRef]
- Arafin, M.A.; Szpunar, J.A. A New Understanding of Intergranular Stress corrosion cracking resistance of pipeline steel through grain boundary character and crystallographic texture studies. Corros. Sci. 2009, 51, 119–128. [Google Scholar] [CrossRef]
- Parkins, R.N. Plenary Lecture: Strain rate effects in stress corrosion cracking. Corrosion 1990, 46, 178–189. [Google Scholar] [CrossRef]
- Niazi, H.; Chevil, K.; Gamboa, E.; Lamborn, L.; Chen, W.; Zhang, H. Effects of Loading Spectra on High pH Crack Growth Behavior of X65 Pipeline Steel. Corrosion 2020, 76, 601–615. [Google Scholar] [CrossRef]
- Sanchez, J.; Fullea, J.; Andrade, C.; Alonso, C. Stress corrosion cracking mechanism of prestressing steels in bicarbonate solutions. Corros. Sci. 2007, 49, 4069–4080. [Google Scholar] [CrossRef]
- Tang, X.; Cheng, Y.F. Quantitative characterization by micro-electrochemical measurements of the synergism of hydrogen, stress and dissolution on near-neutral pH stress corrosion cracking of pipelines. Corros. Sci. 2011, 53, 2927–2933. [Google Scholar] [CrossRef]
- Tang, X.; Cheng, Y.F. Micro-electrochemical characterization of the effect of applied stress on local anodic dissolution behavior of pipeline steel under near-neutral pH condition. Electrochim. Acta 2009, 54, 1499–1505. [Google Scholar] [CrossRef]
- Zhang, C.; Cheng, Y.F. Synergistic effects of hydrogen and stress on corrosion of X100 pipeline steel in a near-neutral pH solution. J. Mater. Eng. Perform. 2010, 19, 1284–1289. [Google Scholar] [CrossRef]
- Cheng, W.X. An Overview of Near-Neutral pH Stress Corrosion Cracking in Pipelines and Mitigation Strategies for Its Initiation and Growth. Corrosion 2016, 72, 962–977. [Google Scholar] [CrossRef]
- Shirband, Z.; Luo, J.L.; Eadie, R.; Cheng, W.X. Studying Stress Corrosion Cracking Crack Initiation in Pipeline Steels in a Near-Neutral pH Environment: The Role of Hydrotesting. Corrosion 2020, 76, 1050–1058. [Google Scholar] [CrossRef]
- Park, J.J.; Pyun, S.I.; Na, K.H. Effect of passivity of the oxide film in low-pH stress corrosion cracking of API 5L X-65 pipeline steel in bicarbonate solution. Corrosion 2002, 58, 329–336. [Google Scholar] [CrossRef]
- Lu, B.T.; Luo, J.L.; Norton, P.R. Environmentally assisted cracking mechanism of pipeline steel in near-neutral pH groundwater. Corros. Sci. 2010, 52, 1787–1795. [Google Scholar] [CrossRef]
- Xu, L.Y.; Cheng, Y.F. Corrosion of X100 pipeline steel under plastic strain in a neutral pH bicarbonate solution. Corros. Sci. 2012, 64, 145–152. [Google Scholar] [CrossRef]
- Egbewande, A.; Chen, W.X.; Eadie, R.; Kania, R.; Boven, G.V.; Worthingham, R.; Been, J. Transgranular Crack Growth in the Pipeline Steels Exposed to Near-Neutral pH Soil Aqueous Solutions: Discontinuous Crack Growth Mechanism. Corros. Sci. 2014, 83, 343–354. [Google Scholar] [CrossRef]
- Lu, B.T.; Luo, J.L.; Norton, P.R.; Ma, H.Y. Effects of dissolved hydrogen and elastic and plastic deformation on active dissolution of pipeline steel in anaerobic groundwater of near-neutral pH. Acta Mater. 2009, 57, 41–49. [Google Scholar] [CrossRef]
- Xu, L.Y.; Cheng, Y.F. Development of a Finite Element Model for Simulation and Prediction of Mechanoelectrochemical Effect of Pipeline Corrosion. Corros. Sci. 2013, 73, 150–160. [Google Scholar] [CrossRef]
- Bogdanov, R.I.; Marshakov, A.I.; Ignatenko, V.E.; Ryakhovskikh, I.V.; Bachurina, D.M. Effect of hydrogen peroxide on crack growth rate in X70 pipeline steel in weak acid solution. Corros. Eng. Sci. Technol. 2017, 52, 294–301. [Google Scholar] [CrossRef]
- Ryakhovskikh, I.V.; Bogdanov, R.I.; Esiev, T.S.; Marshakov, A.I. Stress corrosion cracking of pipeline steel in near-neutral pH environment. Proc. Mater. Sci. Technol. 2014, 1, 807–815. [Google Scholar]
- Liu, Z.Y.; Cui, Z.Y.; Li, X.G.; Du, C.W.; Xing, Y.Y. Mechanistic aspect of stress corrosion cracking of X80 pipeline steel under non-stable cathodic polarization. Electrochem. Commun. 2014, 48, 127–129. [Google Scholar]
- Parkins, R.N.; Blanchard, W.K.; Delanty, B.S. Transgranular stress corrosion cracking of high pressure pipelines in contact with solutions of near neutral pH. Corrosion 1994, 50, 394–408. [Google Scholar] [CrossRef]
- Mao, S.X.; Li, M. Mechanics and thermodynamics on the stress and hydrogen interaction in crack tip stress corrosion: Experiment and theory. J. Mech. Phys. Solids 1998, 46, 1125–1137. [Google Scholar] [CrossRef]
- Gu, B.; Yu, W.Z.; Luo, J.L. Transgranular stress corrosion of X80 and X52 pipeline steels in dilute aequous solution with near neutral pH. Corrosion 1999, 55, 312–318. [Google Scholar] [CrossRef]
- Ashai, H.; Kushida, T.; Kimura, H.; Fukai, H.; Okano, S. Role of microstructures on stress corrosion cracking of pipeline steels in carbonate-solution. Corrosion 1999, 55, 644–652. [Google Scholar] [CrossRef]
- Liu, Z.Y.; Li, X.G.; Cheng, Y.F. Mechanistic aspect of near-neutral pH stress corrosion cracking of pipelines under cathodic polarization. Corros. Sci. 2012, 55, 54–60. [Google Scholar] [CrossRef]
- Oskuie, A.A.; Shahrabi, T.; Shahriari, A.; Saebnoori, E. Electrochemical impedance spectroscopy analysis of X70 pipeline steel stress corrosion cracking in high pH carbonate solution. Corros. Sci. 2012, 61, 111–122. [Google Scholar] [CrossRef]
- Contreras, A.; Albiter, A.; Salazar, M.; Perez, R. Slow strain rate corrosion and fracture characteristics of X-52 and X-70 pipeline steels. Mater. Sci. Eng. A 2005, 407, 45–52. [Google Scholar] [CrossRef]
- Liu, Z.Y.; Li, X.G.; Du, C.W.; Chen, X.; Liang, P.; Zhang, L. Development of Stress Corrosion Simulation Solution for Pipeline Steels under Soil Environment. Oil Gas Storage Transp. 2008, 27, 34–39. [Google Scholar]
- Liang, P.; Li, X.G.; Du, C.W.; Chen, X. Stress corrosion cracking of X80 pipeline steel in simulated alkaline soil solution. Mater. Des. 2009, 30, 1712–1717. [Google Scholar] [CrossRef]
- Chu, R.; Chen, W.; Wang, S.H.; King, F.; Jack, T.R.; Fessler, R.R. Microstructure dependence of Stress Corrosion Cracking initiation in X-65 pipeline steel exposed to a near-neutral pH soil environment. Corrosion 2004, 60, 275–283. [Google Scholar] [CrossRef]
- Liu, Z.Y.; Li, X.G.; Du, C.W.; Cheng, Y.F. Local additional potential model for effect of strain rate on SCC of pipeline steel in an acidic soil solution. Corros. Sci. 2009, 51, 2863–2871. [Google Scholar] [CrossRef]
- Zhang, L.; Li, X.G.; Du, C.W.; Liang, P. Effect of applied potentials on stress corrosion cracking of X70 pipeline steel in alkali solution. Mater. Des. 2009, 30, 2259–2263. [Google Scholar] [CrossRef]
- Liu, Z.Y.; Lu, L.; Huang, Y.Z.; Du, C.W.; Li, X.G. Mechanistic Aspect of Non-Steady Electrochemical Characteristic During Stress Corrosion Cracking of an X70 Pipeline Steel in Simulated Underground Water. Corrosion 2014, 70, 678–685. [Google Scholar] [CrossRef]
- Liu, Z.Y.; Li, X.G.; Du, C.W.; Zhai, G.L.; Cheng, Y.F. Stress corrosion cracking behavior of X70 pipe steel in an acidic soil environment. Corros. Sci. 2008, 50, 2251–2257. [Google Scholar] [CrossRef]
- Liu, Z.Y.; Li, X.G.; Du, C.W.; Cheng, Y.F. Effect of pH value on stress corrosion cracking of X70 pipeline steel in acidic soil environment. Acta Metall. Sin. 2013, 26, 489–496. [Google Scholar] [CrossRef] [Green Version]
- Liu, Z.Y.; Li, X.G.; Du, C.W.; Lu, L.; Zhang, Y.R.; Cheng, Y.F. Effect of inclusions on initiation of stress corrosion cracks in X70 pipeline steel in an acidic soil environment. Corros. Sci. 2009, 51, 895–900. [Google Scholar] [CrossRef]
- Wang, L.W.; Xin, J.C.; Cheng, L.J.; Zhao, K.; Sun, B.Z.; Li, J.R.; Wang, X.; Cui, Z.Y. Influence of inclusions on initiation of pitting corrosion and stress corrosion cracking of X70 steel in near-neutral pH environment. Corros. Sci. 2019, 147, 108–127. [Google Scholar] [CrossRef]
- Song, L.F.; Liu, Z.Y.; Li, X.G.; Guo, X.P.; Zhang, Y.X.; Wu, W. Influence of microstructure on stress corrosion cracking of X100 pipeline steel in carbonate/bicarbonate solution. J. Mater. Res. Technol. 2022, 17, 150–165. [Google Scholar]
- Xie, F.; Li, J.H.; Zou, T.; Wang, D.; Wu, M.; Sun, X.Q. Stress corrosion cracking behavior induced by Sulfate-reducing bacteria and cathodic protection on X80 pipeline steel. Constr. Build. Mater. 2021, 308, 125093. [Google Scholar] [CrossRef]
- Sánchez, L.; Cong, H.B. Effect of AC interference on the stress corrosion cracking susceptibility of X65 steel under cathodic protection. Eng. Fail. Anal. 2021, 129, 105661. [Google Scholar] [CrossRef]
- Ma, H.C.; Zhao, B.; Liu, Z.Y.; Du, C.W.; Shou, B.N. Local chemistry–electrochemistry and stress corrosion susceptibility of X80 steel below disbonded coating in acidic soil environment under cathodic protection. Constr. Build. Mater. 2020, 243, 118203. [Google Scholar] [CrossRef]
- Dai, M.J.; Liu, J.; Huang, F.; Zhang, Y.H.; Cheng, Y.F. Effect of cathodic protection potential fluctuations on pitting corrosion of X100 pipeline steel in acidic soil environment. Corros. Sci. 2018, 143, 428–437. [Google Scholar] [CrossRef]
- Manfredi, C.; Otegui, J.L. Failures by SCC in buried pipelines. Eng. Fail. Anal. 2002, 9, 495–509. [Google Scholar] [CrossRef]
- Cazenave, P.; Jimenez, K.; Gao, M.; Moneta, A.; Hryciuk, P. Hydrogen assisted cracking driven by cathodic protection operated at near −1200 mV CSE—An onshore natural gas pipeline failure. J. Pipeline Sci. Eng. 2021, 1, 100–121. [Google Scholar] [CrossRef]
- Banerjee, K.; Chatterjee, U.K. Hydrogen permeation and hydrogen content under cathodic charging in HSLA 80 and HSLA 100 steels. Scr. Mater. 2001, 44, 213–216. [Google Scholar] [CrossRef]
- Nyrkova, L. Stress-corrosion cracking of pipe steel under complex influence of factors. Eng. Fail. Anal. 2020, 116, 10475. [Google Scholar] [CrossRef]









| T/°C | Ecorr/mV | Icorr/(A·cm−2) |
|---|---|---|
| 10 | −761 | 0.502 × 10−6 |
| 25 | −678 | 1.603 × 10−5 |
| 40 | −636 | 4.046 × 10−5 |
Publisher’s Note: MDPI stays neutral with regard to jurisdictional claims in published maps and institutional affiliations. |
© 2022 by the authors. Licensee MDPI, Basel, Switzerland. This article is an open access article distributed under the terms and conditions of the Creative Commons Attribution (CC BY) license (https://creativecommons.org/licenses/by/4.0/).
Share and Cite
Cheng, Y.; Liu, P.; Yang, M. Effects of Temperature and Applied Potential on the Stress Corrosion Cracking of X80 Steel in a Xinzhou Simulated Soil Solution. Materials 2022, 15, 2560. https://doi.org/10.3390/ma15072560
Cheng Y, Liu P, Yang M. Effects of Temperature and Applied Potential on the Stress Corrosion Cracking of X80 Steel in a Xinzhou Simulated Soil Solution. Materials. 2022; 15(7):2560. https://doi.org/10.3390/ma15072560
Chicago/Turabian StyleCheng, Yuan, Peng Liu, and Mengmeng Yang. 2022. "Effects of Temperature and Applied Potential on the Stress Corrosion Cracking of X80 Steel in a Xinzhou Simulated Soil Solution" Materials 15, no. 7: 2560. https://doi.org/10.3390/ma15072560
APA StyleCheng, Y., Liu, P., & Yang, M. (2022). Effects of Temperature and Applied Potential on the Stress Corrosion Cracking of X80 Steel in a Xinzhou Simulated Soil Solution. Materials, 15(7), 2560. https://doi.org/10.3390/ma15072560

