Three-Point Bending Behavior of Aluminum Foam Sandwich with Different Interface Bonding Methods
Abstract
1. Introduction
2. Experimental Procedures
2.1. Materials and Precursor Preparation
2.2. Panel Peeling Test
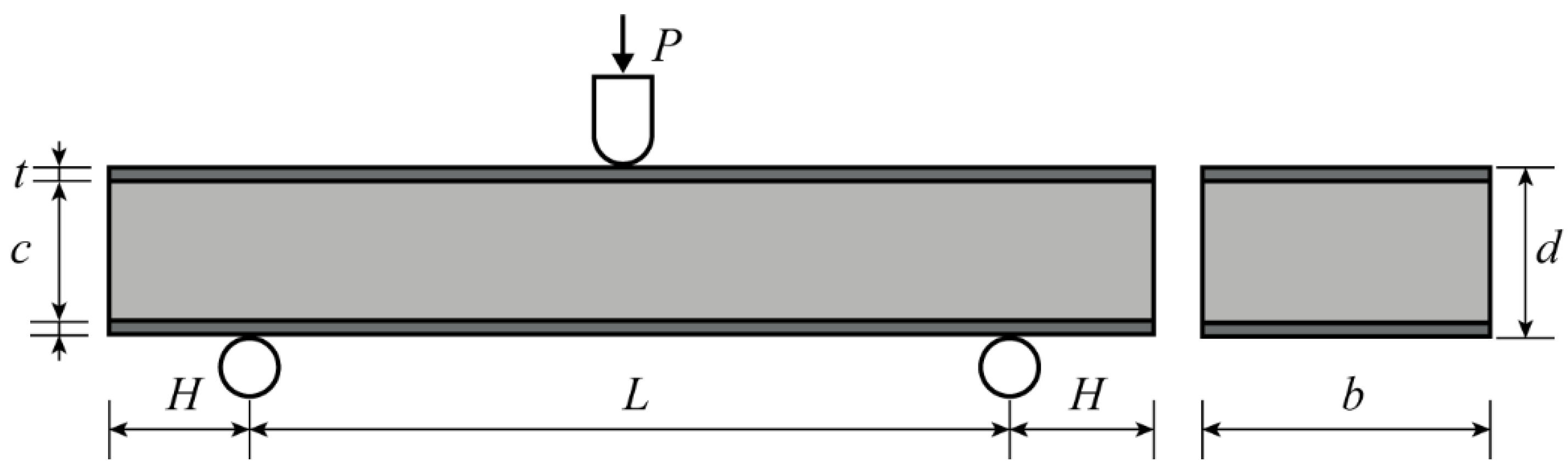
2.3. Three-Point Bending Test
3. Results and Discussion
3.1. Microstructure of Metallurgical Composite Interfaces
3.2. Panel Peeling Test
3.3. Three-Point Bending Test
3.4. Bending Stiffness and Energy Absorption
4. Conclusions
- A metallurgical composite layer of 25 μm formed at the junction of the panel and the core layer. Cu, Mg, and Si near the panel during the foaming process diffused toward the panel, forming Al2Cu, Mg2Si, and Al4Cu2Mg8Si7 alloy phases. All these alloy phases were present in the metallurgical composite layer in the form of long strips.
- The panel peeling test was conducted on metallurgical-bonded AFS with a peak load of 755 N. The failure mode of the sample was tearing the core layer, indicating that the bonding strength of the panel and the core layer was higher than the strength of the core layer.
- The glued AFS appeared to debond the core layer from the lower panel in the three-point bending test, and the core layer was fractured only in the middle, and the load-bearing capacity was greatly reduced. The metallurgically-bonded AFS gradually produced breakage and compaction of the core layer in the three-point bending test, which played a good role in bearing the load.
- Metallurgical-bonded AFS had higher peak loads and plateau stresses in the three-point bending tests, and the stress plateaus lasted longer. During the whole deformation process, the energy absorption of the metallurgically-bonded AFS was 12.2 times higher than that of the glued AFS, and the specific energy absorption was 14.2 times higher. The energy absorption efficiency of metallurgical bonded AFS was much higher than that of glued AFS.
Author Contributions
Funding
Institutional Review Board Statement
Informed Consent Statement
Acknowledgments
Conflicts of Interest
References
- Gibson, L.; Ashby, M. Cellular Solids: Structure and Properties; Cambridge University Press: Cambrigde, UK, 1997. [Google Scholar]
- Novak, N.; Vesenjak, M.; Duarte, I.; Tanaka, S.; Hokamoto, K.; Krstulovic-Opara, L.; Guo, B.; Chen, P.; Ren, Z. Compressive Behaviour of Closed-Cell Aluminium Foam at Different Strain Rates. Materials 2019, 12, 4108. [Google Scholar] [CrossRef]
- Ashby, M.F.; Evans, T.; Fleck, N.A.; Hutchinson, J.; Wadley, H.; Gibson, L. Metal Foams: A Design Guide; Elsevier: Amsterdam, The Netherlands, 2000. [Google Scholar]
- Banhart, J. Manufacture, characterisation and application of cellular metals and metal foams. Prog. Mater. Sci. 2001, 46, 559–632. [Google Scholar] [CrossRef]
- Ren, Y.; Wang, K.; Zhu, B.; Wang, X.; Wang, X.; Han, F. Synthesis of ZnO micro-rods on the cell walls of open celled Al foam and their effect on the sound absorption behavior. Mater. Lett. 2013, 91, 242–244. [Google Scholar] [CrossRef]
- Castanié, B.; Bouvet, C.; Ginot, M.J.C.P.C.O.A. Review of composite sandwich structure in aeronautic applications. Compos. Part C Open Access 2020, 1, 100004. [Google Scholar] [CrossRef]
- Banhart, J.; Seeliger, H.-W. Aluminium Foam Sandwich Panels: Manufacture, Metallurgy and Applications. Adv. Eng. Mater. 2008, 10, 793–802. [Google Scholar] [CrossRef]
- Nemat-Nasser, S.; Kang, W.J.; McGee, J.D.; Guo, W.G.; Isaacs, J.B. Experimental investigation of energy-absorption characteristics of components of sandwich structures. Int. J. Impact. Eng. 2007, 34, 1119–1146. [Google Scholar] [CrossRef]
- Schwingel, D.; Seeliger, H.W.; Vecchionacci, C.; Alwes, D.; Dittrich, J. Aluminium foam sandwich structures for space applications. Acta Astronaut 2007, 61, 326–330. [Google Scholar] [CrossRef]
- Bart-Smith, H.; Hutchinson, J.W.; Evans, A.G. Measurement and analysis of the structural performance of cellular metal sandwich construction. Int. J. Mech. Sci. 2001, 43, 1945–1963. [Google Scholar] [CrossRef]
- McCormack, T.M.; Miller, R.; Kesler, O.; Gibson, L.J. Failure of sandwich beams with metallic foam cores. Int. J. Solids Struct. 2001, 38, 4901–4920. [Google Scholar] [CrossRef]
- Crupi, V.; Montanini, R. Aluminium foam sandwiches collapse modes under static and dynamic three-point bending. Int. J. Impact. Eng. 2007, 34, 509–521. [Google Scholar] [CrossRef]
- Yu, J.; Wang, E.; Li, J.; Zheng, Z. Static and low-velocity impact behavior of sandwich beams with closed-cell aluminum-foam core in three-point bending. Int. J. Impact. Eng. 2008, 35, 885–894. [Google Scholar] [CrossRef]
- Jiang, B.; Li, Z.; Lu, F. Failure mechanism of sandwich beams subjected to three-point bending. Compos. Struct. 2015, 133, 739–745. [Google Scholar]
- Tagarielli, V.L.; Fleck, N.A.; Deshpande, V.S. The collapse response of sandwich beams with aluminium face sheets and a metal foam core. Adv. Eng. Mater. 2004, 6, 440–443. [Google Scholar] [CrossRef]
- Tagarielli, V.L.; Fleck, N.A. A comparison of the structural response of clamped and simply supported sandwich beams with aluminium faces and a metal foam core. J. Appl. Mech.-Trans. Asme 2005, 72, 408–417. [Google Scholar] [CrossRef]
- Zhang, J.X.; Qin, Q.H.; Ai, W.L.; Li, H.M.; Wang, T.J. The Failure Behavior of Geometrically Asymmetric Metal Foam Core Sandwich Beams Under Three-Point Bending. J. Appl. Mech.-Trans. Asme 2014, 81, 071008. [Google Scholar] [CrossRef]
- Zhang, J.; Qin, Q.; Han, X.; Ai, W. The initial plastic failure of fully clamped geometrical asymmetric metal foam core sandwich beams. Compos. Part B-Eng. 2016, 87, 233–244. [Google Scholar] [CrossRef]
- Wang, M.; Yu, X.; Zhang, J.; Qin, Q. Three-point bending of physically asymmetric metal sandwich beams with aluminum foam core: Failure behavior and optimal design. Compos. Struct. 2022, 280, 114873. [Google Scholar] [CrossRef]
- Pandey, A.; Muchhala, D.; Kumar, R.; Sriram, S.; Venkat, A.N.C.; Mondal, D.P. Flexural deformation behavior of carbon fiber reinforced aluminium hybrid foam sandwich structure. Compos. Part B-Eng. 2020, 183, 107729. [Google Scholar] [CrossRef]
- Sun, Z.; Hu, X.; Sun, S.; Chen, H. Energy-absorption enhancement in carbon-fiber aluminum-foam sandwich structures from short aramid-fiber interfacial reinforcement. Compos. Sci. Technol. 2013, 77, 14–21. [Google Scholar] [CrossRef]
- Wang, N.-Z.; Chen, X.; Li, A.; Li, Y.-X.; Zhang, H.-W.; Liu, Y. Three-point bending performance of a new aluminum foam composite structure. Trans. Nonferrous Met. Soc. China 2016, 26, 359–368. [Google Scholar] [CrossRef]
- Wang, X.; Cao, Z.; Fu, G.J.M. Quasi-Static Three-Point Bending Behavior of Aluminum Foam Sandwich with CFRP Face-Sheets. Metals 2022, 12, 1393. [Google Scholar] [CrossRef]
- Yan, C.; Song, X.; Jing, C.; Feng, S. Effects of epoxy resin liquidity on the mechanical properties of aluminum foam sandwich. J. Adhes. Sci. Technol. 2018, 32, 673–691. [Google Scholar] [CrossRef]
- Li, Z.; Zheng, Z.; Yu, J.; Qian, C.; Lu, F. Deformation and failure mechanisms of sandwich beams under three-point bending at elevated temperatures. Compos. Struct. 2014, 111, 285–290. [Google Scholar] [CrossRef]
- Pantelakis, S.; Tserpes, K.I. Adhesive bonding of composite aircraft structures: Challenges and recent developments. Sci. China-Phys. Mech. Astron. 2014, 57, 2–11. [Google Scholar] [CrossRef]
- Zu, G.; Song, B.; Zhong, Z.; Li, X.; Mu, Y.; Yao, G. Static three-point bending behavior of aluminum foam sandwich. J. Alloys Compd. 2012, 540, 275–278. [Google Scholar] [CrossRef]
- Wan, L.; Huang, Y.; Lv, S.; Feng, J. Fabrication and interfacial characterization of aluminum foam sandwich via fluxless soldering with surface abrasion. Compos. Struct. 2015, 123, 366–373. [Google Scholar] [CrossRef]
- Ubertalli, G.; Ferraris, M.; Bangash, M.K. Joining of AL-6016 to Al-foam using Zn-based joining materials. Compos. Part A-Appl. Sci. Manuf. 2017, 96, 122–128. [Google Scholar] [CrossRef]
- Sun, X.; Huang, P.; Zhang, X.; Han, N.; Lei, J.; Yao, Y.; Zu, G. Densification Mechanism for the Precursor of AFS under Different Rolling Temperatures. Materials 2019, 12, 3933. [Google Scholar] [CrossRef]
- An, Y.; Yang, S.; Zhao, E.; Wang, Z. Characterization of metal grid-structure reinforced aluminum foam under quasi-static bending loads. Compos. Struct. 2017, 178, 288–296. [Google Scholar] [CrossRef]

















| Composition | Range Size (μm) | Purity (%) | Content |
|---|---|---|---|
| Al | <45 | 99.7 | 85% |
| Si | <38 | 99.5 | 6% |
| Mg | <75 | 99.9 | 4% |
| Cu | <38 | 99.9 | 4% |
| TiH2 | <45 | 99.7 | 1% |
| Joining Method | L (mm) | L + 2H (mm) | d (mm) | b (mm) | t (mm) | c (mm) | Total Mass (g) | Core Density (g/cm3) |
|---|---|---|---|---|---|---|---|---|
| glued bonding | 120 | 170 | 28.26 | 50 | 1.59 | 25.06 | 142.38 | 0.32 |
| Metallurgical bonding | 120 | 170 | 26.32 | 50 | 1.62 | 23.07 | 122.5 | 0.24 |
Publisher’s Note: MDPI stays neutral with regard to jurisdictional claims in published maps and institutional affiliations. |
© 2022 by the authors. Licensee MDPI, Basel, Switzerland. This article is an open access article distributed under the terms and conditions of the Creative Commons Attribution (CC BY) license (https://creativecommons.org/licenses/by/4.0/).
Share and Cite
Huang, P.; Sun, X.; Su, X.; Gao, Q.; Feng, Z.; Zu, G. Three-Point Bending Behavior of Aluminum Foam Sandwich with Different Interface Bonding Methods. Materials 2022, 15, 6931. https://doi.org/10.3390/ma15196931
Huang P, Sun X, Su X, Gao Q, Feng Z, Zu G. Three-Point Bending Behavior of Aluminum Foam Sandwich with Different Interface Bonding Methods. Materials. 2022; 15(19):6931. https://doi.org/10.3390/ma15196931
Chicago/Turabian StyleHuang, Peng, Xi Sun, Xixi Su, Qiang Gao, Zhanhao Feng, and Guoyin Zu. 2022. "Three-Point Bending Behavior of Aluminum Foam Sandwich with Different Interface Bonding Methods" Materials 15, no. 19: 6931. https://doi.org/10.3390/ma15196931
APA StyleHuang, P., Sun, X., Su, X., Gao, Q., Feng, Z., & Zu, G. (2022). Three-Point Bending Behavior of Aluminum Foam Sandwich with Different Interface Bonding Methods. Materials, 15(19), 6931. https://doi.org/10.3390/ma15196931

