Flexural Strength Evaluation of Multi-Cell Composite T-Shaped Concrete-Filled Steel Tubular Beams
Abstract
1. Introduction
2. Methods to Predict the Flexural Strength of MT-CFST Beams
2.1. The Nominal Bending Resistance Determined by the Unified Theory
2.1.1. A Modified Confinement Factor Considering Geometry Effects on Confinement
2.1.2. Calculation of fsc for an MT-CFST Section
2.2. The Nominal Bending Resistance Determined by the Plastic Stress Distribution Method
3. Experimental Study
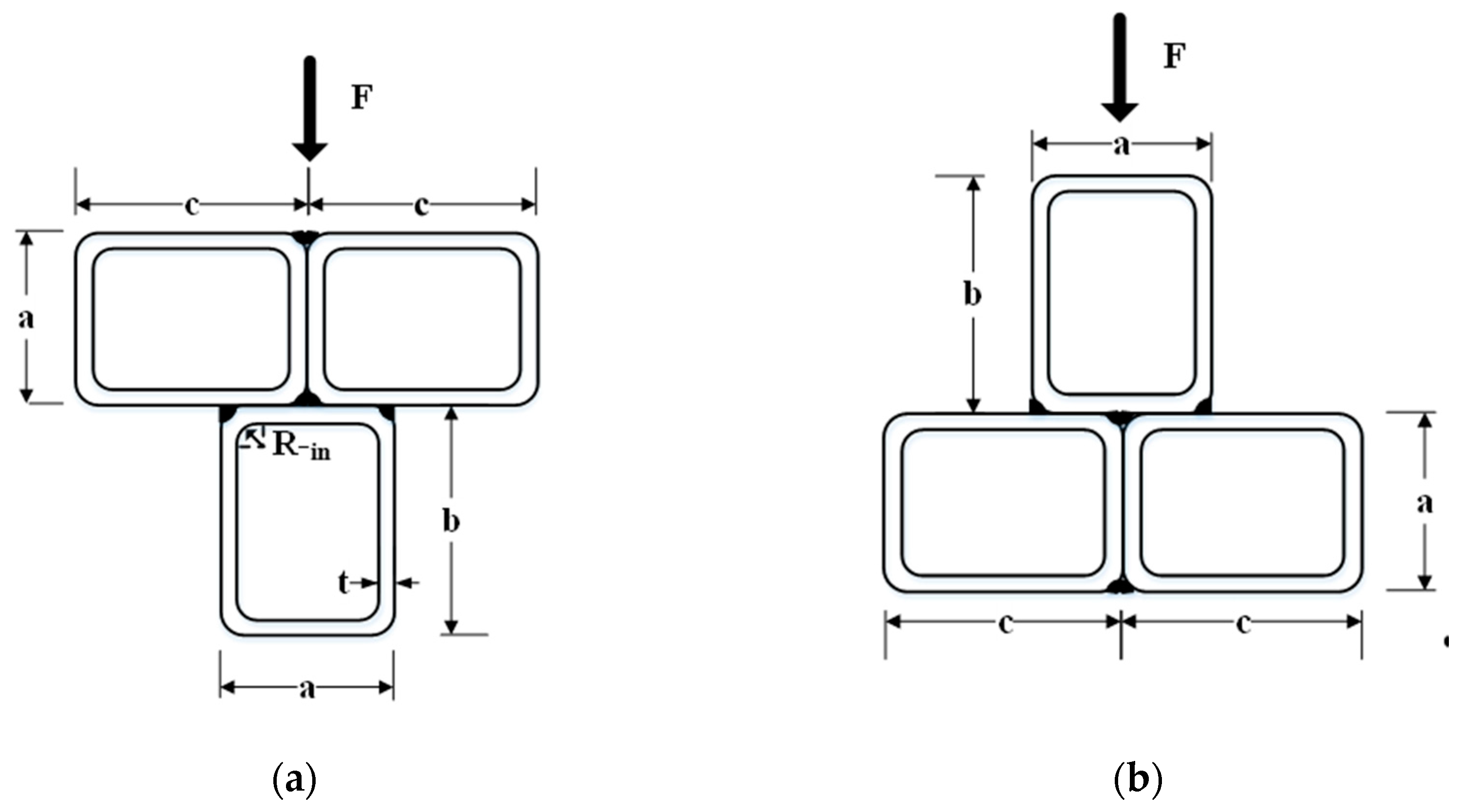
3.1. Description of Specimens
3.2. Description of Test Setup
3.3. Test Results
3.4. Neutral Axis and Strain Distributions
4. Comparison of Experimental Results against Predicted Results
5. Verification by Numerical Results
5.1. Development and Validation of the Finite Element Model
5.2. Comparison of Predicted Results and Numerical Results
6. Conclusions
- (1)
- All the MT-CFST beams exhibited very noticeable ductile behavior. The flexural strength of MT-CFST specimens under positive bending was higher than the counterparts under negative bending. This was aligned with the Unified Theory in which the T-shaped cross section was taken as one new composite material whose compressive strength was greater than its tensile strength. Increasing in-filled concrete and cross-section sizes had an appreciable influence on the flexural strength of the studied MT-CFST specimens.
- (2)
- Both the Unified Theory-based formula and PSDM generally gave conservative predictions. Predicted results from the Unified Theory-based formula were in good agreement with both experimental results and numerical results. The Unified Theory-based formula produced reasonably conservative predictions for most MT-CFST beams and gave acceptable unconservative errors for few MT-CFST beams. PSDM provided safe predictions but produced large conservative errors in some cases.
Author Contributions
Funding
Conflicts of Interest
Appendix A
Appendix B
| Group | (a + b)/2c | t (mm) | fy (MPa) | fc’ (MPa) | M | Group | (a + b)/2c | t (mm) | fy (MPa) | fc’ (MPa) | M |
|---|---|---|---|---|---|---|---|---|---|---|---|
| 1 | 0.8 | 3 | 235 | 30 | P | 2 | 1.5 | 4 | 425 | 45 | P |
| 0.8 | 3 | 235 | 30 | N | 1.5 | 4 | 425 | 45 | N | ||
| 0.8 | 3 | 235 | 65 | P | 1.5 | 4 | 500 | 45 | P | ||
| 0.8 | 3 | 235 | 65 | N | 1.5 | 4 | 500 | 45 | N | ||
| 0.8 | 3 | 345 | 30 | P | 1.5 | 6 | 300 | 45 | P | ||
| 0.8 | 3 | 345 | 30 | N | 1.5 | 6 | 300 | 45 | N | ||
| 0.8 | 3 | 345 | 65 | P | 1.5 | 6 | 425 | 45 | P | ||
| 0.8 | 3 | 345 | 65 | N | 1.5 | 6 | 425 | 45 | N | ||
| 0.8 | 4 | 235 | 30 | P | 1.5 | 6 | 500 | 45 | P | ||
| 0.8 | 4 | 235 | 30 | N | 1.5 | 6 | 500 | 45 | N | ||
| 0.8 | 4 | 235 | 65 | P | 3 | 1.2 | 5 | 450 | 60 | P | |
| 0.8 | 4 | 235 | 65 | N | 1.2 | 5 | 450 | 60 | N | ||
| 0.8 | 4 | 345 | 30 | P | 1.2 | 5 | 450 | 85 | P | ||
| 0.8 | 4 | 345 | 30 | N | 1.2 | 5 | 450 | 85 | N | ||
| 0.8 | 4 | 345 | 65 | P | 1.2 | 7 | 450 | 60 | P | ||
| 0.8 | 4 | 345 | 65 | N | 1.2 | 7 | 450 | 60 | N | ||
| 2.0 | 3 | 235 | 30 | P | 1.2 | 7 | 450 | 85 | P | ||
| 2.0 | 3 | 235 | 30 | N | 1.2 | 7 | 450 | 85 | N | ||
| 2.0 | 3 | 235 | 65 | P | 2.5 | 5 | 450 | 60 | P | ||
| 2.0 | 3 | 235 | 65 | N | 2.5 | 5 | 450 | 60 | N | ||
| 2.0 | 3 | 345 | 30 | P | 2.5 | 5 | 450 | 85 | P | ||
| 2.0 | 3 | 345 | 30 | N | 2.5 | 5 | 450 | 85 | N | ||
| 2.0 | 3 | 345 | 65 | P | 2.5 | 7 | 450 | 60 | P | ||
| 2.0 | 3 | 345 | 65 | N | 2.5 | 7 | 450 | 60 | N | ||
| 2 | 1.5 | 4 | 300 | 45 | P | 2.5 | 7 | 450 | 85 | P | |
| 1.5 | 4 | 300 | 45 | N | 2.5 | 7 | 450 | 85 | N |
References
- Al-Nini, A.; Nikbakht, E.; Syamsir, A.; Shafiq, N.; Mohammed, B.S.; Al-Fakih, A.; Al-Nini, W.; Amran, Y.H.M. Flexural Behavior of Double-Skin Steel Tube Beams Filled with Fiber-Reinforced Cementitious Composite and Strengthened with CFRP Sheets. Materials 2020, 13, 3064. [Google Scholar] [CrossRef]
- Moon, J.; Roeder, C.W.; Lehman, D.E.; Lee, H.-E. Analytical modeling of bending of circular concrete-filled steel tubes. Eng. Struct. 2012, 42, 349–361. [Google Scholar] [CrossRef]
- Alatshan, F.; Osman, S.A.; Mashiri, F.; Hamid, R. Explicit Simulation of Circular CFST Stub Columns with External Steel Confinement under Axial Compression. Materials 2020, 13, 23. [Google Scholar] [CrossRef] [PubMed]
- Guler, S.; Yavuz, D. Post-cracking behavior of hybrid fiber-reinforced concrete-filled steel tube beams. Constr. Build. Mater. 2019, 205, 285–305. [Google Scholar] [CrossRef]
- Moon, J.; Lehman, D.E.; Roeder, C.W.; Lee, H.-E. Strength of Circular Concrete-Filled Tubes with and without Internal Reinforcement under Combined Loading. J. Struct. Eng. 2013, 139, 04013012. [Google Scholar] [CrossRef]
- Wu, H.; Cao, W.; Qiao, Q.; Dong, H. Uniaxial Compressive Constitutive Relationship of Concrete Confined by Special-Shaped Steel Tube Coupled with Multiple Cavities. Materials 2016, 9, 86. [Google Scholar] [CrossRef] [PubMed]
- Tu, Y.-Q.; Shen, Y.-F.; Zeng, Y.-G.; Ma, L.-Y. Hysteretic behavior of multi-cell T- Shaped concrete-filled steel tubular columns. Thin Walled Struct. 2014, 85, 106–116. [Google Scholar] [CrossRef]
- Tu, Y.; Shen, Y.; Li, P. Behaviour of multi-cell composite T-shaped concrete-filled steel tubular columns under axial compression. Thin Walled Struct. 2014, 85, 57–70. [Google Scholar] [CrossRef]
- Shen, Y.F. Study on the Uniaxial and Flexural Behavior of Multi-Cell Composite T-Shaped Concrete Filled Steel Tubes. Master’s Thesis, Beihang University, Beijing, China, 2015. [Google Scholar]
- Cho, J.; Moon, J.; Ko, H.-J.; Lee, H.-E. Flexural strength evaluation of concrete-filled steel tube (CFST) composite girder. J. Constr. Steel Res. 2018, 151, 12–24. [Google Scholar] [CrossRef]
- Shen, Z.-Y.; Lei, M.; Li, Y.-Q.; Lin, Z.-Y.; Luo, J.-H. Experimental Study on Seismic Behavior of Concrete-Filled L-Shaped Steel Tube Columns. Adv. Struct. Eng. 2013, 16, 1235–1247. [Google Scholar] [CrossRef]
- Zhou, T.; Chen, Z.; Liu, H. Seismic behavior of special shaped column composed of concrete filled steel tubes. J. Constr. Steel Res. 2012, 75, 131–141. [Google Scholar] [CrossRef]
- ANSI/AISC 360-16, Specification for Structural Steel Buildings; American Institute of Steel Construction: Chicago, IL, USA, 2016.
- Eurocode 4: Design of Composite Steel and Concrete Structures—Part 1-1: General Rules and Rules for Buildings; European Committee for Standardization: Brussels, Belgium, 2004.
- GB 50936-2014: Technical Code for Concrete Filled Steel Tubular Structures; China Architecture and Building Press: Beijing, China, 2014. (In Chinese)
- Zhong, S.T. The Unified Theory of Concrete-Filled Steel Tubular Structures: Research and Application; Tsinghua University Press: Beijing, China, 2006. (In Chinese) [Google Scholar]
- Han, L.-H. Flexural behaviour of concrete-filled steel tubes. J. Constr. Steel Res. 2004, 60, 313–337. [Google Scholar] [CrossRef]
- Jiang, A.-Y.; Chen, J.; Jin, W.-L. Experimental investigation and design of thin-walled concrete-filled steel tubes subject to bending. Thin-Walled Struct. 2013, 63, 44–50. [Google Scholar] [CrossRef]
- Elchalakani, M.; Zhao, X.; Grzebieta, R. Concrete-filled circular steel tubes subjected to pure bending. J. Constr. Steel Res. 2001, 57, 1141–1168. [Google Scholar] [CrossRef]
- Gho, W.-M.; Liu, D. Flexural behaviour of high-strength rectangular concrete-filled steel hollow sections. J. Constr. Steel Res. 2004, 60, 1681–1696. [Google Scholar] [CrossRef]
- Xiong, M.-X.; Xiong, D.-X.; Liew, R. Flexural performance of concrete filled tubes with high tensile steel and ultra-high strength concrete. J. Constr. Steel Res. 2017, 132, 191–202. [Google Scholar] [CrossRef]
- Chitawadagi, M.V.; Narasimhan, M.C. Strength deformation behaviour of circular concrete filled steel tubes subjected to pure bending. J. Constr. Steel Res. 2009, 65, 1836–1845. [Google Scholar] [CrossRef]
- Ren, Q.-X.; Han, L.-H.; Lam, D.; Li, W. Tests on elliptical concrete filled steel tubular (CFST) beams and columns. J. Constr. Steel Res. 2014, 99, 149–160. [Google Scholar] [CrossRef]
- Han, L.-H.; Lu, H.; Yao, G.-H.; Liao, F.-Y. Further study on the flexural behaviour of concrete-filled steel tubes. J. Constr. Steel Res. 2006, 62, 554–565. [Google Scholar] [CrossRef]
- Abed, F.H.; Abdelmageed, Y.I.; Ilgun, A.K. Flexural response of concrete-filled seamless steel tubes. J. Constr. Steel Res. 2018, 149, 53–63. [Google Scholar] [CrossRef]
- Wang, R.; Han, L.-H.; Nie, J.-G.; Zhao, X.-L. Flexural performance of rectangular CFST members. Thin Walled Struct. 2014, 79, 154–165. [Google Scholar] [CrossRef]
- Nguyen, D.H.; Hong, W.-K.; Ko, H.-J.; Kim, S.-K. Finite element model for the interface between steel and concrete of CFST (concrete-filled steel tube). Eng. Struct. 2019, 185, 141–158. [Google Scholar] [CrossRef]
- Al-Shaar, A.A.; Göğüş, M.T. Flexural behavior of lightweight concrete and self-compacting concrete-filled steel tube beams. J. Constr. Steel Res. 2018, 149, 153–164. [Google Scholar] [CrossRef]
- Zhang, Y.-F.; Zhang, Z.-Q. Study on equivalent confinement coefficient of composite CFST column based on unified theory. Mech. Adv. Mater. Struct. 2015, 23, 22–27. [Google Scholar] [CrossRef]
- He, L.; Lin, S.; Jiang, H. Confinement Effect of Concrete-Filled Steel Tube Columns with Infill Concrete of Different Strength Grades. Front. Mater. 2019, 6, 71. [Google Scholar] [CrossRef]
- Mander, J.B.; Priestley, M.J.N.; Park, R. Theoretical Stress-Strain Model for Confined Concrete. J. Struct. Eng. 1988, 114, 1804–1826. [Google Scholar] [CrossRef]
- Bradford, M.; Loh, H.; Uy, B. Slenderness limits for filled circular steel tubes. J. Constr. Steel Res. 2002, 58, 243–252. [Google Scholar] [CrossRef]
- Abaqus v.6.13 Reference Manual; Simulia, Dassault Systemes: Johnston, RI, USA, 2013.
- Han, L.-H.; Zhao, X.-L.; Tao, Z. Tests and mechanics model for concrete-filled SHS stub columns, columns and beam-columns. Steel Compos. Struct. 2001, 1, 51–74. [Google Scholar] [CrossRef]
- Lubliner, J.; Oliver, J.; Oller, S.; Onate, E. A plastic-damage model for concrete. Int. J. Solids Struct. 1989, 25, 299–326. [Google Scholar] [CrossRef]















| Specimen | Group | a (mm) | b (mm) | c (mm) | t (mm) | R-in (mm) | L (mm) | Es (GPa) | fy (MPa) | Ec (GPa) | fc′ (MPa) |
|---|---|---|---|---|---|---|---|---|---|---|---|
| MT-HST1-P | 1 | 60.1 | 80.3 | 79.9 | 2.48 | 3.97 | 1300.5 | 198.2 | 315 | ||
| MT-HST1-N | 60.4 | 79.8 | 80 | 2.50 | 4.75 | 1301 | 198.2 | 315 | |||
| MT-CFST2-P | 2 | 59.9 | 80 | 80.4 | 2.52 | 5.25 | 1300 | 198.2 | 315 | 35.5 | 41.3 |
| MT-CFST2-N | 60.5 | 80.2 | 79.6 | 2.46 | 5.09 | 1299.6 | 198.2 | 315 | 35.5 | 41.3 | |
| MT-CFST3-P | 3 | 59.8 | 79.2 | 79.9 | 1.99 | 3.38 | 1299.8 | 199.6 | 321.6 | 35.5 | 41.3 |
| MT-CFST3-N | 59.5 | 80.3 | 79.6 | 2.01 | 4.42 | 1299.4 | 199.6 | 321.6 | 35.5 | 41.3 | |
| MT-CFST4-P | 4 | 60.3 | 100.7 | 80.4 | 2.52 | 5.80 | 1300.9 | 198.2 | 315 | 35.5 | 41.3 |
| MT-CFST4-N | 59.8 | 100.1 | 79.7 | 2.49 | 4.01 | 1301.2 | 198.2 | 315 | 35.5 | 41.3 |
| Specimen | Group | Mu-exp (kN∙m) | YINA (mm) | YPNA (mm) | ys (mm) |
|---|---|---|---|---|---|
| MT-HST1-P | 1 | 22.8 | 53.50 | 57.89 | 4.39↓ |
| MT-HST1-N | 23.9 | 86.46 | 82.11 | 4.35↑ | |
| MT-CFST2-P | 2 | 34.7 | 53.19 | 33.50 | 19.69↑ |
| MT-CFST2-N | 33.0 | 86.18 | 80.56 | 5.62↑ | |
| MT-CFST3-P | 3 | 27.3 | 52.93 | 29.71 | 23.22↑ |
| MT-CFST3-N | 26.9 | 86.81 | 79.95 | 6.83↑ | |
| MT-CFST4-P | 4 | 42.6 | 61.15 | 35.86 | 25.29↑ |
| MT-CFST4-N | 38.7 | 99.26 | 101.44 | 2.18↓ |
| Specimen | Group | Mu-exp (kN∙m) | Mu-PSDM (kN∙m) | Mu-uni (kN∙m) | Mu-PSDM/Mu-exp | Mu-uni/Mu-exp |
|---|---|---|---|---|---|---|
| MT-HST1-P | 1 | 22.8 | 22.4 | 22.4 | 0.98 | 0.98 |
| MT-HST1-N | 23.9 | 22.4 | 22.4 | 0.94 | 0.94 | |
| MT-CFST2-P | 2 | 34.7 | 29 | 33.2 | 0.84 | 0.96 |
| MT-CFST2-N | 33 | 28.6 | 31.1 | 0.87 | 0.94 | |
| MT-CFST3-P | 3 | 27.3 | 20.8 | 27.8 | 0.76 | 1.03 |
| MT-CFST3-N | 26.9 | 21.9 | 25 | 0.81 | 0.93 | |
| MT-CFST4-P | 4 | 42.6 | 39.8 | 35.8 | 0.93 | 0.86 |
| MT-CFST4-N | 38.7 | 34.1 | 37.6 | 0.88 | 0.97 | |
| μ | 0.85 | 0.94 | ||||
| COV | 0.09 | 0.06 | ||||
| ε+ | -- | +3% | ||||
| ε− | −24% | −14% |
![]() ![]() | Group | (a + b)/2c | t (mm) | fy (MPa) | fc’ (MPa) | Moment | Number of Models |
| 1 | 0.8 2.0 | 3 4 | 345 | 30 65 | Positive and negative | 24 | |
| 2 | 1.5 | 4 6 | 300 425 500 | 45 | Positive and negative | 12 | |
| 3 | 1.2 2.5 | 5 7 | 450 | 60 85 | Positive and negative | 16 |
Publisher’s Note: MDPI stays neutral with regard to jurisdictional claims in published maps and institutional affiliations. |
© 2021 by the authors. Licensee MDPI, Basel, Switzerland. This article is an open access article distributed under the terms and conditions of the Creative Commons Attribution (CC BY) license (https://creativecommons.org/licenses/by/4.0/).
Share and Cite
Shen, Y.; Tu, Y. Flexural Strength Evaluation of Multi-Cell Composite T-Shaped Concrete-Filled Steel Tubular Beams. Materials 2021, 14, 2838. https://doi.org/10.3390/ma14112838
Shen Y, Tu Y. Flexural Strength Evaluation of Multi-Cell Composite T-Shaped Concrete-Filled Steel Tubular Beams. Materials. 2021; 14(11):2838. https://doi.org/10.3390/ma14112838
Chicago/Turabian StyleShen, Yanfei, and Yongqing Tu. 2021. "Flexural Strength Evaluation of Multi-Cell Composite T-Shaped Concrete-Filled Steel Tubular Beams" Materials 14, no. 11: 2838. https://doi.org/10.3390/ma14112838
APA StyleShen, Y., & Tu, Y. (2021). Flexural Strength Evaluation of Multi-Cell Composite T-Shaped Concrete-Filled Steel Tubular Beams. Materials, 14(11), 2838. https://doi.org/10.3390/ma14112838



