Scaled Approach to Designing the Minimum Hybrid Reinforcement of Concrete Beams
Abstract
1. Introduction
2. Multi-Scale Model for HRC Beams
2.1. Formulation of the Tension-Stiffening Problem
- In the cracked cross-section (at z = 0), the slip s0 = w/2, where w = crack width at level of reinforcement;
- At z = ltr < Lr/2 (where Lr = reinforcement length), s = 0 and ds/dz = 0 have to be imposed.
2.1.1. At the Scale of Fiber
- Assign a value to the crack width w in the midsection of the ideal tie (Figure 3a);
- By means of Equation (5), calculate the tensile stress of the matrix in the midsection σt,0;
- Under the hypothesis of linear elastic behavior of the concrete matrix, calculate the strain in midsection εt,0 (with Et = modulus of elasticity of concrete matrix)
- Assume a trial value to the axial load N (Figure 3a);
- By imposing the equilibrium in the cracked cross-section, the stress in the fiber σf,0 can be evaluated with the following equation
- Assuming the linear elastic behavior of the fiber (σf,0 has to be lower than fu, where fu = strength of fiber), calculate the strain in midsection εf,0where Ef = modulus of elasticity of the fiber.
- Considering Δl as a small portion of the unknown ltr, define zi = i ∙ Δl (where i = 1, 2, 3, …);
- For each i (or zi) calculate:
- -
- The bond stress τi, related to the slip si-1 [Equation (7)];
- -
- The strain of the fiber εf,i, based on Equation (2)
- -
- The strain εt,i of the matrix
- -
- The slip si by means of the finite difference form of Equation (3):
- When si ≅ 0, if εf,i ≠ εt,i change N and go back to step 6;
- Calculate the tensile stress σc referred to the cross-sectional area of the tie (i.e., At + Af)
2.1.2. At the Scale of Beam
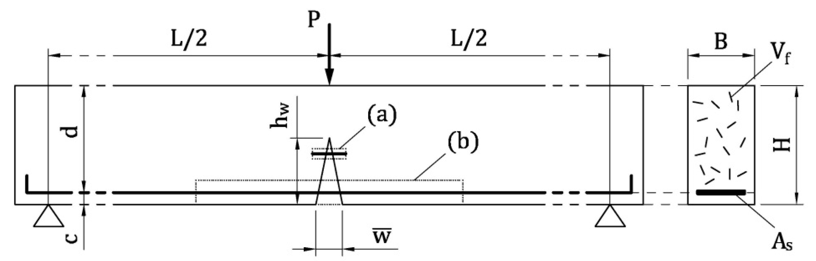
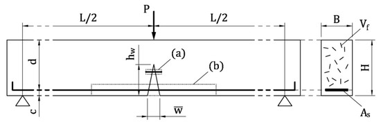
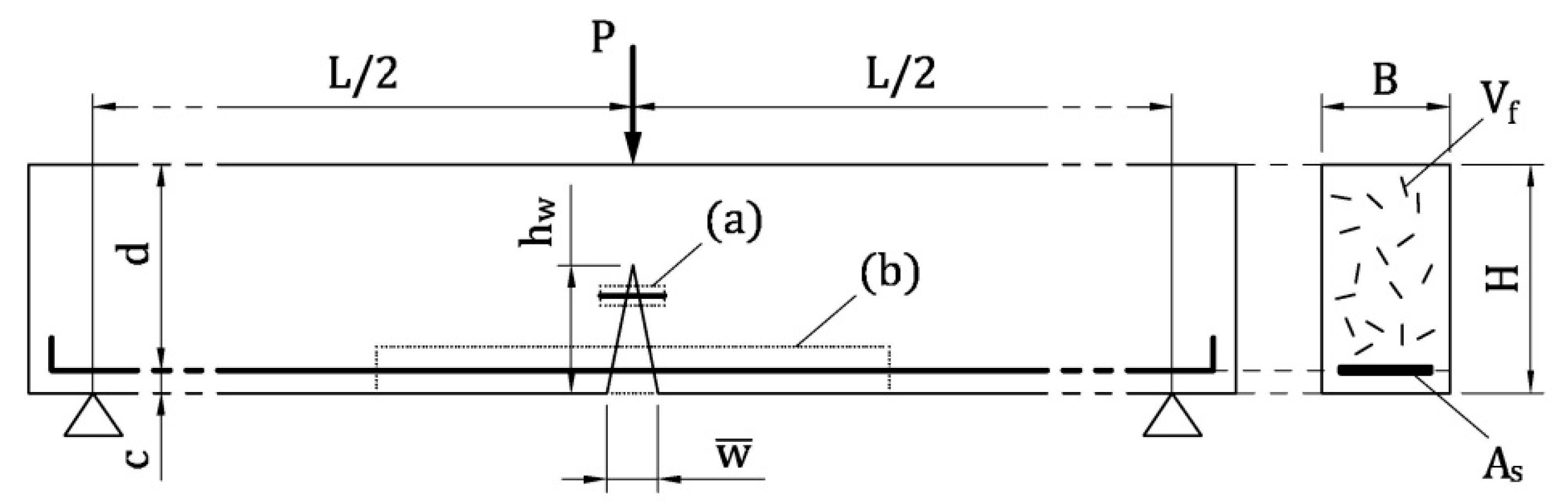
- In the cracked cross-section, assign a value to the crack width at the bottom level (Figure 2);
- Assume a trial value for the crack depth hw (c < hw < H in Figure 2, where c = concrete cover, and H = beam depth);
- Assuming a linear crack profile (Figure 2), calculate the slip s0 in the cracked cross-section (where zi = 0)
- Calculate the cohesive stress σc,0(w) in cracked FRC at z = 0 by means of the stress vs. crack opening relationship obtained by modelling the ideal tie at the scale of the fiber (Figure 6b);
- In cross-section 0-0, assume a plane state of strain for uncracked FRC, and calculate εc,0 and εs,0;
- In the same cross-section, define the state of stress of uncracked FRC, σc,0, and of steel rebar, σs,0, by means of Equations (18) and (19);
- Calculate the result of axial stresses R in the cracked cross-section;
- If R ≠ 0, then change the state of strain and go back to step 6;
- Compute the internal bending moment M in the cracked cross-section;
- Considering Δl as a small portion of the transfer length, define zi = i ∙ Δl (where i = 1, 2, 3, …);
- For each i (or zi), calculate:
- -
- The bond stress τi, related to the slip si-1 (Equation (20));
- -
- The strain εs,i in the reinforcement, by using Equation (2) written in the finite difference form (where ϕs = diameter of rebar)
- -
- The similarity coefficient χi, by inverting Equation (17a)
- -
- The strain of concrete εc,i at level of rebar with Equation (17b);
- -
- The slip si by means of the finite difference form of Equation (3)
- When si ≅ 0, if εs,i ≠ εc,i, change hw and go back to step 3.
3. Numerical Investigation
Numerical Brittle/Ductile Assessment
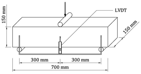
4. Experimental Investigation
Experimental Brittle/Ductile Assessment
5. Conclusions
- The brittle/ductile flexural behavior of hybrid reinforced concrete beams HRC can be described by the ductility index DI, which, in turn, depends on the difference between the ultimate load and the effective cracking load of a beam;
- The hybrid reinforcement of lightly reinforced concrete beams can be quantified by means of r, which is a linear combination of the area of rebar and the volume of fibers, both normalized with respect to the minimum reinforcement of LRC and FRC beams, respectively;
- Both numerical and experimental investigations performed on HRC beams reveal the existence of a range in the DI vs. r diagram. The borders of this range are two linear DI-r functions reproducing the behavior of LRC and FRC beams, respectively;
- The minimum hybrid reinforcement, corresponding to DI = 0, is a linear combination of the minimum amount of rebar and the minimum fiber volume fraction required for LRC and FRC beams, separately. Accordingly, the minimum reinforcement of LRC beams can be reduced by the presence of fibers.
Author Contributions
Funding
Acknowledgments
Conflicts of Interest
References
- di Prisco, M.; Colombo, M.; De Wilder, K.; Vandewalle, L. A new FRC solution for a partially prefabricated industrial deck. In Proceedings of the 9th RILEM International Symposium on Fiber Reinforced Concrete (BEFIB 2016), Vancouver, BC, Canada, 19–21 September 2016; pp. 1407–1421. [Google Scholar]
- Facconi, L.; Plizzari, G.A.; Minelli, F. Hybrid reinforcement (rebars + fibers) for elevated slabs. In Proceedings of the 9th RILEM International Symposium on Fiber Reinforced Concrete (BEFIB 2016), Vancouver, BC, Canada, 19–21 September 2016; pp. 969–979. [Google Scholar]
- Liao, L.; de la Fuente, A.; Cavalaro, S.; Aguado, A. Design procedure and experimental study on fibre reinforced concrete segmental rings for vertical shafts. Mater. Des. 2016, 92, 590–601. [Google Scholar] [CrossRef]
- Tiberti, G.; Trabucchi, I.; Al Hamaydeh, M.; Minelli, F.; Plizzari, G. Crack control in concrete members reinforced by conventional rebars and steel fibers. IOP Conf. Ser. Mater. Sci. Eng. 2017, 246, 012008. [Google Scholar] [CrossRef]
- Yoo, D.Y.; Banthia, N.; Yoon, Y.S. Impact resistance of reinforced ultra-high-performance concrete beams with different steel fibers. ACI Struct. J. 2017, 114, 113–124. [Google Scholar] [CrossRef]
- Pujadas, P.; Blanco, A.; de la Fuente, A.; Aguado, A. Cracking behavior of FRC slabs with traditional reinforcement. Mater. Struct. 2012, 45, 707–725. [Google Scholar] [CrossRef]
- Caratelli, A.; Meda, A.; Rinaldi, Z. Design according to MC2010 of a fibre-reinforced concrete tunnel in Monte Lirio, Panama. Struct. Concr. 2012, 13, 166–173. [Google Scholar] [CrossRef]
- Chiaia, B.; Fantilli, A.P.; Vallini, P. Combining fiber-reinforced concrete with traditional reinforcement in tunnel linings. Eng. Struct. 2009, 31, 1600–1606. [Google Scholar] [CrossRef]
- de la Fuente, A.; Pujadas, P.; Blanco, A.; Aguado, A. Experiences in Barcelona with the use of fibres in segmental linings. Tunn. Undergr. Space Technol. 2012, 27, 60–71. [Google Scholar] [CrossRef]
- Meng, G.; Gao, B.; Zhou, J.; Cao, G.; Zhang, G. Experimental investigation of the mechanical behavior of the steel fiber reinforced concrete tunnel segment. Constr. Build. Mater. 2016, 126, 98–107. [Google Scholar] [CrossRef]
- Plizzari, G.A.; Tiberti, G. Steel fibres as reinforcement for precast tunnel segments. Tunn. Undergr. Space Technol. 2006, 21, 438–439. [Google Scholar] [CrossRef]
- Facconi, L.; Conforti, A.; Minelli, F.; Plizzari, G. Flexural Design of Elevated Slabs Made of FRC According to fib Model Code 2010: A Case Study. Lect. Notes Civ. Eng. 2020, 42, 570–584. [Google Scholar]
- Maldague, J.C. Établissement des Lois Moments-Courbures. Ann. l’Institut Tech. Batim. Trav. Publics 1965, 213, 1170–1218. [Google Scholar]
- Bosco, C.; Carpinteri, A.; Debernardi, P.G. Minimum reinforcement in high-strength concrete. ASCE J. Struct. Eng. 1990, 116, 427–437. [Google Scholar] [CrossRef]
- Fantilli, A.P.; Chiaia, B.; Gorino, A. Minimum reinforcement and ductility index of lightly reinforced concrete beams. Comput. Concr. 2016, 18, 1175–1194. [Google Scholar]
- Accornero, F.; Rubino, A.; Carpinteri, A. Ductile-to-brittle transition in fibre-reinforced concrete beams: Scale and fibre volume fraction effects. Mater. Des. Process. Commun. 2020, 1–11. [Google Scholar] [CrossRef][Green Version]
- Ruiz, G.; Elices, M.; Planas, J. Size Effect and Bond-Slip Dependence of Lightly Reinforced Concrete Beams. Eur. Struct. Integr. Soc. 1999, 24, 67–97. [Google Scholar]
- ACI—American Concrete Institute. 318–14: Building Code Requirements for Structural Concrete and Commentary; American Concrete Institute: Farmington Hills, MI, USA, 2014. [Google Scholar]
- CEN—European Committee for Standardization. EN 1992-1-1: Eurocode 2: Design of Concrete Structures—Part 1-1: General Rules and Rules for Buildings; European Committee for Standardization: Brussels, Belgium, 2004. [Google Scholar]
- Fib—International Federation for Structural Concrete. fib Bulletin: Model Code 2010; Final Draft; International Federation for Structural Concrete: Lausanne, Switzerland, 2012; Volume 1, p. 65. [Google Scholar]
- Fantilli, A.P.; Chiaia, B.; Gorino, A. Fiber volume fraction and ductility index of concrete beams. Cem. Concr. Compos. 2016, 65, 139–149. [Google Scholar] [CrossRef]
- Liao, L.; de la Fuente, A.; Cavalaro, S.; Aguado, A. Design of FRC tunnel segments considering the ductility requirements of the Model Code 2010. Tunn. Undergr. Space Technol. 2015, 47, 200–210. [Google Scholar] [CrossRef]
- Naaman, A.E. Strain hardening and deflection hardening fiber reinforced cement composites. In Proceedings of the 4th International RILEM Workshop on High Performance Fiber Reinforced Cement Composites, University of Michigan, Ann Arbor, MI, USA, 16–18 June 2003; pp. 95–113. [Google Scholar]
- Facconi, L.; Minelli, F. Verification of structural elements made of FRC only: A critical discussion and proposal of a novel analytical method. Eng. Struct. 2017, 131, 530–541. [Google Scholar] [CrossRef]
- Barros, J.A.O.; Santos, S.; Lourenço, L.; Gonçalves, D. Flexural behaviour of steel fibre reinforced self-compacting concrete laminar structures. In Proceedings of the 1st Spanish Congress on Self-Compacting Concrete, Valencia, Spain, 18–19 February 2008; pp. 567–578. [Google Scholar]
- Blanco, A.; Pujadas, P.; de la Fuente, A.; Cavalaro, S.; Aguado, A. Application of constitutive models in European codes to RC-FRC. Constr. Build. Mater. 2013, 40, 246–259. [Google Scholar] [CrossRef]
- Meda, A.; Minelli, F.; Plizzari, G.A. Flexural behaviour of RC beams in fibre reinforced concrete. Compos. Part B 2012, 43, 2930–2937. [Google Scholar] [CrossRef]
- Ning, X.; Ding, Y.; Zhang, F.; Zhang, Y. Experimental study and prediction model for flexural behavior of reinforced SCC beam containing steel fibers. Constr. Build. Mater. 2015, 93, 644–653. [Google Scholar] [CrossRef]
- Carpinteri, A.; Cadamuro, E.; Ventura, G. Fiber-reinforced concrete in flexure: A cohesive/overlapping crack model application. Mater. Struct. 2015, 48, 235–247. [Google Scholar] [CrossRef]
- Dancygier, A.N.; Berkover, E. Effect of steel fibers on the flexural ductility of lightly reinforced concrete beams. In Innovative Materials and Techniques in Concrete Construction; Fardis, M.N., Ed.; Springer: Berlin, Germany, 2012; pp. 197–207. [Google Scholar]
- di Prisco, M.; Colombo, M.; Bonalumi, P.; Beltrami, C. FRC structural applications according to the fib Model Code 2010: A unified approach. In Proceedings of the FRC 2014 Joint ACI-fib International Workshop, Montreal, QC, Canada, 24–25 July 2014; pp. 224–234. [Google Scholar]
- Dupont, D. Modelling and Experimental Validation of the Constitutive Law (σ–ε) and Cracking Behaviour of Fibre Reinforced Concrete. Ph.D. Thesis, Katholieke Universiteit Leuven, Leuven, Belgium, 2003. [Google Scholar]
- Falkner, H.; Henke, V. Steel fibre reinforced concrete, from research to standards. Concr. Struct. Annu. Tech. J. Hung. Group Fib. 2005, 6, 39–46. [Google Scholar]
- You, Z.; Chen, X.; Dong, S. Ductility and strength of hybrid fiber reinforced self-consolidating concrete beam with low reinforcement ratios. Syst. Eng. Procedia 2011, 1, 28–34. [Google Scholar] [CrossRef]
- Chiaia, B.; Fantilli, A.P.; Vallini, P. Evaluation of minimum reinforcement ratio in FRC members and application to tunnel linings. Mater. Struct. 2007, 40, 593–604. [Google Scholar] [CrossRef]
- Mobasher, B.; Yao, Y.; Soranakom, C. Analytical solutions for flexural design of hybrid steel fiber reinforced concrete beams. Eng. Struct. 2015, 100, 164–177. [Google Scholar] [CrossRef]
- Fantilli, A.P.; Chiaia, B.; Gorino, A. Unified Approach for Minimum Reinforcement of Concrete Beams. ACI Struct. J. 2016, 113, 1107–1116. [Google Scholar] [CrossRef]
- Barros, J.A.O.; Taheri, M.; Salehian, H. A model to simulate the moment–rotation and crack width of FRC members reinforced with longitudinal bars. Eng. Struct. 2015, 100, 43–56. [Google Scholar] [CrossRef]
- Bažant, Z.P.; Cedolin, L. Stability of Structures: Elastic, Inelastic, Fracture and Damage Theories; Oxford University Press: New York, NY, USA, 1991. [Google Scholar]
- Fantilli, A.P.; Vallini, P. Bond-slip relationship for smooth steel reinforcement. In Proceedings of the Computational Modelling of Concrete Structures (EURO-C 2003), St. Johann Im Pongau, Austria, 17–20 March 2003; pp. 215–224. [Google Scholar]
- Gorino, A.; Fantilli, A.P.; Chiaia, B.; Zampini, D.; Guerini, A.; Volpatti, G. Brittle vs. ductile behavior of concrete beams reinforced with steel rebars and fibers. In Proceedings of the 9th Rilem International Symposium on Fiber Reinforced Concrete (BEFIB 2016), University of British Columbia, Vancouver, BC, Canada, 19–21 September 2016; pp. 1263–1274. [Google Scholar]
- Carpinteri, A.; Ferro, G.; Bosco, C.; Elkatieb, M. Scale effects and transitional failure phenomena of reinforced concrete beams in flexure. Eur. Struct. Integr. Soc. 1999, 24, 1–30. [Google Scholar]
- Grünewald, S.; Bartoli, L.; Ferrara, L.; Kanstad, T.; Dehn, F. Translation of test results of small specimens of flowable fibre concrete to structural behaviour: A discussion paper of fib Task Group 4.3. In Proceedings of the FRC 2014 Joint ACI-fib International Workshop, Montreal, QC, Canada, 24–25 July 2014; pp. 555–564. [Google Scholar]
- fib Bulletin 95. Fibre Reinforced Concrete: From Design to Structural Applications. In Proceedings of the ACI-fib-RILEM International Workshop—FRC2018, Desenzano, Italy, 27–30 June 2020. [Google Scholar]













| Group | Beam | H (mm) | fc (MPa) | Lf/ϕf | ϕs (mm) | As (mm2) | Vf (%) |
|---|---|---|---|---|---|---|---|
| 1 | S1_C30_A80_ϕ4_1 | 200 | 30 | 80 | 4 | 13 | 0.15 |
| S1_C30_A80_ϕ4_2 | 25 | 0.15 | |||||
| S1_C30_A80_ϕ4_3 | 38 | 0.15 | |||||
| 2 | S1_C30_A80_ϕ5_1 | 5 | 20 | 0.05 | |||
| S1_C30_A80_ϕ5_2 | 20 | 0.20 | |||||
| S1_C30_A80_ϕ5_3 | 20 | 0.35 | |||||
| 3 | S1_C30_A60_ϕ4_1 | 60 | 4 | 13 | 0.25 | ||
| S1_C30_A60_ϕ4_2 | 25 | 0.25 | |||||
| S1_C30_A60_ϕ4_3 | 38 | 0.25 | |||||
| 4 | S1_C30_A60_ϕ5_1 | 5 | 20 | 0.15 | |||
| S1_C30_A60_ϕ5_2 | 20 | 0.30 | |||||
| S1_C30_A60_ϕ5_3 | 20 | 0.45 | |||||
| 5 | S1_C30_A40_ϕ4_1 | 40 | 4 | 13 | 0.30 | ||
| S1_C30_A40_ϕ4_2 | 25 | 0.30 | |||||
| S1_C30_A40_ϕ4_3 | 38 | 0.30 | |||||
| 6 | S1_C30_A40_ϕ5_1 | 200 | 30 | 5 | 20 | 0.10 | |
| S1_C30_A40_ϕ5_2 | 20 | 0.40 | |||||
| S1_C30_A40_ϕ5_3 | 20 | 0.70 | |||||
| 7 | S1_C45_A80_ϕ5_1 | 45 | 80 | 5 | 20 | 0.15 | |
| S1_C45_A80_ϕ5_2 | 39 | 0.15 | |||||
| S1_C45_A80_ϕ5_3 | 59 | 0.15 | |||||
| 8 | S1_C45_A80_ϕ6_1 | 6 | 28 | 0.10 | |||
| S1_C45_A80_ϕ6_2 | 28 | 0.25 | |||||
| S1_C45_A80_ϕ6_3 | 28 | 0.40 | |||||
| 9 | S1_C45_A60_ϕ5_1 | 60 | 5 | 20 | 0.10 | ||
| S1_C45_A60_ϕ5_2 | 39 | 0.10 | |||||
| S1_C45_A60_ϕ5_3 | 59 | 0.10 | |||||
| 10 | S1_C45_A60_ϕ6_1 | 6 | 28 | 0.05 | |||
| S1_C45_A60_ϕ6_2 | 28 | 0.25 | |||||
| S1_C45_A60_ϕ6_3 | 28 | 0.45 | |||||
| 11 | S1_C45_A40_ϕ5_1 | 40 | 5 | 20 | 0.15 | ||
| S1_C45_A40_ϕ5_2 | 39 | 0.15 | |||||
| S1_C45_A40_ϕ5_3 | 59 | 0.15 | |||||
| 12 | S1_C45_A40_ϕ6_1 | 6 | 28 | 0.10 | |||
| S1_C45_A40_ϕ6_2 | 28 | 0.40 | |||||
| S1_C45_A40_ϕ6_3 | 28 | 0.70 | |||||
| 13 | S1_C60_A80_ϕ5_1 | 60 | 80 | 5 | 20 | 0.15 | |
| S1_C60_A80_ϕ5_2 | 39 | 0.15 | |||||
| S1_C60_A80_ϕ5_3 | 59 | 0.15 | |||||
| 14 | S1_C60_A80_ϕ6_1 | 6 | 28 | 0.10 | |||
| S1_C60_A80_ϕ6_2 | 28 | 0.25 | |||||
| S1_C60_A80_ϕ6_3 | 28 | 0.40 | |||||
| 15 | S1_C60_A60_ϕ5_1 | 60 | 5 | 20 | 0.25 | ||
| S1_C60_A60_ϕ5_2 | 39 | 0.25 | |||||
| S1_C60_A60_ϕ5_3 | 59 | 0.25 | |||||
| 16 | S1_C60_A60_ϕ6_1 | 6 | 28 | 0.10 | |||
| S1_C60_A60_ϕ6_2 | 28 | 0.35 | |||||
| S1_C60_A60_ϕ6_3 | 28 | 0.60 | |||||
| 17 | S1_C60_A40_ϕ5_1 | 40 | 5 | 20 | 0.30 | ||
| S1_C60_A40_ϕ5_2 | 39 | 0.30 | |||||
| S1_C60_A40_ϕ5_3 | 59 | 0.30 | |||||
| 18 | S1_C60_A40_ϕ6_1 | 6 | 28 | 0.10 | |||
| S1_C60_A40_ϕ6_2 | 28 | 0.50 | |||||
| S1_C60_A40_ϕ6_3 | 28 | 0.90 | |||||
| 19 | S2_C30_A80_ϕ8_1 | 400 | 30 | 80 | 8 | 50 | 0.10 |
| S2_C30_A80_ϕ8_2 | 101 | 0.10 | |||||
| S2_C30_A80_ϕ8_3 | 151 | 0.10 | |||||
| 20 | S2_C30_A80_ϕ10_1 | 10 | 79 | 0.05 | |||
| S2_C30_A80_ϕ10_2 | 79 | 0.20 | |||||
| S2_C30_A80_ϕ10_3 | 79 | 0.35 | |||||
| 21 | S2_C30_A60_ϕ8_1 | 400 | 30 | 60 | 8 | 50 | 0.15 |
| S2_C30_A60_ϕ8_2 | 101 | 0.15 | |||||
| S2_C30_A60_ϕ8_3 | 151 | 0.15 | |||||
| 22 | S2_C30_A60_ϕ10_1 | 400 | 30 | 10 | 79 | 0.05 | |
| S2_C30_A60_ϕ10_2 | 79 | 0.20 | |||||
| S2_C30_A60_ϕ10_3 | 79 | 0.35 | |||||
| 23 | S2_C30_A40_ϕ8_1 | 40 | 8 | 50 | 0.35 | ||
| S2_C30_A40_ϕ8_2 | 101 | 0.35 | |||||
| S2_C30_A40_ϕ8_3 | 151 | 0.35 | |||||
| 24 | S2_C30_A40_ϕ10_1 | 10 | 79 | 0.10 | |||
| S2_C30_A40_ϕ10_2 | 79 | 0.50 | |||||
| S2_C30_A40_ϕ10_3 | 79 | 0.90 | |||||
| 25 | S2_C45_A80_ϕ8_1 | 45 | 80 | 8 | 50 | 0.15 | |
| S2_C45_A80_ϕ8_2 | 151 | 0.15 | |||||
| S2_C45_A80_ϕ8_3 | 251 | 0.15 | |||||
| 26 | S2_C45_A80_ϕ10_1 | 10 | 79 | 0.10 | |||
| S2_C45_A80_ϕ10_2 | 79 | 0.35 | |||||
| S2_C45_A80_ϕ10_3 | 79 | 0.60 | |||||
| 27 | S2_C45_A60_ϕ8_1 | 60 | 8 | 50 | 0.10 | ||
| S2_C45_A60_ϕ8_2 | 151 | 0.10 | |||||
| S2_C45_A60_ϕ8_3 | 251 | 0.10 | |||||
| 28 | S2_C45_A60_ϕ10_1 | 10 | 79 | 0.10 | |||
| S2_C45_A60_ϕ10_2 | 79 | 0.45 | |||||
| S2_C45_A60_ϕ10_3 | 79 | 0.80 | |||||
| 29 | S2_C45_A40_ϕ8_1 | 40 | 8 | 50 | 0.10 | ||
| S2_C45_A40_ϕ8_2 | 151 | 0.10 | |||||
| S2_C45_A40_ϕ8_3 | 251 | 0.10 | |||||
| 30 | S2_C45_A40_ϕ10_1 | 10 | 79 | 0.10 | |||
| S2_C45_A40_ϕ10_2 | 79 | 0.60 | |||||
| S2_C45_A40_ϕ10_3 | 79 | 1.10 | |||||
| 31 | S2_C60_A80_ϕ8_1 | 60 | 80 | 8 | 50 | 0.25 | |
| S2_C60_A80_ϕ8_2 | 151 | 0.25 | |||||
| S2_C60_A80_ϕ8_3 | 251 | 0.25 | |||||
| 32 | S2_C60_A80_ϕ10_1 | 10 | 79 | 0.10 | |||
| S2_C60_A80_ϕ10_2 | 79 | 0.35 | |||||
| S2_C60_A80_ϕ10_3 | 79 | 0.60 | |||||
| 33 | S2_C60_A60_ϕ8_1 | 60 | 8 | 50 | 0.10 | ||
| S2_C60_A60_ϕ8_2 | 151 | 0.10 | |||||
| S2_C60_A60_ϕ8_3 | 251 | 0.10 | |||||
| 34 | S2_C60_A60_ϕ10_1 | 10 | 79 | 0.10 | |||
| S2_C60_A60_ϕ10_2 | 79 | 0.50 | |||||
| S2_C60_A60_ϕ10_3 | 79 | 0.90 | |||||
| 35 | S2_C60_A40_ϕ8_1 | 40 | 8 | 50 | 0.10 | ||
| S2_C60_A40_ϕ8_2 | 151 | 0.10 | |||||
| S2_C60_A40_ϕ8_3 | 251 | 0.10 | |||||
| 36 | S2_C60_A40_ϕ10_1 | 10 | 79 | 0.10 | |||
| S2_C60_A40_ϕ10_2 | 79 | 0.75 | |||||
| S2_C60_A40_ϕ10_3 | 79 | 1.40 |
| Mixture | CEM I 52.5R (kg) | Water (l) | Sand 0–4 mm (kg) | Gravel 4–8 mm (kg) | Gravel 8–11 mm (kg) | Super-plasticizer (kg) | Vf Type 1 (%) | Vf Type 2 (%) |
|---|---|---|---|---|---|---|---|---|
| A | 400 | 200 | 864 | 346 | 519 | 3.2 | 0.00 | 0.00 |
| B | 4.0 | 0.50 | 0.00 | |||||
| C | 0.75 | 0.00 | ||||||
| D | 3.2 | 0.00 | 0.00 | |||||
| E | 4.0 | 0.00 | 0.50 | |||||
| F | 0.00 | 0.75 |
| Mixture | Beam | As (mm2) | Vf (%) |
|---|---|---|---|
| A | A_R | 28 | 0.00 |
| B | B_P | 0 | 0.50 |
| B_R | 28 | ||
| C | C_P | 0 | 0.75 |
| C_R | 28 | ||
| D | D_R | 28 | 0.00 |
| E | E_P | 0 | 0.50 |
| E_R | 28 | ||
| F | F_P | 0 | 0.75 |
| F_R | 28 |
| Beam | As,min (mm2) | Vf,min (%) | r | Pcr* (kN) | Pu (kN) | DI | Ref. |
|---|---|---|---|---|---|---|---|
| A_R_1 | 29 | 0.66 | 0.99 | 20.09 | 17.70 | −0.12 | Tested herein |
| A_R_2 | 16.52 | 17.71 | 0.07 | ||||
| A_R_3 | 17.02 | 18.51 | 0.09 | ||||
| B_P_1 | 0.76 | 15.44 | 13.27 | −0.14 | |||
| B_P_2 | 18.26 | 20.39 | 0.12 | ||||
| B_P_3 | 17.84 | 16.17 | −0.09 | ||||
| B_R_1 | 1.75 | 17.84 | 30.44 | 0.71 | |||
| B_R_2 | 19.44 | 30.79 | 0.58 | ||||
| B_R_3 | 19.92 | 31.31 | 0.57 | ||||
| C_P_1 | 1.14 | 20.06 | 17.82 | −0.11 | |||
| C_P_2 | 21.90 | 22.58 | 0.03 | ||||
| C_P_3 | 23.67 | 24.10 | 0.02 | ||||
| C_R_1 | 2.13 | 18.78 | 35.24 | 0.88 | |||
| C_R_2 | 17.91 | 39.65 | 1.21 | ||||
| C_R_3 | 22.72 | 41.76 | 0.84 | ||||
| D_R_1 | 0.71 | 0.99 | 19.84 | 21.14 | 0.07 | ||
| D_R_2 | MISSING | ||||||
| D_R_3 | 25.26 | 22.99 | −0.09 | ||||
| E_P_1 | 0.70 | 17.37 | 22.70 | 0.31 | |||
| E_P_2 | 20.79 | 20.72 | 0.00 | ||||
| E_P_3 | 26.17 | 35.83 | 0.37 | ||||
| E_R_1 | 1.69 | 18.82 | 27.17 | 0.44 | |||
| E_R_2 | 18.86 | 41.55 | 1.20 | ||||
| E_R_3 | 19.08 | 30.69 | 0.61 | ||||
| F_P_1 | 1.05 | 23.69 | 24.01 | 0.01 | |||
| F_P_2 | 24.47 | 12.93 | −0.47 | ||||
| F_P_3 | 26.31 | 36.70 | 0.39 | ||||
| F_R_1 | 2.04 | 26.11 | 42.13 | 0.61 | |||
| F_R_2 | 26.45 | 54.27 | 1.05 | ||||
| F_R_3 | 22.63 | 38.94 | 0.72 | ||||
| 0−1ϕ8 | 41 | 0.53 | 1.23 | 16.31 | 19.33 | 0.19 | [42] |
| 40−0ϕ0 | 0.96 | 16.05 | 15.47 | −0.04 | |||
| 10−1ϕ8 | 1.47 | 16.70 | 21.48 | 0.29 | |||
| 20−1ϕ8 | 1.71 | 16.64 | 25.52 | 0.53 | |||
| 40−1ϕ8 | 2.19 | 14.35 | 27.22 | 0.90 | |||
| NF−0−015 | 40 | 6.66 | 2.52 | 17.25 | 38.24 | 1.22 | [30] |
| NF−1−015 | 2.63 | 43.24 | 1.51 | ||||
| Slag | 106 | 3.88 | 0.31 | 31.12 | 13.93 | −0.55 | [31] |
| Slag R/C | 1.37 | 35.39 | 48.88 | 0.38 | |||
| Filler | 101 | 5.80 | 0.21 | 32.64 | 11.93 | −0.63 | |
| Filler R/C | 1.33 | 31.07 | 46.88 | 0.51 | |||
| 1 + 2 | 52 | 0.43 | 0.74 | 27.22 | 21.62 | −0.21 | [32] |
| 13 + 14 | 2.67 | 26.55 | 68.50 | 1.58 | |||
| 3 + 4 | 54 | 0.65 | 0.98 | 27.56 | 27.22 | −0.01 | |
| 25 | 2.83 | 32.51 | 77.60 | 1.39 | |||
| 7 + 8 | 47 | 0.71 | 0.45 | 10.32 | 5.77 | −0.44 | |
| 20 | 2.60 | 11.33 | 26.56 | 1.34 | |||
| 9 + 10 | 92 | 0.54 | 1.17 | 14.84 | 16.90 | 0.14 | |
| 27 | 2.27 | 16.40 | 33.74 | 1.06 | |||
| RC | 24 | 0.88 | 1.18 | 3.77 | 4.32 | 0.15 | [33] |
| SFRC | 0.58 | 2.51 | −0.33 | ||||
| RC/SFRC | 1.76 | 5.72 | 0.52 | ||||
| A | 48 | 0.00 | 2.08 | 54.09 | 100.90 | 0.87 | [34] |
| ASF50LD80 | 1.88 | 2.42 | 57.40 | 127.17 | 1.22 | ||
| ASF40LD65TF4 | 1.12 | 2.81 | 58.76 | 145.27 | 1.47 | ||
Publisher’s Note: MDPI stays neutral with regard to jurisdictional claims in published maps and institutional affiliations. |
© 2020 by the authors. Licensee MDPI, Basel, Switzerland. This article is an open access article distributed under the terms and conditions of the Creative Commons Attribution (CC BY) license (http://creativecommons.org/licenses/by/4.0/).
Share and Cite
Gorino, A.; Fantilli, A.P. Scaled Approach to Designing the Minimum Hybrid Reinforcement of Concrete Beams. Materials 2020, 13, 5166. https://doi.org/10.3390/ma13225166
Gorino A, Fantilli AP. Scaled Approach to Designing the Minimum Hybrid Reinforcement of Concrete Beams. Materials. 2020; 13(22):5166. https://doi.org/10.3390/ma13225166
Chicago/Turabian StyleGorino, Andrea, and Alessandro P. Fantilli. 2020. "Scaled Approach to Designing the Minimum Hybrid Reinforcement of Concrete Beams" Materials 13, no. 22: 5166. https://doi.org/10.3390/ma13225166
APA StyleGorino, A., & Fantilli, A. P. (2020). Scaled Approach to Designing the Minimum Hybrid Reinforcement of Concrete Beams. Materials, 13(22), 5166. https://doi.org/10.3390/ma13225166

