Experimental Investigation of Impact Concrete Slab on the Bending Behavior of Composite Bridge Girders with Sinusoidal Steel Web
Abstract
1. Introduction
2. Experimental Investigations
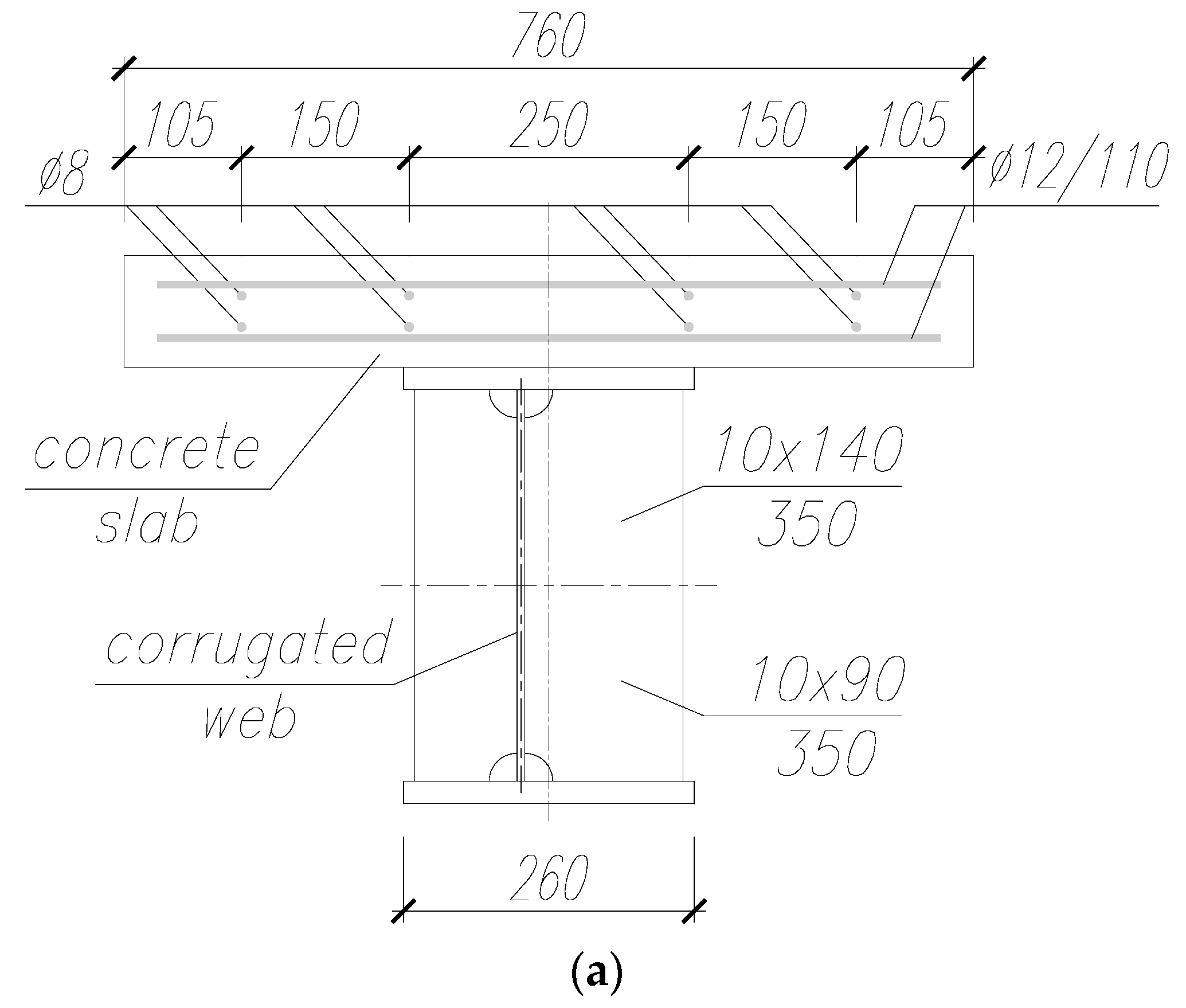
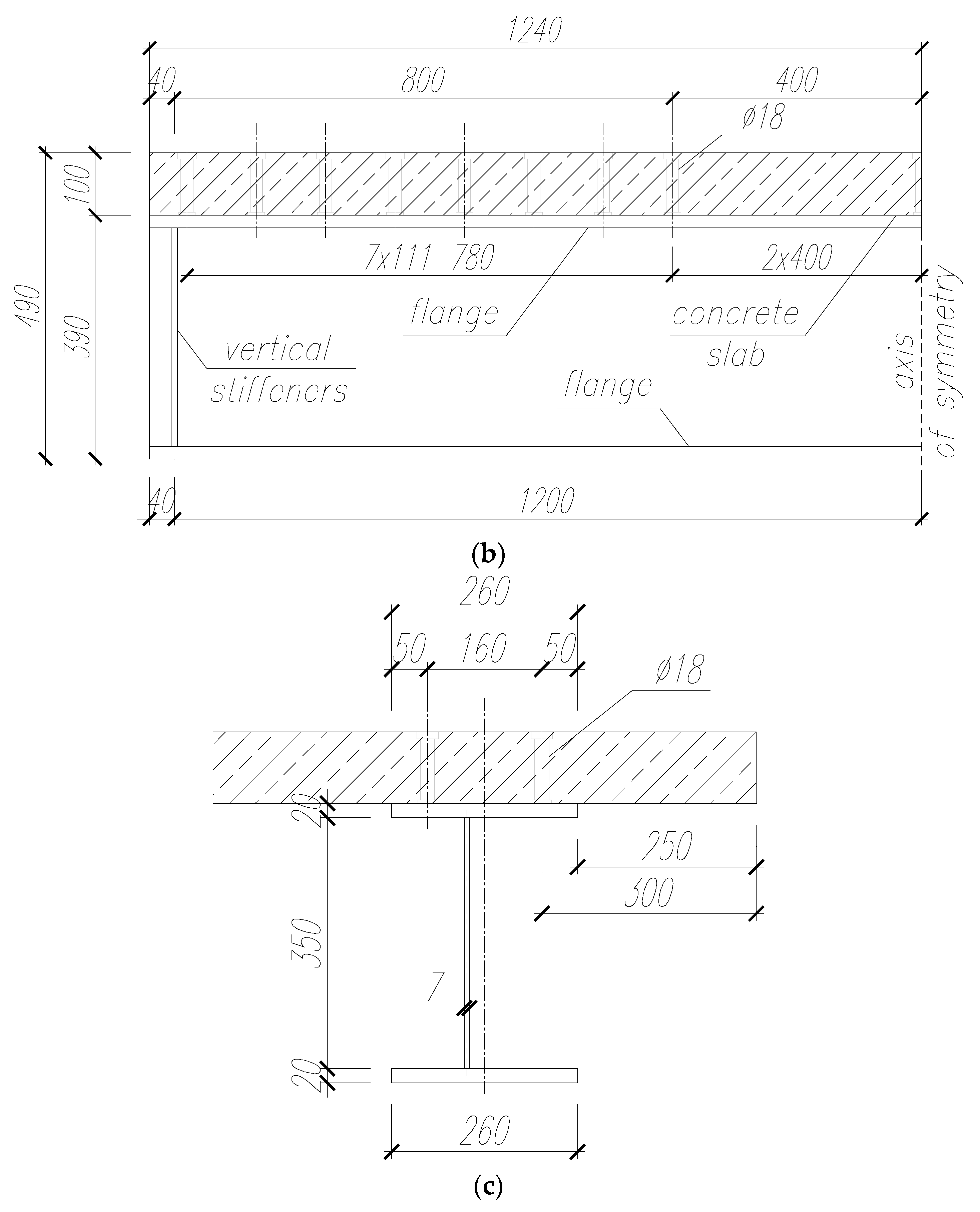
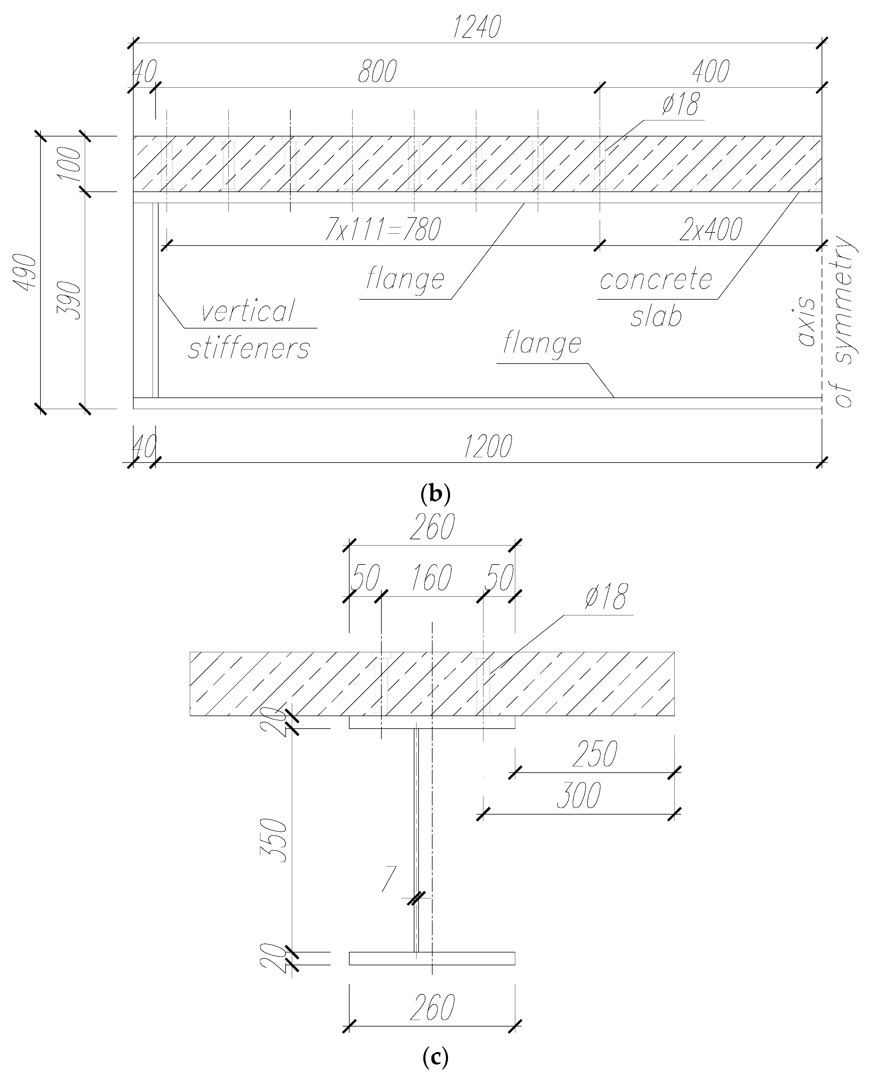
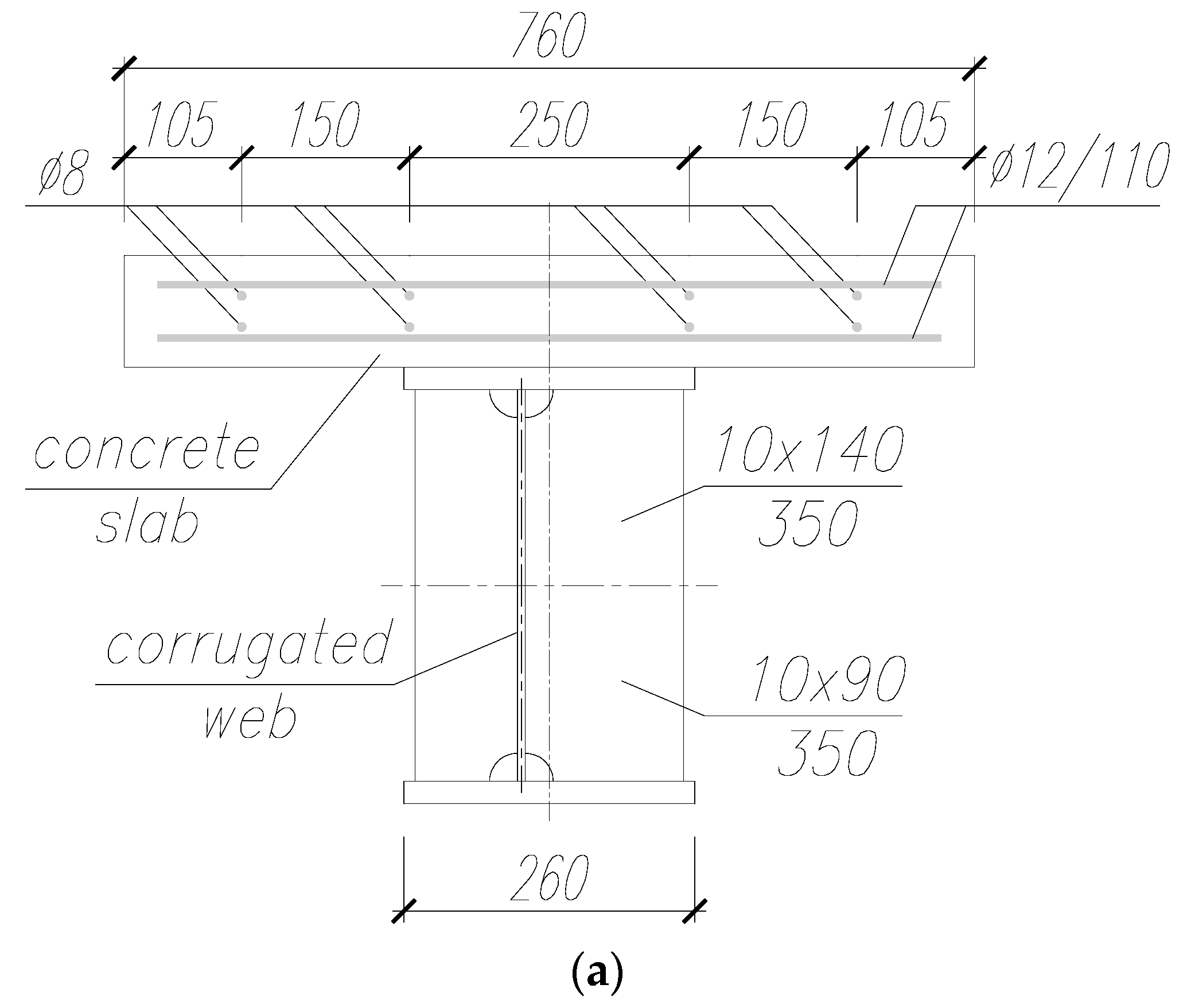
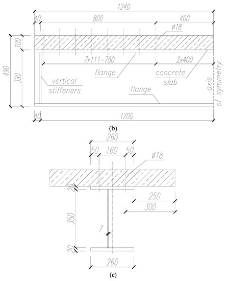
2.1. Properties of the Test Beam
2.2. Materials
2.3. Test Setup and Instrumentation
3. Experimental Results and Discussion
3.1. Load Bearing Capacity and Type of Failure
3.2. Load–Displacement Relationship
3.3. Results of Strain (Stress) Measurements
4. Concluding Remarks
- Steel–concrete composite beams with corrugated-web and non-composite corrugated-web steel beams showed similar forms of failure. For steel beams with corrugated webs attached to reinforced concrete slabs, the ultimate strength in the four-point bending test determined the ultimate strength of the entire system.
- For the elements tested, the increase in deflections in the elastic range is small, which is due to the stiffness of the whole system, while a rapid increase in deflections is noticeable during the beam operation in the range of appearance of plastic deformations in the corrugated web.
- The distribution of deformations changes significantly on a small area of the corrugated web plate on the scale of the whole element. Tensile strain occurred on one side of the web, while compressive strain was visible on the other side. Exceeding the yield strength did not cause immediate failure of the beam.
- The reinforced concrete slab was not able to increase the load area enough to avoid the stress concentration in the web at contact with the flange, causing high deformation values. As a consequence, the bending moment is transmitted mainly through the flanges and the shear stress through the web.
Author Contributions
Funding
Conflicts of Interest
References
- Śledziewski, K. Experimental and numerical studies of continuous composite beams taking into consideration slab cracking. Eksploatacja Niezawodność 2016, 18, 578–589. [Google Scholar] [CrossRef]
- Hasan, Q.A.; Wan Badaruzzaman, W.H.; Al-Zand, A.W.; Mutalib, A.A. The state of the art of steel and steel concrete composite straight plate girder bridges. Thin-Walled Struct. 2017, 119, 988–1020. [Google Scholar] [CrossRef]
- Gautam, B.G.; Xiang, Y.; Liao, X.; Qiu, Z.; Guo, S. Experimental Investigation of a Slip in High-Performance Steel-Concrete Small Box Girder with Different Combinations of Group Studs. Materials 2019, 12, 2781. [Google Scholar] [CrossRef] [PubMed]
- Kopp, M.; Wolters, K.; Claßen, M.; Hegger, J.; Gündel, M.; Gallwoszus, J.; Heinemeyer, S.; Feldmann, M. Composite dowels as shear connectors for composite beams—Background to the sdesign concept for static loading. J. Constr. Steel Res. 2018, 147, 488–503. [Google Scholar] [CrossRef]
- Wang, S.; He, J.; Liu, Y.; Li, C.; Xin, H. Shear capacity of a novel joint between corrugated steel web and concrete lower slab. Constr. Build. Mater. 2018, 163, 360–375. [Google Scholar] [CrossRef]
- Chen, J.; Wang, W.; Ding, F.-X.; Xiang, P.; Yu, Y.-J.; Liu, X.-M.; Xu, F.; Yang, C.-Q.; Long, S.-G. Behavior of an Advanced Bolted Shear Connector in Prefabricated Steel-Concrete Composite Beams. Materials 2019, 12, 2958. [Google Scholar] [CrossRef]
- Zheng, S.; Liu, Y.; Liu, Y.; Zhao, C. Experimental and numerical study on shear resistance of notched perfobond shear connector. Materials 2019, 12, 341. [Google Scholar] [CrossRef]
- Chen, Y.; Dong, J.; Xu, T. Composite box girder with corrugated steel webs and trusses—A new type of bridge structure. Eng. Struct. 2018, 166, 354–362. [Google Scholar] [CrossRef]
- Sayed-Ahmed, E.Y. Plate girders with corrugated steel webs. Eng. J. 2005, 42, 1–13. [Google Scholar]
- He, J.; Liu, Y.; Chen, A.; Yoda, T. Mechanical behavior and analysis of composite bridges with corrugated steel webs: State-of-the-art. Int. J. Steel Struct. 2012, 12, 321–338. [Google Scholar] [CrossRef]
- Sayed-Ahmed, E.Y. Behaviour of steel and (or) composite girders with corrugated steel webs. Can. J. Civ. Eng. 2001, 28, 656–672. [Google Scholar] [CrossRef]
- Karakoti, A.; Kar, V.R. Deformation characteristics of sinusoidally-corrugated laminated composite panel—A higher-order finite element approach. Compos. Struct. 2019, 216, 151–158. [Google Scholar] [CrossRef]
- Pasternak, H.; Kubieniec, G. Plate girders with corrugated webs. J. Civ. Eng. Manag. 2010, 16, 166–171. [Google Scholar] [CrossRef]
- Driver, R.G.; Abbas, H.H.; Sause, R. Shear Behavior of Corrugated Web Bridge Girders. J. Struct. Eng. 2006, 132, 195–203. [Google Scholar] [CrossRef]
- Sause, R.; Braxtan, T.N. Shear strength of trapezoidal corrugated steel webs. J. Constr. Steel Res. 2011, 67, 223–236. [Google Scholar] [CrossRef]
- Nie, J.-G.; Zhu, L.; Tao, M.-X.; Tang, L. Shear strength of trapezoidal corrugated steel webs. J. Constr. Steel Res. 2013, 85, 105–115. [Google Scholar] [CrossRef]
- Elgaaly, M.; Seshadri, A.; Hamilton, R.W. Bending Strength of Steel Beams with Corrugated Webs. J. Struct. Eng. 1997, 123, 772–782. [Google Scholar] [CrossRef]
- Sayed-Ahmed, E.Y. Design aspects of steel I-girders with corrugated steel webs. Electron. J. Struct. Eng. 2007, 7, 27–40. [Google Scholar]
- Abbas, H.H.; Sause, R.; Driver, R.G. Behavior of corrugated web I-girders under in-plane loads. J. Eng. Mech. 2006, 132, 806–814. [Google Scholar] [CrossRef]
- Easley, J.T. Buckling formulas for corrugated metal shear diaphragms. J. Struct. Div. ASCE 1975, 101, 1403–1417. [Google Scholar]
- Elgaaly, B.M.; Hamilton, R.W.; Seshadri, A. Shear strength of beams with corrugated webs. J. Struct. Eng. 1996, 122, 390–398. [Google Scholar] [CrossRef]
- Elkawas, A.A.; Hassanein, M.F.; Elchalakani, M. Lateral-torsional buckling strength and behaviour of high-strength steel corrugated web girders for bridge construction. Thin-Walled Struct. 2018, 122, 112–123. [Google Scholar] [CrossRef]
- Moon, J.; Yi, J.; Choi, B.H.; Lee, H.E. Shear strength and design of trapezoidally corrugated steel webs. J. Constr. Steel Res. 2009, 65, 1198–1205. [Google Scholar] [CrossRef]
- Leblouba, M.; Junaid, M.T.; Barakat, S.; Altoubat, S.; Maalej, M. Shear buckling and stress distribution in trapezoidal web corrugated steel beams. Thin-Walled Struct. 2017, 113, 13–26. [Google Scholar] [CrossRef]
- Luo, R.; Edlund, B. Shear capacity of plate girders with trapezoidally corrugated webs. Thin-Walled Struct. 1996, 26, 19–44. [Google Scholar] [CrossRef]
- Leblouba, M.; Barakat, S.; Altoubat, S.; Junaid, T.M.; Maalej, M. Normalized shear strength of trapezoidal corrugated steel webs. J. Constr. Steel Res. 2017, 136, 75–90. [Google Scholar] [CrossRef]
- Ibrahim, S.A.; El-Dakhakhni, W.W.; Elgaaly, M. Behavior of bridge girders with corrugated webs under monotonic and cyclic loading. Eng. Struct. 2006, 28, 1941–1955. [Google Scholar] [CrossRef]
- Hassanein, M.F.; Kharoob, O.F. Behavior of bridge girders with corrugated webs: (I) Real boundary condition at the juncture of the web and flanges. Eng. Struct. 2013, 57, 554–564. [Google Scholar] [CrossRef]
- Chan, C.L.; Khalid, Y.A.; Sahari, B.B.; Hamouda, A.M.S. Finite element analysis of corrugated web beams under bending. J. Constr. Steel Res. 2002, 58, 1391–1406. [Google Scholar] [CrossRef]
- Pasternak, H. Girders with sinusoidally corrugated webs—Load carrying capacity and stability. In Proceedings of the Annual Stability Conference, Structural Stability Research Council, Long Beach, CA, USA, 24–27 March 2004; pp. 353–366. [Google Scholar]
- Queiroz, G.; Gonzaga, L.G.D.M.; Fakury, R.H.; Rodrigues, F.C.; Pimenta, R.J. Lateral-torsional buckling of sinusoidally-corrugated web beams. In Proceedings of the International Colloquium on Stability and Ductility of Steel Structures, Lisbon, Portugal, 6–8 September 2006; pp. 561–567. [Google Scholar]
- Guo, Y.L.; Chen, H.; Pi, Y.L.; Bradford, M.A. In-plane strength of steel arches with a sinusoidal corrugated web under a full-span uniform vertical load: Experimental and numerical investigations. Eng. Struct. 2016, 110, 105–115. [Google Scholar] [CrossRef]
- de Oliveira, J.P.S.; Calenzani, A.F.G.; Fakury, R.H.; Ferreira, W.G. Elastic critical moment of continuous composite beams with a sinusoidal-web steel profile for lateral-torsional buckling. Eng. Struct. 2016, 113, 121–132. [Google Scholar] [CrossRef]
- Zhang, Z.; Pei, S.; Qu, B. Cantilever welded wide-flange beams with sinusoidal corrugations in webs: Full-scale tests and design implications. Eng. Struct. 2017, 144, 163–173. [Google Scholar] [CrossRef]
- Kuchta, K. Zum Einfluß der Interaktion von Biegemoment und Querkraft auf das Tragverhalten von Wellstegträgern. Stahlbau 2006, 75, 573–577. [Google Scholar] [CrossRef]
- Pimenta, R.J.; Diniz, S.M.C.; Queiroz, G.; Fakury, R.H.; Galvão, A.; Rodrigues, F.C. Reliability-based design recommendations for composite corrugated-web beams. Probabilistic Eng. Mech. 2012, 28, 185–193. [Google Scholar] [CrossRef]
- Górecki, M.; Pieńko, M.; Łagoda, G. Numerical analysis of beam with sinusoidally corrugated webs. In Proceedings of the AIP Conference Proceedings; AIP Publishing: New York, NY, USA, 2018; pp. 150009-1–150009-10. [Google Scholar]
- Ibrahim, B.S.A. Steel Plate Girders with Corrugated Webs, Past Present and Future Steel Plate Girders with Corrugated; Ain Shams University: Cairo, Egypt, 2015. [Google Scholar]
- Corrugated Web Beam Technical documentation; NZ Steel: Ankara, Turkiye, 2008.
- Johnson, R.P. Composite Structures of Steel and Concrete; Wiley: New York, NY, USA, 2004; ISBN 9781405100359. [Google Scholar]
- Górecki, M.; Łagoda, G.; Marek, Ł. Dźwigary mostowe ze środnikami z blach falistych w świetle badań eksperymentalnych. Zeszyty Naukowe Politechniki Rzeszowskiej. Budownictwo Inżynieria Środowiska 2012, 59, 403–410. [Google Scholar]
- EN 1992-1-1. Eurocode 2: Design of Concrete Structures. Part 1-1: General Rules and Rules for Buildings; CEN: Brussels, Belgium, 2004. [Google Scholar]
- EN 1994-2. Eurocode 4: Design of Composite Steel and Concrete Structures—Part 2: General Rules and Rules for Bridges; CEN: Brussels, Belgium, 2005. [Google Scholar]













| Steel Grade | Yield Point [MPa] | Average Tensile Strength [MPa] | Elongation to Failure [%] | Young’s Modulus [MPa] | |
|---|---|---|---|---|---|
| Longitudinal | Transverse | ||||
| Profile Steel | 434 | 512 | 27.2 | 2.02 × 105 | 0.78 × 105 |
| Reinforcement Steel | 410 | 550 | 40.1 | 2.10 × 105 | - |
| Measure Points | Load-Unload Cycle [kN] | ||||||||
|---|---|---|---|---|---|---|---|---|---|
| 0 | 300 | 0 | 800 | 0 | 1400 | 0 | 1600 | 0 | |
| C1a | 0.00 | 1.41 | 0.19 | 3.74 | 1.36 | 8.43 | 2.63 | 15.58 | 11.94 |
| C1 | 0.00 | 1.68 | 0.29 | 4.16 | 1.60 | 9.01 | 2.90 | 15.74 | 11.76 |
| C1b | 0.00 | 1.94 | 0.40 | 4.58 | 1.83 | 9.59 | 3.16 | 15.89 | 11.58 |
| C2 | 0.00 | 2.02 | 0.30 | 5.01 | 1.71 | 10.11 | 3.28 | 18.68 | 13.90 |
| C3a | 0.00 | 1.62 | 0.21 | 4.08 | 1.35 | 9.16 | 2.94 | 18.18 | 14.66 |
| C3 | 0.00 | 1.93 | 0.33 | 4.58 | 1.67 | 9.87 | 3.32 | 19.10 | 15.18 |
| C3b | 0.00 | 2.25 | 0.46 | 5.08 | 1.99 | 10.57 | 3.69 | 20.02 | 15.96 |
| Measure Points | Load-Unload Cycle [kN] | ||||||
|---|---|---|---|---|---|---|---|
| 0 | 300 | 0 | 800 | 0 | 1400 | 0 | |
| C1 | 0.00 | 2.65 | -- | 5.85 | 2.17 | 13.63 | 6.74 |
| C2 | 0.00 | 3.02 | -- | 6.55 | 2.49 | 14.70 | 7.06 |
| C3 | 0.00 | 2.98 | -- | 6.18 | 2.56 | 14.11 | 7.09 |
| Measure Points | Load-Unload Cycle [kN] | ||||||
|---|---|---|---|---|---|---|---|
| 0 | 300 | 0 | 800 | 0 | 1400 | 0 | |
| C1 | 0.00 | 3.14 | 0.73 | 6.03 | 2.91 | 12.46 | 7.92 |
| C2 | 0.00 | 3.10 | 0.64 | 8.31 | 2.42 | 13.22 | 7.40 |
| C3 | 0.00 | 3.10 | 0.76 | 6.20 | 2.44 | 12.43 | 7.43 |
| Load [kN] | Measurement Points | ||||||||
|---|---|---|---|---|---|---|---|---|---|
| X | Z | Q | W | ||||||
| 9 | 4 | 7 | 2 | 5 | 8 | 1 | 3 | 6 | |
| 1400 | -- | −0.07 | −2.71 | −1.11 | −0.75 | −0.56 | 0.54 | 1.20 | 0.36 |
| 1611.27 | -- | −0.24 | −4.87 | −2.06 | −8.96 | −0.83 | 1.10 | 1.76 | 0.62 |
| Load [kN] | Measurement Points | ||||||||
|---|---|---|---|---|---|---|---|---|---|
| X | Z | Q | W | ||||||
| 18 | 13 | 16 | 11 | 14 | 17 | 10 | 12 | 15 | |
| 1400 | 0.23 | −0.14 | −1.36 | −1.69 | −1.51 | −0.86 | 0.90 | 1.99 | −0.27 |
| 1611.27 | 0.64 | 0.33 | −2.59 | −7.18 | −4.24 | −1.75 | 2.85 | 8.34 | 0.03 |
© 2020 by the authors. Licensee MDPI, Basel, Switzerland. This article is an open access article distributed under the terms and conditions of the Creative Commons Attribution (CC BY) license (http://creativecommons.org/licenses/by/4.0/).
Share and Cite
Górecki, M.; Śledziewski, K. Experimental Investigation of Impact Concrete Slab on the Bending Behavior of Composite Bridge Girders with Sinusoidal Steel Web. Materials 2020, 13, 273. https://doi.org/10.3390/ma13020273
Górecki M, Śledziewski K. Experimental Investigation of Impact Concrete Slab on the Bending Behavior of Composite Bridge Girders with Sinusoidal Steel Web. Materials. 2020; 13(2):273. https://doi.org/10.3390/ma13020273
Chicago/Turabian StyleGórecki, Marcin, and Krzysztof Śledziewski. 2020. "Experimental Investigation of Impact Concrete Slab on the Bending Behavior of Composite Bridge Girders with Sinusoidal Steel Web" Materials 13, no. 2: 273. https://doi.org/10.3390/ma13020273
APA StyleGórecki, M., & Śledziewski, K. (2020). Experimental Investigation of Impact Concrete Slab on the Bending Behavior of Composite Bridge Girders with Sinusoidal Steel Web. Materials, 13(2), 273. https://doi.org/10.3390/ma13020273

