A Cable Partial Discharge Localization Method Based on Complete Ensemble Empirical Mode Decomposition with Adaptive Noise–Multiscale Permutation Entropy–Improved Wavelet Thresholding Denoising and Cross-Correlation Coefficient Filtering
Abstract
1. Introduction
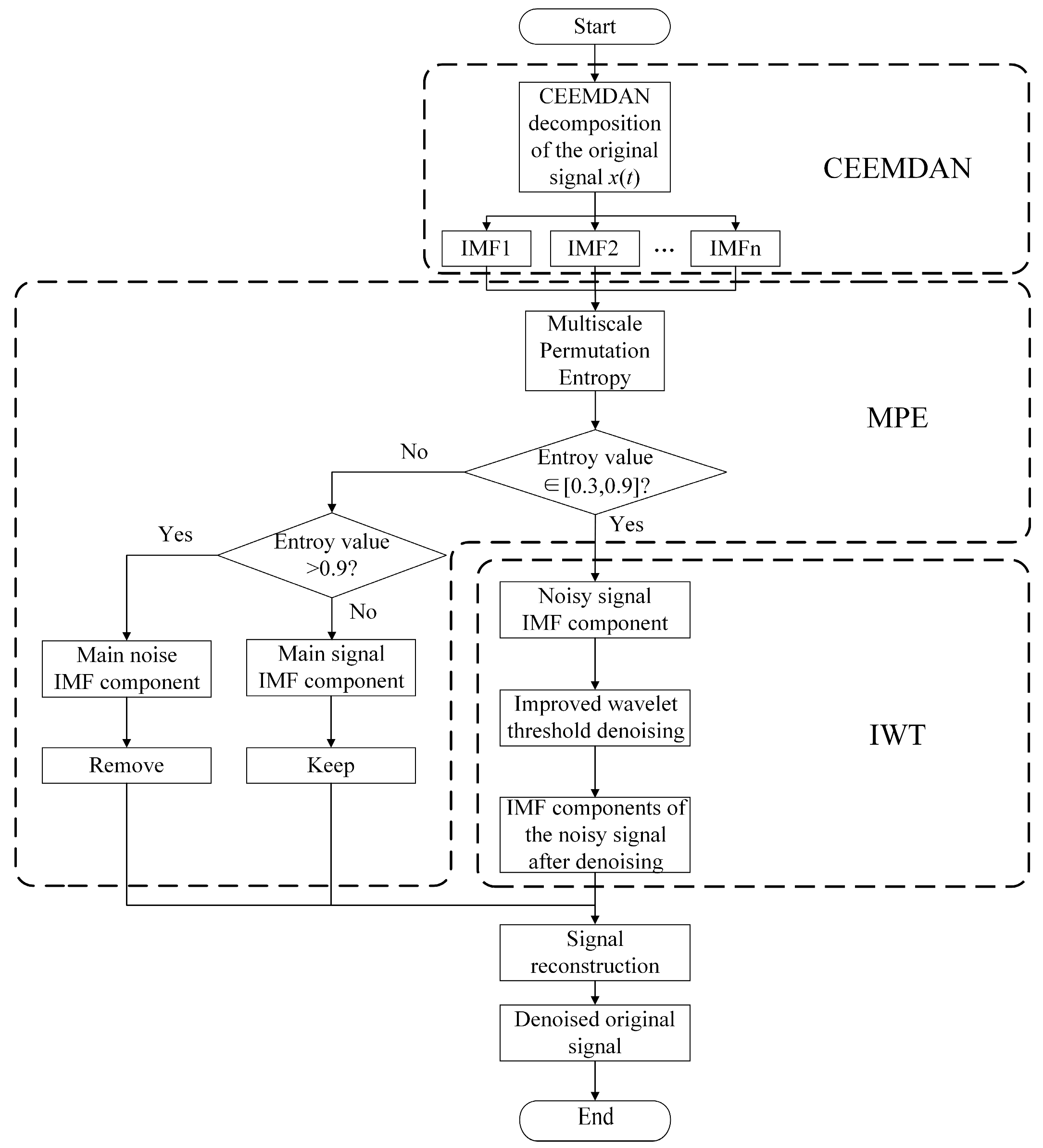
2. PD Signal Denoising Based on CEEMDAN-MPE-IWT
2.1. Denoising Algorithm Procedure
2.1.1. Decomposition of PD Signals Based on the CEEMDAN Algorithm
2.1.2. Selection of Noisy IMFs Based on the MPE Algorithm
2.1.3. Denoising of Noisy PD Signal IMFs Based on IWT
2.2. Effectiveness Verification of the Denoising Algorithm
3. Cable PD Localization Based on GCC Algorithm
3.1. Localization Algorithm Procedure
3.2. PD First Wave Detection Based on the TEO
3.3. Data Screening Based on CC Coefficient
3.4. Wave Velocity Determination Based on PD Signal Frequency–Wave Velocity Curve
3.5. Double-Ended Localization Method for Cable PD Based on GCC
3.6. PD Source Localization Using K-Means Clustering Algorithm
4. Experimental Study of the Dual-Ended Cable PD Signal Localization
4.1. Experimental Platform
4.2. Experimental Results Analysis
5. Conclusions and Outlook
- (1)
- Based on the CEEMDAN algorithm, an IWT function was introduced for PD signal denoising. Compared with traditional denoising algorithms, the proposed method demonstrates superior performance in terms of SNR, RMSE, and NCC, thereby validating its effectiveness.
- (2)
- A cable PD localization scheme was designed. During signal preprocessing, the TEO was employed to extract the first pulse waveform of the PD signal. Subsequently, signals with low correlation were removed by calculating the CC coefficient of the signals at both cable ends, and an effective time window was cropped. This approach effectively eliminated information irrelevant to the main discharge pulse, thereby significantly reducing the computational load of the CC algorithm and improving localization efficiency.
- (3)
- A cable PD experimental platform was established to verify the proposed algorithm. Experimental results demonstrate that the proposed approach achieves a relative localization error of less than 3%, indicating high localization accuracy and strong potential for engineering applications.
- (4)
- In the future, the algorithm proposed in this paper will be further applied and validated in real engineering environments. Through field implementation and practical operation, its performance, stability, and reliability can be comprehensively evaluated, thereby providing effective solutions to practical engineering problems.
Author Contributions
Funding
Data Availability Statement
Conflicts of Interest
Abbreviations
| CEEMDAN | Complete Ensemble Empirical Mode Decomposition with Adaptive Noise |
| MPE | Multiscale Permutation Entropy |
| IWT | Improved Wavelet Threshold |
| PD | Partial Discharge |
| SNR | Signal-to-Noise Ratio |
| RMSE | Root Mean Square Error |
| NCC | Normalized Cross-Correlation |
| CC | Cross-correlation |
| GCC | Generalized Cross-Correlation |
| PHAT | Phase Transform |
| AI | Artificial Intelligence |
| SVMs | Support Vector Machines |
| CNNs | Convolutional Neural Networks |
| ML | Machine Learning |
| FFT | Fast Fourier Transform |
References
- Govindarajan, S.; Morales, A.; Ardila-Rey, J.A.; Purushothaman, N. A review on partial discharge diagnosis in cables: Theory, techniques, and trends. Measurement 2023, 216, 112882. [Google Scholar] [CrossRef]
- Yii, C.C.; Rohani, M.; Isa, M.; Hassan, S.I.S. Multi-end PD location algorithm using segmented correlation and trimmed mean data filtering techniques for MV Underground Cable. IEEE Trans. Dielectr. Electr. Insul. 2017, 24, 92–98. [Google Scholar] [CrossRef]
- Hussain, M.R.; Refaat, S.S.; Abu-Rub, H. Overview and partial discharge analysis of power transformers: A literature review. IEEE Access 2021, 9, 64587–64605. [Google Scholar] [CrossRef]
- Thuc, V.C.; Lee, H.S. Partial discharge (PD) signal detection and isolation on high voltage equipment using improved complete EEMD method. Energies 2022, 15, 5819. [Google Scholar] [CrossRef]
- Xavier, G.V.R.; Coelho, R.A.; Silva, H.S.; Serres, A.J.; da Costa, E.G.; Oliveira, A.S. Partial discharge location through application of stationary discrete wavelet transform on UHF signals. IEEE Sens. J. 2021, 21, 24644–24652. [Google Scholar] [CrossRef]
- Fern, C.K.; Yii, C.C.; Bakar, A.A.; Saad, I.; Kin, K.T.T.; Hasnan, M.M.I.M.; Mohamad, N.A. Fault localization on power cables using time delay estimation of partial discharge signals. Int. J. Electr. Comput. Eng. 2023, 13, 6000–6015. [Google Scholar] [CrossRef]
- Wang, J.; Wu, K.; Sim, A.; Hwangbo, S. Locating partial discharges in power transformers with convolutional iterative filtering. Sensors 2023, 23, 1789. [Google Scholar] [CrossRef]
- Liu, W.; Li, M.; Wang, T.; Jin, M.; Fang, Q. Research on Time Delay Estimation Method of Partial Discharges Signal with Improved Weighted Function. Electronics 2023, 12, 4196. [Google Scholar] [CrossRef]
- Guo, N.; Feng, Z.; Chen, D. PD location and interference suppression method of power cable based on cross-correlation. Int. J. High Speed Electron. Syst. 2025, 2540315. [Google Scholar] [CrossRef]
- Rao, X.; Zhou, K.; Li, Y.; Zhu, G.; Meng, P. A new cross-correlation algorithm based on distance for improving localization accuracy of partial discharge in cables lines. Energies 2020, 13, 4549. [Google Scholar] [CrossRef]
- Qiang, H.; Wang, Q.; Niu, H.; Wang, Z.; Zheng, J. A partial discharge localization method based on the improved artificial fish swarms algorithm. Energies 2023, 16, 2928. [Google Scholar] [CrossRef]
- Chan, J.Q.; Raymond, W.J.K.; Illias, H.A.; Othman, M. Partial Discharge Localization Techniques: A Review of Recent Progress. Energies 2023, 16, 2863. [Google Scholar] [CrossRef]
- Khodaveisi, F.; Karami, H.; Zarei Karimpour, M.; Rubinstein, M.; Rachidi, F. Partial Discharge Localization in Power Transformer Tanks Using Machine Learning Methods. Sci. Rep. 2024, 14, 11785. [Google Scholar] [CrossRef] [PubMed]
- Li, K.; Huang, D.; Li, P.; Tang, D. ECG Signal Denoising Method Based on CEEMDAN Algorithm and Strong Adaptive Wavelet Threshold. In Proceedings of the 2024 IEEE 8th International Conference on Vision, Image and Signal Processing (ICVISP), Kunming, China, 27–29 December 2024; IEEE: New York, NY, USA, 2024; pp. 1–12. [Google Scholar]
- Li, Z.; Xu, H.; Jiang, B.; Han, F. Wavelet threshold ultrasound echo signal denoising algorithm based on CEEMDAN. Electronics 2023, 12, 3026. [Google Scholar] [CrossRef]
- Bandt, C.; Pompe, B. Permutation entropy: A natural complexity measure for time series. Phys. Rev. Lett. 2002, 88, 174102. [Google Scholar] [CrossRef]
- Chen, Z.; Li, Y.; Liang, H.; Yu, J. Improved permutation entropy for measuring complexity of time series under noisy condition. Complexity 2019, 2019, 1403829. [Google Scholar] [CrossRef]
- Zhang, X.; Wang, H.; Ren, M.; He, M.; Jin, L. Rolling bearing fault diagnosis based on multiscale permutation entropy and SOA-SVM. Machines 2022, 10, 485. [Google Scholar] [CrossRef]
- Kang, Y.; Yao, Y.; Dong, R.; Jia, Y.-S.; Xie, Q.-M.; Wang, J.-N. Improved complete ensemble empirical mode decomposition with adaptive noise and composite multiscale permutation entropy for denoising blast vibration signal. Heliyon 2024, 10, e37339. [Google Scholar] [CrossRef]
- Donoho, D.L.; Johnstone, I.M. Adapting to unknown smoothness via wavelet shrinkage. J. Am. Stat. Assoc. 1995, 90, 1200–1224. [Google Scholar] [CrossRef]
- Li, H.; Shi, J.; Li, L.; Tuo, X.; Qu, K.; Rong, W. Novel wavelet threshold denoising method to highlight the first break of noisy microseismic recordings. IEEE Trans. Geosci. Remote Sens. 2022, 60, 5910110. [Google Scholar] [CrossRef]
- Hu, H.; Ao, Y.; Yan, H.; Bai, Y.; Shi, N. Signal denoising based on wavelet threshold denoising and optimized variational mode decomposition. J. Sens. 2021, 2021, 5599096. [Google Scholar]
- Wang, Y.; Xu, C.; Wang, Y.; Cheng, X. A comprehensive diagnosis method of rolling bearing fault based on CEEMDAN-DFA-improved wavelet threshold function and QPSO-MPE-SVM. Entropy 2021, 23, 1142. [Google Scholar] [CrossRef] [PubMed]
- Cao, W.; Zhang, F.; Chen, X.; Zhang, B.; Li, J.; Xu, M. A Study on Fault Localization Method of Three-Terminal Multi-Section Overhead Line–Cable Hybrid Line Using MEEMD Combined with Teager Energy Operator Algorithm. Processes 2024, 12, 1360. [Google Scholar] [CrossRef]
- Pang, Z.; Wang, G.; Wang, B.; Wang, L. Comparison between time shifting deviation and cross-correlation methods. J. Light. Technol. 2022, 40, 3003–3009. [Google Scholar] [CrossRef]
- Wang, X.; Li, J. Cable External Breakage Source Localization Method Based on Improved Generalized Cross-Correlation Phase Transform with Multi-Sensor Fusion. Energies 2025, 18, 2628. [Google Scholar] [CrossRef]
- Ikotun, A.M.; Ezugwu, A.E.; Abualigah, L.; Abuhaija, B.; Heming, J. K-means clustering algorithms: A comprehensive review, variants analysis, and advances in the era of big data. Inf. Sci. 2023, 622, 178–210. [Google Scholar]














| Denoising Method | SNR | RMSE | NCC |
|---|---|---|---|
| CEEMDAN + MPE + IWT | 6.58 | 6.63 × 10−5 | 0.86 |
| EMD + Wavelet Soft Thresholding | 6.01 | 7.8 × 10−5 | 0.78 |
| CEEMDAN + Wavelet Soft Thresholding | 5.96 | 6.94 × 10−5 | 0.74 |
| CEEMDAN + Wavelet Hard Thresholding | 5.28 | 6.87 × 10−5 | 0.68 |
| CC Coefficient Threshold | Relative Error/% |
|---|---|
| 0.25 | 7.56 |
| 0.3 | 1.49 |
| 0.35 | 1.49 |
| 0.4 | 1.49 |
| Method | Step | Computational Complexity | Memory Requirements/KB | Computation Time/s |
|---|---|---|---|---|
| traditional method | Denoising | 12,276,000 | 69,591 | 30 |
| GCC | 12,276 | 5427 | 15 | |
| K-means | 1500 | 1.55 | 2 | |
| proposed method | Denoising | 12,276,000 | 69,591 | 30 |
| GCC | 2469 | 2170 | 10 | |
| K-means | 1500 | 1.55 | 2 |
| Signal Frequency Band/MHz | Relative Error/% |
|---|---|
| 1–30 | 8.76% |
| 3–30 | 0.43% |
| 5–30 | 0.44% |
| Test | SNR/dB | Localization Result/m | Relative Error/% | Standard Deviation/m | Median Error/m |
|---|---|---|---|---|---|
| Cable Length 101.3 m, PD Source Location 11.3 m (surface discharge) | 3.85 | 10.86 | 0.43% | 3.92 | 2.11 |
| Cable Length 27.1 m, PD Source Location 1.5 m (surface discharge) | 2.69 | 1.31 | 0.7% | 2.37 | 2.59 |
| Cable Length 52 m, PD Source Location 14 m (surface discharge) | 3.64 | 14.51 | 0.98% | 3.34 | 1 |
| Cable Length 22.2 m, PD Source Location 10.5 m (tip discharge) | 14.85 | 11.1 | 2.7% | 0.05134 | 0.6 |
| Cable Length 22.2 m, PD Source Location 10.5 m (tip discharge) | 11.49 | 11.1 | 2.7% | 0 | 0.6 |
| Test | Method | Localization Result/m | Relative Error/% | Computation Time/s |
|---|---|---|---|---|
| Cable Length 101.3 m PD Source Location 11.3 m | simple peak picking | 19.68 | 8.27% | 25 |
| energy accumulation | 23.45 | 11.99% | 30 | |
| GCC | 13.78 | 2.45% | 40 | |
| proposed method | 10.86 | 0.43% | 32 | |
| Cable Length 27.1 m PD Source Location 1.5 m | simple peak picking | 3.67 | 8% | 22 |
| energy accumulation | 4.43 | 10.81% | 23 | |
| GCC | 2.36 | 3.17% | 25 | |
| proposed method | 1.31 | 0.7% | 22 | |
| Cable Length 52 m PD Source Location 14 m | simple peak picking | 18.8 | 9.23% | 23 |
| energy accumulation | 17.5 | 6.73% | 26 | |
| GCC | 14.96 | 1.85% | 25 | |
| proposed method | 14.51 | 0.98% | 24 |
Disclaimer/Publisher’s Note: The statements, opinions and data contained in all publications are solely those of the individual author(s) and contributor(s) and not of MDPI and/or the editor(s). MDPI and/or the editor(s) disclaim responsibility for any injury to people or property resulting from any ideas, methods, instructions or products referred to in the content. |
© 2025 by the authors. Licensee MDPI, Basel, Switzerland. This article is an open access article distributed under the terms and conditions of the Creative Commons Attribution (CC BY) license (https://creativecommons.org/licenses/by/4.0/).
Share and Cite
Zhu, T.; Lin, Y.; Tian, H.; Yan, Y. A Cable Partial Discharge Localization Method Based on Complete Ensemble Empirical Mode Decomposition with Adaptive Noise–Multiscale Permutation Entropy–Improved Wavelet Thresholding Denoising and Cross-Correlation Coefficient Filtering. Energies 2025, 18, 5511. https://doi.org/10.3390/en18205511
Zhu T, Lin Y, Tian H, Yan Y. A Cable Partial Discharge Localization Method Based on Complete Ensemble Empirical Mode Decomposition with Adaptive Noise–Multiscale Permutation Entropy–Improved Wavelet Thresholding Denoising and Cross-Correlation Coefficient Filtering. Energies. 2025; 18(20):5511. https://doi.org/10.3390/en18205511
Chicago/Turabian StyleZhu, Ting, Yuchen Lin, Hong Tian, and Youxiang Yan. 2025. "A Cable Partial Discharge Localization Method Based on Complete Ensemble Empirical Mode Decomposition with Adaptive Noise–Multiscale Permutation Entropy–Improved Wavelet Thresholding Denoising and Cross-Correlation Coefficient Filtering" Energies 18, no. 20: 5511. https://doi.org/10.3390/en18205511
APA StyleZhu, T., Lin, Y., Tian, H., & Yan, Y. (2025). A Cable Partial Discharge Localization Method Based on Complete Ensemble Empirical Mode Decomposition with Adaptive Noise–Multiscale Permutation Entropy–Improved Wavelet Thresholding Denoising and Cross-Correlation Coefficient Filtering. Energies, 18(20), 5511. https://doi.org/10.3390/en18205511
