Evaluating the Opportunities and Challenges of Domestic PV Installation in Saudi Arabia Based on Field Deployment in Jeddah
Abstract
1. Introduction
1.1. Context of Emissions Reductions
1.2. Potential for PV Power Generation in Saudi Arabia
1.3. Rationale for Rooftop-Mounted PVs
1.4. Growth of Rooftop PVs in a Global Context
1.5. Grid Readiness for Rooftop PV Integration
1.6. Building Energy Efficiency, Thermal Comfort, and Cooling Load Reductions
1.7. Scope and Objectives of This Study
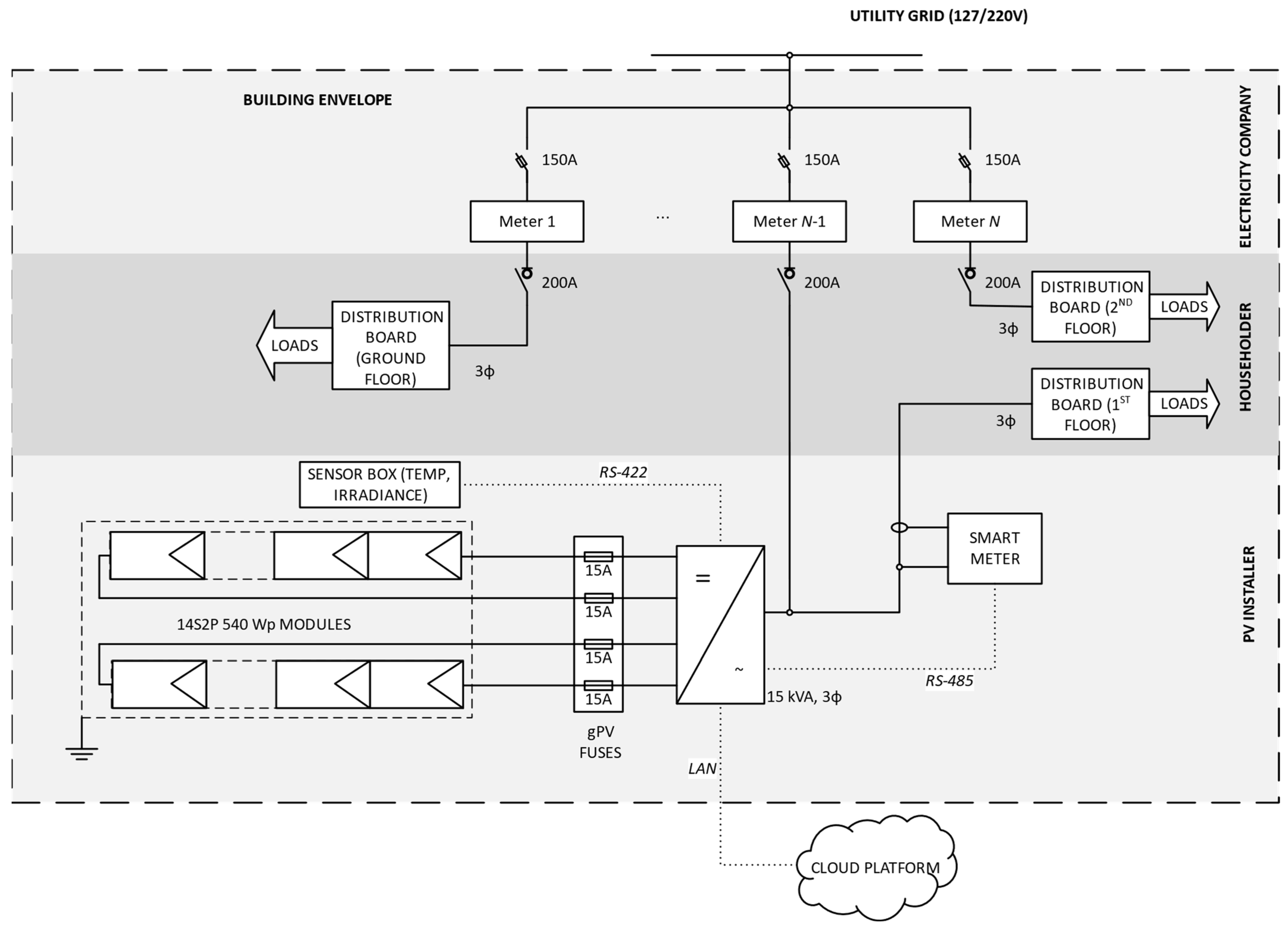
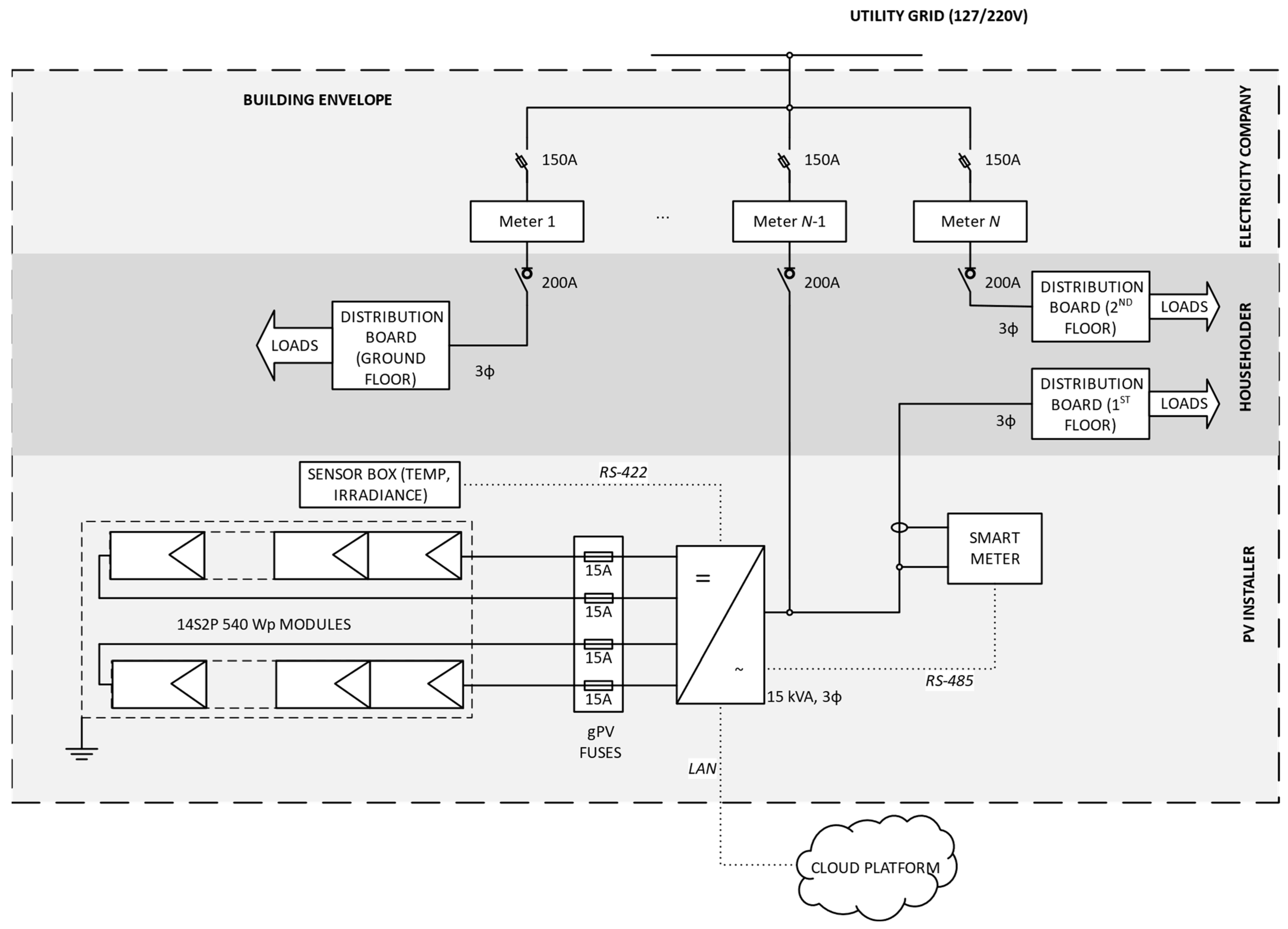
2. Materials and Methods
- Electricity usage data collection from Villa 1 in 2019;
- Survey of selected sample villas for PV system deployment;
- Supplier selection, PV system installation, and connection to the grid;
- Performance of PV systems monitoring and analysis (two villas) from June 2022 to June 2024. A summary of these datasets is included in Appendix A, Table A1.
2.1. Baseline Electricity Consumption
2.2. Household Survey
2.3. PV Installation and Monitoring
- Approval required at the municipal level, requiring inspections that potentially raise issues not directly related to PV installation (e.g., unrelated planning matters).
- Significant consultancy fees of SAR 7000 (approx. USD 1900) for structural and planning investigations.
- The list of approved PV balance-of-system equipment is limited, and some major manufacturers have chosen not to obtain (or renew in the case of the inverters used in this project) approved status due to the present small market size.
2.4. Ambient Temperature and Cooling Degree Days
2.5. Financial Analysis Methodology
3. Results and Discussion
3.1. Baseline Electricity Consumption Data from Villa 1
3.2. Survey of Selected Villas for PV System Deployment
3.3. PV System Costs
3.4. Performance Monitoring and Analysis of Installed PV Systems

3.5. Comparison of First- and Second-Year PV Performance
3.6. Financial Analysis
- Net billing feed-in tariff increased from current level of 0.07 SAR.
- Meters in one property aggregated as one for tariff calculation purposes (triggering a higher tariff rate in hotter months). Another option would be to increase the meter service (standing) charge for the second and subsequent meters, as it is currently a negligible amount (USD 4/month or less than 1 day of electricity in December), but this is not considered further here as it would disproportionately impact lower consumers.
- Decrease in the higher tariff threshold from the present value of 6000 kWh/month.
- Decrease in installed cost/kWp of PV (through increase in volume and improved learning within the supply chain [77]).
4. Conclusions
Author Contributions
Funding
Data Availability Statement
Conflicts of Interest
Abbreviations
| A/C | Air conditioning |
| CDD | Cooling degree-days |
| FiT | Feed-in tariff |
| KAPSARC | King Abdullah Petroleum Studies and Research Center |
| PoA | Plane-of-array |
| PVs | Photovoltaics |
| SAR | Saudi Riyal |
| SEC | Saudi Electricity Company |
| SERA | Saudi Electricity Regulatory Authority |
Appendix A
| Variable | Start Date | End Date | Sampling Rate | Total Readings | Completeness |
|---|---|---|---|---|---|
| Ambient temperature (King Abdulaziz University) | 2021-01-01 | 2023-03-27 | 2 min | 504,870 | 96.2% |
| Ambient temperature and PoA irradiance (rooftop PV array) | 2022-06-03 | 2024-06-03 | 5 min | 210,816 | 99.96% |
| Electricity billing data | 2021-01-15 | 2024-06-15 | Monthly | 42 | 100% |
| Electricity consumption (2019, all floors) | 2019-02-04 | 2019-12-09 | ~20 s | 3,546,401 | 67% |
| Electricity generation and consumption (post installation of PV, floor 1 m) aggregated daily | 2022-06-03 | 2024-06-02 | 1 day | 1462 | 100% |
References
- Climate Change News. Saudi Arabia Pledges Net Zero by 2060, But No Oil Exit Plan. Published on 25 October 2021. 2021. Available online: https://www.climatechangenews.com/2021/10/25/saudi-pledges-net-zero-2060-no-oil-exit-plan/ (accessed on 12 May 2025).
- Climate Action Tracker: Saudi Arabia: 3 December 2024. Available online: https://climateactiontracker.org/countries/saudi-arabia/ (accessed on 20 May 2025).
- AlOtaibi, Z.S.; Khonkar, H.I.; AlAmoudi, A.O.; Alqahtani, S.H. Current status and future perspectives for localizing the solar photovoltaic industry in the Kingdom of Saudi Arabia. Energy Transit. 2020, 4, 1–9. [Google Scholar] [CrossRef]
- Panos, E.; Densing, M.; Volkart, K. Access to electricity in the World Energy Council’s global energy scenarios: An outlook for developing regions until 2030. Energy Strategy Rev. 2016, 9, 28–49. [Google Scholar] [CrossRef]
- Ember (2025); Energy Institute—Statistical Review of World Energy (2024)—With Major Processing by Our World in Data. “Electricity Generation from Fossil Fuels—Ember and Energy Institute” [Dataset]. Ember, “Yearly Electricity Data Europe”; Ember, “Yearly Electricity Data”; Energy Institute, “Statistical Review of World Energy” [Original Data]. Available online: https://ourworldindata.org/grapher/electricity-fossil-fuels (accessed on 20 May 2025).
- Climate Transparency Brown to Green: The G20 Transition Towards a Net-Zero Emissions Economy (Saudi Arabia). 2019. Available online: https://www.climate-transparency.org/wp-content/uploads/2019/11/B2G_2019_SaudiArabia.pdf (accessed on 12 May 2025).
- IEA. Electricity generation by source, Saudi Arabia 1990–2019, International Energy Agency. 2020. Available online: https://www.iea.org/fuels-and-technologies/electricity (accessed on 12 May 2025).
- Soummane, S.; Ghersi, F. Projecting Saudi sectoral electricity demand in 2030 using a computable general equilibrium model. Energy Strategy Rev. 2022, 39, 100787. [Google Scholar] [CrossRef]
- Saudi and Middle East Green Initiatives. SGI Target: Reduce Carbon Emissions by 278 Mtpa by 2030. Available online: https://www.sgi.gov.sa/about-sgi/sgi-targets/reduce-carbon-emissions/?csrt=6946877903650669153 (accessed on 20 May 2025).
- IEA. Update on recent progress in reform of inefficient fossil-fuel subsidies that encourage wasteful consumption 2021. In Proceedings of the OECD and IEA Climate and Energy Joint Ministerial Meeting, Naples, Italy, 23 July 2021. [Google Scholar]
- Pazheri, F.R.; Malik, N.H.; Al-Arainy, A.A.; Safoora, O.K.; Otham, M.F.; Al-Ammar, E.A.; Ahmed, I.T.P. Use of renewable energy sources in Saudi Arabia through smart grid. J. Energy Power Eng. 2012, 6, 1065–1070. [Google Scholar]
- SolarGIS. Global Solar Atlas 2.0. The World Bank, Solar Resource Data. 2019. Available online: https://solargis.com/maps-and-gis-data/download/saudi-arabia (accessed on 12 May 2025).
- ESMAP. Global photovoltaic power potential by country. In Energy Sector Management Assistance Program; World Bank: Washington, DC, USA, 2020. [Google Scholar]
- Alghamdi, A. Data Insight: Solar Energy in Saudi Arabia. 4/06/2020. Riyadh: KAPSARC. 2020. Available online: https://www.kapsarc.org/research/publications/solar-energy-in-saudi-arabia/ (accessed on 12 May 2025).
- IRENA. Energy Profile: Saudi Arabia. 2020. Available online: https://www.irena.org/IRENADocuments/Statistical_Profiles/Middle%20East/Saudi%20Arabia_Middle%20East_RE_SP.pdf (accessed on 12 May 2025).
- REN21. (11 June 2024). Cumulative solar photovoltaic capacity globally as of 2023, by select country (in gigawatts) [Graph]. In Statista. Available online: https://www.statista.com/statistics/264629/existing-solar-pv-capacity-worldwide/ (accessed on 20 May 2025).
- KAPSARC. Data Portal: Electricity Consumption by Sector- 2020. King Abdullah Petroleum Studies and Research Centre. 2020. Available online: https://datasource.kapsarc.org/explore/dataset/electricity-consumption-by-sectors/export/?disjunctive.region&disjunctive.type_of_consumption&sort=-year&refine.year=2020 (accessed on 12 May 2025).
- SEEC. Energy Efficiency Sectors: Building Sector. Saudi Energy Efficiency Centre. Available online: https://www.seec.gov.sa/en/energy-efficiency-sectors/buildings-sector (accessed on 20 May 2025).
- Hasan, H.; Al-Aqeel, T.; Peerbocus, N. Saudi Arabia’s Unfolding Power Sector Reform: Futures, Challenges and Opportunities for Market Integration; King Abdullah Petroleum Studies and Research Center (KAPSARC): Riyadh, Saudi Arabia, 2020. [Google Scholar] [CrossRef]
- Price, S.; Mahone, A.; Olsen, A.; Orans, R.; Williams, J. Greenhouse Gas Modeling of California’s Electricity Sector to 2020: Updated Results of the GHG Calculator: Version 3b Update; Energy and Environmental Economics, Inc.: San Francisco, CA, USA, 2010; Available online: https://www.ethree.com/wp-content/uploads/2017/05/CPUC_GHG_Revised_Report_v3b_update_Oct2010.pdf (accessed on 20 May 2025).
- Turner, W.J.N.; Walker, I.S.; Roux, J. Peak load reductions: Electric load shifting with mechanical pre-cooling of residential buildings with low thermal mass. Energy 2015, 82, 1057–1067. [Google Scholar] [CrossRef]
- Hinkersbay.com. Climograph of Monthly Averages Climate Data—Temperature and Precipitation in Jeddah. A basic Climate Data Set 1978–2018 for Jeddah. Available online: http://hikersbay.com/climate-conditions/saudiarabia/jeddah/climate-conditions-in-jeddah.html?lang=en (accessed on 12 May 2025).
- Saudi General Authority for Statistics. Household Environment Statistics: Household Environment Survey 2019, Riyadh, Kingdom of Saudi Arabia. 2019. Available online: https://www.stats.gov.sa/documents/20117/2435259/Household+Environment+Survey+2019+EN.xlsx/90ecd54f-6a48-1fed-af61-b8498d7a6f45?t=1734120268117 (accessed on 20 May 2025).
- ECRA. Annual Statistical Booklet for Electricity and Seawater Desalination Industries, Electricity and Cogeneration Authority; ECRA: Riyadh, Saudi Arabia, 2015. [Google Scholar]
- KAPSARC. Residential Electricity Price Reforms: Are Different Income Groups and Regions Impacted Equally? In Instant Insight; The King Abdullah Petroleum Studies and Research Centre (KAPSARC): Riyadh, Saudi Arabia, 2019. [Google Scholar]
- Alrashed, F.; Asif, M. Saudi building industry’s views on sustainability in Buildings: Questionnaire survey. Procedia 2014, 62, 382–390. [Google Scholar] [CrossRef]
- Alshahrani, J.; Boait, P. Reducing high energy demand associated with air conditioning needs in Saudi Arabia. Energies 2018, 12, 87. [Google Scholar] [CrossRef]
- Khan, M.M.A.; Asif, M.; Stach, E. Rooftop PV Potential in the Residential Sector of the Kingdom of Saudi Arabia. Buildings 2017, 7, 46. [Google Scholar] [CrossRef]
- Blunden, L.S.; Mostafa, Y.M.; Alghamdi, A.S.; Bahaj, S. Satellite imagery to select a sample of rooftops for a PV installation project in Jeddah, Saudi Arabia. J. Phys. Conf. Ser. 2021, 2042, 012014. [Google Scholar] [CrossRef]
- Alam, M.; Alghamdi, A.S.; Bahaj, A.S.; James, P.A.B.; Blunden, A.S. Residential rooftop PV power generation to support cooling loads and national targets in Saudi Arabia. J. Phys. Conf. Ser. 2021, 2042, 012097. [Google Scholar] [CrossRef]
- Albatayneh, A.; Jaradat, M.; Al-Omary, M.; Zaquot, M. Evaluation of Coupling PV and Air Conditioning vs. Solar Cooling Systems—Case Study from Jordan. Appl. Sci. 2021, 11, 511. [Google Scholar] [CrossRef]
- IRENA. Renewable Power Generation Costs in 2023; International Renewable Energy Agency: Abu Dhabi, United Arab Emirates, 2024; ISBN 978-92-9260-621-3. Available online: https://www.irena.org/Publications/2024/Sep/Renewable-Power-Generation-Costs-in-2023 (accessed on 20 May 2025).
- Nwaigwe, K.N.; Mutabilwa, P.; Dintwa, E. An overview of solar power (PV systems) integration into electricity grids. Mater. Sci. Energy Technol. 2019, 2, 629–633. [Google Scholar] [CrossRef]
- Kaizuka, I.; Jäger-Waldau, A.; Donoso, J.; Masson, G.; Bosch, E. Snapshot of Global PV Markets 2022; Technology Collaboration Programme by IEA. Report IEA-PVPS T1-42: 2022; IEA PVPS: Paris, France, 2021; ISBN 978-3-907281-31-4. Available online: https://iea-pvps.org/snapshot-reports/snapshot-2022/ (accessed on 20 May 2025).
- Hector, G.; Lopez-Ruiz Jorge, B.; Vittorio, M. Assessing Residential Solar Rooftop Potential in Saudi Arabia Using Nighttime Satellite Images: A Study for the City of Riyadh. Energy Policy 2020, 140, 111399. [Google Scholar]
- González, P.R. Ten years of renewable electricity policies in Spain: An analysis of successive feed-in tariff reforms. Energy Policy 2008, 36, 2907–2919. [Google Scholar]
- Munksgaard, J.; Morthorst, P.E. Wind power in the Danish liberalised power market-policy measures, price impact and investor incentives. Energy Policy 2008, 36, 3940–3947. [Google Scholar] [CrossRef]
- Fulton, M.; Mellquist, N.; Rickerson, W.; Jacobs, D. The German Feed-in Tariff for PV: Managing Volume Success with Price; Deutsche Bank: Frankfurt am Main, Germany, 2011; Available online: https://www.researchgate.net/publication/323666051_The_German_feed-in_tariff_for_PV_Managing_volume_success_with_price_response (accessed on 20 May 2025).
- Pyrgou, A.; Kylili, A.; Fokaides, P.A. The future of the Feed-in Tariff (FiT) scheme in Europe: The case of photovoltaics. Energy Policy 2016, 95, 94–102. [Google Scholar] [CrossRef]
- Zhang, M.M.; Zhou, D.Q.; Zhou, P.; Liu, G.Q. Optimal feed-in tariff for solar photovoltaic power generation in China: A real options analysis. Energy Policy 2016, 97, 181–192. [Google Scholar] [CrossRef]
- ECRA. Regulatory Framework for Small Scale Solar PV Systems: ERD-TA012 (V02/19); Electricity and Co-generation Regulatory Authority: Riyadh, Saudi Arabia, 2019.
- SERA. Consumption Tariff: Residential. Available online: https://sera.gov.sa/en/consumer/electric-tariff/electric-tariff-categories/consumption-tariff (accessed on 20 May 2025).
- Von Appen, J.; Braun, M.; Stetz, T. Preparing for High Penetration of Photovoltaic Systems in the Grid: Smart PV Integration; Fraunhofer IWES: Bremerhaven, Germany, 2012. [Google Scholar]
- Ton, D.; Peek, G.H.; Hanley, C.; Boyes, J. Solar Energy Grid Integration Systems- Energy Storage (SEGIS-ES), Sandia National Laboratories, 4–19. 2008. Available online: https://www1.eere.energy.gov/solar/pdfs/segis-es_concept_paper.pdf (accessed on 12 May 2025).
- Kenneth, A.P.; Folly, K. Voltage Rise Issue with High Penetration of Grid Connected PV. In Proceedings of the 19th World Congress of the International Federation of Automatic Control Cape Town, Cape Town, South Africa, 24–29 August 2014. [Google Scholar]
- Valsamma, K.M. Smart Grid as a desideratum in the energy landscape: Key aspects and challenges. In Proceedings of the IEEE International Conference on Engineering Education: Innovative Practices and Future Trends (AICERA) 2012, Kottayam, India, 19–21 July 2012. [Google Scholar] [CrossRef]
- Yuan, G. Improving grid reliability through integration of distributed PV and energy storage. In Proceedings of the 2012 IEEE PES Innovative Smart Grid Technologies (ISGT), Washington, DC, USA, 16–20 January 2012. [Google Scholar] [CrossRef]
- Ahmed, A.; McFadden, F.S.; Rayudu, R. Impacts of distributed PV in a smart grid using temperature-dependent power flow. In Proceedings of the IEEE Innovative Smart Grid Technologies—Asia (ISGT-Asia)-2017, Auckland, New Zealand, 4–7 December 2017. [Google Scholar] [CrossRef]
- Heilscher GReindl, T.; Zhan, Y.; Idlbi, I. Communication and Control for High PV Penetration Under Smart Grid Environment: Overview on Control Strategies and Communications Technologies. Report IEA-PVPS T14-12:2020. 2020. Available online: https://iea-pvps.org/wp-content/uploads/2020/12/Task14-12_Communication-and-Control_report.pdf (accessed on 12 May 2025).
- Hoke, A.; Nelson, A.; Miller, B.; Sudipta, C.; Bell, F.; McCarty, M. Experimental Evaluation of PV Inverter Anti-Islanding with Grid Support Functions in Multi-Inverter Island Scenarios; NREL: Golden, CO, USA, 2016; NREL/TP-5D00-66732.
- Electricity & Cogeneration Regulatory Authority. Activities and Achievements of the Authority in 2014. October 2015. Available online: https://sera.gov.sa/en/media-center/agency-publications (accessed on 20 May 2025).
- Liu, F. Improving Energy Efficiency in Buildings: Energy Efficient Cities: Mayoral Guidance Note #3; Technical Report 93675 Knowledge Series 019/14; World Bank: Washington, DC, USA, 2014; Available online: https://www.esmap.org/node/55263 (accessed on 20 May 2025).
- Al-Homoud, M.S.; Karati, M. Energy efficiency of residential buildings in the Kingdom of Saudi Arabia: Review of status and future roadmap. J. Build. Eng. 2021, 36, 102143. [Google Scholar] [CrossRef]
- Esmaeil, K.K.; Alshitawi, M.S.; Almasri, R.A. Analysis of energy consumption pattern in Saudi Arabia’s residential buildings with specific reference to Qassim region. Energy Effic. 2019, 12, 2123–2145. [Google Scholar] [CrossRef]
- Saudi Electricity Company. Thermal Insulation in Buildings. Electricity Information and Instruction. Available online: https://www.se.com.sa/en/Electricity-Information/Guides/Thermal-Insulation-in-Buildings (accessed on 20 May 2025).
- GaStat. Bulletin of Household Energy Survey 2019; General Authority for Statistics: Riyadh, Saudi Arabia, 2019.
- Esfandiari, M.; Zaid, S.M.; Ismail, M.A.; Hafezi, M.R.; Asadi, I.; Mohammadi, S.A. Field Study on thermal comfort and cooling load demand optimization in a tropical climate. Sustainability 2021, 13, 12425. [Google Scholar] [CrossRef]
- Alshehri, A.; James, P.; Bahaj, A. Pathways to the Large-Scale Adoption of Residential Photovoltaics in Saudi Arabia. Energies 2024, 17, 3180. [Google Scholar] [CrossRef]
- Alghamdi, A.S. Potential for Rooftop-Mounted PV Power Generation to Meet Domestic Electrical Demand in Saudi Arabia: Case Study of a Villa in Jeddah. Energies 2019, 12, 4411. [Google Scholar] [CrossRef]
- OpenEnergyMonitor. emonTX. Available online: https://guide.openenergymonitor.org/setup/emontx/ (accessed on 12 May 2025).
- Fulcrum. Available online: https://www.fulcrumapp.com/ (accessed on 12 May 2025).
- Saudi Electricity Company, List of Qualified Contractors and Consultants. Available online: https://www.se.com.sa/en/Sustainability/Solar-PV-Content/Certified-Contractors (accessed on 12 May 2025).
- Fronius International GmbH. How to Setup Fronius Sensor Box/Card. 2019. Available online: https://www.fronius.com/~/downloads/Solar%20Energy/Quick%20Guides/SE_QG_How_to_setup_Fronius_Sensors_EN.pdf (accessed on 12 May 2025).
- Alghamdi, A.S.; Bahaj, A.S.; Blunden, L.S.; Wu, Y. Dust removal from solar PV modules by automated cleaning systems. Energies 2019, 12, 2923. [Google Scholar] [CrossRef]
- Indraganti, M.; Boussaa, D. A method to estimate the heating and cooling degree-days for different climatic zones of Saudi Arabia. Build. Serv. Eng. Res. Technol. 2016, 38, 327–350. [Google Scholar] [CrossRef]
- Saudi Building Code 601: Energy Conservation (English edition). Available online: https://sbc.gov.sa/En/BC/Pages/buildingcode/BCHome.aspx (accessed on 12 May 2025).
- Penn, K.; Schmidt, J. Package ‘FinancialMath’. 2022. Available online: https://cran.r-project.org/web/packages/FinancialMath/FinancialMath.pdf (accessed on 12 May 2025).
- Hamamoto, M. Estimating consumers’ discount rates in energy-saving investment decisions: A comparison of revealed and stated approaches. SN Bus. Econ. 2023, 3, 120. [Google Scholar] [CrossRef]
- Hassan, A.; El-Amin, I. Formulation of billing policy for residential scale solar PV systems and its impact in the Kingdom of Saudi Arabia. Renew. Energy Focus 2024, 49, 100568. [Google Scholar] [CrossRef]
- Damigos, D.; Kontogianni, A.; Tourkolias, C.; Skourtos, M. Dissecting subjective discount rates and investment literacy for energy-efficient investments. Energy Effic. 2021, 14, 31. [Google Scholar] [CrossRef]
- Bruderer Enzler, H.; Diekmann, A.; Meyer, R. Subjective discount rates in the general population and their predictive power for energy saving behavior. Energy Policy 2014, 65, 524–540. [Google Scholar] [CrossRef]
- Li, H.X.; Zhang, Y.; Li, Y.; Huang, J.; Costin, G.; Zhang, P. Exploring payback-year based feed-in tariff mechanisms in Australia. Energy Policy 2021, 150, 112133. [Google Scholar] [CrossRef]
- Alnaser, A.N. A domestic rooftop PV system: A step towards retrofitting the built environment to combat climate change in Bahrain. Front. Built Environ. 2023, 9, 1178512. [Google Scholar] [CrossRef]
- UK Government. Solar Photovoltaic (PV) Cost Data. 2024. Available online: https://www.gov.uk/government/statistics/solar-pv-cost-data (accessed on 12 May 2025).
- Jinko Solar. Tiger Pro 72HC 530-550 Watt Mono-Facial Module. 2020. Available online: https://www.jinkosolar.com/uploads/5ff587a0/JKM530-550M-72HL4-(V)-F1-EN.pdf (accessed on 12 May 2025).
- International Energy Agency. Shares of Home Energy Expenditure in Average Household Incomes in Major Economies, 2021–2022. 2024. Available online: https://www.iea.org/data-and-statistics/data-tools/end-use-prices-data-explorer?tab=Overview (accessed on 12 May 2025).
- Alghamdi, N.; Bahaj, A.S.; James, P. Supply Chain Readiness for Solar PV Expansion in Saudi Arabia. Energies 2022, 15, 7479. [Google Scholar] [CrossRef]







| Dependent Variable: | |
|---|---|
| Ta,u | |
| Ta,r | 0.923 *** |
| CI95 | (0.921, 0.925) |
| Observations | 221 |
| R2 | 1.000 |
| Adjusted R2 | 1.000 |
| Residual Std. Error | 0.596 (df = 220) |
| F Statistic | 626,731.000 *** (df = 1; 220) |
| Parameter | Value |
|---|---|
| Exchange rate (SAR/USD, November 2024) | 3.75 |
| Residential tariff (SAR) | 0.18 (0–6000 kWh/month) 0.3 (>6000 kWh/month) |
| Existing net billing feed-in tariff * (SAR) [41] | 0.07 |
| Discount rate (%) | 15 |
| Number of years for NPV | 7 |
| Installed cost (USD/kWp) | 1250 |
| Annual maintenance cost (USD) | 150 (for 15 kWp PV system) |
| Consumption | Jan | Feb | Mar | Apr | May | Jun | Jul | Aug | Sep | Oct | Nov | Dec |
|---|---|---|---|---|---|---|---|---|---|---|---|---|
| Daily avg. (kWh) | 112 | 120 | 140 | 199 | 212 | 233 | 267 | 247 | 234 | 189 | 120 | 109 |
| Daily peak (kW) | 7.8 | 7.3 | 10.4 | 13.3 | 14.4 | 16.2 | 18.5 | 16.4 | 15.7 | 13.3 | 8.8 | 7.5 |
| Monthly total (MWh) | 3.5 | 3.4 | 4.3 | 6.0 | 6.6 | 7.0 | 8.2 | 7.7 | 7.0 | 5.9 | 3.6 | 3.4 |
| Variable | Villa 1 * | Villa 2 * | Villa 3 | Villa 4 | Villa 5 | Villa 6 | Villa 7 | Villa 8 |
|---|---|---|---|---|---|---|---|---|
| Number of floors | 3 | 3 | 3 | 3 | 3 | 3 | 3 | 3 |
| Occupancy type (O = Owner occupier, R = Renting) | O | O | O | O | O | O | O | O |
| Construction year | 2001-‘15 | 2001-‘15 | 1980-‘00 | 1980-‘00 | 2001-‘15 | 2001-‘15 | 2001-‘15 | 2001-‘15 |
| Total floor space of the villa (m2) | 789 | 789 | 864 | 693 | 520 | 615 | 491 | 491 |
| Total space for the highest electricity-consuming floor (m2) | 287 | 287 | 522 | 252 | 274 | 292 | 292 | 292 |
| Adults | 4 | 6 | 6 | 5 | 8 | 5 | 4 | 4 |
| Children | 2 | 0 | 4 | 2 | 4 | 0 | 1 | 1 |
| Total number of electric meters installed | 4 | 3 | 5 | 2 | 2 | 2 | 2 | 2 |
| Separate billing for each meter? | Yes | Yes | Yes | Yes | Yes | Yes | Yes | Yes |
| Applicable tariffs (SAR/kWh): 0.18 (0–6 MWh/month); 0.3 (>6 MWh/month) | 0.18 | 0.18 | 0.18, 0.30 | 0.18 | 0.18, 0.30 | 0.18, 0.30 | 0.18 | 0.18 |
| Monthly average electricity consumption for whole villa in summer (MWh/month) | 5.5 | 8.22 | 11 | 7.22 | 11.8 | 8.3 | 4.4 | 4 |
| Monthly average electricity consumption for whole villa in other seasons (MWh/month) | 4.5 | 6.1 | 5.6 | 4.7 | 7.4 | 5.3 | 2.5 | 2 |
| Monthly average electricity consumption of the most used floor in Summer (MWh/month) | 3.9 | 4.8 | 7.2 | 3.7 | 6.4 | 6 | No data | No data |
| AC temperature range (°C) used in main living areas and bedrooms of the villa | 23–25 | 20–22 | 20–22 | 20–22 | 23–25 | 23–25 | 20–22 | 20–22 |
| Willingness to adopt higher AC temperature setpoints? | Not sure | Yes | Yes | Not sure | No | No | No | Not sure |
| Willingness to install rooftop PV? | Yes | Yes | Yes | Yes | Yes | Yes | Yes | Yes |
| Reason for interest in PV installation (F = Financial, E = Environmental, S = Social recognition) | F, E | F, E | F, E, S | F, E | F, E, S | F, E | F | F, E |
| Cooking fuel type (G = gas, E = Electric) | G, E | G, E | G, E | G, E | E | G, E | G, E | G, E |
| Type of AC units (C = Central, S = Split, W = Window) | S | S | S, W | S, W | C, S | C, S | S | S |
| Energy efficiency measures in place (W = wall insulation, R = roof insulation, DG = double glaze, S = shading) | W, R, DG | W, R, DG | R | W | W, R, DG, S | W, DG, S | W, R, DG | W, R, DG |
| Item | Description | Unit Price (USD) | Quantity | Total Price (USD) |
|---|---|---|---|---|
| PV module | 540 Wp, Monocrystalline [75] | 247.00 | 28 | 5684 |
| Ground (roof) mount structure module | Double portrait, 2272 × 1134 × 35 mm, 12 frames, 25° tilt | 668.00 | 3 | 2005 |
| Ground blocks | Concrete, 20 × 40 × 80 cm | 32.30 | 16 | 516 |
| Inverter | 15 kW Fronius (Wels, Austria) Symo-220 V | 4060.00 | 1 | 4060 |
| DC cable | 4 mm2 (1500 VDC) | 1.30 | 80 m | 101 |
| Accessories | Sets of MC4 connectors, labels, cable ties, double cable glands (IP68), etc. | 252.00 | 1 | 252 |
| DC protection | 15 A fuses and surge protection | 239.60 | 1 | 240 |
| AC cable | Cu-XLPE/PVC-4 × 16 mm2 | 5.00 | 40 m | 202 |
| AC protection | Four pole 50 A miniature circuit breaker | 101.00 | 1 | 101 |
| Interface protection | ABB (Zurich, Switzerland) grid feeding monitoring relay CM-UFD.M22M | 1210.50 | 1 | 1210 |
| Installation | Delivery, installation, commissioning, and warranty | 2143.50 | 1 | 2144 |
| Sub total | 16,515 | |||
| VAT (15%) | 2477 | |||
| Total | 18,992 | |||
| Dependent Variable: | ||
|---|---|---|
| Consumption (kWh/m2/month) | ||
| (Villa 1) | (Villa 2) | |
| Cooling degree-days | 0.019 *** | 0.016 *** |
| CI95 | (0.015, 0.024) | (0.011, 0.021) |
| Constant | 0.655 | 5.530 *** |
| (−1.465, 2.774) | (3.089, 7.971) | |
| Observations | 65 | 65 |
| R2 | 0.529 | 0.359 |
| Adjusted R2 | 0.522 | 0.349 |
| Residual Std. Error (df = 63) | 2.231 | 2.570 |
| F Statistic (df = 1; 63) | 70.762 *** | 35.271 *** |
| Parameter | Value |
|---|---|
| Annual import from grid 1st floor meter (MWh) | 32.6 |
| Annual PV generation (MWh) | 15.5 |
| Peak measured daily average performance (generation/incident radiation) | 17.3% |
| Annual PV curtailment/potential export (MWh) | 9.9 |
| Total villa avoided import over threshold (MWh) * | 6.5 (>6000 kWh/month); 18.4 (>3000 kWh/month) |
| Case | |||||||
|---|---|---|---|---|---|---|---|
| Measure | BAU | I | II | III | IV | V | VI |
| Feed-in tariff (0.07 SAR [41]) | • | ||||||
| Feed-in tariff (0.18 SAR) | • | ||||||
| Feed-in tariff (0.3 SAR) | • | ||||||
| Feed-in tariff (1.0 SAR) | • | • | • | ||||
| Installed cost decrease by 20% | • | • | • | • | • | ||
| Total villa tariff threshold (6000 kWh) | • | ||||||
| Total villa tariff threshold (3000 kWh) | • | ||||||
| Case | NPV (USD) | IRR |
|---|---|---|
| BAU | (−16,290) | - |
| I | (−15,530) | - |
| II | (−10,580) | - |
| III | (−9280) | - |
| IV | (−1680) | 11.2% |
| V | (−810) | 13.2% |
| VI | 770 | 16.7% |
Disclaimer/Publisher’s Note: The statements, opinions and data contained in all publications are solely those of the individual author(s) and contributor(s) and not of MDPI and/or the editor(s). MDPI and/or the editor(s) disclaim responsibility for any injury to people or property resulting from any ideas, methods, instructions or products referred to in the content. |
© 2025 by the authors. Licensee MDPI, Basel, Switzerland. This article is an open access article distributed under the terms and conditions of the Creative Commons Attribution (CC BY) license (https://creativecommons.org/licenses/by/4.0/).
Share and Cite
Alghamdi, A.; Blunden, L.S.; Alam, M.; Bahaj, A.S.; James, P.A.B. Evaluating the Opportunities and Challenges of Domestic PV Installation in Saudi Arabia Based on Field Deployment in Jeddah. Energies 2025, 18, 2733. https://doi.org/10.3390/en18112733
Alghamdi A, Blunden LS, Alam M, Bahaj AS, James PAB. Evaluating the Opportunities and Challenges of Domestic PV Installation in Saudi Arabia Based on Field Deployment in Jeddah. Energies. 2025; 18(11):2733. https://doi.org/10.3390/en18112733
Chicago/Turabian StyleAlghamdi, Abdulsalam, Luke S. Blunden, Majbaul Alam, AbuBakr S. Bahaj, and Patrick A. B. James. 2025. "Evaluating the Opportunities and Challenges of Domestic PV Installation in Saudi Arabia Based on Field Deployment in Jeddah" Energies 18, no. 11: 2733. https://doi.org/10.3390/en18112733
APA StyleAlghamdi, A., Blunden, L. S., Alam, M., Bahaj, A. S., & James, P. A. B. (2025). Evaluating the Opportunities and Challenges of Domestic PV Installation in Saudi Arabia Based on Field Deployment in Jeddah. Energies, 18(11), 2733. https://doi.org/10.3390/en18112733

