Abstract
The literature written in Chinese mainly and in English with a small amount is reviewed to obtain the overall status of flywheel energy storage technologies in China. The theoretical exploration of flywheel energy storage (FES) started in the 1980s in China. The experimental FES system and its components, such as the flywheel, motor/generator, bearing, and power electronic devices, were researched around thirty years ago. About twenty organizations devote themselves to the R&D of FES technology, which is developing from theoretical and laboratory research to the stage of engineering demonstration and commercial application. After the research and accumulation in the past 30 years, the initial FES products were developed by some companies around 10 years ago. Today, the overall technical level of China’s flywheel energy storage is no longer lagging behind that of Western advanced countries that started FES R&D in the 1970s. The reported maximum tip speed of the new 2D woven fabric composite flywheel arrived at 900 m/s in the spin test. A steel alloy flywheel with an energy storage capacity of 125 kWh and a composite flywheel with an energy storage capacity of 10 kWh have been successfully developed. Permanent magnet (PM) motors with power of 250–1000 kW were designed, manufactured, and tested in many FES assemblies. The lower loss is carried out through innovative stator and rotor configuration, optimizing magnetic flux and winding arrangement for harmonic magnetic field suppression. Permanent magnetic bearings with high load ability up to 50–100 kN were developed both for a 1000 kW/16.7 kWh flywheel used for the drilling practice application in hybrid power of an oil well drilling rig and for 630 kW/125 kWh flywheels used in the 22 MW flywheel array applied to the flywheel and thermal power joint frequency modulation demonstration project. It is expected that the FES demonstration application power stations with a total cumulative capacity of 300 MW will be built in the next five years.
1. Introduction
Electrical energy storage improves the stability and quality of electrical systems with imbalances between power production and custom load. Electrical energy storage techniques such as hydro pumps, compressed air, chemical batteries, supercapacitors, and flywheels have different technical features and possess manifold applications [1]. Flywheel energy storage (FES) is a kind of physics energy storage method exploiting a rotational block with kinetic energy that changes with the rotational speed varying [2,3]. The speed-increasing flywheel stores energy when it is accelerated by a motor, which obtains electrical power from the grid through power electronic device driving. The motor works as a generator in a braking state when it is dragged by the flywheel at decreasing speed and feeds electrical energy to the grid. A vacuum chamber is necessary to prohibit the friction between air and the flywheel running at high speed, and magnet bearings are used to prevent mechanical friction loss. High efficiency motor and power electronics are beneficial to better performance of FES with low energy loss.
As shown in Figure 1, for a flywheel energy storage system (FESS), the flywheel and motor/generator supported by bearings are enclosed in a vacuum chamber. The motor/generator is driven in acceleration or deceleration by the bi-directional converter as a power electronic interface, which controls the flowing of the energy between the power source, the load, and the flywheel energy storage unit (FESU). The typical energy capacity is 0.5–125 kWh, and the power bulk is 100–3000 kW for an FESU.
Figure 1.
Configuration of flywheel energy storage system.
FES presents good features, such as long cycling life (up to106 cycling) and high power (100–3000 kW) for a single unit, high efficiency (better than 85%), and little environmental impact. Of course, FES has shortcomings of high self-discharge rate and complexity. After half a century of development, FES has been used in ride-through power for UPS [2], hybrid power for automobiles or light rail in braking energy recycling [4,5], spacecraft [6], and frequency regulation in the grid [2]. However, the research on FES in China started in the 1980s, about 30 years later than that in Europe and the United States of America [7]. The original motivation of FES in China was for solar energy leveling [8], unlike the USA, in which the ultra-flywheel project was developed for the power of automobiles in the 1970s [9].
In the past 30 years, the research and developments of FES in China have made great progress in theoretical study, experimental investigation, and industrial application demonstration. There are many reviews of the literature on FES in English; however, no review was presented to concern R&D status, mainly in a country. China has been a large country with much R&D on FES, especially in the last ten years. The literature [10,11] did not list the commercial products from Chinese companies. The research on motors, power electronics, and control algorithms in the literature [12] focused mainly on the exploration of new technologies in the laboratory and lacked information on motor systems in industrial applications. Many of the FES research results were published in Chinese writing, being difficult to understand by researchers outside of China. Therefore, this paper puts forward a review of the research and development of FES in China to be better understood by foreign researchers. We believe that the development of flywheel energy storage technology in China will help promote the development of energy storage technology, which is an important support for the global low-carbon energy technology revolution.
2. Early Study Before Twenty Years Ago
In 1982, Li Anding, a research fellow at the Institute of Electrical Engineering at China Science Academy (Beijing), described the basic problems of flywheel configuration, bearing, and seal. He predicted the sizes of flywheel with a large capacity of 20; 100; 1000 kWh. The efficiency of FES might arrive at 70–75% [13]. Mao Zhaoming raised the question of the practicability of using flywheel energy storage in solar power systems in 1983. The cost of FES was 6–7 times higher than that of heat storage and was obstructed using flywheel in solar power [8]. Liu built the motor-driven pump system with a flywheel for the hydraulic press in waving load to reduce the rated motor power by 30% [14]. Zhang Jiancheng, a professor at North China Electric Power University (Baoding, China), discussed the probability of load leveling in the electricity grid and FES’s merits compared to pumped storage [15].
Wu solved the optimum of volume energy density by the Lagrange factor method and revealed the stress features of the steel flywheel rim-hub structure by the finite element method [16]. The speed and power control of the flywheel and motor are vital for energy conversion in high efficiency and reliability. Cao presented the hybrid of constant torque and constant power control mode of inverter driving the motor speed up and discussed the principle of voltage loop control in the discharging mode of flywheel motor system in speed down [17]. Wang analyzed the bearing force ability, stiffness, damping, materials strength, and running temperature of high-temperature superconductivity magnetic bearings for flywheel energy storage [18].
FES has many merits due to the new development of carbon fiber material for high speed rotors, magnetic bearings for low friction support for flywheel motor shafts, and power electronics with high efficiency [19]. Ye designed a permanent magnetic bearing (PMB) and superconductivity magnetic bearing (SMB) hybrid vertical support system for FES. The small radial stiffness of the SMB was 3–9 kN/m, and the axial stiffness PMB was 1 kN/m in the test [20]. Jiang Shuyun, a post-doctoral fellow at Tsinghua University (Beijing, China), reported that a 300 Wh composite flywheel arrived at the speed of 500 m/s tip speed under the driving of permanent magnetic brushless DC motor power with 200 W in 2002 [21]. Wang reviewed the superconductivity magnetic bearing flywheel technology in the US, Japan, Germany, and China [22]. Wei reviewed the FES R&D according to the organization and project [23].
The early technical exploration covered all aspects, including flywheel rotors, bearings, electric energy conversion devices, and system applications such as solar energy, load leveling, and automobile utilization. At the same time, around 2000, commercial FES products were presented by many companies, such as Active Power (Austin, TX, USA), Beacon Power (Tyngsborough, MA, USA), and Pentadyne Power (Livonia, MI, USA) in the USA, whose flywheel technology was the most advanced.
3. Overview of Key Components in Recent 20 Years
3.1. Flywheel Rotor
The flywheel energy storage capacity is linearly proportional to the square of its angular velocity and the moment of inertia dependent on the rotor shape and material (seeing Figure 2).
Figure 2.
Six kinds of flywheel: (a) 1000 kWh flywheel concept design; (b) 200 Wh winding composite AMB flywheel; (c) woven fabric composite flywheel; (d) magnet element embedded fiber spoke flywheel; (e) 10 kWh composite flywheel (Tsinghua Univ.); and (f) 90 kWh steel flywheel (IET, CAS).
Higher flywheel speed is preferred to store more energy which will produce higher stress in the rotor due to centrifugal load proportional to the square of speed. Most flywheels have a cylindrical shape; the kinetic energy stored in a flywheel in the cylinder is as follows:
where J is the inertia moment; ω is the rotation speed; m is the mass; R is the out radius; r is the inner radius; vR is the angular velocity at the out radius; and vr is the angular velocity at the inner radius. The energy density of the flywheel is as follows:
The maximum stress in a flywheel is as follows:
where Kσ is the form factor, and ρ is the density of the material.
The flywheel structure stress must be lower than the material strength which obstacles the raising of energy density theoretically (5–20 Wh/kg for metal materials and 30–100 Wh/kg for composites). Steel and aluminum alloys with high strength and fiber-reinforced polymers are the most common flywheel materials.
The radial strength of the winding composite flywheel depends on the matrix material; it is much lower than the hoop strength. Therefore, the composite flywheel has the problem of radial delamination caused by the radial stress load exceeding the radial strength. The design of preventing radial delamination has become a research focus, and its main methods include radial layering structure and tension stress winding.
Qin Yong proposed an approach to calculating the initial stress and deformation in tension winding according to the misfit model between layers [24]. The displacements and stresses of the rotor with multi-rings in interference assembly under centrifugal load were solved by analytical methods and finite element methods [25]. The multiple cylinders in winding composites with fit assembly would obtain higher energy density [26,27]. The method of producing pre-press stress in the middle part of the steel disk was presented to increase the energy density of the flywheel [28]. The tension winding composite with pre-press in layers made the higher safe running speed of the composite flywheel [29]. The deformation in the press fit increased interference and stress of the multi-ring press-fit flywheel [30]. The energy density of a hollow cylinder flywheel was higher than a solid cylinder flywheel [31]. The magnet elements were laminated on the composite rim, and the radial plying fibers were used to connect the rim and shaft [32].
The limitations such as the maximum bearing speed and motor capability should be considered in the design of high specific energy density (SED) energy storage flywheels [33]. The flywheel made from composites and Al-alloy material stored energy of 90 MJ in a theoretical design example [34]. Song et al. conducted tensile performance tests on composite materials and developed a mechanical model for composite material energy storage flywheels [35]. Chen et al. used finite element methods to analyze the strain characteristics of composite flywheel H-shaped hubs under three winding patterns [36]: uniform tension winding, planar varying tension winding, and out-of-plane varying tension winding (radial layer varying tension). Wang et al. focused on large-sized composite flywheel rotors and derived the analytical solution for stresses in composite rim and metal hub interference fits based on the principle of stress superposition [37].
For long-life operation, the flywheel material fatigue and reliability problems are important [38]. The Hill strength criterion was used to analyze the ultra-limited speed of composite flywheel for vehicle application [39]. The test results indicated that the damage expressed as matrix crack, interfacial cracking of matrix/fiber, and fiber breakage were detected by the method of acoustic emission [40]. The damage speed of the test composite flywheel with an aluminum alloy hub was predicted [41]. Reddy’s sudden material property degradation model was adopted in the numerical simulation of progressive failure according to the 3D Tsai–Wu failure criterion. The maximum spin speed of the woven composite flywheel arrived at 898 m/s [42].
To maximize the energy density, a structure-optimized mathematical model was established, and the optimized solution was found based on a particle swarm algorithm [43]. In the design flywheel with composite multi-rings, sequential quadratic programming was carried out [44]. The downhill simplex method was adopted to optimize the flywheel shape to obtain higher density [45]. Wang examined the deformation patterns of adaptive flanges, optimized the core-shaft structure, and proposed a new elliptical pin-hole structure [46]. The core shaft and hub composite flywheel was manufactured and can run up o 19,600 rpm and store kinetic energy of 36 MJ.
Dai performed structural analysis on high-strength alloy steel flywheel rotor materials, demonstrating the safety and economic benefits of alloy steel flywheels [47]. Zhou Chuandi applied a stability analysis method combining the NIP algorithm and Newmark-B numerical integration method to analyze the dynamic stability of cracked flywheel rotor systems across the full range of rotational speeds [48]. Hu et al. summarized and reviewed flywheel structures and materials, analyzing the advantages, disadvantages, and application prospects of various solutions [49].
In the above research on flywheel rotors, the theoretical analysis is plenary. However, in most cases, the experimental data are not enough to support the engineering design, especially for the composite flywheel. The composite flywheel with an energy of 10 kWh has been designed and tested (Tsinghua University, 2021). Several companies (such as Huachi Kinetic Energy and Beijing Honghui Energy) are developing steel flywheels with energy capacity up to 50–125 kWh. The steel flywheel material is isotropic, and its mechanical behavior is relatively simple.
3.2. Motor
The motor is the conversion bridge between kinetic energy in the flywheel and electricity energy from the grid or to the load. The energy is stored in the flywheel while the motor drives the flywheel to a higher speed. On the other hand, the energy is released to the grid from the flywheel while the motor works as a generator driven by the flywheel in decreasing. Because of high power density, high efficiency, and low rotor loss, permanent magnet motors (PMM) are the most common electrical machines used in FESSs. The induction motors and reluctance synchronous motors (RSM) are also found in FESSs.
In the case study, Yang proposed a 2D model of a homopolar inductor alternator [50]. Hong proposed an induction motor with a dual stator and solid rotor in axial flux for FESSs and calculated its equivalent circuit parameters [51,52]. The coreless permanent magnet brushless DC motors (BLDCM) with Halbach magnet array had better performance than normal BLDCM [53]. As illustrated in Figure 3, the rotor core in the “H” shape was designed for lower loss with the ironless stator [54].
Figure 3.
A new type of M/G and flywheel. (a) The 3D model of the flywheel and M/G. (b) The profile view of the M/G.
An interior bearingless permanent synchronic motor (BPMSM) was applied in the FES of vehicles [55]. The Maxwell tensor modeling method with a fringing magnetic path was introduced to a single winding bearing-less flywheel motor [56]. The Halbach array and coreless stator structure are utilized to lower the rotor eddy current loss of the BPMSM [57]. The compensation method for radial force dynamic current was presented to ensure the stable levitation of a single winding bearingless flywheel motor with winding open-circuit fault [58]. Sun et al. found that both radial segmentation and Halbach magnetization methods reduced eddy current losses in the permanent magnets [59]. Shen et al. proposed an external rotor coreless, bearingless permanent magnet synchronous motor to address the issues of high cogging torque and high core losses at high speeds in flywheel energy storage motors [60]. Compared to traditional core-based motors, this design offered improved operational stability.
A thin, unmagnetized metal shielding ring with selected electrical conductivity and thickness, a proper slot opening width, and an air gap length reduced the total eddy current loss of the rotor [61]. For decreasing low torque ripple and loss due to harmonics of back electromotive force, the thickness of the permanent magnet, the opening slot, and the air-gap length were optimized [62]. The winding layout was explored to reduce circulation current losses [63]. The proper magnetic steel polar-arc coefficient was chosen to reduce the flux leakage on the rotor surface. The width of the air gap was increased by rational magnetic pole selection and appropriate magnetizing style [64].
Sun investigated a multi-objective optimization design scheme for a single-winding magnetic levitation switched reluctance motor using a genetic particle swarm optimization algorithm [65]. Cheng performed a simulation analysis of coupled magnetic field distribution and levitation force for a superconducting magnetic levitation energy storage and attitude control flywheel structure used in small satellites, obtaining an optimal Halbach configuration for the permanent magnet structure [66]. Zhu proposed a novel axial split-phase permanent magnet levitation flywheel motor and overcame issues in magnetic levitation motor research, such as strong coupling between levitation force and torque and dead-zone problems in levitation force generation [67]. Wang utilized finite element analysis to study the relationship between key structural parameters of this new type of motor, such as the number of excitation poles, the number of excitation coil turns, the form of the driven rotor, and the motor’s instantaneous output torque and output power [68]. Chen employed finite element methods and two-dimensional fast Fourier transforms to obtain frequency and amplitude trends of magnetic flux density harmonics, clarifying that harmonics of the alternating magnetic flux density on the surface of permanent magnets are effectively reduced due to the rotor magnetic bridge structure [69]. Lv optimized the design of a 300 kW magnetic levitation axial flux permanent magnet synchronous motor, achieving an efficiency of over 90% within the operating speed range of 15,000 to 30,000 rpm [70]. In the area of array coordinated control, Jian proposed a multi-objective optimization method combining Kriging models with the differential evolution algorithm (DEA) to optimize the amplitude and sinusoidal distortion rate of the air-gap magnetic flux density waveform [71].
In electromagnetic launch pulsed power supply applications, a novel compensated pulsed alternator in high energy and power density was excited by permanent magnets (PMs) [72]. The magnetic flux in the air gap, the current waveform, and the back electromotive force of a PMs compulsator were analyzed [73]. A homopolar induction motor with a bipolar air gap was proposed with higher flux density, higher torque, and higher power density [74].
Regarding motor losses and cooling, Jiao elucidated the causes and effects of rotor heating in flywheel energy storage motors and analyzed methods for calculating rotor eddy current losses and temperature fields of the motor [75]. Wang addressed the problem of heat dissipation difficulties in flywheel energy storage permanent magnet synchronous motors by studying losses and temperature distribution using magnetic–thermal coupling methods and thermal simulation models to investigate factors affecting the cooling of key motor components [76].
In an FES engineering demonstration project, an RSM with a speed of 8000 rpm was developed in the project of Flywheel-Diesel UPS and charging 300 kW in 2017. The PMM with a power of 250 kW and speed of 10,500 rpm was successfully used in a UPS application in 2016. The low-speed PMM with a rated power of 1000 kW experienced 12,000 charging–discharging assessment tests in 2017 [77]. In 2023, a 500 kW PM motor and a 1000 kW PM motor for FES were developed by Huachi Kinetic Energy and Honghui Power individually in China. Heat dissipation of the rotor of permanent magnet motors operating in vacuum is a problem that still exists. Heat transfer through flowing fluid in the rotor shaft may be a solution, but more adequate theoretical research and experimental verification are necessary [75].
The design theory and method of permanent magnet motors are mature. The design of the motor for flywheel energy storage mainly adopts the stator core, winding, magnet, and a matching optimization to improve the power and efficiency. The challenge in motor design is to reduce the loss of the permanent magnet motor rotor and prevent the failure of the motor caused by high-temperature rise.
3.3. Bearing and Rotor Dynamics
Bearings were used to constrain the rotational axle of the shaft connecting the flywheel and the motor’s rotor. Rolling bearings, oil film bearings, permanent magnetic bearings, active magnetic bearings [78], and high-temperature superconductivity magnetic bearings (HTSMB) [79] are investigated in China. Bearing friction is responsible for the high idle loss of the flywheel, which is overcome by magnetic levitation without friction at the cost of active precision control. Bearing load and rotor dynamics of flywheel motor rotor shaft are also an important concern for smooth running with lower vibration. A large permanent ring was assembled from sector blocks to obtain a bearing load ability of 50 kN, as shown in Figure 4a. Figure 4b displayed the Halbach array ring of permanent repulsive bearing with a load of 100 kN.
Figure 4.
A 50–100 kN permanent magnetic bearing stator. (a) Permanent ring with sector blocks. (b) Halbach array magnetic ring.
Zhao provided the calculation formula for the bearing load and stiffness of the permanent bearing and the axial thrust electric magnet bearing [80]. The upper and lower dampers were designed with proper parameters to reinforce the stability of the flywheel bearing system [81,82]. The friction loss of the spiral groove cone bearing was compared to the idling loss experimental result in the test of a flywheel energy prototype [83].
All-coefficient adaptive control is designed to boost an AMB-suspended flywheel test rig [84]. The superconducting magnet bearing, together with the AMB, made the rotor run smoothly and suppressed the vibration [85]. An adaptive resonant controller was presented to compensate for the nonlinear dynamics in the amplifier [86]. The decoupling control method was used to decouple the radial translation modal and tilting modal, and the displacement cross-feedback was applied to restrain the vibration [87]. Wang proposed an adaptive imbalance compensation control algorithm based on imbalance coefficient identification to address the suppression of unbalanced vibrations in the electromagnetic bearing–rigid flywheel rotor system [88]. Liu et al. conducted an analysis and elimination study of power frequency interference in displacement detection signals within magnetic levitation flywheels [89]. They proposed a variable step-size algorithm for filtering and disturbance elimination, achieving real-time removal of power frequency interference. Liu Gai used the Maxwell tensor method to establish a mathematical model for a six-pole external rotor radial mixed magnetic bearing [90]. An improved particle swarm algorithm was employed to adjust three parameters of the expanded state observer, achieving better magnetic bearing control performance.
The hybrid magnetic bearing combining an electrical magnet, a permanent magnet, and a permanent magnet bias axial magnetic bearing was proposed to obtain lower loss [91]. Adopting the asymmetry gap produced a steady passive suspension force on the rotor and reduced the power loss by up to 98% [92]. Homopolar two-pole radial permanent-magnet biased magnetic bearing had lower rotating loss [93]. The loss of the heteropolar radial hybrid magnetic bearing (HRHMB) was 41.6% of the conventional eight-pole HRHMB [94]. To reduce bearing power consumption, Wang et al. proposed a structure for a hybrid permanent magnet and electromagnetic axial magnetic bearing. For obtaining axial displacement, they utilized low-cost Hall sensors to detect changes in air gap magnetic flux density as the air gap varies [95].
The action of the electrical–magnetic force of the motor plays an important role in the resonant vibration of the flywheel motor bearing system [96,97]. Considering the rotor eccentricity, the unbalanced magnetic force and the unbalanced Lorentz force were deduced [98]. The discharging power rate had a great impact on the amplitude/frequency performance at the resonance of the rotor-bearing system [99]. As for decreasing the damping of AMBs or increasing the stiffness, the 0.6 MW flywheel based on AMBs might get unstable [100]. The axial magnetic bearing and motoring function were combined into an integrated magnetic actuator with mechanical bearings for simple operation [101,102].
The upper and lower superconductivity magnetic bearings were used to stably levitate the flywheel rotor with a diameter of 200 mm and a weight of 1. 4 kg [103]. The effect of the size parameters, such as the gap between the superconductor and the permanent magnet, the radius of the superconductor and the permanent magnet, and the thickness of the permanent magnet on the levitation force, was researched [104]. An additional copper damper to the HTS magnetic bearing for better dynamic performance was studied under four different arrangements [105]. The HTSMB rotor shaft attached with a 25 kg flywheel disk could be speeded up to 15,000 rpm without serious resonant vibration [106]. The high-temperature superconducting magnetic bearing experimental system measurement parameters included the levitation forces, stiffness, time relaxation, and force in 3D space [107]. Sun et al. designed a high speed rotor for a 2 kWh/100 kW superconducting flywheel energy storage system. By coupling calculations between the flywheel rotor and superconducting bearings, they achieved high radial stiffness and optimized the structure of the permanent magnet auxiliary bearings [108].
A permanent magnetic bearing and a pivot jewel bearing in hybrid mode were used [109]. The pivot-jewel bearing proved to be a good solution to the spin test for the composite flywheel [110]. The magnetic pendulum-tuned mass damper (TMD) was developed to suppress the low-frequency vibration [111].
Touchdown bearings are necessary for active magnetic bearings. The dynamic behavior of the rotor falling on the protective touchdown bearings determines the safe release of the kinetic energy of the flywheel during braking. Jia analyzed the impact of contact parameters on the rubbing behavior of energy storage flywheel rotors, providing a basis for optimizing system contact parameters and enhancing system stability [112]. Ren et al. investigated the effects of contact stress on the dynamic characteristics of flywheel rotors. The results indicated that different interference fits significantly affect the modal characteristics of the rotor system. They also conducted a radial vibration analysis of a rigid flywheel rotor–foundation coupling system [113].
Permanent magnetic bearings, active magnetic bearings, and mechanical bearings were properly designed and demonstrated in FESSs, with more effort on superconductivity magnetic bearings in China. With the significant increase in the energy storage capacity of the flywheel, it is difficult to cope with the challenges of large impact loads of the rotor and continuous heavy-duty work with longer rotor deceleration time just by relying on the protection of the rolling bearing. The design of the magnetic levitation flywheel rotor to avoid falling should be the direction of efforts.
3.4. Motor Control and Power Electronics
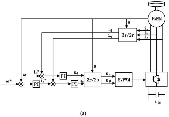
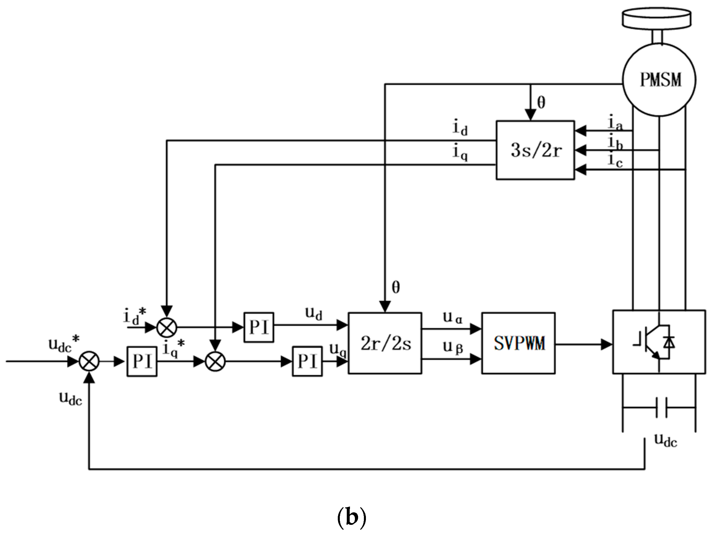
The power electronic devices with control stratagem make the motor speed up the flywheel and let the motor generate electricity in braking slowdown [114]. Figure 5 illustrates the control principle of the motor by power electronics. The boost circuit model and DC-AC inversion model for achieving fundamental frequency power supply were explained [115]. A voltage stabilization and boosting rectifier closed-loop control was necessary in most cases [116,117]. Voltage-type PWM rectifier topology was used to enhance the utilization operating efficiency and obtain lower switching loss [118]. Six-step regenerative braking control changed the switching table, doubled the rising rate of the commutation current, and reduced the pulsating torque for high speed brushless direct current motors [119]. The standard chain-type structure was derived by coordinate change and feedback compensation, and the passivity control scheme was obtained [120]. The overlapping commutation with PWM was used to reduce the current and the torque ripple during the commutation interval in the high speed range [121].

Figure 5.
Charging and discharging principles of motor-power electronic system: (a) charging and (b) discharging.
Automation control theory and algorithm provided plentiful methods for current and voltage regulation in motor-converter systems. An improved algorithm self-adaptive single neuron PID controller [122,123] and feedforward–feedback control [124] algorithm was presented. The sliding mode control method was used in the outer voltage loop, and a current-limiting segment was added to guarantee the security and stability of the discharging circuit [125]. A model-independent controller based on the active disturbance rejection control technique was employed to estimate and compensate for the model uncertainties and disturbances in real time [126]. To estimate rotor position and compensate for measurement noise and disturbances, a two-step extended sliding-mode observer method was proposed and verified by the experimental result [127]. Xiang proposed a composite control model to enhance response speed and output voltage accuracy [128]. To improve the power factor of the motor, Liu employed a space voltage vector modulation direct torque control method, using the stator magnetic flux as the control variable to achieve basic stability of the DC-side voltage under varying speed and load conditions [129].
Current is the core of a motor driven by power electronics. A current prediction control scheme was employed to reduce the commutation torque ripple [130]. A decoupling algorithm was added to the inner current loop to erase the influence of cross-coupled voltage [131]. The load current and rotor speed were compensated to the nonlinear outer DC bus voltage loop, and the feedforward decoupling game was also utilized in the inner current loop to realize the independent current control [132]. To solve the problem of id and iq of the permanent magnet synchronous machine in large overshoot and oscillation during the regenerative braking process, the complex current regulator demonstrated an improving response compared with the other regulators [133].
Zeng proposed a modulation ratio-based closed-loop generation control method for asynchronous motors and conducted experiments on a flywheel energy storage simulation platform, validating the effectiveness and accuracy of the modulation ratio closed-loop generation control method [134]. Chen proposed a discharge control strategy for the flywheel energy storage system that accounts for total power loss estimation and rotational speed feedforward compensation [135]. This strategy required fewer adjustment parameters, did not need current sensors on the load side, and featured a simple control structure. Zhang employed a high-speed flywheel energy storage system (FESS) charge–discharge control method based on the DC traction network voltage to achieve effective operation of the FESS in the subway traction power supply system [136]. Xu et al. divided the grid-connected flywheel energy storage system into three modules for small-signal modeling [137]. Through parameter root locus analysis, they explored the coordination rules between virtual rotational inertia and the equivalent rotational inertia of the flywheel energy storage system. Li focused on the midpoint voltage balance and imbalance control under five-level voltage conditions and found that parallel operation expanded power capacity, and alternating operation improved harmonic characteristics [138].
Motor converters are characterized by a wide frequency range and electric and reversible operation of power generation. The main power circuit technology is mature, and the main research is the conversion control algorithm. China has successfully developed MW-class motor converters for flywheel energy storage systems.
4. FES System
As shown in Figure 6, an integration flywheel energy storage system includes a flywheel, motor, bearing, inverter, and assistant devices such as a chamber, monitoring instrument, cooling equipment, and vacuum bump. The assistant devices are fatal to FES integration, efficiency, safety, and reliability. The windage loss of a composite flywheel in a vacuum chamber was calculated. If the pressure is lower than 0.1 Pa, the windage loss is very small, and the windage loss could be omitted if the pressure of the chamber is lower than 0.01 Pa [139]. To improve energy efficiency, the motor power should be high and short of charging–discharging with a short idling period [140]. An interior molecular pump of flywheel energy storage devices was designed using computational fluid dynamics method to analyze its vacuuming performance [141].
Figure 6.
Integration flywheel energy storage system.
It was stated by experiment that prototype B (cup-shaped winding BLDCM and permanent magnet bias AMB) only needs input power of 10 W when it runs at a speed of 25,974 r/min, compared with 20 W for prototype A (normal BLDCM and AMB) at the same operating state [142]. An FESS prototype based on an HTS Maglev bearing, with a maximal power level of 100 kW and a maximal energy storage capacity of 5 kWh [143]. A 1 MW FES was developed to store the braking energy in a run-in hole and release pulse power to the load leveling motor in the hybrid power system for the oil rig. A 250 kW/7 MJ flywheel for the UPS power system was developed [144]. Yu et al. used potting and bonding techniques to establish two superconducting stators and conducted levitation tests. Their study indicated that using a combined bearing system to limit rotor vibration amplitude was an effective method for improving system speed and mechanical stability [145].
Liu analyzed the braking methods and energy consumption characteristics of trains during station approaches and provided a comparison of energy consumption before and after the addition of energy storage devices [146]. Sui simulated the complementary and coordinated operation of flywheel energy storage systems and conventional thermal power units in a regional power grid [147]. The results indicated that using the flywheel energy storage system to assist coal-fired units in frequency regulation not only significantly improved frequency regulation quality but also reduced turbine output power fluctuations.
As shown in Table 1 and Figure 7, in the past twenty 20 years, a lot of FESUs were built for experimental tests or demonstration applications in practical engineering [148]. Technical problems were found during the test and operation, and the solution of these technical problems quickly promoted the progress of China’s flywheel energy storage technology.
Table 1.
Some FES prototypes or products in China.
Figure 7.
Flywheel energy storage unit and array built in China: (a) 500 kw/50 kWh FESU, 2023, and (b) 20 MW Flywheels Array, 2023.
5. Application
5.1. Wind and Solar Energy
The flywheel energy storage systems act as power smoothing and voltage regulating parts in wind and solar energy systems with an inherent intermittent nature. The power quality and stability of wind power generation were enhanced by flywheel energy storage [149]. The relationship between the “disturbance current” and the stator current was analyzed for the balance of the power on the DC link side and the electromotor side [150]. A fuzzy neural network control strategy was used to regulate DC bus voltage in the wind power generation system combined with flywheel energy storage [151]. The control algorithm of the full power back-to-back modulating pulse-width converter of the permanent magnet synchronous generator was analyzed to smooth the active power of the wind power generator [152]. According to the structure and control targets of the wind generator and multi-functional flexible power conditioner with an FES system with a doubly fed induction motor, the control tactics were proposed to regulate the active power of the system using fuzzy logic inference [153].
The master and slave controllers in the upper and lower levels had better performance in sending or switching orders to operate the cooperated FES matrix system with the wind power system [154]. The synthesized DC-link voltage and power auxiliary control of the FES system to non-grid-connected wind power ensured steady output power to the whole system when some faults happened in the DC-link [155]. Checking the grid power difference and making it as the reference of the power of FESU for PMSG system smooth output, the small signal model of double loops of power and circuit control system was built up to maintain the stable operation of the power system under the small disturbance conditions [156] (see Figure 8). A neural-adaptive proportional integration derivative (PID) control strategy using the Lyapunov stability theory was developed to control each flywheel cooperated and stable operation [157]. For grid frequency regulation application, a fuzzy proportional derivative controller of the FES unit was designed for a 2 MW wind power generation system with a 400 kW FES unit [158].
Figure 8.
Simulink model of the control of FES and wind power system.
The hybrid energy storage system (HESS) works better for smoothing wind power oscillations rather than the unitary energy storage system. Wind power fluctuates in different frequencies, which are separated into high and low frequencies. The low frequency power can be regulated by compressed air energy storage, and the high frequency power can be responded to by the FESS [159]. A steady power output of 24.18 MW was realized by HESS in the wind power fluctuation within 0–49.5 MW in a simulation [160]. A hybrid energy storage system combining the FES with a lead-acid battery was proposed for the wind power generation system [161]. The fluctuation for the photovoltaic–flywheel system was 6.5% that of the photovoltaic system without FES [162] (seeing Figure 9).
Figure 9.
FES application in PV power.
Regarding wind power regulation, Zhang employed an improved droop control strategy at both the unit and system levels to achieve stable bus voltage control for a hybrid energy storage system combining flywheel storage with lithium iron phosphate batteries [163]. Xu developed a two-layer optimization model and optimized the capacity of the flywheel energy storage system to meet system constraints, wind power grid integration active power fluctuation requirements, and economic indicators [164]. At the Qinghai Xining Yunjia Kou Wind-Solar Storage Demonstration Base, a MW-level advanced flywheel energy storage array grid-connected control demonstration project was tested. The project successfully achieved 300 charge–discharge cycles in a single day and over 2000 cumulative cycles with the 1 MW flywheel array [165]. The project consists of a hybrid energy storage system made up of three 1 MW flywheel arrays and 3 MW of lithium batteries, providing frequency regulation and auxiliary services for the 99 MW wind farm in Erlianhaot [166]. Li proposed a primary frequency regulation energy storage system composed of three different types of new power storage technologies: lithium titanate batteries, flywheel energy storage, and supercapacitors [167].
5.2. Grid
The high power and fast response ability of FES make it suitable for solving grid power quality problems, for instance, voltage flicker or sag. When the transient faults occur in the main grid, a large amount of power can be provided to the microgrid by the FESS for a short time, keeping most of the load normally working to wait for the reclosing of the main grid, which can improve the anti-disaster ability of the microgrid [168].
The parallel topology, series topology, and the determination of phase angle were analyzed for the FES converter of the dynamic voltage restorer (DVR) [169]. Controlling the voltage of the DC bus with the FES unit and load compensating voltage sag in the distribution network worked effectively [170]. Flywheel energy storage devices could increase the momentum of renewable energy power generation systems and suppress the low frequency oscillations by the phase compensation method [171,172]. Combining the chaos algorithm and annealing algorithm into an improved particle swarm optimization (IPSO) improved FESS-based stabilizers and power system stabilizers (PSS) [173]. Using the improved particle swarm optimization (IPSO) algorithm, the simulation on a four-machine power system indicated that the single FESS had the ability of damping power system multi-modes [174]. Parallel operation of flywheel energy storage units had large power and energy enough to be used for grid frequency regulation in renewable energy generation [175]. The economic analysis and evaluation of the flywheel energy storage for the power grid frequency regulation showed that the more running actual utilizing of the set power, the higher the benefit/cost ratio is, which could be up to 1.97 [176].
The China Railway Beijing Group conducted an energy recovery and comprehensive power quality management test based on a 2 MW flywheel energy storage system (consisting of six 333 kW/3.61 kWh units in parallel) at a traction substation. The results indicated improvements in power quality indicators such as voltage fluctuation, voltage imbalance, and total harmonic distortion. The system recovered 20% of the braking energy and reduced the substation’s capacity requirements [177]. At the Wannianquan Road Station on Qingdao Metro Line 3, two 1 MW flywheel energy storage units were successfully installed, commissioned, and grid-connected [178].
Liu developed a combined thermal and storage model to analyze the frequency regulation capability of a thermal powerand flywheel hybrid system. The results showed that the proposed method effectively improves the unit’s frequency regulation performance by utilizing different discharge times depending on the state of the flywheel energy storage, thereby enhancing the unit’s quantifiable metrics of the unit [179]. For the case of load variations of 360–1000 MW at a certain power plant, the optimal capacity configuration of 3.6 MW and 0.03 MWh yielded an integral energy contribution index greater than 0.7, improved the frequency compliance rate from 94% to 99%, and resulted in an investment payback period of 4.3 years [180]. Liang proposed a control scheme for coordinated frequency regulation of large-scale flywheel energy storage groups coupled with the 600 MW thermal power units based on engineering practice. The FES array improved the primary frequency regulation compliance rate by 21.26% [181]. The 5 MW/175 kWh flywheel energy storage project, supported technically by Candela New Energy, passed the primary frequency regulation field test conducted by the Henan Electric Power Research Institute [182].
5.3. Independent Power System
The flywheel energy storage and diesel generators in the microgrid are feasible and efficient and can improve the anti-accident ability of the microgrid [183]. The optimized control method of FESS was designed and applied for the oil rig, in which the flywheel stored the excess energy in light load operating and released energy when the power unit was overloaded [184] (seeing Figure 10). The test data of rig trip in peak regulation showed that the 400 kW/16 MJ flywheel energy storing and power peak shaving system could rapidly respond to load changes and reduce the rotary speed drop of diesel engines by 50% under the impact load [185]. The FESS is quite suitable for hybrid electric vehicles in braking energy recovery [186].
Figure 10.
Potential energy regenerating and load leveling of oil drilling rig.
The flywheel energy storage systems can be used for stability design in high power impulse load in independent power systems [187,188]. A combined closed-loop based on the genetic algorithm with a forward-feed control system with fast response and steady accuracy is designed [189]. The six-step inverter drive strategy is presented for the inductor pulsed alternator [190]. The power distribution strategy is proposed for the hybrid energy storage system in marine micro gas turbine power systems, utilizing variational mode decomposition (VMD) and fuzzy control strategies [191]. This approach reduced the maximum fluctuation of the DC bus voltage caused by pulsed load switching by 6.4%.
5.4. Ride-Through UPS
In the United States, flywheel energy storage was a mature technology in the field of dynamic uninterruptible power supply for around 2000 years. An uninterruptable power source (UPS) prototype was developed using flywheel energy storage. To keep the constant DC bus voltage in the generating mode under motor speed down condition, through boosting from motor inductance. The experiment results show that the UPS has good characteristics and dynamic response [192].
5.5. Aerospace
NASA has led many aerospace flywheel energy storage project research, which has strongly promoted flywheel energy storage technology in the United States. The single-axis attitude control and energy storage system with two counter-rotating flywheels was designed for demonstration experiments, and the attitude control was decoupled from DC bus voltage [193]. The energy storage and release could be realized with double flywheels during the angle regulation, which verified the feasibility and effectiveness of the control scheme of IPACS [174]. A management scheme for energy storage power balance was discussed [194].
6. Key Technologies and Further Prospects
6.1. Flywheels
Basic research on composite flywheels with an energy storage capacity of more than 30 kWh is not sufficient to support their industrial applications. The manufacturing process of large composite flywheels is not well studied yet. The creep of the flywheel in use poses a challenge to the stability of the magnetic levitation rotor. Composite flywheels with a capacity of more than 10 kWh will be used in FES in the future. More efforts should be devoted to the winding tension control of the fiber-reinforced composite and the enhancement evaluation of the flywheel. The test data of fatigue life composite flywheels in speed up–down cycling are necessary for safety assessment.
In China, the energy density of alloy steel flywheels, which are more widely used in engineering, is 6–13 Wh/kg, which is only 25–40% of that of composite flywheels, and a thicker protective shell needs to be set, so the flywheel energy storage system is heavier. Forging, quenching, and tempering of steel flywheel in a capacity of 100 kWh with a large size is vital to guarantee high strength, especially in the core part of the flywheel. In view of the mechanical characteristics of flywheel variable speed service, the fatigue life evaluation of alloy steel materials needs to be further studied and verified, and crack defect control in alloy steel manufacturing is crucial.
6.2. Motors
High speed PMM or RSM with a capacity of 500–1000 kW in a maximum speed of 6000–15,000 rpm (higher speed but lower power) exhibits the advantage of high power for FES. It is difficult to accurately calculate the eddy current loss of the motor rotor or observe its temperature rise. The lower loss is realized through innovative stator and rotor configuration, optimizing magnetic flux and winding arrangement for harmonic magnetic field suppression. Considering the unfavorable factors of high-frequency eddy current loss, it is advisable to use medium frequency drive for high-power motors.
The heat dissipation problem of the rotor of a high-power permanent magnet motor running in a vacuum requires in-depth research. It is a feasible way to pass a heat transfer fluid into the rotor shaft of the motor to cool the rotor. Further research on the flow of fluids entering the rotating shaft is needed. We designed a structure in which fluid can circulate in the guide tube and in the hollow shaft in a vacuum environment.
6.3. Bearings
Hybrid bearings or onefold bearings such as ball bearings, permanent bearings, and active magnetic bearings are designed to run for long life at the speed of 6000–15,000 rpm and a bear load of 500–10,000 kg. The stable control of high speed AMB supporting large flywheel is difficult. The HTSMB FES system with a weight of 100–500 kg will be built for demonstration.
The challenge in bearing, rotor dynamics, and backup bearing design is how to ensure the safe and smooth deceleration of the rotor shafting in the event of AMB failure and how to quickly release its kinetic energy with the support of an emergency braking system.
7. Conclusions
The progress in the past 30 years of research in China supported the industry development that started in the last ten years. The fruitful progress in terms of the flywheel, bearing, motor, power electronics, and system integration was obtained in universities, institutes, and companies.
It was reported that the highest experiment composite flywheel tip speed arrived at 900 m/s, the maximum motor power was 1000 kW, and the largest energy stored was 125 kWh. The 250 kW/7 MJ active magnetic bearing flywheel for UPS application was produced in small batches. A total of 500 kW/125 kWh FESUs were used in the flywheel array power station in 2023. The HTSMB is a hot spot, but only small prototypes have been built. There are many simulations on wind power applications with FESs, though engineering practices are rare, which is in urgent need of expansion.
In the future, more efforts will be devoted to the R&D of 50–100 kWh steel flywheel, 500–1000 kW high speed PMM or RSM motor/generator, and HTSMB for FES. For short time duration but large power applications, the frequency regulation and power quality in the grid are the best choices for FES in China. Several corporations are devoted to such development. It is expected that the FES demonstration application power stations with a total cumulative capacity of 300 MW will be built in the next five years.
Author Contributions
Conceptualization, X.D. and X.M.; methodology, D.H.; formal analysis, D.H.; investigation, X.M. and D.H.; data curation, X.M. and J.D.; writing—original draft preparation, X.D. and D.H.; writing—review and editing, H.C.; supervision, H.C.; project administration, X.M.; funding acquisition, X.M. and J.D. All authors have read and agreed to the published version of the manuscript.
Funding
This work was supported by the National Key R&D Program of China under Grant number 2023YFB2406300; Major Science and Technology Projects in Inner Mongolia Autonomous Region; and Research on High Energy Storage Flywheel Rotor and Magnetic Bearing Technology, funding number 2020ZD0017-1.
Data Availability Statement
The raw data supporting the conclusions of this article will be made available by the authors on request.
Conflicts of Interest
Author Xiaoting Ma was employed by the company Xi’an XD Power System Co., Ltd., and author Jibing Duan was employed by the company CNNP Huihai Wind Power Investment Co., Ltd. The remaining authors declare that the research was conducted in the absence of any commercial or financial relationships that could be construed as a potential conflict of interest.
References
- Wang, S.; Lai, X.; Cheng, S. An analysis of prospects for application of large-scale energy storage technology in power systems. Autom. Electr. Power Syst. 2013, 37, 3–8. [Google Scholar]
- Amiryar, M.; Pullen, K. A review of flywheel energy storage system technologies and their applications. Appl. Sci. 2017, 7, 286. [Google Scholar] [CrossRef]
- Dai, X.; Deng, Z.; Liu, G.; Tang, X.; Zhang, F. Review on advanced flywheel energy storage system with large scale. Trans. China Electrotech. Soc. 2011, 26, 133–140. [Google Scholar]
- Rupp, A.; Baier, H.; Mertiny, P.; Secanell, M. Analysis of a flywheel energy storage system for light rail transit. Energy 2016, 107, 625–638. [Google Scholar] [CrossRef]
- Hedlund, M.; Lundin, J.; de Santiago, J.; Abrahamsson, J. Flywheel energy storage for automotive applications. Energies 2015, 8, 10636–10663. [Google Scholar] [CrossRef]
- Lappas, V.; Riche, D.; Hall, C.; Fausz, J.; Wilson, B. Survey of technology developments in flywheel attitude control and energy storage systems. J. Guid. Control Dyn. 2009, 32, 354–365. [Google Scholar] [CrossRef]
- Dai, X.; Wei, K.; Zhang, X.; Jiang, X.; Zhang, K. A review on flywheel energy storage technology in fifty years. Energy Storage Sci. Technol. 2018, 7, 765–782. [Google Scholar]
- Mao, Z. Feasibility study of flywheel energy storage in solar power generation. Adv. Technol. Electr. Eng. Energy 1983, 1, 36–39. [Google Scholar]
- Genta, G. Kinetic Energy Storage: Theory and Practice of Advanced Flywheel Systems; Butterworth and Co. Ltd.: Oxford, UK, 1985. [Google Scholar]
- Li, X.; Palazzolo, A. A review of flywheel energy storage systems: State of the art and opportunities. J. Energy Storage 2022, 46, 103576. [Google Scholar] [CrossRef]
- Xu, K.; Guo, Y.; Lei, G.; Zhu, J. A review of flywheel energy storage system technologies. Energies 2023, 16, 6462. [Google Scholar] [CrossRef]
- Takarli, R.; Amini, A.; Khajueezadeh, M.; Zarbil, M.S.; Vahedi, A.; Kiyoumarsi, A.; Tarzamni, H.; Kyyra, J. A comprehensive review on flywheel energy storage systems: Survey on electrical machines, power electronics converters, and control systems. IEEE Access 2023, 11, 81224–81255. [Google Scholar] [CrossRef]
- Li, A. An analysis of design for flywheel energy storage system. Act Energiae Solaris Sin. 1982, 3, 43–51. [Google Scholar]
- Liu, J.; Wang, M. The application of flywheel energy storage in hydraulic press. Forg. Stamp. Technol. 1988, 3, 50–53. [Google Scholar]
- Zhang, J.; Chen, Z.; Yang, Y. The application of flywheel energy storage in Grid. Electr. Power Sci. Eng. 1997, 3, 4–7. [Google Scholar]
- Wu, G.; Chen, L.; Wang, G. Method of the modern dynamic design and analysis for high-speed energy storage flywheel. J. Mech. Eng. 1997, 33, 32–37. [Google Scholar]
- Cao, B. Energy conversion unit of flywheel energy storage system. Adv. Technol. Electr. Eng. Energy 1997, 4, 33–35. [Google Scholar]
- Wang, J.; Wu, X.; Zhou, L. High temperature superconducting magnetic levitation and flywheel energy storage. Physics 1997, 26, 226–232. [Google Scholar]
- Jin, N.; Xia, P. Flywheel electrical energy storage system. Electrotech. Appl. 1997, 1, 37–39. [Google Scholar]
- Ye, H.; Lin, L.; Jing, B.; Xia, P. The test research of vertical rotational structure of magnetic levitation with high Tc superconductors and permanent Magnets. Electrotech. Appl. 1999, 1, 17–19. [Google Scholar]
- Jiang, S.; Wei, H.; Shen, Z. Rotor dynamics of flywheel energy storage system. J. Vib. Eng. 2002, 15, 404–409. [Google Scholar]
- Wang, Z.; Xie, H.; Chen, B. Review on the flywheel energy storage with superconductivity magnetic bearings. Electr. Power Sci. Eng. 2000, 3, 1–4. [Google Scholar]
- Wei, H.; Dai, X.; Zhang, L.; Shen, Z. Recent advances in flywheel energy storage system. Acta Energiae Solaris Sin. 2002, 23, 748–753. [Google Scholar]
- Qin, Y.; Xia, Y.; Mao, T. Simplified initial stress analysis of composite flywheel in tension winding. Acta Mater. Compos. Sin. 2003, 20, 87–91. [Google Scholar]
- Tang, J.; Zhang, Y.; Ge, S.; Zhao, L. Hollow interference fitted multi-ring composite rotor of the superconducting attitude control and energy storage flywheel. J. Reinf. Plast. Compos. 2013, 32, 881–897. [Google Scholar] [CrossRef]
- Li, W.; Shen, Z. Composite material flywheel structure and energy-storing density. Acta Energiae Solaris Sin. 2001, 22, 96–101. [Google Scholar]
- Li, S.; Xu, C.; Wu, Y. Optimization of carbon fiber composite flywheel rotor. China Pet. Mach. 2003, 31, 20–23. [Google Scholar]
- Lin, Q.; Chen, H.; Tao, X. Investigation of technology enhancing flywheel by residual stress. J. Mech. Strength 2001, 23, 114–116. [Google Scholar]
- Yan, Y.; Zhang, H.; Liu, H. Study on the laminated structure of composites flywheel rotor for energy storage system. Fiber Compos. 2004, 3, 20–24. [Google Scholar]
- Qin, Y.; Xia, Y.; Mao, T. Analyses of the centrifugal stress of multi-ring intermixing composite flywheel. Acta Mater. Compos. Sin. 2004, 21, 157–161. [Google Scholar]
- Qin, Y.; Xia, Y.; Mao, T. Simplified and fine analyses of the full deformation and stress of pressfit of the hollow multi-ring composite flywheel. Acta Mater. Compos. Sin. 2003, 20, 95–99. [Google Scholar]
- Qiu, Z.; Zhang, W.; Zhang, H.; Zhang, J. 3D FEM strength analysis of composite flywheels for storing energy. J. Zhengzhou Univ. (Eng. Sci.) 2002, 34, 55–59. [Google Scholar]
- Dai, X.; Li, Y.; Yu, H. Design of high specific energy density flywheel. J. Tsinghua Univ. (Sci. Tech.) 2008, 48, 378–381. [Google Scholar]
- Zhang, X.; He, L.; Li, G.; Yang, L. Design of composite material energy storage flywheel rotor. Machinery 2012, 39, 33–35. [Google Scholar]
- Song, J.; Wang, J.; Luo, H.; Fan, X.; Gui, L. Study on the performance of stretching mechanics of carbon fiber reinforced composite ring. Compos. Sci. Eng. 2021, 6, 65–71. [Google Scholar]
- Chen, X.; Li, Y.; Huan, D.; Liu, H.; Li, L.; Li, Y. Influence of filament winding tension on the deformation of composite flywheel rotors with H-shaped hubs. Polymers 2022, 14, 1155. [Google Scholar] [CrossRef]
- Wang, Z.; Qu, W.; Wang, Y.; Qin, R.; Liu, Y. Simulation and stress analysis of large capacity composite flywheel rotor. Energy Storage Sci. Technol. 2023, 12, 669–675. [Google Scholar]
- Yang, C.; Ma, L.; Wang, Z. Determination of the limiting rotational speed of energy storage composite flywheel based on strength. J. Wuhan Univ. Technol. 2002, 24, 53–56. [Google Scholar]
- Zhao, L.; Zhang, J.; Gao, C.; Han, B.; Fang, J. Research on structural reliability design method for flywheel rotor structure of IPACS. J. Astronaut. 2006, 27, 942–946. [Google Scholar]
- Liu, H. Study on the Damage and Fracture of the Composite Flywheel by the Acoustic Emission Method. Ph.D. Thesis, Technical University Wuhan, Wuhan, China, 2005. [Google Scholar]
- Ding, S.; Li, Y.; Dai, X. Structural finite element analysis and spin tests of energy storage flywheel. Mech. Sci. Technol. Aerosp. Eng. 2008, 27, 301–304. [Google Scholar]
- Wang, Y.; Dai, X.; Wei, K.; Guo, X. Progressive failure behavior of composite flywheels stacked from annular plain profiling woven fabric for energy storage. Compos. Struct. 2018, 194, 377–387. [Google Scholar] [CrossRef]
- Wang, Z.; Tan, T.; Zhou, S.; Xu, K. An HB Structural optimization design about magnetic suspension energy storage flywheel based on PSO algorithm. Mech. Eng. Autom. 2013, 5, 7–9. [Google Scholar] [CrossRef]
- Wen, S.; Jiang, S. Optimum design of hybrid composite multi-ring flywheel rotor based on displacement method. Compos. Sci. Technol. 2012, 72, 982–988. [Google Scholar] [CrossRef]
- Jiang, L.; Zhang, W.; Ma, G.; Wu, C. Shape optimization of energy storage flywheel rotor. Struc. Multidiscip. Opt. 2017, 55, 739–750. [Google Scholar] [CrossRef]
- Wang, J.; Dai, X.; Xu, Y.; Pi, Z. Optimization design of a high-speed flywheel for energy storage with a mandrel hub assembly. Energy Storage Sci. Technol. 2020, 9, 1806–1811. [Google Scholar]
- Dai, X.; Hu, D.; Zhang, Z.; Chen, H.; Zhu, Y. Analysis and application of high strength alloy steel flywheel structure and material. Energy Storage Sci. Technol. 2021, 10, 1667–1673. [Google Scholar]
- Zhou, C. Research on the Dynamic Characteristics of Large-Capacity Energy Storage Flywheel Rotor-Support System. Ph.D. Thesis, North China Electric Power University, Beijing, China, 2022. [Google Scholar]
- Hu, D.; Dai, X.; Li, W.; Zhu, Y.; Hai, S.; Zhi, L. A review of flywheel energy storage rotor materials and structures. J. Energy Storage 2023, 74, 109076. [Google Scholar]
- Yang, J.; Ye, C.; Liang, X.; Xu, W.; Xiong, F.; Xiang, Y.; Li, W. Investigation of a two-dimensional analytical model of the homopolar inductor alternator. IEEE Trans. App. Supercond. 2018, 28, 5205205. [Google Scholar] [CrossRef]
- Hong, C.; Huang, W.; Hu, Z. Calculation methods of equivalent circuit parameters for a dual stator solid rotor axial flux induction motor. IET Renew. Power Gener. 2018, 12, 1977–1983. [Google Scholar] [CrossRef]
- Hong, C.; Huang, W.; Hu, Z. Performance calculation of a dual stator solid rotor axial flux induction motor using the multi-slice and multi-layer method. IEEE Trans. Magn. 2019, 55, 8568993. [Google Scholar] [CrossRef]
- Xu, Y.; Zhao, J.; Fang, J. Analysis and design of coreless permanent magnet brushless DC machine in high-speed energy storage flywheel application. Trans. China Electrotech. Soc. 2004, 19, 24–28. [Google Scholar]
- Yu, Y.; Wang, Y.; Zhang, G.; Sun, F. Analysis of the comprehensive physical field for a new flywheel energy storage motor/generator on ships. J. Marine Sci. Appl. 2012, 11, 134–142. [Google Scholar] [CrossRef]
- Sun, X.; Su, B.; Wang, S.; Yang, Z.; Lei, G.; Zhu, J.; Guo, Y. Performance analysis of suspension force and torque in an IBPMSM with V-Shaped PMs for flywheel batteries. IEEE Trans. Magn. 2018, 54, 8382697. [Google Scholar] [CrossRef]
- Yuan, Y.; Sun, Y.; Huang, Y. Accurate mathematical model of bearingless flywheel motor based on Maxwell tensor method. Electron. Lett. 2016, 52, 950–952. [Google Scholar] [CrossRef]
- Zhu, H.; Lu, R. Design and analysis of novel bearingless permanent magnet synchronous motor for flywheel energy storage system. Prog. in Electromagn. Res. M 2016, 51, 147–156. [Google Scholar] [CrossRef]
- Yuan, Y.; Sun, Y.; Huang, Y. Radial force dynamic current compensation method of single winding bearingless flywheel motor. IET Power Electron. 2015, 8, 1224–1229. [Google Scholar] [CrossRef]
- Sun, Y.; Chen, J.; Yuan, Y. Analysis and optimization of loss of high speed PMSM for flywheel energy storage. Micromotors 2021, 54, 19–22+79. [Google Scholar]
- Shen, S.; Zhu, H. Optimization design of outer rotor coreless bearingless permanent magnet synchronous motor. Micromotors 2021, 54, 20–26. [Google Scholar]
- Tian, Z.; Zhu, C.; Wang, D. Rotor eddy current loss in high speed permanent magnet motor for flywheel energy storage system. J. Zhejiang Univ. (Eng. Sci.) 2011, 45, 451–457. [Google Scholar]
- Zhao, J.; Gu, Z.; Li, B.; Liu, X.; Li, X.; Chen, Z. Research on the torque and back EMF performance of a high speed PMSM used for flywheel energy storage. Energies 2015, 8, 2867–2888. [Google Scholar] [CrossRef]
- Liu, K.; Fu, X.; Lin, M.; Tai, L. AC copper losses analysis of the ironless brushless DC motor used in a flywheel energy storage system. IEEE Trans. Appl. Supercond. 2016, 26, 7551122. [Google Scholar] [CrossRef]
- Liu, K.; Yin, M.; Hua, W.; Ma, Z.; Lin, M.; Kong, Y. Design and optimization of an external rotor ironless BLDCM used in a flywheel energy storage system. IEEE Trans. Magn. 2018, 54, 8392526. [Google Scholar] [CrossRef]
- Sun, Y.; Zhang, B.; Yuan, Y. Multi-Obiective optimal design of single winding bearingless switched reluctance motor for flywheel energy storage. Electr. Mach. Control Appl. 2018, 45, 53–58. [Google Scholar]
- Cheng, C.; Lin, Q.; Zhang, Z. Simulation design of permanent magnetic structure in a HTS maglev energy storage and attitude control flywheel. J. Rocket. Propuls. 2019, 45, 36–41. [Google Scholar]
- Zhu, Z.; Guo, X.; Jang, Y.; Sun, Y.; Chen, M. Decoupling design and analysis of an axial split phase permanent magnet bearingless Flywheel Machine. Proc. CSEE 2019, 39, 7366–7374. [Google Scholar]
- Wang, P.; Shi, L. Analysis of structural parameters for dual-rotor induction motors used in energy storage drives. Adv. Technol. Electr. Eng. Energy 2020, 39, 1–9. [Google Scholar]
- Chen, Y.; Zang, B. Analysis of alternating flux density harmonics inside the rotor of a 1 MW high-speed interior permanent magnet synchronous machine used for flywheel energy storage systems. J. Energy Storage 2022, 55, 105664. [Google Scholar] [CrossRef]
- Lv, D.; Lv, Q.; Li, Y.; Zhou, Y.; Zhen, J.; Chen, H. The design and optimization of highspeed permanent magnet machines for maglev flywheel energy storage system. Large Electr. Mach. Hydraul. Turbine 2022, 2, 6–12. [Google Scholar]
- Jian, C.; Meng, K.; Zhou, R.; Hai, R.; Jia, D. Optimization of air gap flux density waveform of permanent magnet synchronous motor for flywheel energy storage. China Sci. Pap. 2023, 18, 927–934. [Google Scholar]
- Wang, H.; Liu, K.; Yu, X.; Ao, P.; Zhang, Z. Design, analysis, and testing of a novel permanent magnet compulsator. IEEE Trans Plasma Sci. 2015, 43, 1040–1080. [Google Scholar] [CrossRef]
- Wang, H.; Liu, K.; Zhu, B.; Feng, J.; Ao, P.; Zhang, Z. Analytical investigation and scaled prototype tests of a novel permanent magnet compulsator. IEEE Trans. Magn. 2015, 51, 7065239. [Google Scholar]
- Ye, C.; Yang, J.; Xu, W.; Xiong, F.; Liang, X. A novel multi-unit out-rotor homopolar inductor machine for flywheel energy storage system. IEEE Trans. Magn. 2018, 54, 8370229. [Google Scholar] [CrossRef]
- Jiao, Y.; Wang, Y.; Dai, X.; Zhang, H.; Chen, H. Overview of the motor/generator rotor cooling system in a flywheel energy storage system. Energy Storage Sci. Technol. 2023, 12, 3131–3144. [Google Scholar]
- Wang, C.; Bai, G.; Zhang, Y. Temperature field analysis of permanent magnet synchronous motor for flywheel energy storage. J. Chongqing Univ. Technol. (Nat. Sci.) 2024, 38, 148–153. [Google Scholar]
- Dai, X.; Jiang, X.; Wang, Q.; Wang, Y.; Wang, S. The design and testing of a 1 MW/60 MJ flywheel energy storage power system. Trans. China Electrotech. Soc. 2017, 32, 169–175. [Google Scholar]
- Zhang, Y.; Jiang, S. Dynamics analysis of active magnetic suspension flywheel. Acta Energiae Solaris Sin. 2004, 25, 254–258. [Google Scholar]
- Deng, Z.; Wang, J.; Wang, S.; Zheng, J.; Ma, G.; Lin, Q.; Zhang, Y. Status of high Tc superconducting flywheel nergy storage system. Trans. China Electrotech. Soc. 2008, 23, 1–10. [Google Scholar]
- Zhao, H.; Yang, Z. Study on design of flywheel energy storage device. Acta Energiae Solaris Sin. 2002, 23, 493–497. [Google Scholar]
- Dai, X.; Wei, H.; Shen, Z. Study on whirl modal damping of energy storage flywheel-bearing system. J. Vib. Eng. 2002, 15, 98–101. [Google Scholar]
- Dai, X.; Wei, H.; Shen, Z. Dynamics design and experiment study of the rotor bearing system of a flywheel energy storage system. Chin. J. Mech. Eng. 2003, 39, 97–101. [Google Scholar] [CrossRef]
- Dong, Z.; Dai, X.; Li, Y.L. Idling loss of flywheel energy storage system supported by spiral groove cone bearings. Mech. Sci. Technol. 2006, 25, 1434–1437. [Google Scholar]
- Lu, X.; Di, L.; Lin, Z.; Hu, Y.; Wu, H. Characteristic model based all-coefficient adaptive control of an AMB suspended energy storage flywheel test rig. Sci. China Inf. Sci. 2018, 61, 112204. [Google Scholar] [CrossRef]
- Tang, J.; Fang, J.; Wen, W. Superconducting magnetic bearings and active magnetic bearings in attitude control and energy storage flywheel for spacecraft. IEEE Trans. Appl. Supercond. 2012, 22, 6328305. [Google Scholar]
- Su, Z.; Wang, D.; Chen, J.; Zhang, X.; Wu, L. Improving operational performance of magnetically suspended flywheel with PM-biased magnetic bearings using adaptive resonant controller and nonlinear compensation method. IEEE Trans. Magn. 2016, 52, 7379006. [Google Scholar] [CrossRef]
- Tang, J.; Wang, K.; Xiang, B. Stable control of high-speed rotor suspended by superconducting magnetic bearings and active magnetic bearings. IEEE Trans. Ind. Electron. 2017, 64, 3319–3328. [Google Scholar] [CrossRef]
- Wang, Z.; Zhu, C.; Chen, L. Unbalance compensation control of active magnetic bearing-rigid flywheel rotor system based on unbalance coefficients identification. Proc. CSEE 2018, 38, 3699–3708. [Google Scholar]
- Liu, M.; Wang, P.; Bi, W.; Zhang, W.; Zhang, J. Analysis and elimination of power frequency interference of displacement signal in magnetic suspension flywheel. Chin. J. Electron. Devices 2021, 44, 579–584. [Google Scholar]
- Liu, G. Research on optimization design and control of magnetic bearings support system for flywheel energy storage. Ph.D. Thesis, Jiangsu University, Zhenjiang, China, 2022. [Google Scholar]
- Shi, G.; Fan, Y. Application of hybrid magnetic bearing in magnetic suspension flywheel energy storage system. Electrotech. Appl. 2007, 26, 94–97. [Google Scholar]
- Zhao, X.; Deng, Z.; Wang, X.; Wang, B. Power loss reduction strategy of axial magnetic bearing in flywheel storage equipment application. Electr. Mach. Control 2011, 15, 7–12. [Google Scholar]
- Fang, J.; Wang, X.; Wei, T.; Tang, E.; Fan, Y. Homopolar 2-pole radial permanent-magnet biased magnetic bearing with low rotating loss. IEEE Trans. Magn. 2012, 48, 2293–2303. [Google Scholar]
- Zhu, R.; Xu, W.; Ye, C.; Zhu, J. Novel heteropolar radial hybrid magnetic bearing with low rotor core loss. IEEE Trans. Magn. 2017, 53, 7915741. [Google Scholar] [CrossRef]
- Wang, H.; Wu, Z.; Liu, K.; Wei, J.; Hu, H. Modeling and control strategies of a novel axial hybrid magnetic bearing for flywheel energy storage system. IEEE/ASME Trans. Mechatron. 2022, 27, 3819–3829. [Google Scholar] [CrossRef]
- Ju, L.; Jiang, S. Nonlinear dynamics analysis for electromechanical coupling of flywheel energy storage system. Sci. China Ser. E Technol. Sci. 2006, 36, 68–83. [Google Scholar]
- Jiang, S.; Ju, L. Study on electromechanical coupling nonlinear vibration of flywheel energy storage system. Sci. China Ser. E Technol. Sci. 2006, 49, 61–77. [Google Scholar] [CrossRef]
- Chen, J.; Liu, K.; Xiao, K.; Wang, H. Investigation on the dynamics character of electromechanical coupling for flywheel energy storage system based on active magnetic bearing. Mech. Sci. Technol. Aerosp. Eng. 2012, 31, 562–567. [Google Scholar]
- Zhang, C.; Dai, X.J.; Meng, X. Online balancing of the rotor-bearing unit of the flywheel energy storage system. Energy Storage Sci. Technol. 2013, 2, 181–184. [Google Scholar]
- Chen, J.; Liu, K.; Liang, W.; Tian, Y. Study on nonlinear dynamics of electromechanical coupling in flywheel energy storage system based on active magnetic bearings. J. Dyn. Control. 2013, 11, 225–234. [Google Scholar]
- Zhang, C.; Tseng, K.; Nguyen, T.; Zhao, G. Stiffness analysis and levitation force control of active magnetic bearing for a partially-self-bearing flywheel system. Int. J. Appl. Electromagnet. Mech. 2011, 36, 229–242. [Google Scholar] [CrossRef]
- Zhang, C.; Tseng, K. Design and control of a novel flywheel energy storage system assisted by hybrid mechanical-magnetic bearings. Mechatronics 2013, 23, 297–309. [Google Scholar] [CrossRef]
- Deng, Z.; Lin, Q.; Wang, J.; Zheng, J.; Jiang, D.; Ma, G.; Liu, W.; Wang, S.; Zhang, Y. Prototype of high temperature superconducting magnetic levitation flywheel energy storage system. Chin. J. Low Temp. Phys. 2009, 31, 311–314. [Google Scholar]
- Shen, Z.; Fang, J.; Li, Y.; Li, H.; Yu, T.; Dong, D.; Xiao, L.; Deng, M.; Jiao, Y. Simulation and experimental analysis on the levitation force of HTS flywheel energy storage system. Cryog. Supercond. 2013, 41, 8–12. [Google Scholar]
- Jiang, Z.; Gou, X. Eddy damping effect of additional conductors in superconducting levitation systems. Phys. C Supercond. Appl. 2015, 519, 112–127. [Google Scholar] [CrossRef]
- Xu, K.; Wu, D.; Jiao, Y.; Zheng, M. A fully superconducting bearing system for flywheel applications. Supercond. Sci. Technol. 2016, 29, 064001. [Google Scholar] [CrossRef]
- Li, W.; Zhang, G.; Ai, L.; Qiu, Q.; Liu, G.; Song, N.; Gao, Z. A three-dimensional measurement system for high-temperature superconducting magnetic bearings. IEEE Trans. Appl. Supercond. 2018, 28, 9001505. [Google Scholar] [CrossRef]
- Sun, C.; Ren, X.; Yang, S.; Liu, W.; Jing, H.; Yang, Y.; Pang, P.; Tan, X.; Li, T.; Zhang, Y.; et al. Research on dynamic suspension coupling characteristics of a 2 kWh/100 kW superconducting flywheel rotor. Superconductivity 2019, 47, 33–38. [Google Scholar]
- Wang, H.; Jiang, S.; Shen, Z. The dynamic analysis of an energy storage flywheel system with hybrid bearing support. J. Vib. Acoust. Trans. ASME 2009, 131, 051006-1–051006-9. [Google Scholar] [CrossRef]
- Tang, C.; Dai, X.; Zhang, X.; Jiang, L. Rotor dynamics analysis and experiment study of the flywheel spin test system. J. Mech. Sci. Technol. 2012, 26, 2669–2677. [Google Scholar] [CrossRef]
- Qiu, Y.; Jiang, S. Suppression of low-frequency vibration for rotor-bearing system of flywheel energy storage system. Mech. Syst. Signal Process. 2019, 121, 496–508. [Google Scholar] [CrossRef]
- Jia, X.; Wang, J.; Xu, Y.; Zhang, K. Rubbing behavior research of flywheel rotor for energy storage in view of influence of contact parameters. Energy Storage Sci. Technol. 2021, 10, 1643–1649. [Google Scholar]
- Ren, Z.; Huang, T.; Yang, L. Radial vibration analysis of rigid flywheel rotor-foundation coupling system. Mach. Des. Manuf. 2021, 3, 27–32. [Google Scholar]
- Xie, Y.; Cheng, S.; Wang, X.; Wei, Z. Energy conversion link in flywheel energy storage system and its implementation. Electr. Appl. 2001, 1, 26–29. [Google Scholar]
- Meng, Y.; Li, T.; Xun, S. Simulation of discharge section in flywheel energy storage using distributed electric energy control technology. Power Syst. Technol. 2008, 32, 60–64. [Google Scholar]
- Sun, Q.; Wang, F. Design of stable voltage output of flywheel energy storage system by PWM mode. Electr. Mach. Control Appl. 2006, 33, 28–30. [Google Scholar]
- Liu, Z.; Wang, C.; Li, C. Modeling and simulation of single axis energy storage and attitude control system. J. China Univ. Pet. 2007, 31, 154–158. [Google Scholar]
- Wei, Y.; Wang, Y.; Zhang, D.; Qin, H. Research on digital rectifier of flywheel energy storage. Power Electron. 2007, 41, 93–95. [Google Scholar]
- Huang, Y.; Jiang, X.; Qiu, A. Energy feedback control for flywheel energy storage system. J. Tsinghua Univ. (Sci. Tech.) 2008, 48, 1085–1088. [Google Scholar]
- Xun, S.; Li, T.; Zhou, Z. Study on passivity control method for flywheel energy storage system discharging unit. Electr. Mach. Control 2010, 14, 7–12. [Google Scholar]
- Cheng, W.; Zhu, C. Control analysis of PM brushless DC motor used in flywheel energy storage system. J. Mech. Electr. Eng. 2012, 29, 754–772. [Google Scholar]
- Tang, S.; Li, Z.; Jiang, Y. Studying on improved algorithm self-adaptive single neuron PID controller in flywheel energy storage system. Mach. Des. Manuf. 2009, 5, 127–129. [Google Scholar]
- Li, Z.; Tang, S.; Jiang, Y. Studying on fuzzy self-adaptive single neuron PID controller in flywheel energy storage system. Small Spec. Electr. Mach. 2009, 1, 32–35. [Google Scholar]
- Fu, J.; Liu, G. Design of feedforward-feedback controller for discharging system of magnetic suspended flywheel energy storage. Aviat. Precis. Manuf. Technol. 2012, 48, 30–33. [Google Scholar]
- Wang, N.; Li, Y.; Zhang, W.; Chang, X.; Xue, W. A nonlinear control algorithm for flywheel energy storage systems in discharging mode. Proc. CSEE 2013, 33, 1–7. [Google Scholar]
- Chang, X.; Li, Y.; Zhang, W.; Wang, N.; Xue, W. Active disturbance rejection control for a flywheel energy storage system. IEEE Trans. Ind. Electron. 2015, 62, 991–1001. [Google Scholar] [CrossRef]
- Li, S.; Fu, Y.; Liu, P. Position estimation and compensation based on a two-step extended sliding-mode observer for a MSFESS. Sensors 2018, 18, 2467. [Google Scholar] [CrossRef]
- Xiang, B.; Wang, X.; Wong, W. Process control of charging and discharging of magnetically suspended flywheel energy storage system. J. Energy Storage 2022, 47, 103629. [Google Scholar] [CrossRef]
- Liu, Y. Direct Torque Control of Electrically Excited Synchronous Motor Flywheel Energy Storage System Based on Novel Excitation Control. Adv. Technol. Electr. Eng. Energy 2019, 39, 5–12. [Google Scholar]
- Sun, Y.; Zhang, K.; Yuan, Y.; Yang, F. Torque ripple suppression control of bearingless brushless DC motor in wide speed regulation range. Prog. Electromagn. Res. C 2018, 84, 87–101. [Google Scholar] [CrossRef]
- Yang, J.; Zhang, X.; Zhang, M.; Peng, D. A discharge control strategy of high-speed flywheel energy storage system. Int. J. Power Energy Syst. 2014, 34, 51–62. [Google Scholar] [CrossRef]
- Zhang, X.; Yang, J.; Wang, M. An improved discharge control strategy with load current and rotor speed compensation for Flywheel Energy Storage System. Trans. China Electrotech. Soc. 2015, 30, 6–17. [Google Scholar]
- Du, Y.; Zheng, T.; Guo, X.; Liu, Y.M. Research on problem of regenerative braking process of flywheel energy storage system. Trans. China Electrotech. Soc. 2013, 28, 157–162. [Google Scholar]
- Zeng, C.; Qiu, Z. Closed-loop Power Generation of Induction Generator for Flywheel Energy Storage System Based on Modulation Ratio Control. Proc. CSU-EPSA 2018, 30, 95–100. [Google Scholar]
- Chen, Y.; Yang, J.; Zhang, X. A Discharge Strategy for Flywheel Energy Storage Systems Based on Feed forward Compensation of Observed Total Dissipative Power and Rotational Speed. Proc. CSEE 2020, 40, 2358–2368. [Google Scholar]
- Zhang, D.; Jiang, J.; Chen, Y.; Zhang, L.; Zhao, S.; Zhang, J.; Li, S.; Wei, T. Research on control strategy of high speed flywheel energy storage system in metro traction power supply system. Electr. Mach. Control 2020, 24, 1–8. [Google Scholar] [CrossRef]
- Xu, Z.; Shi, M.; Zhou, J.; Chen, X.; Wen, J. Small Signal Model Analysis of Network/Storage Coordination Virtual Synchronous Generator Control Based on Flywheel Energy Storage System. Proc. CSEE 2020, 40, 6236–6248. [Google Scholar]
- Li, Z.; Nie, Z.; Xu, J.; Li, H.; Ai, S. Harmonic analysis and neutral point potential control of interleaved parallel three-level inverters for flywheel energy storage system. Front. Energy Res. 2022, 9, 811845. [Google Scholar] [CrossRef]
- Wei, H.; Dai, X.; Shen, Z. Theoretical calculation and experimental study on the wind loss of the energy storage flywheel. J. Mech. Eng. 2005, 41, 188–193. [Google Scholar] [CrossRef]
- Dai, X.; Yu, H.; Li, Y. Efficient test on the charging and discharging of the flywheel energy storage system. Trans. China Electrotech. Soc. 2009, 24, 20–24. [Google Scholar]
- Zhu, G.; Liu, J.; Sun, X. Numerical simulation and experimental study of self-pumping vacuum flywheel energy storage device. Mech. Sci. Technol. Aerosp. Eng. 2012, 31, 1037–1041. [Google Scholar]
- Xu, Y.; Fang, J. Development of low power loss energy storage flywheel. Trans. China Electrotech. Soc. 2008, 23, 11–16. [Google Scholar]
- Liu, W.; Kang, D.; Zhang, C.; Peng, G.; Yang, X.; Wang, S. Design of a high-Tc superconductive maglev flywheel system at 100-kW level. IEEE Trans. Appl. Supercond. 2016, 26, 7428844. [Google Scholar]
- Li, S.; Fu, Y.; Liu, P.; Dai, X.; Li, Y. Research on twin trawling charging-discharging experimental method for the magnetically suspended flywheel-based dynamic UPS system. Energy Storage Sci. Technol. 2018, 7, 828–833. [Google Scholar]
- Yu, Z.; Sun, X.; Qiu, Q.; Liu, Y.; Wen, C. Levitation Test and Rotation Experiment of Radial-Type Superconducting Flywheel Energy Storage System Prototype with External Motor. Trans. China Electro Tech. Soc. 2019, 34, 2166–2175. [Google Scholar]
- Liu, P.; Li, S.; Li, G.; Dai, X. Experimental research on DC power recycling system in the subway-based on the magnetically suspended energy storage flywheel array. Energy Storage Sci. Technol. 2020, 9, 910–917. [Google Scholar]
- Sui, Y.; Liang, S.; Huang, D.; Dai, X. Simulation Study on Frequency Modulation Process of Coal Burning Plants with Auxiliary of Flywheel Energy Storage. Proc. CSEE 2020, 40, 2597–2606. [Google Scholar]
- Hu, D.; Zhu, S.; Wei, X.; Cui, Y.; Zhu, B.; Dai, X.; Li, W.; Chen, H. Research on mechanics and dynamics of MW-level large energy storage flywheel shafting. Energy Storage Sci. Technol. 2024, 13, 1542–1550. [Google Scholar]
- Ruan, J.; Zhang, J.; Wang, J. Improvement of stability of wind farms connected to power grid using flywheel energy storage system. Electr. Power Sci. Eng. 2008, 24, 5–8. [Google Scholar]
- Chen, X.; Tang, S.; Liu, G. Application of flywheel energy storage battery in wind power system of net work -forming. Mach. Electron. 2005, 3, 26–28. [Google Scholar]
- Wang, J.; Wang, K.; Chen, Q. Fuzzy neural network control strategy of wind generation and flywheel energy storage combined system. J. Syst. Simul. 2007, 19, 4017–4020. [Google Scholar]
- Hu, X.; Sun, C.; Liu, R.; Liao, Y. An active power smoothing strategy for direct-driven permanent magnet synchronous generator based wind turbine using flywheel energy storage. Autom. Electr. Power Syst. 2010, 34, 79–83. [Google Scholar]
- Liu, S.; Sun, H.; Gu, M.; Wen, J. Novel structure and operation control of a flywheel energy storage system associated to wind generator connected to power grid. Trans. China Electrotech. Soc. 2012, 27, 248–254. [Google Scholar]
- Wang, L.; Du, X.; Song, Y. Coordinated control of flywheel energy storage matrix system for wind farm. Power Syst. Technol. 2013, 37, 3406–3412. [Google Scholar]
- Yu, B.; Wei, Z.; Yang, B.; Tao, Y.; Li, G.; Wang, D.; Sang, B. Control strategy of flywheel energy-storage system for wind farm without interconnection with grid. Electr. Drive 2013, 43, 56–60. [Google Scholar]
- Xiong, Q.; Liao, Y.; Yao, J. Active power smoothing control of direct-driven permanent magnet synchronous wind power generation system with flywheel energy storage unit. Electr. Power Autom. Equip. 2013, 33, 97–105. [Google Scholar]
- Lai, J.; Song, Y.; Du, X. Hierarchical coordinated control of flywheel energy storage matrix systems for wind farms. IEEE ASME Trans Mechatron 2018, 23, 48–56. [Google Scholar] [CrossRef]
- Yao, J.; Yu, M.; Gao, W.; Zeng, X. Frequency regulation control strategy for PMSG wind-power generation system with flywheel energy storage unit. IET Renew. Power Gener. 2017, 11, 1082–1093. [Google Scholar] [CrossRef]
- Zhao, P.; Dai, Y.; Wang, J. Design and thermodynamic analysis of a hybrid energy storage system based on A-CAES (adiabatic compressed air energy storage) and FESS (flywheel energy storage system) for wind power application. Energy 2014, 70, 674–684. [Google Scholar] [CrossRef]
- Zhang, Y.; Xu, Y.; Guo, H.; Zhang, X.; Guo, C.; Chen, H. A hybrid energy storage system with optimized operating strategy for mitigating wind power fluctuations. Renew. Energy 2018, 125, 121–132. [Google Scholar] [CrossRef]
- Shao, Q.; Zhao, Y.; Du, S.; Du, Y. A novel hybrid energy storage strategy based on flywheel and lead-acid battery in wind power generation system. Int. J. Control Autom. 2015, 8, 1–12. [Google Scholar] [CrossRef]
- Ma, J.; Wei, Z.; Tang, T.; Li, R.; Jing, W.; Yuan, Y.; Sun, Y.; Sun, G. Active power smoothing control for photovoltaic-flywheel system using fuzzy control. Water Resour. Power 2013, 31, 160–162. [Google Scholar]
- Zhang, J.; Liu, Y.; Wu, Z.; Bao, M.; Fu, W. Suppression strategy for DC microgrid bus voltage fluctuation of hybrid flywheel and battery energy storage. Control Instrum. Chem. Ind. 2022, 49, 699–706. [Google Scholar]
- Xu, Q.; Teng, W.; Wu, X.; Liu, Y.; Liang, S. Capacity configuration method of flywheel storage system for suppressing power fluctuation of wind farms. Energy Storage Sci. Technol. 2022, 11, 3906–3914. [Google Scholar]
- Li, S.; Wang, J.; Li, G.; Wang, D.; Cui, Y. Demonstration applications in wind solar energy storage field based on MW flywheel array system. Energy Storage Sci. Technol. 2022, 11, 583–592. [Google Scholar]
- The Project of “Research on Key Technologies of MW Flywheel Energy Storage” Was Successfully Connected to the Grid. Available online: https://kjt.nmg.gov.cn/kjdt/gzdt/kjtgz/202306/t20230609_2330256.html (accessed on 9 June 2023).
- Li, X.; Tu, W.; Ma, L.; Jiang, M.; Ji, S. Research on role and application of power type energy storage technology in primary frequency modulation of new energy stations. Sol. Energy 2024, 2, 76–85. [Google Scholar]
- Zhu, X.; Yao, J.; Jiang, K.; Xia, X.; Wen, Y.; Long, H. Enhanced control of direct-drive permanent magnet wind power generation system containing flywheel energy storage unit during asymmetrical fault in power grid. Power Syst. Technol. 2013, 37, 1454–1463. [Google Scholar]
- Zhu, J.; Jiang, X.; Huang, L. Topologies and charging strategies of the dynamic voltage restorer with flywheel energy storage. Electr. Mach. Control 2009, 13, 317–321. [Google Scholar]
- Zhou, L.; Qi, Z. Modeling and simulation of flywheel energy storage unit for voltage sag in distribution network. Power Syst. Technol. 2009, 33, 152–158. [Google Scholar]
- Ji, L.; Zhang, J. Research on generalized momentum compensation method of flywheel energy storage in renewable energy power system. Proc. CSEE 2010, 30, 101–106. [Google Scholar]
- Shi, L.; Chen, Z.; Wang, H.; Tang, G. Damping of power system low-frequency oscillations with FESS. Autom. Electr. Power Syst. 2010, 34, 29–33. [Google Scholar]
- Shi, L.; Zhang, L.; Chen, S.; Tang, G. Coordination and optimization of FESS-based stabilizers and PSS in multi-machine power systems. Proc. CSEE 2011, 31, 1–8. [Google Scholar]
- Shi, L.; Zhang, L.; Chen, S.; Zhuang, M. Application of FESS in damping power system multi-mode oscillations. J. Southeast Univ. (Nat. Sci. Ed.) 2012, 42, 323–327. [Google Scholar]
- Tang, X.; Liu, W.; Zhou, L.; Qi, Z. Flywheel array energy storage system. Energy Storage Sci. Technol. 2013, 2, 208–221. [Google Scholar]
- Xue, J.; Ye, J.; Wang, C.; Yang, B.; Yan, S. Frequency regulation application and economic analysis of flywheel energy storage in a regional power grid. Power Syst. Clean Energy 2013, 29, 113–118. [Google Scholar]
- Li, Y.; Chen, Y.; Li, Y. Design of regenerative braking and power quality harnessed synthetically system in traction substation based on flywheel energy storage. Energy Storage Sci. Technol. 2022, 11, 3883–3894. [Google Scholar]
- Qingdao Metro. Flywheel Energy Storage Project: Steering Qingdao’s Urban Rail Transit onto the Green Fast Track [EB/OL]. Available online: http://www.qd-metro.com/planning/view.php?id=5565 (accessed on 25 April 2022).
- Liu, H.; Xu, X.; Wei, S.; Feng, Y.; Xu, F. Flywheel energy storage participates in frequency modulation power division control based on improving power grid assessment index of North China power grid. Energy Storage Sci. Technol. 2023, 12, 1176–1184. [Google Scholar]
- Luo, Y.; Tian, L.; Wang, Y.; Li, J.; Li, J. Coordinated control strategy and optimal capacity configuration for flywheel energy storage participating in primary frequency regulation of power grid. Autom. Electr. Power Syst. 2022, 46, 71–82. [Google Scholar]
- Liang, Z.; Liu, J.; Hong, F.; Fang, F.; Wang, Z.; Wang, H.; Su, S.; Liang, L.; Ji, W. Research and Engineering Application of Frequency Modulation Technology of Power-level High-power Flywheel Energy Storage System Coupled with Thermal Power Unit. Proc. CSEE 2024, 1–14. [Google Scholar]
- State Power Investment Changfeng Wind Farm Flywheel Energy Storage Project Passes Frequency Modulation Field Test. Available online: http://www.spic.com.cn/xtdt1/202305/t20230508_321539.html (accessed on 8 May 2023).
- Huang, Y.; Dong, Q.; Zhu, J. Simulation research on microgrid with flywheel and diesel generators combined energy storage system. Adv. Technol. Electr. Eng. Energy 2011, 30, 32–37. [Google Scholar]
- Jin, L.; Jiang, X.; Zhang, C.; Tong, M. Research on oil rig based on the flywheel energy storage system. Micromotors 2012, 45, 27–30. [Google Scholar]
- Zhang, C.; Dai, X.; Su, A.; Li, S.; Dong, S.; Fan, J. Experimental study of flywheel energy storage and peak regulation of rig power system. China Pet. Mach. 2013, 41, 3–6. [Google Scholar]
- He, J.; Ao, G.; Guo, J.; Chen, Z.; Yang, L. Hybrid electric vehicle with flywheel energy storage system. WSEAS Trans. Syst. 2009, 8, 638–648. [Google Scholar]
- Yang, F.; Yu, F.; Zhang, X.; He, H. Research on the mathematical models and simulation of the flywheel energy storage systems. Mar. Electr. Electron. Eng. 2011, 31, 3–7. [Google Scholar]
- Fan, B.; Wang, C.; Yang, Q.; Liu, W.; Wang, G. Performance guaranteed control of flywheel energy storage system for pulsed power load accommodation. IEEE Trans. Power Syst. 2018, 33, 3994–4004. [Google Scholar] [CrossRef]
- Xu, Y.; Pi, H.; Ren, T.; Yang, Y.; Ding, H.; Peng, T.; Li, L. Design of a multipulse high-magnetic-field system based on flywheel energy storage. IEEE Trans. Appl. Supercond. 2016, 26, 7433970. [Google Scholar] [CrossRef]
- Liu, G.; Ye, C.; Yang, J.; Liang, X.; Xu, W. The control strategy and experiment research of integrated energy storage pulsed alternator. IEEE Trans. Plasma Sci. 2017, 4, 1220–1226. [Google Scholar] [CrossRef]
- Li, Y.; Ding, Z.; Yu, Y.; Liu, Y. Hybrid Energy Storage Power Distribution Strategy for Micro Gas Turbine Power Generation System Based on Variational Mode Decomposition. J. Xian Jiatong Univ. 2024, 3, 1–12. [Google Scholar]
- Chen, J.; Jiang, X.; Zhu, D.; Wei, H. UPS using flywheel energy storage. J. Tsinghua Univ. (Sci. Tech.) 2004, 44, 1321–1324. [Google Scholar]
- Han, B.; Fang, J.; Wu, Y. Simulation of an integrated power/attitude control system with single axis double flywheels. J. Syst. Simul. 2006, 18, 2511–2515. [Google Scholar]
- Jia, Y.; Xu, S. Spacecraft attitude tracking and energy storage using flywheels. Chin. J. Aeronauts. 2005, 18, 1–7. [Google Scholar] [CrossRef]
Disclaimer/Publisher’s Note: The statements, opinions and data contained in all publications are solely those of the individual author(s) and contributor(s) and not of MDPI and/or the editor(s). MDPI and/or the editor(s) disclaim responsibility for any injury to people or property resulting from any ideas, methods, instructions or products referred to in the content. |
© 2024 by the authors. Licensee MDPI, Basel, Switzerland. This article is an open access article distributed under the terms and conditions of the Creative Commons Attribution (CC BY) license (https://creativecommons.org/licenses/by/4.0/).