Abstract
The paper presents experimental studies on the effect of co-combustion of aviation kerosene with hydrogen in the GTM400 turbojet engine on the change in the carbon footprint generated by the engine in relation to its standard operation without hydrogen in the fuel. This research is in line with current research and development trends carried out in the EU, linking them to the issues of the European Green Deal, the Fit for 55 directive and current environmental trends in aviation and energy. The main objective of the research was to check the effect of hydrogen co-combustion in a turbojet engine on the change of the carbon footprint, while a secondary objective was to verify the impact of higher exhaust gas temperatures generated by the new, high-calorific fuel on the secondary generation of nitrogen oxides (NOx), especially in the thermal mechanism, as an undesirable effect. The research shows that the co-combustion of hydrogen with aviation kerosene in a turbojet engine reduces the carbon footprint (reduction of CO2 maximum of 15% and CO emissions maximum of 24%), but also increases the emission of nitrogen oxides (NOx) maximum of 58%, including those generated in the thermal mechanism (significant increase in the temperature of exhaust gases), moreover, the increase in nitrogen oxide emissions is proportional to the amount of co-combusted hydrogen, which is directly related to the stoichiometry of the combustion process. The main conclusion of the research is that technologies for the combustion or co-combustion of hydrogen in turbojet engines require further research and development, mainly on the side of the use of excess exhaust gas temperature generated during combustion and methods of reducing secondary nitrogen oxides.
1. Introduction
In the 21st century, society is experiencing dynamic development, which is reflected in many areas of life, including fast travel [1]. Globalization, urbanization and the development of technology have made the accessibility and speed of movement key elements of modern civilization. One of the most important means of transport that makes it possible to travel long distances in a relatively short time are aircraft [2]. Despite the huge civilizational leap of humanity in the 21st century, the use of internal combustion engines, including turbojet aircraft engines, is still associated with many technical and environmental problems [3,4]. Research on the improvement of technical parameters [5] and the improvement of ecological parameters [5] is a continuous issue raised by scientists due to the large problem and social importance of this issue [6].
Modern aviation is based mainly on advanced designs. Among them, a significant part of military aircraft use turbojet engines. The development of these technologies brings not only benefits in terms of speed and efficiency, but also poses new challenges, both technological and ecological [7,8,9,10]. In recent years, there has been a growing interest in experimental research conducted on a laboratory scale and on the so-called micro scale. The use of small technical solutions that simulate the operation of full-size devices allows research to be conducted in a more efficient and economical way. An example of such a solution is a miniature jet engine with low thrust. These types of engines, despite their limitations due to their smaller size and lower performance, are a valuable research tool [11].
The design of the miniature jet engine is similar to its full-size counterpart. It consists of several key components: air intake, radial compressor, combustion chamber, turbine and exhaust nozzle. Such a design allows for research on the basic principles of operation of jet engines, as well as for testing new materials and technologies for the combustion of unconventional fuels, such as hydrogen [12]. Around the world, research centers analyze the operation of such engines, focusing on both their thermodynamic and mechanical parameters, as well as the environmental loads resulting from their operation. These studies are aimed at optimizing the technical and operational parameters of these devices, which may lead to their wider use in the future [13].
An important aspect of miniature jet engine research is the use of CFD (computational fluid dynamics) numerical analyses. These methods allow the simulation and accurate analysis of gas flows, combustion processes and interactions between different engine components. With these tools, it is possible to better understand the complex processes taking place inside the engine and predict its behavior under different operating conditions [14], but experimental studies are still an essential verification and optimization tool for machines.
At the same time, more and more attention is being paid to research into the combustion of renewable fuels, including sustainable aviation fuels (SAF). These fuels, made from biological raw materials, can significantly reduce emissions of carbon dioxide and other harmful substances. Research into their use in miniature jet engines is an important step towards greener aviation technologies. Striving to use fuels with a zero carbon footprint is one of the priorities of modern science, responding to the growing threats related to climate change [15].
The development of air transport, despite numerous benefits, also has serious consequences for the environment. The rapid increase in the number of flights and the increase in the range of air travel contribute to the increase in greenhouse gas emissions, primarily carbon dioxide (CO2), as well as other harmful substances such as nitrogen oxides (NOx). These pollutants have a negative impact on the atmosphere, contributing to global warming and the deterioration of air quality [11,16,17,18].
In response to these challenges, numerous measures have been taken in recent years to monitor, control and reduce emissions from air transport. The use of more efficient engines, the development of SAF technology, as well as international initiatives for environmental protection are just some of the activities that aim to reduce the impact of aviation on the planet [19].
The dynamic development of the 21st century society, related to the growing mobility and accessibility of travel, brings both benefits and challenges. Air transport, based on high-tech turbojet engines, plays a key role in global communication. At the same time, however, its development is associated with a significant impact on the natural environment. The future of aviation will depend on the ability to further optimize technologies and implement climate-friendly solutions such as renewable fuels. Only in this way will it be possible to reconcile the dynamic development of transport with the need to protect our planet [20].
The aim of the study was to check the impact of co-combustion aviation kerosene with hydrogen in order to reduce the carbon footprint generated by turbojet engines that can be adapted to work on this group of alternative fuels. A secondary objective of the research was to verify the increase in flue gas temperature resulting from the combustion of a high-calorific alternative fuel and its impact on the formation of secondary nitrogen oxides (NOx), especially on the side of the thermal mechanism of their formation. In order to analyze the thermal phenomena occurring in the exhaust gases flowing from the turbojet engine, the authors used the author’s temperature measuring station in order to investigate the temperature distribution for the flue gas stream acting in ambient conditions, which has not been discussed in the scientific discussion before and is a novelty of the research.
2. Materials and Methods
Experimental tests were carried out on the GTM400 MOD turbojet engine (JETPOL, Poznań, Poland). The research was carried out for three stages, in which aviation kerosene was burned in the initial phase and hydrogen was added as a fuel for co-combustion in the engine in the next phase, in order to investigate the reduction of the carbon footprint generated by the engine, while checking the overall environmental impact (increase or decrease in other emission parameters of the engine). As part of the dosing of hydrogen for co-combustion with kerosene, tests were carried out for two points of operation with added hydrogen:
- –
- The first point of operation during co-combustion for consumption of approx. 149.00 L/min H2 and engine speed: 31,630.00 rpm;
- –
- The second point of operation during co-combustion for consumption of approx. 393.00 L/min H2 and engine speed: 47,110.00 rpm.
Both hydrogen consumption values are given for standard reference conditions.
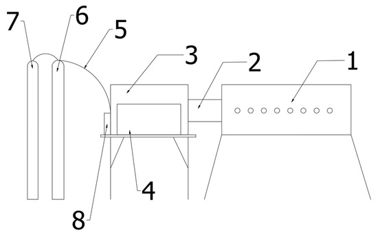
The test stand consisted of a temperature measurement system and a connection point for exhaust gas analyzers (1), an exhaust gas outlet from the engine (2), a test stand with a GTM400 turbojet engine (3), a GTM400 turbojet engine (4), a fuel connection (5), a kerosene tank (6), a hydrogen tank (7) and a fuel mixture dosing system for the engine (8). The diagram of the test stand is shown in Figure 1. All test results were recorded in dedicated recording systems based on the National Instruments structure with systems and devices dedicated to a given measurement. During the research, the following were recorded: exhaust gas temperature distribution from the GTM400 MOD turbojet engine, exhaust gas composition in the form of measurement: O2, CO2, CO, NO and NOx, dynamic exhaust gas pressure and exhaust gas temperature.
Figure 1.
Scheme of the full test stand used for measurements.
2.1. Turbojet Engine GTM400 MOD
The aircraft engine used in the paper belongs to the turbojet engine group. This type of engine in full-scale aircraft has military applications. This applies mainly to multi-role aircraft models capable of developing supersonic speeds. The topic discussed in the paper is more universal. It concerns the benefits of implementing hydrogen as an alternative fuel for the combustion process in a turbojet engine. The research is of a developmental nature, because the future use of this fuel will most likely be based on its use in the liquid state. In miniature engines, radial compressors are most often used, which is a significant feature differentiating it from full-scale engines. The analyzed engine may be used in the future for small flying objects or for military purposes.
The GTM400 MOD engine station consists of a miniature turbojet engine, engine control and monitoring components, and a stage on which all components have been mounted. Two displays were used for control and monitoring, where it is possible to read, among others, basic parameters such as air mass flow, rotational speed or fuel consumption of the JET A-1 (ORLEN SA, Płock, Poland). The turbojet engine has an overall length of 39 cm and a diameter of 15 cm. It is a single-flow motor with a single-stage compressor and turbine section, and the view of the motor is shown in Figure 2.
Figure 2.
GTM400 MOD turbojet engine.
The tests were conducted in an engine with an annular combustion chamber. Some of the air behind the compressor supplies the chamber through its openings. The other part of the air goes to the return channel where both fuels are supplied. Next, the obtained mixture moves through evaporators to the interior of the chamber, where the combustion process takes place.
The engine station has undergone numerous modifications related to the creation of measurement points and adapting the operation to the conditions of kerosene and hydrogen combustion. The engine develops a speed of 81,000.00 rpm, where a maximum static thrust of 300 N is achieved [21]. It has two fuel systems, the pipes of which end in the area of the inlet to the evaporators, where both fuels are mixed with air. The mixture then goes to the combustion chamber, where ignition takes place. The hydrogen supply was controlled manually. The gas flow rate was set on the controller. The action preceding the hydrogen supply was also the manual reduction of the engine speed.
The hybrid mode of the engine was activated in the following way. First, the engine started with the help of an electric starter. During and after the start-up, the engine was powered by kerosene. Then the appropriate speed values were set. With the help of the mixture dosing system, the rotational speed was reduced by 15%. In this way, the value of kerosene consumption was reduced. On the flow controller in the installation, the values of hydrogen consumption were determined, which was to make up for the shortage of reduced JET A-1 fuel. This was followed by the combustion of both fuels in the combustion chamber and measurement in the measuring section behind the engine exhaust nozzle.
A pipe supplying JET A-1 fuel from the tank was connected to the station. A separate cable was a connected hydrogen installation, from which hydrogen was collected. This installation is described later in the paper.
2.2. Fuels Used in Tests
Two types of fuel were used for the tests. The first of them is JET A-1 kerosene. This fuel is used for turbine jet engines. It was used to power the engine at all stages of the engine’s operation. The second was hydrogen in gaseous form sold under the trade name BIOGON®H (Linde, Krakow, Poland). Selected technical parameters of the fuels used in the tests are presented in Table 1. The purity of hydrogen fuel was 99.955%. Within the specification of impurities, the following inclusions are distinguished: O2 ≤ 2.0 ppm; N2 ≤ 3.0 ppm; H2O ≤ 5.0 ppm; CnHm ≤ 0.5 ppm. The tests used hydrogen with the parameters declared by the manufacturer for the contractual conditions (temperature: 15 °C, pressure: 0.1 MPa) to achieve the 0.0841 kg of hydrogen declared by the gas supplier. As mentioned earlier, hydrogen was included in the combustion process during engine operation at two selected rotational speeds, i.e., 31,630.00 rpm and 47,110.00 rpm.
Table 1.
Fuels used for testing.
During the work carried out, before the measurement procedure, tests were performed and it was checked how the combustion of the kerosene and hydrogen mixture affected the operation of the engine powered by JET A-1 fuel. This verification concerned the change in rotational speed and thrust. Hence, it was known for what hydrogen consumption the kerosene consumption had to be reduced to maintain the same speed. In this case, the speed of 31,630.00 rpm for reduced kerosene consumption for the co-combustion of kerosene and hydrogen and for the increased consumption of kerosene only provided the same rotational speed. This was done with kerosene consumption reduced by 25% and was 228 mL/min. It was similar in the case of the speed of 47,110.00 rpm. In this case, the kerosene consumption was reduced to 306 mL/min, i.e., by 33%.
2.3. Temperature Measuring Station
Experimental studies on flue gas temperature (Tf) distribution were carried out in a dedicated flue gas collection chamber (Figure 3), specially designed for this purpose by the authors. The implementation of these measurements resulted from the desire to examine the temperature distribution downstream of the turbojet engine outlet and on their basis to approximate emissions of nitrogen oxides (NOx) based on the thermal mechanism, as secondary emissions of a harmful component of exhaust gases associated with the use of high-calorific fuel co-combusted with classic aviation kerosene, as a potential factor that could affect their increased emissions.
Figure 3.
Test stand model for measuring the temperature distribution of exhaust gas.
The exhaust gas collection chamber was a cubic steel structure made by permanently welding five walls, leaving the exhaust outlet open to the space behind the engine. The wall through which the engine exhaust duct passed had a hole with a diameter of (ϕ130), which corresponded to the tight introduction of the engine exhaust duct into the space of the test chamber. On one of the walls, there were nine rows of double holes with a diameter of (ϕ12), which corresponded to the dimensions of the mounting sockets temperature sensor probes inserted into the duct. The distance between the vertical holes was 65 mm and allowed to measure the temperature in the middle of the exhaust gases flowing out of the flue gas duct and on the upper edge of the flue gas stream flowing out of the engine exhaust gas duct to the exhaust gas collection chamber. To measure the flue gas temperature, 18 thermoelectric temperature sensors of type K (NiCr–Ni) were used, with a measurement range of 73 K ÷ 1274 K with a measurement error in the measurement range of 373 K ÷ 773 K equal to ±1 K (1%). The measurement was carried out at four depths of the measurement probe sensor location in the flue gas duct, for which the following measurement points were implemented:
- –
- The center of the stream of flowing flue gases (dimension A) at a depth of: 249 mm;
- –
- A distance of 1/3 A from the center of the flowing flue gases at a depth of: 166 mm;
- –
- A distance of 2/3 A from the center of the flowing flue gas at a depth of: 83 mm;
- –
- Measurement on the wall of the chamber (dimension 0 A) giving a depth: 0 mm.
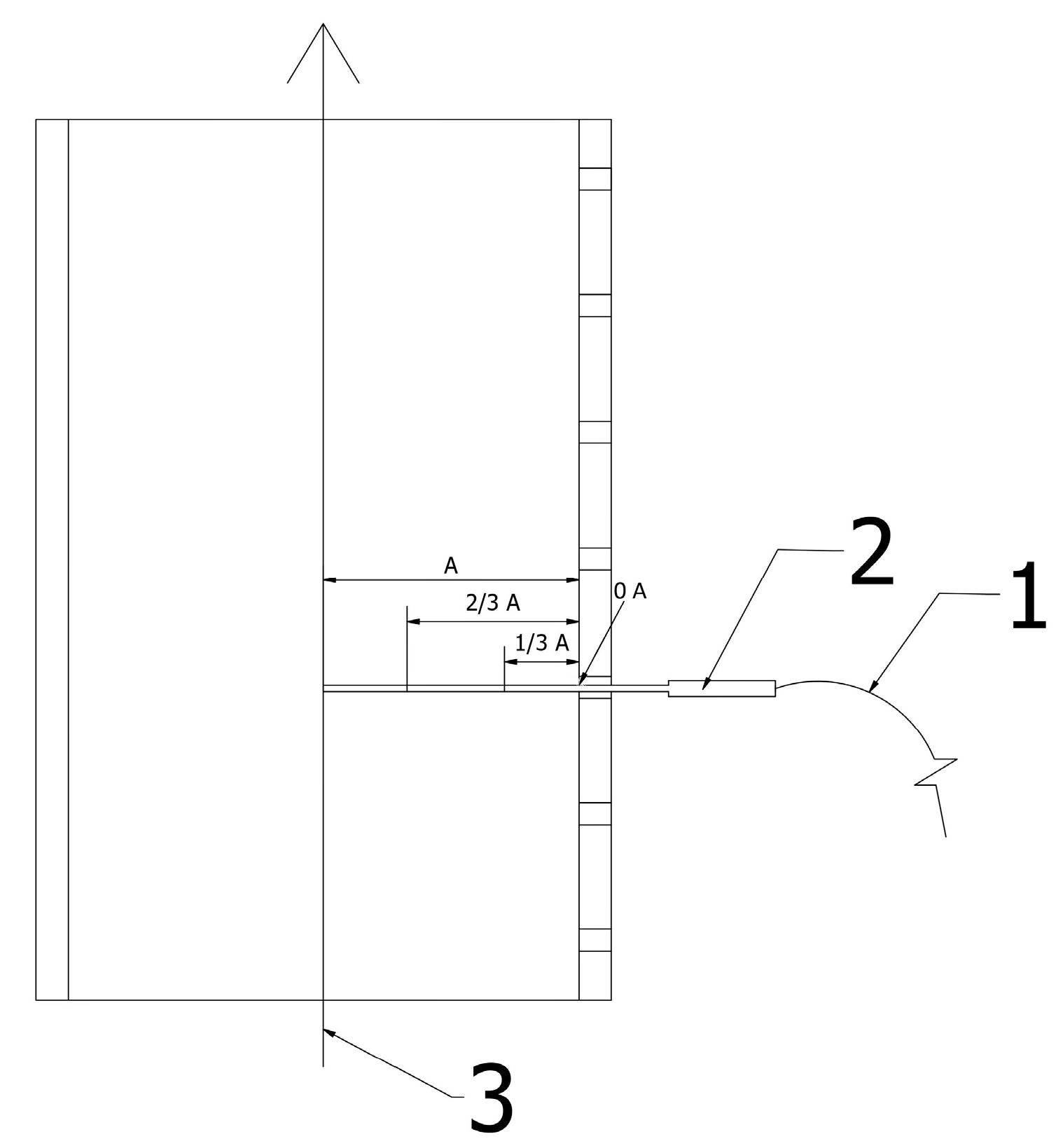
The location of a single sensor and the measurement points carried out by it during the tests are shown in Figure 4, where the compensation and measurement cable of the thermo-electric sensor (1), the thermoelectric sensor probe (2) and the direction of flue gas flow (3).
Figure 4.
Scheme of probing temperatures in the exhaust gas chamber carried out as part of the study.
As part of the research on the distribution of exhaust gas temperatures downstream of the turbojet engine, 72 individual measurement points (measurement chords) were carried out, which were grouped into three measurement zones, three rows of prepared holes (zones 1, 2 and 3), for which the exhaust gas temperature was averaged for a given mixture of combustion fuels with 95% accuracy of their representation.
2.4. Exhaust Emissions Measurement System
The evaluations were conducted utilizing exhaust gas analyzers that feature electrochemical measurement cells. The first device employed was the Testo 350-S analyzer (Testo SE & Co. kGaA, Titisee-Neustadt, Germany), configured with two components: a controller and an analyzer. The second device used in the evaluations was the Testo 330-2 LL exhaust gas analyzer (Testo SE & Co. kGaA, Titisee-Neustadt, Germany). The analysis of measurement ranges and measurement sensitivity is shown in Table 2. Figure 5 illustrates the measurement devices mentioned. Figure 3 present the aforementioned measurement devices.
Table 2.
Analysis of measurement ranges and measurement sensitivity.
Figure 5.
Flue gas analyzers used in the tests. (Left): Testo 350 S; (right): Testo 330-2 LL.
2.5. Hydrogen Dosing System
The hydrogen plant consisted of two pressure reducers, a flow controller, a hydrogen cylinder, as well as pipes and valves. The pressure reducers (Linde, Poland) formed two sections, i.e., high (Readline A200) and low (W40B) pressure. On the last section, i.e., the aforementioned low pressure reducer, the pressure was reduced to 8 × 105 Pa. The gas was then sent to the MCR-2000SLPM flow controller (Alicat Scientific, Tucson, AZ, USA) where the value of the hydrogen flux was determined. After leaving the controller, the gas was directed directly to the engine. A more detailed description of the engine station and installation can be found in the literature [22].
3. Results
As already mentioned, the research was divided into three stages, as part of which tests were carried out on the combustion of classic aviation kerosene in a turbojet engine and co-combustion with hydrogen in two different configurations of hydrogen mass fractions to kerosene (with an upward trend in hydrogen relative to kerosene). Figure 6 shows the change in emission parameters for a given stage of the study.
Figure 6.
Change in exhaust emissions for a given engine operating point.
Table 3 presents the average values for a given analyzed engine operating parameter without and with co-combustion of hydrogen with aviation kerosene. The emission value for the analyzed harmful components of the flue gas (CO, NO and NOx) was presented in ppm (parts per million) [23].
Table 3.
Emission parameters for a given engine operating point.
Figure 7, Figure 8, Figure 9 and Figure 10 show the distribution of exhaust gas temperatures downstream of the turbojet engine for the three test steps analyzed (for normal work on 31,630.00 and 47,110.00 rpm and for 149 L/min H2 with 31,630.00 rpm and 393 L/min H2 with 47,110.00 rpm. In accordance with the adopted measurement method, the results of temperature distribution (in Kelvin) for the axially centric flue gas flow (measurement in the middle of the stream—dimension A) with temperature probing towards the wall of the temperature measuring section (dimension 0 A), for three measurement zones, were presented. Higher values for a given measurement zone mean the results of temperature measurement in the flue gas stream (centrically), and lower results mean measurements for the top of the flue gas stream, so the point is that measurements were carried out in the middle of the stream of flowing exhaust gases and on their envelope resulting from the diameter of the engine exhaust nozzle, according to the measurement method described earlier.
Figure 7.
Change in temperatures for the first stage of testing for 31,630.00 rpm.
Figure 8.
Change in temperatures for the first stage of testing for 47,110.00 rpm.
Figure 9.
Change in temperatures for the second stage of testing for 149 L/min H2 with 31,630.00 rpm.
Figure 10.
Change in temperatures for the third stage of testing for 393 L/min H2 with 47,110.00 rpm.
Table 4 presents the average values for a given point of the analyzed engine operating parameter without and with co-combustion of hydrogen with aviation kerosene. The temperature values presented for a given measurement point are the average values obtained for the centric point and the tip of the stream (72 measuring points averaged to 36 measured values).
Table 4.
Temperature distribution for a given engine operating point.
4. Discussion
As part of the research discussion, the results for the change in exhaust emissions under the influence of co-combustion of hydrogen with aviation kerosene and the change in exhaust gas distribution for three different turbojet engine with co-combustion of kerosene and H2 configurations were analyzed separately.
4.1. Discussion of Exhaust Emission Test Results
On the basis of the conducted research related to the change in the emission of harmful substances, significant changes in the emission parameters generated by the engine during its operation with the co-combustion of hydrogen and aviation kerosene were observed (Figure 11).
Figure 11.
Change in emissions under co-combustion of kerosene with hydrogen.
Analyzing the results of tests for the combustion of aviation kerosene only, but also its co-combustion with hydrogen, a change in emission parameters under the influence of the co-combustion process is visible. It is undoubted that the co-combustion of hydrogen with aviation kerosene caused the following:
- –
- A reduction of the oxygen and carbon dioxide content in the flue gases, and for the co-combustion process with an output of 393 L/min of hydrogen, a decrease in CO2 by up to approx. 15%.
- –
- A reduction in the carbon monoxide content in the flue gases, including the co-combustion process with an output of 393 L/min, by up to approx. 23%.
- –
- A reduction in the carbon footprint (CO and CO2 emissions) is visible along with the increase in the amount of co-combusted hydrogen and for the simulation of CO2 emissions in relation to residual oxygen in the flue gases in accordance with the proprietary program in the GNU Octave environment (v.9.2.0) [24] calculation of the stoichiometric combustion process of fuels (including hydrogen and co-combustion with aviation kerosene) with the combustion of only hydrogen in a turbojet engine with the residual oxygen content in the exhaust gas at the level of (2.32% CO2 content will be 0.35% and CO will be: 0.00%—described by the linear function: y = −0.0026 x2 + 2.3224 x − 5.0255 (where y—CO2 emission, x—residual oxygen content in the exhaust gas) with the sensitivity of the representation at the level of R2 = 99.96% as illustrated in Figure 12.
Figure 12. Distribution of carbon dioxide to residual oxygen in the flue gas. - –
- An increase in NO and NOx emissions in proportion to an increase in the share of hydrogen in the fuel even to a value higher by approx. 58% compared to the process without the use of alternative fuel. A linear increase in the amount of nitrogen oxides was observed with an increase in the amount of co-combusted fuel, with a simultaneous analogous observation of an increase in the temperature of exhaust gases at the outlet, can be unquestionably related to the thermal mechanism of nitrogen oxide formation in the combustion chamber, confirmed by a significant increase in the temperature of exhaust gases at the outlet by up to approx. 24% (approx. 110K) compared to the process without hydrogen, which indicates an analogous increase in temperature inside the combustion chamber and the process being carried out combustion (according to the test methodology, the engine was not subject to configuration changes in relation to operation with and without hydrogen co-combustion) [25].
4.2. Discussion of the Results of Temperature Distribution Studies
On the basis of the tests carried out related to the change in the temperature of exhaust gases under the influence of co-combustion hydrogen with aviation kerosene in a turbojet engine, their change was observed, which is shown in Table 5 (minus—means decrease, plus—means increase in the parameter). Based on the research, it can be seen that as the share of hydrogen in relation to aviation kerosene in the burned mixture increases, the temperature of the exhaust gases increases in proportion to the increase in the share of hydrogen in the fuel. For a rotational speed of 31,630.00 rpm, hydrogen consumption was 0.013 kg/min, which was 6.88% of the total fuel consumption including kerosene. In this case, a hydrogen power of 26.82 kW was generated, which was 17.0% of the total fuel power. For a rotational speed of 47,110.00 rpm, hydrogen consumption was 0.035 kg/min, which was 12.68% of the total fuel consumption including kerosene. In this case, a hydrogen power of 70.74 kW was generated, which was 28.7% of the total fuel power. The use of kerosene and hydrogen resulted in a slightly increased thrust. For the lower speed, after adding hydrogen, the thrust increased by 3 N, and for the lower speed by 1 N. A decrease in the temperature of the exhaust gases can also be observed by directing from the center of the exhaust stream flowing out of the engine towards the wall of the exhaust gas collector. During the research, a frequent phenomenon for the measurement of temperatures in the cubic flue gas collector was a slight increase in the temperature of the flue gas in the 2/3 A zone from the collector wall in relation to the temperatures measured at a distance A from the vessel wall. The reason for this phenomenon will be the strong whirling of the exhaust gas stream behind the engine resulting from the high speed of the exhaust gases (increase in dynamic pressure by up to 80% for the co-combustion of hydrogen with aviation kerosene compared to classic fuel). Another reason for this phenomenon may be the appearance of local points of stagnation and turbulence of the flow of an axially symmetrical stream of flue gas through a cubic measuring system. From the results obtained, it can be seen that the maximum temperature increase obtained was about 24% higher than that obtained for the combustion of aviation kerosene only. In most cases, an increase in the temperature of the exhaust gases is visible, relatively higher than the measurement error with which the temperatures were recorded, which confirms that hydrogen, as a fuel with a much higher calorific value, like kerosene, affects the increase in temperature in the combustion process and may cause a significant increase in the emission of selected harmful substances generated in thermal and fast mechanisms (e.g., secondary nitrogen oxides), and this translates into an increase in this emission compared to working without hydrogen combustion (with a simultaneous unquestionable reduction in the carbon footprint). Nevertheless, the results show that the designs of currently built turbojet engines should be adapted to hydrogen combustion due to the following:
Table 5.
Change in exhaust temperature relative to engine operation only on Jet A-1 fuel.
- –
- The need to increase the mechanical durability of the engine by working in an environment with a higher temperature, as in the case of classic engine operation (the need to use heat and fire-resistant materials with increased fatigue resistance);
- –
- The need to use of systems for recovering temperature from exhaust gases as potentially lost heat generated in engine exhaust processes;
- –
- The need to develop a temperature range and the so-called “temperature window” of turbojet engines for high temperatures, as well as a hydrogen dosing and combustion system in the temperature range that does not allow to achieve thermal mechanisms and rapid [26,27,28,29] generation of secondary nitrogen oxides.
5. Conclusions
The most important conclusions from the research:
- Co-combustion aviation kerosene with hydrogen significantly reduces the carbon footprint, allowing for a reduction in CO2 emissions by up to approx. 15%.
- Co-combustion aviation kerosene increases nitrogen oxide (NOx) emissions to a maximum of 58% with a simultaneous increase in exhaust gas temperature (by up to approx. 24%), which allows us to believe in the impact of secondary phenomena generating nitrogen oxides in thermal and rapid processes, which translates into their increase compared to normal engine operation without the use of a highly calorific fuel such as hydrogen.
- An increase in the temperature of the exhaust gases is observed, which allows us to believe that the temperature in the combustion chamber of the engine and the exhaust zone of the engine increases. Raising the temperature in these areas in the case of constructing units intended only for hydrogen combustion may require a change in the design in terms of shape and materials from which they are made (increased thermal resistance).
- In the case of engines burning or co-combustion aviation kerosene with hydrogen, there will be a noticeable increase in temperatures within the engine, which will make it necessary to change the systems for the recovery of excess heat of exhaust gases for better and more reasonable use (e.g., in the field of additional cooling systems, energy generation, energy recovery).
- In case of further problems with excess NOx emissions, it is possible that the use of stationary ATS systems for catalytic or non-catalytic reduction of this excess emission should be considered [30,31,32].
Author Contributions
Conceptualization, B.C. and Ł.B.; methodology, B.C. and Ł.B.; software, B.C. and Ł.B.; validation, B.C., Ł.B. and A.F.; formal analysis, B.C.; investigation, B.C.; resources, B.C.; data curation, B.C.; writing—original draft preparation, B.C. and Ł.B.; writing—review and editing, B.C., Ł.B. and A.F.; visualization, B.C.; supervision, A.F.; project administration, B.C. and Ł.B.; funding acquisition, B.C. and Ł.B.; All authors have read and agreed to the published version of the manuscript.
Funding
This research was funded by the Polish Ministry of Science and Higher Education and the Poznan University of Technology’s financial resources for statutory activity, grant number 0712/SBAD/5252 and 0712/SBAD/5280.
Data Availability Statement
Data is contained within the article.
Acknowledgments
We would like to sincerely thank Piotr W. Sielicki for his help in carrying out this experimental research.
Conflicts of Interest
The authors declare no conflicts of interest.
Nomenclature
| ATS | mobile after treatment systems |
| CFD | computational fluid dynamics |
| CO | carbon monoxide, colorless oxidation |
| CO2 | carbon dioxide |
| H2 | hydrogen |
| H2O | hydrogen oxide (water) |
| NO | nitric oxide |
| NOx | nitrogen oxides |
| O2 | oxygen |
| SAF | sustainable aviation fuels |
| Tf | exhaust gas temperature |
References
- Westerdahl, D.; Fruin, S.A.; Fine, P.L.; Sioutas, C. The Los Angeles International Airport as a source of ultrafine particles and other pollutants to nearby communities. Atmos. Environ. 2008, 42, 3143–3155. [Google Scholar] [CrossRef]
- Antoine, N.; Kroo, I.M. Framework for aircraft conceptual design and environmental performance studies. AIAA J. 2005, 43, 2100–2109. [Google Scholar] [CrossRef]
- Corbin, J.C.; Schripp, T.; Anderson, B.E.; Smallwood, G.J.; LeClercq, P.; Crosbie, E.C.; Achterberg, S.; Whitefield, P.D.; Miake-Lye, R.C.; Yu, Z.; et al. Aircraft-engine particulate matter emissions from conventional and sustainable aviation fuel combustion: Comparison of measurement techniques for mass, number, and size. Atmos. Meas. Tech. 2022, 15, 3223–3242. [Google Scholar] [CrossRef]
- Rabl, A.; Mull, C.; Härtl, M. Experimental investigation of performance and soot emissions of oxygenated fuel blends in a small aero engine. CEAS Aeronaut. J. 2023, 14, 997–1006. [Google Scholar] [CrossRef]
- Voigt, C.; Kleine, J.; Sauer, D.; Moore, R.H.; Bräuer, T.; Le Clercq, P.; Kaufmann, S.; Scheibe, M.; Jurkat-Witschas, T.; Aigner, M.; et al. Cleaner burning aviation fuels can reduce contrail cloudiness. Commun. Earth Environ. 2021, 2, 114. [Google Scholar] [CrossRef]
- Zuo, Z.; Niu, Y.; Li, J.; Fu, H.; Zhou, M. Machine Learning for Advanced Emission Monitoring and Reduction Strategies in Fossil Fuel Power Plants. Appl. Sci. 2024, 14, 8442. [Google Scholar] [CrossRef]
- Kärcher, B.; Yu, F. Role of aircraft soot emissions in contrail formation. Geophys. Res. Lett. 2009, 36, 1. [Google Scholar] [CrossRef]
- Mishra, R.K.; Chandel, S. Soot formation and its effect in an aero gas turbine combustor. Int. J. Turbo Jet-Eng. 2019, 36, 61–73. [Google Scholar] [CrossRef]
- Tan, Y.R.; Salamanca, M.; Akroyd, J.; Kraft, M. Supplementary Material to How do the oxygenated functional groups in ether, carbonate and alcohol affect soot formation in Jet A2 diffusion flames. Combust. Flame 2022, 243, 111849. [Google Scholar] [CrossRef]
- Kinsey, J.S.; Corporan, E.; Pavlovic, J.; DeWitt, M.; Klingshirn, C.; Logan, R. Comparison of measurement methods for the characterization of the black carbon emissions from a t63 turboshaft engine burning conventional and fischer–tropsch fuels. J. Air Waste Manag. Assoc. 2019, 69, 576–591. [Google Scholar] [CrossRef]
- Mourouzidis, C.; Singh, G.; Sun, X.; Huete, J.; Nalianda, D.; Nikolaidis, T.; Sethi, V.; Rolt, A.; Goodger, E.; Pilidis, P. Abating CO2 and non-CO2 emissions with hydrogen propulsion. Aeronaut. J. 2024, 128, 1576–1593. [Google Scholar] [CrossRef]
- Lamb, W.F.; Wiedmann, T.; Pongratz, J.; Andrew, R.; Crippa, M.; Olivier, J.G.J.; Wiedenhofer, D.; Mattioli, G.; Khourdajie, A.A.; House, J.; et al. A review of trends and drivers of greenhouse gas emissions by sector from 1990 to 2018. Environ. Res. Lett. 2021, 16, 073005. [Google Scholar] [CrossRef]
- Lasek, J.A.; Lajnert, R. On the Issues of NOx as Greenhouse Gases: An Ongoing Discussion…. Appl. Sci. 2022, 12, 10429. [Google Scholar] [CrossRef]
- Li, S.; Wang, R.; Tao, W. CFD Modeling of Sustainable Aviation Fuel Sensitivity on Aero-Engine Combustor. Lect. Notes Electr. Eng. 2024, 1050, 73–92. [Google Scholar] [CrossRef]
- Lee, D.S.; Fahey, D.W.; Skowron, A.; Allen, M.R.; Burkhardt, U.; Chen, Q.; Doherty, S.J.; Freeman, S.; Forster, P.M.; Fuglestvedt, J.; et al. The contribution of global aviation to anthropogenic climate forcing for 2000 to 2018. Atmos. Environ. 2021, 244, 117834. [Google Scholar] [CrossRef]
- International Energy Agency. Global Energy & CO2 Status Report 2019; International Energy Agency Publications: Paris, France, 2020. [Google Scholar]
- International Energy Agency. Global Energy Review: CO2 Emissions in 2021; International Energy Agency Publications: Paris, France, 2022. [Google Scholar]
- Abbasi, F.; Riaz, K. CO2 emissions and financial development in an emerging economy: An augmented VAR approach. Energy Policy 2016, 90, 102–114. [Google Scholar] [CrossRef]
- Teoh, R.; Schumann, U.; Majumdar, A.; Stettler, M.E.J. Mitigating the climate forcing of aircraft contrails by small-scale diversions and technology adoption. Environ. Sci. Technol. 2020, 54, 2941–2950. [Google Scholar] [CrossRef]
- Lobo, P.; Hagen, D.E.; Whitefield, P.D. Comparison of PM Emissions from a Commercial Jet Engine Burning Conventional, Biomass, and Fischer-Tropsch Fuels. Environ. Sci. Technol. 2011, 45, 10744–10749. [Google Scholar] [CrossRef]
- Brodzik, Ł. Stand characteristics of the GTM400 MOD turbojet engine. Tech. Sci. 2024, 27, 105–112. [Google Scholar] [CrossRef]
- Brodzik, Ł. Gas temperature in the combustion chamber of a GTM400 MOD turbojet engine powered by JET A-1 fuel and hydrogen. Energies 2024, 17, 745. [Google Scholar] [CrossRef]
- Ciupek, B. Laboratorium Spalania Paliw Kopalnych i Biomasy; Wydawnictwo Politechniki Poznańskiej: Poznan, Poland, 2022; Available online: https://www.wydawnictwo.put.poznan.pl/books/isbn_978-83-7775-666-9 (accessed on 26 October 2024). (In Polish)
- Ciupek, B.; Urbaniak, R.; Nocoń, A. Emission Models for Selected Harmful Substances Emitted During Low-Temperature Combustion of Wood Pellets. J. Ecol. Eng. 2024, 25, 267–273. [Google Scholar] [CrossRef] [PubMed]
- Ciupek, B.; Brodzik, Ł.; Semkło, Ł.; Prokopowicz, W.; Sielicki, P.W. Analysis of the Environmental Parameters of the GTM 400 Turbojet Engine During the Co-Combustion of JET A-1 Jet Oil with Hydrogen. J. Ecol. Eng. 2024, 25, 205–211. [Google Scholar] [CrossRef]
- Adams, D.; Oh, D.H.; Kim, D.W.; Lee, C.H.; Oh, M. Prediction of SOx–NOx emission from a coal-fired CFB power plant with machine learning: Plant data learned by deep neural network and least square support vector machine. J. Clean. Prod. 2020, 270, 122310. [Google Scholar] [CrossRef]
- Liu, X.; Bansal, R.C. Integrating multi-objective optimization with computational fluid dynamics to optimize boiler combustion process of a coal fired power plant. Appl. Energy 2014, 130, 658–669. [Google Scholar] [CrossRef]
- Caban, J.; Seńko, J.; Ignaciuk, P. Laboratory Tests of Electrical Parameters of the Start-Up Process of Single-Cylinder Diesel Engines. Energies 2024, 17, 2155. [Google Scholar] [CrossRef]
- Delcourt, F.; Izerroukyene, A.; Méresse, D.; Uystepruyst, D.; Beaubert, F.; Morin, C. Experimental Study of Pollutant Emissions from Biomass Combustion and Modeling of PM Transportation. Energies 2024, 17, 2586. [Google Scholar] [CrossRef]
- Khacef, A.; Da Costa, P. Plasma-Catalytic Removal of NOx in Mobile and Stationary Sources. Plasma Catal. 2019, 106, 115–144. [Google Scholar] [CrossRef]
- Ali, M.; Hussain, I.; Mehmud, I.; Umair, M.; Hu, S.; Sharif, H.M.A. Recent Breakthroughs and Advancements in NOx and SOx Reduction Using Nanomaterials-Based Technologies: A State-of-the-Art Review. Nanomaterials 2021, 11, 3301. [Google Scholar] [CrossRef]
- Bakhchin, D.; Ravi, R.; Douadi, O.; Faquir, M.; Essadiqi, E. Integrated catalytic systems for simultaneous NOx and PM reduction: A comprehensive evaluation of synergistic performance and combustion waste energy utilization. Environ. Sci. Pollut. Res. 2024, 31, 46840–46857. [Google Scholar] [CrossRef]
Disclaimer/Publisher’s Note: The statements, opinions and data contained in all publications are solely those of the individual author(s) and contributor(s) and not of MDPI and/or the editor(s). MDPI and/or the editor(s) disclaim responsibility for any injury to people or property resulting from any ideas, methods, instructions or products referred to in the content. |
© 2024 by the authors. Licensee MDPI, Basel, Switzerland. This article is an open access article distributed under the terms and conditions of the Creative Commons Attribution (CC BY) license (https://creativecommons.org/licenses/by/4.0/).











