Next Article in Journal
Optimization Design and Performance Study of a Heat Exchanger for an Oil and Gas Recovery System in an Oil Depot
Next Article in Special Issue
Evaluation of Thermal Properties of Various Insulating Liquids Used in Power Transformers
Previous Article in Journal
Embodied Carbon in New Zealand Commercial Construction
Previous Article in Special Issue
Thermal Ageing of Dry Cellulose Paper Impregnated with Different Insulating Liquids—Comparative Studies of Materials Properties
 
 
Font Type:
Arial Georgia Verdana
Font Size:
Aa Aa Aa
Line Spacing:
Column Width:
Background:
Article

Buildup of Fault Protection for High-Current Single-Phase Transformers in Ore Furnaces

by
Dilara Rakhimberdinova
1,*,
Aleksandr Novozhilov
1,
Evgeniy Kolesnikov
1,
Vladimir Goryunov
2 and
Timofey Novozhilov
2
1
Electrical Engineering and Automation Department, Toraighyrov University, Lomov Str. 64, Pavlodar 140008, Kazakhstan
2
Power Supply for Industrial Enterprises Department, Omsk State Technical University, Mira av., 11, Omsk 644050, Russia
*
Author to whom correspondence should be addressed.
Energies 2024, 17(11), 2630; https://doi.org/10.3390/en17112630
Submission received: 6 May 2024 / Revised: 22 May 2024 / Accepted: 24 May 2024 / Published: 29 May 2024
(This article belongs to the Special Issue Design and Optimization of Power Transformer Diagnostics II)

Abstract

High-power ore furnaces mainly use single-phase transformers supplied by phase-to-phase voltage with the secondary winding made in the form of four to eight isolated splits and a high-voltage busbar assembly made of the same number of pairs of tube buses. Due to these design features, turn-to-turn faults are the main faults in the primary winding of the transformer, and flexible coupling breaks and arc faults in splitting circuits prevail in the high-voltage system. This is why current and gas protections are currently used to protect transformers against short circuits. However, current protections are insensitive to turn faults, and the gas protection response time can be long since it strongly depends on the oil temperature. High-current systems are protected from arc faults only by insulating tube buses. However, this insulation is gradually destroyed under the impact of abrasive dust in the air, and the presence of coal dust in the air creates conditions for arc faults. There is no protection against breaks in the circuits of pairs of tube buses. The extent of damage in a transformer and its high-current system due to the faults can be significantly reduced by using new protection devices based on the measurements of the longitudinal and transverse asymmetry of the stray magnetic fields of the protected transformer. To implement these protections, this article suggests a method for protecting a transformer and a high-current system using magnetic current transformers (MCTs). The number and points for MCT winding coils are determined through the analysis of their EMF values versus their positions relative to the windings of the transformer operating under different modes. The results serve as the basis for the protection circuit design; the protection response threshold is calculated, the protection operation is described, and the results of the experiment are given.

1. Introduction

Single-phase furnace transformers are almost always used in the power supply system of high-power ore-thermal plants to reduce the line voltage from 6–10 kV to 150–320 V, regardless of the ore furnace type. The electrical energy from a furnace transformer to furnace electrodes [1,2,3,4,5] is usually transmitted through a high-current system. A high-current system consists of compensators, a busbar assembly, flexible couplings, as well as a system of shoes, a contact clamp, and electrodes [3,4,5,6]. A busbar assembly is the longest and most expensive part of a high-current system. Since operating currents in a high-current system can reach 35–150 kA [7,8], the secondary winding of a furnace transformer is split, and the number of pairs of tube buses in the busbar assembly of a high-current system is equal to the number of these splits. Therefore, a key electrical fault in a furnace transformer is turn-to-turn faults (TF) [9,10,11,12,13,14], and flexible coupling breaks and arc faults (AFs) in splitting circuits [15] predominate in its high-current system.
Due to the design features of single-phase transformers in ore furnaces, overcurrent protections based on current transformers (CTs) are currently used to protect a transformer from SC in the power cable, and the primary winding and gas protection is commonly used against TFs [12]. However, such an overcurrent protection is near-insensitive to TF, and the response time of gas protection can be long because it strongly depends on the oil temperature and the number of closed turns. In addition, gas protection is inapplicable to dry-type transformers. Therefore, a TF is accompanied by significant damage to the primary circuit; sometimes, the transformer completely fails.
To protect against an AF between the tube buses of a busbar assembly, all the tube buses are electrically insulated [14]. However, a high-current system usually operates under a high temperature and high content of coal and abrasive dust in the air in ore-thermal plants. Under these conditions, the insulation of tube buses in the busbar assembly of a high-current system quickly fails, conductive coal dust bridges appear between them, and, finally, a short circuit can occur in a pair of tube buses, and an electric arc can form. This arc can completely damage an expensive busbar assembly in a fraction of a second under operating currents in a furnace [3,14].
Flexible coupling breaks in the splitting circuits of a high-current system result in zero current in the damaged pair of tube buses and a significant increase in the current in the remaining pairs of tube buses. This can lead to overheating and failure of the tube buses. However, there are no protection systems against this fault type, and they can sometimes be indirectly detected from instrument readings.
To detect a TF in the busbar assembly of a furnace, longitudinal differential protection with CTs can be used [12,16,17]. However, it requires a CT with a rated current of 10–30 kA to be mounted in each split of each phase of a high-current system. Such CTs are very expensive and large, while the space between the axes of the tube buses does not exceed 100–150 mm. Therefore, the use of CTs in differential protection is of little promise.
Instead of CTs, cheaper Rogowski coils can be used in a high-current system for these purposes [18,19,20]. They are fixed only on tube buses, with a forward current in a busbar assembly. In this case, all the Rogowski coils in one busbar assembly are series-aiding. However, manufacturing and mounting Rogowski coils on the tube buses of a busbar assembly is a difficult engineering task because air gaps between the tube buses are 20–40 mm. In addition, the electromotive force (EMF) of each Rogowski coil and the transfer of electrical signals from these coils are strongly affected by the magnetic fields produced by the currents in the other tube buses of the high-current system. Thus, it is challenging to implement AF protection in the busbar assembly of the high-current system of an ore furnace with the use of Rogowski coils.
A new and little-studied direction in relay protection is the use of magnetic current transformers (MCTs) in the electrical fault protections of single-phase transformers in ore furnaces with a high-current system [12,13]. An MCT is usually made as a textolite carrier bar with a winding in the form of several in series-aiding multi-turn coils. The MCT operation is based on measuring the magnetic field of the transformer windings. To do this, an MCT is fixed to transformer elements inside the tank in a certain way.
A device for the relay protection of the busbar assembly of the high-current system of ore furnaces against arc faults [21] based on MCTs is quite effective. The principle of its operation consists of measuring a stray magnetic field at an arbitrary point on the busbar assembly. However, this protection is incapable of responding to faults in the primary winding of the transformer and breaks in the tube bus circuit in the high-current system.
There is reason to believe that MCT protection sensitivity depends on many factors, including the number of MCTs and their sizes, the number of coils in their windings, and the arrangement of the MCTs relative to the windings of the transformer.
In this work, we suggest the following procedure for constructing electrical fault protection for a single-phase transformer in ore furnaces with a high-current system based on MCTs. First, the technique and device for protecting a transformer and a high-current system are described. Then, from the analysis of the EMF values of the winding coils of an MCT, depending on their location relative to the windings of the transformer operating under different modes [22], their number and positions of windings in the MCT are determined. Based on the results, a protection circuit is designed; the protection response threshold is calculated, the protection operation is described, and the results of the experiment are given.

2. Materials and Methods

2.1. Protection Technique

The technique for protecting [23] a high-current transformer in an ore furnace against short circuits and faults in the high-current system is based on measuring the stray magnetic fields of the transformer windings. To detect a fault in the primary winding, the stray magnetic field of the transformer windings is measured in the Q plane perpendicular to the yokes of its core and passing through its middle. To detect faults in the high-current system, stray magnetic fields are measured in the R plane near the upper and lower ends of one of the transformer coils.
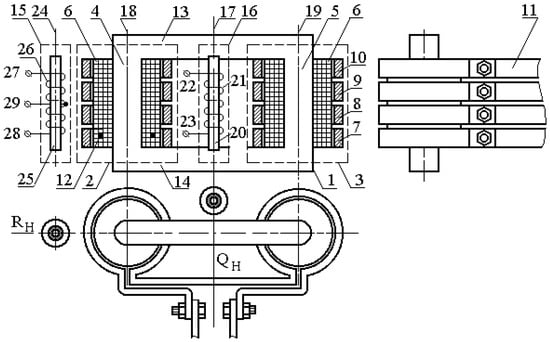
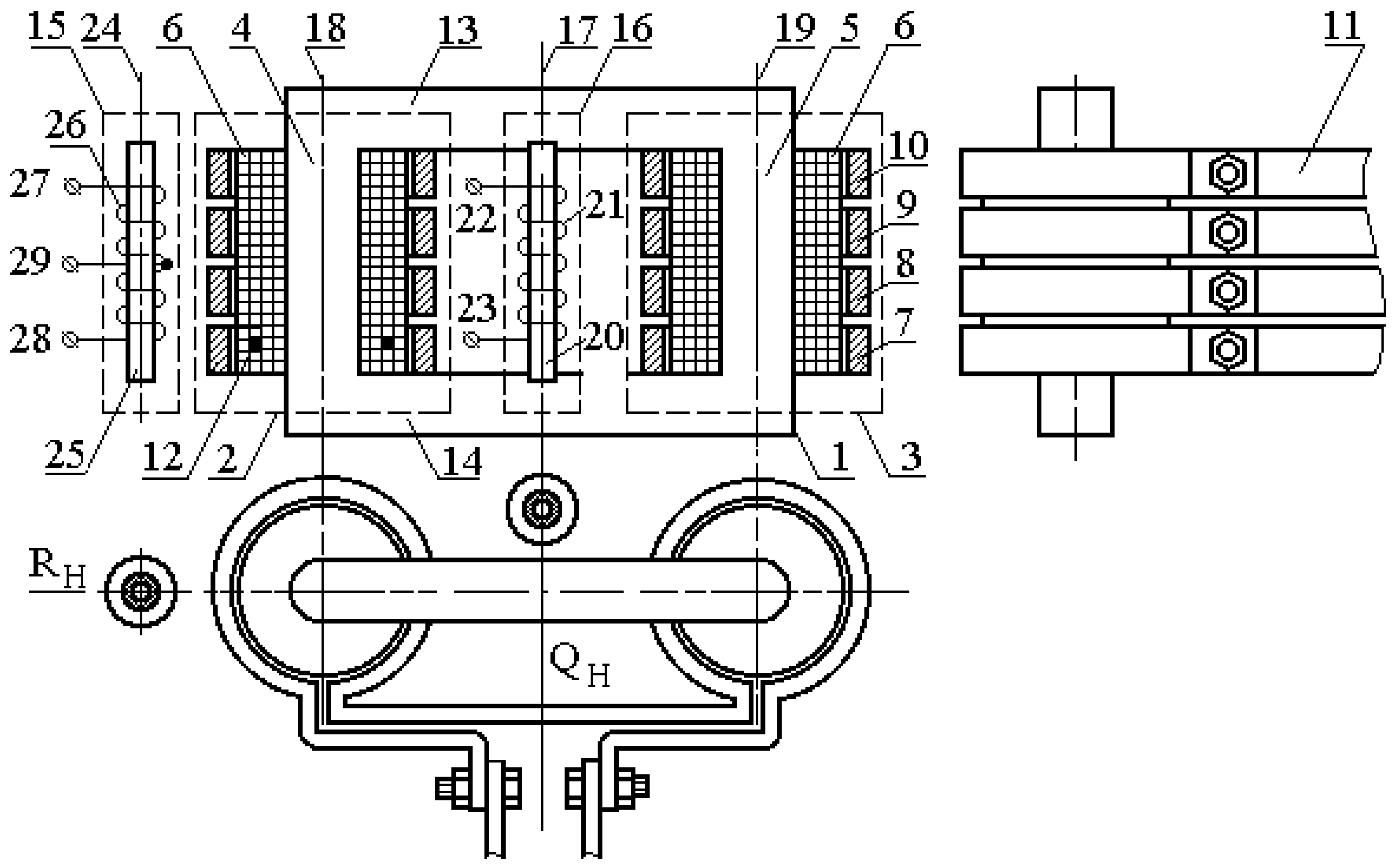
To explain this technique [23], a diagram of the arrangement of the structural components of a single-phase high-current furnace transformer and magnetic current transformers (MCTs) (Figure 1) is used. The furnace transformer has a ferromagnetic core (1) with two identical coils (2 and 3) fixed at the core legs (4 and 5). Each coil consists of half of a multi-turn primary winding (6) and turns (7–10) of the split secondary winding. Each of the splits of the secondary winding is connected to an individual pair of tube buses (11) in the high-current system. Thus, closed turns (12) can occur only in the primary winding of the transformer during its operation, and an AF and a break in the high-current system can take place in splitting circuits.
When assembling the transformer, parts of the primary and secondary windings are series-aiding. Since the number of turns in the windings of these coils and the currents in their turns are equal during transformer operation, their total magnetic field is zero in the Q plane, which is perpendicular to yokes 13 and 14 of core 1 of the transformer and passes through their middle. In the event of a TF, closed turns appear in the primary winding of one of the coils, and the current in them becomes significantly higher than the current in these turns before the TF. This results in an additional local stray magnetic field of these coils, which is nonzero in the Q plane. This enables detecting a TF in the transformer.
Since the turns of the parts of the primary and secondary windings, for example, in coil 2 of the transformer, are located symmetrically about its middle, the magnetic fields of these turns with the current are symmetrical in magnitude with respect to its middle under the transformer operation. This symmetry is violated in the event of an AF or break in the splitting circuits of the secondary winding, as well as in the event of a TF in the primary winding of this coil. This makes it possible to detect an AF and a break in the splitting circuits of the secondary winding, taking into account the possibility of the occurrence of a TF.

2.2. Protection Device

MCTs 15 and 16 are used as measuring transducers in the suggested protection device [21,22] of a single-phase high-current furnace transformer.
Magnetic current transformer 16 is intended for detecting a TF. It is mounted in the Q plane perpendicular to yokes 13 and 14 of core 1 of the transformer and passes through their middle. The longitudinal axis 17 of this MCT is parallel to axes 18 and 19 of legs 4 and 5 of core 1.
According to [21,23], this MCT should be manufactured as a textolite carrier bar 20 with winding 21 and terminals 22 and 23. According to Figure 2a, this winding can be made of several in series-aiding multi-turn coils k1–k3 mounted on this bar in a certain way. The number of coils of the MCT winding, the number of turns in them, and their positions on the carrier bar are chosen from the condition of the minimal fluctuations of the dependence EMCT = f(yct), where EMCT is the EMF of the MCT and yct is the coordinate of a closed turn in the design scheme shown in Figure 2a.
The dependence of the EMF on yct for the MCT with only the coil k1 with wk1 turns and the coordinate yk1 is shown by curve 1 in Figure 2b. One can see that EMCT changes by more than three times while a closed turn is shifting along the y-axis within 0–Hc; EMCT attains its peak at point yk1. Hence, the protection sensitivity changes in a similar way.
This situation can be avoided if the MCT is made from two coils with the same number of turns (coils k2 and k3). Let their coordinates be yk2 = 0.1Hc and yk3 = 0.9Hc. The dependences of EMFs Ek2 and Ek3 in the coils and EMF EMCT on the coordinate yct are shown by curves 1, 2, and 3, respectively, in Figure 3. The analysis of these dependences shows that Ek2 and Ek3 attain their maxima at points yk2 and yk3. When a closed turn with the current shifts within 0– H c , EMCT changes by 30%.
The effect of an increase in the number of coils to three in the MCT winding can be seen in Figure 3b, where the dependences of EMFs Ek1, Ek2, and Ek3 in the coils with coordinates yk1 = 0.5Hc, yk2 = 0.1Hc, and yk3 = 0.9Hc and EMCT on yct are shown by curves 1, 2, and 3, and 4, respectively. To reduce fluctuations of the dependence EMCT = f(yct), coils with wk2 = wk3 and wk1 = wk2/3 turns are used. In this case, the fluctuations of the dependence EMCT = f(yct) do not exceed 13–15%.
The choice of the number of coils in the winding of MCT 16 and the number of turns in them, as well as the position of these coils on the MCT carrier bar for a transformer, are a difficult problem, which should be solved with the use of computers. However, according to the calculations, it is sufficient to use the latest MCT version to ensure acceptable fluctuations of the sensitivity of the protection of almost any transformer type.
To detect an AF event and a break in the splitting circuit of the secondary winding of the transformer, MCT 15 is used. As is shown in Figure 1, this MCT is mounted in the R plane, which passes through axes 18 and 19 of legs 4 and 5 of core 1 so that its longitudinal axis 24 is parallel to axis 18. To measure the symmetry of the stray magnetic field of the secondary winding with the current, MCT 15 is made as carrier bar 25 with winding 26, which is formed by two identical coils fixed on this bar symmetrically about its middle (Figure 4a). The winding has terminals 27 and 28 and center terminal 29.
As can be seen from Figure 4a, splits 7–10 of the secondary winding are uniformly spaced at coils 2 and 3 of the transformer; their positions are determined by coordinates yt1yt4. Under an arbitrary operating mode of a transformer with a high-current system, equal currents flow through these splits. This arrangement of splits 7–10 of the secondary winding with currents at the transformer coil ensures the distribution of the axial components of the induction of the stray magnetic fields along coils 2 and 3 of the transformer, shown by curves 1–4 in Figure 4b. The magnetic induction of these fields attains the maximal values Bt1Bt4 at points yt1yt4. The distribution of the total magnetic field of all splits of the secondary winding is shown by curve 5.
Coils k1 and k2 of the MCT winding are fixed at the carrier bar exactly between splits 7 and 8 and 9 and 10 of the secondary winding at points yk1 and yk2, respectively. In this case, the axial components of the induction of the stray magnetic fields Bk1 and Bk2 at the points where coils k1 and k2 are fixed can be determined from curve 5 by coordinates yk1 and yk2. Figure 4b shows that Bk1 = Bk2 under this mutual arrangement of the splits of the secondary winding of the transformer and coils k1 and k2; hence, Ek1 = Ek2. The acting EMFs in coils k1 and k2 are calculated as:
E κ 1 = 4.44 f w κ B κ 1 Q κ   and   E κ 2 = 4.44 f w κ B κ 2 Q κ ,
and their difference ΔEk = 0. Here, f is the mains frequency; wk is the number of turns in a coil; and Qk is the mean area of coil turns.
According to [14,15], in the event of a break and an AF in one of the splits of the high-current system, the current in it is zero, and the current increases by approximately 1.25–1.3 times in a damaged split during an AF. In this regard, the axial component of the stray magnetic field of the transformer coils is redistributed. Figure 5 shows the redistribution of the stray magnetic fields of one of the transformer coils in the events of a break and an AF in the circuit of the fourth split.
In Figure 5, curves 1–4 also show the distribution along the transformer coils of the axial component of the magnetic field induction produced by currents in the split circuit. The distribution of the total magnetic field produced by currents in all splits of the secondary winding is shown by curve 5.
The axial components of the induction of the stray magnetic fields Bk1 and Bk2 at the points of coils k1 and k2 can be determined from curve 5 by coordinates yk1 and yk2. Therefore, as can be seen from Figure 5, B κ 1 B κ 2 , the EMFs in coils k1 and k2 are not equal under these modes.
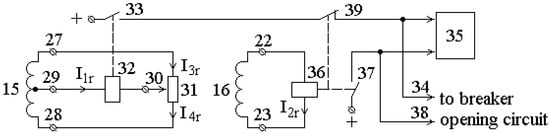
The scheme of the protection of a furnace transformer in a high-current system is shown in Figure 6 [23]. According to this scheme, the beginning 27 and end 28 of the coils of MCT 15 are connected to the terminals of the variable resistor 31; the center terminal 29 of this MCT and the movable contact 30 of resistor 31 are connected to the winding of relay 32. In this case, the normally open contact 33 of this relay is connected to the opening circuit 34 of the breaker and to fault-type indication unit 35. Variable resistor 31 is designed to set the imbalance in current I2r = 0 in relay 32 in the absence of a TF in winding 6 and an electrical fault in high-current system 11.
Terminals 22 and 23 of MCT 16 are connected to the winding of relay 36. In this case, the normally open contact 37 of relay 36 is connected to the opening circuit 38 of the breaker and fault-type indication unit 35, while the normally closed blocking contact 39 is connected in series with contact 33.

2.3. Principle of Operation of the Protection

The protection operates as follows. Under an arbitrary operation mode of the high-current furnace transformer 11, equal currents flow through the same number of turns in windings 6 and 7–10, which are fixed at different legs of the core. If the windings are accurately manufactured and precisely fixed, the currents in them induce a zero EMF in the winding of MCT 16, and EMFs in the upper and lower windings of MCT 15 are equal in magnitude. As a result, the current I1r = 0 in the winding of relay 36 and its contacts 37 and 39 are in the starting position. In turn, the current I3r = I4r, its difference in the winding of relay 32, I2r = 0, and the contact 33 of relay 32 is also in the starting position. Therefore, there are no furnace transformer tripping signals from the contacts of relays 32 and 36 and at the exit of fault-type indication unit 35 [23]. The high-current furnace transformer is operating.
In the event of closing turn 12 in the primary winding of the transformer, the current in it is much higher than the current in the remaining part of the primary winding. This results in a change in the distribution of the stray magnetic field of the damaged winding at leg 4 and the formation of EMF in the winding of MCT 16. In this case, EMFs in the upper and lower windings of MCT 15 are not equal, and, therefore, the difference in currents I2r and I1r in the windings of relays 32 and 36 are nonzero. Hence, these relays actuate, their contacts 33 and 37 close, and contact 39 breaks. As a result, a transformer tripping signal appears in opening circuit 33, and the “turn-to-turn fault” message is displayed in unit 35 [23].
In the event of an AF in one of the pairs of tube buses, for example, the pair connected to split 10 of the secondary winding, the current in it increases and becomes much higher than the current in splits 7–9 of this winding. This results in the same change in the distribution of the stray magnetic field in coils 2 and 3 located at legs 4 and 5 of the transformer. In this case, the EMF in the winding of MCT 16 is zero, and the EMFs in the upper and lower windings of MCT 15 are not equal. Therefore, the current in the winding of relay 36, I1r = 0; hence, it is in the starting position. The difference in currents in the winding of relay 32, I2r ≠ 0, and it actuates. In this case, contact 33 closes and contacts 37 and 39 remain in their starting positions. As a result, a transformer tripping signal appears in opening circuit 38, and the “high-current system damage” message is displayed in unit 35 [23].
In the case of a break in the circuit of one of the pairs of tube buses, for example, in flexible couplings between split 10 of the secondary winding and a furnace electrode, the current is zero in this pair of tube buses and in winding 9, which is connected to it. This results in the same change in the distribution of the stray magnetic field of the windings of coils 2 and 3 at legs 4 and 5 of the transformer. The EMF in the winding of MCT 16 is zero, and the EMFs in the upper and lower windings of MCT 15 are different. Hence, the current in the winding of relay 36, I1r = 0, and the relay remains in its starting position. The difference in currents in the winding of relay 32, I2r ≠ 0, and it actuates. In this case, contact 33 closes and contacts 37 and 39 remain in their starting positions. As a result, a transformer tripping signal appears in opening circuit 38, and the “high-current system damage” message is displayed in unit 35 [23].
With this arrangement of MCT 16 relative to coils 2 and 3 of the transformer, its EMF is equal to the imbalance in EMF Eib1 in operating modes. This EMF is usually caused by inaccuracies in the manufacture and mounting of both the transformer coil and MCT 16 [23]. According to the scheme in Figure 6, the imbalance in the current in relay 36 can be defined as [24,25,26]:
I i b 1 = I i b 1 Z r 1 + Z M C T 1 ,
where Zr1 and ZMCT1 are the impedances of the windings of relay 36 and MCT 16.
The current in the primary winding and EMF Eib1 is maximal when the transformer is energized and in the event of SC after the transformer. Since ore furnace transformers operate in the mode of SC after the transformer, this mode is not considered. Thus, the actuating current of protection relay 36 is defined as:
Iact1 = krIim1,
where kr = 1.3–1.6 is the cutoff reliability coefficient.
During the operation of MCT 15, the EMFs in its windings, i.e., Ek1 and Ek2, are not equal. This is due to inaccuracies in the manufacture and mounting of both the windings in the transformer coil and MCT 15 [21,23]. Therefore, the difference in currents in relay 32, I1r ≠ 0. This difference is maximal when energizing the transformer. According to the scheme in Figure 6 and Equation (1), the current in the winding of relay 32 and voltage at its terminals can be found by the following equations:
I i b 2 = E ˙ k 1 E ˙ k 2 Z r 2 + Z M C T 2 + R 31 / 2   and U 2 r = I i b 2 Z r 2 ,
where Zr2 and ZMCT2 are the impedances of the windings of relay 32 and a coil of MCT 15 and R 31 is the resistance of resistor 31.
In this case, the actuation current and voltage of relay 32 are as follows:
Iact2 = krIim2 and Uact2 = krU2r.
However, according to the scheme in Figure 6, the difference in currents in the winding of relay 32, I2r, can be controlled. This makes it possible to significantly decrease this difference with the use of resistor 31 in an available operating mode of the transformer, thus increasing the protection sensitivity.

3. Results

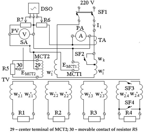
Full-fledged experimental studies on verifying the reliability of the above-discussed theory ground the design of the protection of high-current transformers in ore furnaces against faults with a real transformer during the operation of an ore furnace. Therefore, we performed a laboratory experiment with a TT-6 transformer with 6-kVA of power. The circuit of the electrical setup is shown in Figure 7.
As can be seen from Figure 7, the primary winding of the transformer of the experimental setup is connected to a single-phase 220-V alternating current network through AP-50 breaker SF1. The winding consists of two in series-aiding parts with w 1 and w 1 turns, which are placed on the left and right legs of the core. The current in this winding is measured by a type E59 ammeter (PA) with an accuracy class of 0.5, which is connected to the network through a current transformer type I54/1 (TA) with an accuracy class of 0.2. The current in the primary winding is recorded by the first channel of a two-channel oscilloscope (DSO). This oscilloscope is based on a personal computer with Elena-2014 software and enables the recording of two measured signals depending on time. To record the current, the first input of the oscilloscope is connected to the terminals of the ammeter PA, which ensures the galvanic isolation of the oscilloscope input and the supply network. The voltage at the DSO input is controlled by a high-resistance resistor (R6). The network voltage is measured by a UNI-T UT101 voltmeter (PV) (Dongguan, Chengdu and Changzhou, China). During the experiments, shorted turns in the primary winding w c t were performed as an individual winding wound on a transformer coil. They are closed by an automatic type AP-50 breaker.
The secondary winding is made in the form of four splits. In this case, splitting parts are located on the left and core legs ( w 2.1 w 2.4 and w 2.1 w 2.4 , respectively). During assembly, these parts of the secondary winding are in series-aiding connected. The transformer load connected to them is represented by resistors R1–R4. The breaking modes in a pair of tube buses and the occurrence of a short circuit in them are simulated with the use of automatic AE 2016-10HY3 (Novosibirsk, Russia) breakers SF3 and SF4.
The MCT1 16 protection winding was made in the form of a coil from an intermediate RP-8 relay [27]. This coil includes 12,500 turns and is fixed to the transformer using a PCB strip, as shown in Figure 1. The MCT1 voltage UMCT1 is recorded by the second channel of a DSO. To do this, the terminals of the MCT1 coil are connected to the second input of the oscilloscope through switch SA.
The MCT2 15 protection winding includes two series-aiding coils from an intermediate RP-8 relay [27]. These coils are fixed to the transformer using a PCB strip, as shown in Figure 1. The distance between them is approximately 0.6Hc. The terminals of the MCT2 coils connected to the resistor form a measuring bridge, the output of which is connected to the second input of the oscilloscope through a switch.
The experimental setup is shown in Figure 8. Here, TV is the experimental TT-6 transformer; SF1 and SF2 are the automatic AP50 breakers; SF3 and SF4 are the automatic AE 2016-10HY3 breakers; TA is the measuring I54/1 current transformer; PA is the E59 ammeter; DSO is the laptop-based digital oscilloscope with Elena-2014 software; R5–R7 are the high-resistance variable resistors; MCT1 and MCT2 are the magnetic current transformers; and R1–R4 are the load resistance. The high-current system and arc resistances are simulated by resistances R1–R4. In real conditions, arc resistances are not constant; however, by replacing them with R1–R4, we correctly simulated the operation of a high-current TT-6 transformer.
At ore-thermal plants, a furnace transformer is switched on in idle mode. Figure 9 shows the oscillograms of the current I1 in the primary winding of the transformer and the EMF EMCT1 of MCT 16 recorded during the experiment when the TT-6 transformer was energized in idle mode.
These oscillograms show the maximum current I1 to be 1.52 A and the maximum EMF EMCT1 to reach 96.3 mV. Only these values were used when designing the protection to determine its response threshold.
The experimental results are shown in Figure 10 in the form of oscillograms of the current I1 in the primary winding of the transformer and EMF EMCT1 of MCT 16 when closing one turn in the primary winding in idle mode.
These oscillograms show that the imbalance in the EMF of MCT 16, Eib1 = 12 mV in this mode. If only one turn of 292 turns to the primary winding is closed, then, the EMF increases to 78 mV. This confirms the high sensitivity of the protection to turn-to-turn faults.
The sensitivity of this protection can be estimated, taking into account Figure 9 and Figure 10, as follows. First, the dependence EMCT = f(wct) experimentally derived in idle mode is plotted, as shown in Figure 11. Then, the protection operation threshold is calculated, taking into account the maximal imbalance in EMF Eib1 for the MCT used. Since the maximal Eib1 = 0.0963 V when energizing the transformer (see Figure 9), the MCT EMF, which triggers the protection operation, is as follows:
Eact1 = krEib1 = 1.6 × 0.0963 = 0.154 V.
If a horizontal line is drawn through point Eact1 on the EMCT axis in Figure 11, the number of turns under which the protection operates can be found from the point of intersection of this line with the dependence EMCT(wct) on the axis wct. Since the number of closed turns can only be an integer, according to Figure 11, the protection operates when three turns are closed.
The furnace transformer energizing is accompanied by the appearance of voltage U2r, determined by the imbalance in values at terminals 29 and 30 and relay 32. The oscillograms of the current I1 in the primary winding of the transformer and the voltage U2r of MTT 16 experimentally recorded when energizing the TT-6 transformer in idle mode are shown in Figure 12. These oscillograms show that the maximal imbalance in voltage U2r = 17.5 mV at a magnetizing inrush current of 1.5 A. In this case, the voltage Uact2 at which the protection of the high-current system should operate is as follows:
Uact2 = krU2r = 1.6 × 17.5 = 28 mV.
The experimental oscillograms of the current I1 in the primary winding of the transformer and the voltage U2r of MCT 15 recorded with breakers S F 3 and S F 4 during a break and a short circuit in a pair of tube buses are shown in Figure 13 and Figure 14. They show that the voltage U2r of MTT 15 is equal to 52.5 and 270 mV in case of a break and a short circuit in a pair of tube buses, respectively. These values are significantly higher than the voltage Uact2 at which the protection of a high-current system should operate.
Thus, the laboratory experiments confirmed that the technique suggested for designing the protection of an ore furnace transformer against turn-to-turn faults and its high-current system against electric faults ensures the high sensitivity of the protection to these faults.

4. Discussion

The main electrical faults in a single-phase transformer in ore furnaces with a high-current system are turn-to-turn faults in the primary winding of the transformer and breaks in flexible couplings and arc faults in the splitting circuits of the high-current system. This is due to the fact that the secondary winding of a furnace transformer is made of several splits isolated from each other; the high-current system has flexible couplings, and its busbar assembly is made from tube bus pairs, the number of which is equal to the number of splits in the furnace transformer.
Due to the design of an ore furnace transformer with a high-current system, overcurrent and gas protections are used in these transformers against short circuits and turn-to-turn faults; the electrical insulation of tube buses in the form of several layers of sticky fiberglass is used to protect against arc faults.
The choice of MCT for constructing a protection system for a transformer and high-current system is due to the following reasons. Overcurrent protection is insufficiently sensitive to turn-to-turn faults. Gas protection can have a long response time. The sticky fiberglass insulation of tube buses is destroyed by abrasive dust contained in the ambient air. No protection against breaks in flexible couplings in a high-current system is usually used, which might be because of the absence of sufficiently simple and cheap ways to solve this problem. The design of differential current protection based on current transformers is a complex and expensive engineering problem due to the need of a large number of CTs suitable for 10–20-kA networks, their high cost, and the difficulty of fixing CTs on tube buses with small air gaps between them in a busbar assembly.
An analysis of the distribution of magnetic fields of the coils of a single-phase transformer operating in an arbitrary load mode has shown these magnetic fields to be symmetrical about the plane that is perpendicular to the yokes of the magnetic circuit and passes through their center. Based on this, a technique is suggested for protecting a single-phase transformer from turn-to-turn faults, within which the stray magnetic field of this transformer is measured in this plane and compared to a reference value.
A similar analysis of the distribution of the magnetic fields of the coils of a single-phase transformer operating in an arbitrary load mode has shown that these magnetic fields are symmetrical about the plane that is perpendicular to the cores and passes through their center. Based on this, a technique is suggested for protecting a high-current system from arc faults between the tube buses of a busbar assembly and breaks in the circuit of one of its splits.
Using these techniques, a simple and cheap MCT-based electrical fault protection system has been designed for a single-phase high-current transformer in ore furnaces. The system consists of two functional units.
The first functional unit protects a single-phase transformer from turn-to-turn faults. It is based on one MCT located between the coils of the transformer. To implement it, the choice of MCT position is justified, the design of this MCT and the electrical circuit of this functional unit are suggested, and its response threshold is calculated. This unit is highly sensitive to turn-to-turn faults in the transformer windings and is capable of tripping it if only a few turns are closed. The high sensitivity of this functional block to turn-to-turn faults in the primary winding of the transformer is confirmed by experimental results.
The second functional unit is also based on one MCT. It detects arc faults between the tube buses of a busbar assembly and breaks in the circuit of one of the splits in a high-current system. To implement this functional unit, the choice of MCT position is justified, the design of this MCT and the electrical circuit of this functional unit are suggested, and its response threshold is calculated. This functional unit enables one to quickly turn off the transformer in the event of an arc fault, to identify and disconnect a damaged pair of tube buses from the circuit, and to successfully complete the smelting of a ferroalloy in an ore-thermal furnace, which undoubtedly significantly reduces the downtime of the furnace and the cost of repair.

5. Conclusions

  • New methods for detecting electrical damage to a single-phase transformer in ore furnaces are suggested. They enable the development of protection that is highly sensitive to turn-to-turn faults in the primary winding and capable of detecting breaks and short circuits in the pairs of tube buses of a high-current system.
  • A theory has been developed for the design and arrangement of magnetic current transformers for the highly sensitive protections of a single-phase transformer in an ore furnace against turn-to-turn faults in the primary winding and breaks and short circuits in the pairs of tube buses of a high-current system.
  • Functional units of the protection device have been designed to turn off a single-phase furnace transformer in the event that several turns are short-circuited in the primary winding of a single-phase transformer in an ore furnace, as well as in the case of breaks and short circuits at any point along the pairs of tube buses of a high-current system.
  • The performance of the suggested protection device has been experimentally tested. The results in the form of oscillograms show that the approach to building up protections for ore furnace transformers against turn-to-turn faults and electrical damage to its high-current system makes it possible to develop protection devices with sufficiently high sensitivity to these damages.
  • The developed protections with MCTs are currently perhaps the only simple and cheap systems capable of not only clearing a short circuit of one to three closed turns in the primary winding of a single-phase transformer in an ore furnace but also preventing the complete damage of an expensive busbar due to a break in the circuit of one of its pairs of tube buses or an arc circuit in them.

Author Contributions

Conceptualization, D.R. and A.N.; Data curation, T.N. and V.G.; Methodology, D.R., A.N. and E.K.; Software, T.N. and E.K.; Project administration, D.R. and A.N.; Resources, T.N. and V.G.; Supervision, A.N.; Validation, D.R. and A.N.; Visualization, T.N. and V.G. All authors have read and agreed to the published version of the manuscript.

Funding

This research was funded by the Committee of Science of the Ministry of Science and Higher Education of the Republic of Kazakhstan (grant no. AP14972775).

Data Availability Statement

All data generated or analyzed during this study are included in this published article.

Conflicts of Interest

The authors declare that they have no known competing financial interests or personal relationships that could have appeared to influence the work reported in this paper.

Nomenclature

TFturn-to-turn faults
AFarc faults
SCshort circuits
MCTmagnetic current transformers
EMFelectromotive force
CTcurrent transformers

References

  1. Ermilov, A. Fundamentals of Power Supply of Industrial Enterprises; Energoatomizdat: Moscow, Russia, 1963; p. 208. (In Russian) [Google Scholar]
  2. Evtyukova, I.; Kacevich, L.; Nekrasova, N.; Svenchanskij, A. Electrotechnological Industrial Installations; Energoizdat: Moscow, Russia, 1982; p. 400. (In Russian) [Google Scholar]
  3. Dantsis, Y.B.; Katsevich, L.S.; Zhilov, G.M.; Mitrofanov, N.N.; Rozenberg, V.L.; Cherenkova, I.M. Short Networks and Electrical Parameters of Electric Arc Furnaces; Metallurgiya: Moscow, Russia, 1987; p. 320. (In Russian) [Google Scholar]
  4. Smelyanskiy, M.Y.; Bortnichuk, N.I. Short Networks of Electric Furnaces; Gosenergoizdat: Leningrad, Russia, 1962; p. 96. (In Russian) [Google Scholar]
  5. Ilyushin, Y.; Martirosyan, A. The Development of the Soderberg Electrolyzer Electromagnetic Field’s state Monitoring System. Sci. Rep. 2024, 14, 3501. [Google Scholar] [CrossRef] [PubMed]
  6. Semchinov, A.M. Current Pipelines of Industrial Enterprises; Semchinov, A.M., Ed.; Energoizdat: Leningrad, Russia, 1981; p. 88. (In Russian) [Google Scholar]
  7. Dantsis, Y.B. Methods of Electrotechnical Calculations of Ore-Thermal Furnaces; Energiya: Leningrad, Russia, 1973; p. 188. (In Russian) [Google Scholar]
  8. Mironova, A.N. Determination of the Resistances of Power Wires of Steel-smelting Arc Furnaces. Vestn. Chuvashskogo Univ. 2017, 1, 137–144. [Google Scholar]
  9. Mharakurwa, E.T. In-service Power Transformer Life Time Prospects: Review and prospects. J. Electr. Comput. Eng. (JECE) 2022, 2022, 9519032. [Google Scholar] [CrossRef]
  10. Zasypkin, A.S. Relay Protection of Transformers; Energoatomizdat: Moscow, Russia, 1989; p. 240. (In Russian) [Google Scholar]
  11. Altgauzen, A.P. Electrical Equipment and Automation of Electrothermal Installations; Altgauzen, A.P., Bershitskiy, M.D., Smelyanskiy, M.Y., Edemskiy, V.M., Eds.; Energiya: Moscow, Russia, 1980; p. 304. (In Russian) [Google Scholar]
  12. Berkovich, M.A.; Molchanov, V.V.; Semenov, V.A. Fundamentals of Relay Protection Technology; Energoatomizdat: Moscow, Russia, 1984; p. 376. (In Russian) [Google Scholar]
  13. Kudryavtsev, A.A. Maximum Current Protection on Magnetic Current Transformers; Energoizdat: Moscow, Russia, 1981; p. 56. (In Russian) [Google Scholar]
  14. Rakhimberdinova, D.M.; Novozhilov, T.A.; Novozhilov, A.N.; Kislov, A.P. Protection of the Short Network of the Ore Thermal Furnace Against Short Circuits. AIP Conf. Proc. 2021, 2337, 030011. [Google Scholar] [CrossRef]
  15. Novozhilov, T.A.; Novozhilov, A.N.; Rakhimberdinova, D.M. Currents in the Bus Assembly of a High-Current System for an Electrofurnace. Russ. Eng. Res. 2020, 40, 995–999. [Google Scholar] [CrossRef]
  16. Andreev, V. Relay Protection and Automatics of Power Supply Systems, 4th ed.; Vyssshaya Shkola: Moscow, Russia, 2008. (In Russian) [Google Scholar]
  17. Elmore, W.A. Protective Relaying Theory and Applications; Marcel Dekker Inc.: New York, NY, USA; Basel, Switzerland, 2004. [Google Scholar]
  18. Kojovic, L. Rogowski Coils Suit Relay Protection and Measurement. IEEE Comput. Appl. Power 1997, 10, 47–52. [Google Scholar] [CrossRef]
  19. Kojovic, L.A.; Bishop, M.T. Electrical Arc Furnace Protection System. U.S. Patent 6,810,069, 26 October 2004. [Google Scholar]
  20. Liu, X.; Li, R.; Liu, Z.; Jiang, R.; Guo, W.; Xing, W.; Li, G.; Deng, M. Method for Collecting Current on Low-Voltage Side of Electric Furnace Transformer and Relay Protection Device. CN Patent 102435813, 2 May 2012. [Google Scholar]
  21. Rakhimberdinova, D.; Novozhilov, A.; Kolesnikov, E.; Andreeva, O.; Talipov, O.; Kislov, A. Arc Fault Protection of the High-Current Busbar Assembly of an Ore Furnace. Energies 2023, 16, 7834. [Google Scholar] [CrossRef]
  22. Yazdani-Asrami, M.; Taghipour-Gorjikolaie, M.; Mohammad Razavi, S.; Asghar Gholamian, S. A novel intelligent protection system for power transformers considering possible electrical faults, inrush current, CT saturation and over-excitation. Int. J. Electr. Power Energy Syst. 2015, 64, 1129–1140. [Google Scholar] [CrossRef]
  23. Novozhilov, A.; Goryunov, V.; Rakhimberdinova, D. Method for Protecting a Single-Phase Furnace Transformer with a Short Network in the Form of a Busbar Group from Electrical Damage. RU Patent 2713204, 5 September 2019. [Google Scholar]
  24. Bessonov, L.A. Theoretical Foundations of Electrical Engineering; Vysshaya Shkola: Moscow, Russia, 1967; p. 775. (In Russian) [Google Scholar]
  25. Simonyi, K. Foundations of Electrical Engineering; The Maximillan Company: New York, NY, USA, 1963. [Google Scholar]
  26. Bobrow, L.S. Foundations of Electrical Engineering; Oxford University Press: Oxford, UK, 2013. [Google Scholar]
  27. Kakuyevitskiy, L.; Smirnova, T. Directory of Protection and Automation Relays; Energiya: Moscow, Russia, 1972; p. 344. (In Russian) [Google Scholar]
Figure 1. Arrangement of the components of a high-current transformer and MCTs for the protection system.
Figure 1. Arrangement of the components of a high-current transformer and MCTs for the protection system.
Energies 17 02630 g001
Figure 2. Design scheme (a) for deriving the dependence (EMCT = f(yct)) of MCT 16 (b) with coil k1 as a winding.
Figure 2. Design scheme (a) for deriving the dependence (EMCT = f(yct)) of MCT 16 (b) with coil k1 as a winding.
Energies 17 02630 g002
Figure 3. Dependence of the EMF of MCT 16 with (a) two and (b) three coils in the winding with equal and different numbers of turns in the coils.
Figure 3. Dependence of the EMF of MCT 16 with (a) two and (b) three coils in the winding with equal and different numbers of turns in the coils.
Energies 17 02630 g003
Figure 4. Dependence ( B y = f ( y ) ) (b) of MCT 15 with the winding of two coils (a) during the transformer operation.
Figure 4. Dependence ( B y = f ( y ) ) (b) of MCT 15 with the winding of two coils (a) during the transformer operation.
Energies 17 02630 g004
Figure 5. Dependence ( B y = f ( y ) ) of MCT 15 with the winding of two coils in the event of (a) a break and (b) an AF in the circuit of the fourth split of the high-current system.
Figure 5. Dependence ( B y = f ( y ) ) of MCT 15 with the winding of two coils in the event of (a) a break and (b) an AF in the circuit of the fourth split of the high-current system.
Energies 17 02630 g005
Figure 6. Schematic of the electrical fault protection of a single-phase furnace transformer with a high-current system.
Figure 6. Schematic of the electrical fault protection of a single-phase furnace transformer with a high-current system.
Energies 17 02630 g006
Figure 7. Electrical circuit of the experimental setup.
Figure 7. Electrical circuit of the experimental setup.
Energies 17 02630 g007
Figure 8. Experimental setup.
Figure 8. Experimental setup.
Energies 17 02630 g008
Figure 9. Oscillograms of current I1 and EMF EMCT1 when energizing the TT-6 transformer in idle mode (0.07 s/Div).
Figure 9. Oscillograms of current I1 and EMF EMCT1 when energizing the TT-6 transformer in idle mode (0.07 s/Div).
Energies 17 02630 g009
Figure 10. Oscillograms of current I1 and EMF EMCT1 when closing one turn in the primary winding of TT-6 in idle mode (0.07 s/Div).
Figure 10. Oscillograms of current I1 and EMF EMCT1 when closing one turn in the primary winding of TT-6 in idle mode (0.07 s/Div).
Energies 17 02630 g010
Figure 11. Estimation of TF protection sensitivity.
Figure 11. Estimation of TF protection sensitivity.
Energies 17 02630 g011
Figure 12. Oscillograms of current I1 and voltage U2r when energizing the TT-6 transformer in idle mode (0.07 s/Div).
Figure 12. Oscillograms of current I1 and voltage U2r when energizing the TT-6 transformer in idle mode (0.07 s/Div).
Energies 17 02630 g012
Figure 13. Break in the circuit of a pair of tube buses (0.07 s/Div).
Figure 13. Break in the circuit of a pair of tube buses (0.07 s/Div).
Energies 17 02630 g013
Figure 14. Short circuit in the circuit of a pair of tube buses (0.07 s/Div).
Figure 14. Short circuit in the circuit of a pair of tube buses (0.07 s/Div).
Energies 17 02630 g014
Disclaimer/Publisher’s Note: The statements, opinions and data contained in all publications are solely those of the individual author(s) and contributor(s) and not of MDPI and/or the editor(s). MDPI and/or the editor(s) disclaim responsibility for any injury to people or property resulting from any ideas, methods, instructions or products referred to in the content.

Share and Cite

MDPI and ACS Style

Rakhimberdinova, D.; Novozhilov, A.; Kolesnikov, E.; Goryunov, V.; Novozhilov, T. Buildup of Fault Protection for High-Current Single-Phase Transformers in Ore Furnaces. Energies 2024, 17, 2630. https://doi.org/10.3390/en17112630

AMA Style

Rakhimberdinova D, Novozhilov A, Kolesnikov E, Goryunov V, Novozhilov T. Buildup of Fault Protection for High-Current Single-Phase Transformers in Ore Furnaces. Energies. 2024; 17(11):2630. https://doi.org/10.3390/en17112630

Chicago/Turabian Style

Rakhimberdinova, Dilara, Aleksandr Novozhilov, Evgeniy Kolesnikov, Vladimir Goryunov, and Timofey Novozhilov. 2024. "Buildup of Fault Protection for High-Current Single-Phase Transformers in Ore Furnaces" Energies 17, no. 11: 2630. https://doi.org/10.3390/en17112630

APA Style

Rakhimberdinova, D., Novozhilov, A., Kolesnikov, E., Goryunov, V., & Novozhilov, T. (2024). Buildup of Fault Protection for High-Current Single-Phase Transformers in Ore Furnaces. Energies, 17(11), 2630. https://doi.org/10.3390/en17112630

Note that from the first issue of 2016, this journal uses article numbers instead of page numbers. See further details here.

Article Metrics

Back to TopTop