A Review of Nanocrystalline Film Thermoelectrics on Lead Chalcogenide Semiconductors: Progress and Application
Abstract
:1. Introduction
2. Materials and Methods
3. Results and Discussion
3.1. Structure Properties
3.2. The Features of Charge-Carriers Scattering in Nano (Submicron)-Grained Films of Lead Chalcogenides
4. Thermoelectric Properties of Submicron Pb1−xInxTe Films on Polyimide Substrate
5. Application
5.1. Film Thermoelectric Module
- Preparation of submicron p-type Bi0.5Sb1.5Te3 layers [11] (the thickness ~5 μm) on two sides of the flexible substrate (the thickness ~10 μm);
- Preparation of submicron n-type Pb0.99In0.01Te layers (the thickness ~5 μm) on two sides of the flexible substrate;
- Perforation between p- and n-type layers. The width of the cut ~0.2 mm, and a length between the cuts ~1 mm;
- Preparation of the electrical contacts (two layers: the first Cr—with thickness ~0.1 μm and the second Au—with thickness ~0.5 μm) on the two sides of flexible substrate between the p- and n-type layers;
- Preparation of a polymeric cover (the thickness ~0.5 mm) on two sides of the film thermoelectric module [50].
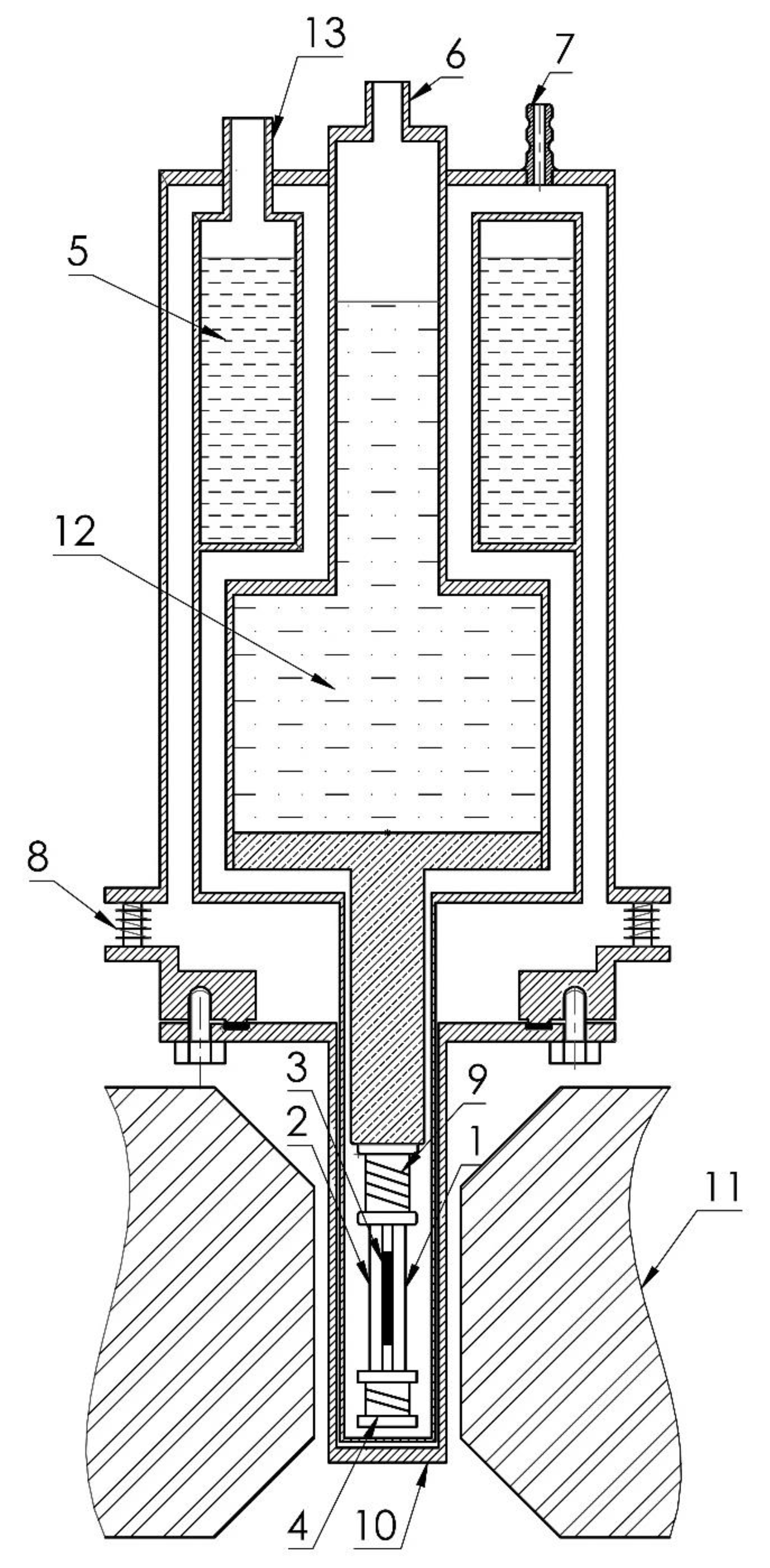
5.2. Film Thermoelectric Detector
6. Conclusions
Author Contributions
Funding
Data Availability Statement
Conflicts of Interest
References
- Vineis, C.J.; Shakouri, A.; Majumdar, A.; Kanatzidis, M.G. Nanostructured thermoelectrics: Big efficiency gains from small features. Adv. Mater. 2010, 22, 3970–3980. [Google Scholar] [CrossRef] [PubMed]
- Chauhan, N.S.; Bathula, S.; Gahtori, B.; Yury, V.; Kolenko, Y.V.; Shyam, R.; Upadhyay, N.K.; Dhar, A. Spinodal decomposition in (Ti, Zr)CoSb half-Heusler: A nanostructuring route toward high efficiency thermoelectric materials. J. Appl. Phys. 2019, 126, 125110. [Google Scholar] [CrossRef]
- Sadek, A.; Salem, H.G. Controlling the Processing Parameters for Consolidation of Nanopowders into Bulk Nanostructured Material. In Processing of Nanoparticle Structures and Composites; Hinklin, T., Lu, K., Eds.; American Ceramic Society: Westerville, OH, USA, 2009; pp. 11–22. [Google Scholar]
- Liu, H.; Zhang, X.; Bu, Z.; Li, W.; Pei, Y. Thermoelectric properties of (GeTe)1−x[(Ag2Te)0.4(Sb2Te3)0.6]x alloys. Rare Met. 2022, 41, 921–930. [Google Scholar] [CrossRef]
- Tan, X.Y.; Dong, J.-F.; Jia, N.; Zhang, H.-X.; Ji, R.; Suwardi, A.; Li, Z.-L.; Zhu, Q.; Xu, J.-W.; Yan, Q.-Y. Enhanced near-room-temperature thermoelectric performance in GeTe. Rare Met. 2022, 41, 3027–3034. [Google Scholar] [CrossRef]
- Wang, H.; Liu, X.; Zhou, Z.; Wu, H.; Chen, Y.; Zhang, B.; Wang, G.; Zhou, X.; Han, G. Constructing n-type Ag2Se/CNTs composites toward synergistically enhanced thermoelectric and mechanical performance. Acta Mater. 2022, 223, 117502. [Google Scholar] [CrossRef]
- Cao, J.; Dong, J.; Saglik, K.; Zhang, D.; Solco, S.F.; You, I.J.; Liu, H.; Zhu, Q.; Xu, J.; Wu, J.; et al. Non-equilibrium strategy for enhancing thermoelectric properties and improving stability of AgSbTe2. Nano Energy 2023, 107, 108118. [Google Scholar] [CrossRef]
- Dashevsky, Z.; Skipidarov, S. Investigating the performance of bismuth-antimony telluride. In Novel Thermoelectric Materials and Device Design Concepts; Springer: Berlin/Heidelberg, Germany, 2019; pp. 3–21. [Google Scholar]
- Ravich, Y.I.; Efimova, B.A.; Smirnov, I.A. Semiconducting Lead Chalcogenides; Plenum Press: New York, NY, USA, 1970. [Google Scholar]
- Goltsman, B.M.; Dashevskii, Z.M.; Kaidanov, V.I.; Kolomoets, N.V. Film Thermoelements: Physics and Application; Nauka: Moscow, Russia, 1985. (In Russian) [Google Scholar]
- Parashchuk, T.; Kostyuk, O.; Nykyruy, L.; Dashevsky, Z. High thermoelectric performance of p-type Bi0.5Sb1.5Te3 films on flexible substrate. Mater. Chem. Phys. 2020, 253, 123427. [Google Scholar] [CrossRef]
- Dashevsky, Z. High photosensitive films of lead chalcogenides. In Handbook of Semiconductor Nanostructures and Nanodevices physics; Balandin, A., Wang, K., Eds.; American Scientific Publishes: Valencia, CA, USA, 2006; Volume 2, pp. 335–359. [Google Scholar]
- Dashevsky, Z.; Kreizman, R.; Dariel, M.P. Physical properties and inversion of conductivity type in nanocrystalline PbTe films. J. Appl. Phys. 2005, 98, 094309. [Google Scholar] [CrossRef]
- Komissarova, T.; Khokhlov, D.; Ryabova, L.; Dashevsky, Z.; Kasiyan, V. Impedance of photosensitive nanocrystalline PbTe (In) films. Phys. Rev. B 2007, 75, 195326–195330. [Google Scholar] [CrossRef]
- Dashevsky, Z.; Kasiyan, V.; Radovsky, G.; Shufer, E.; Auslender, M. Mid-Infrared Photoluminescence PbSe Film Structures up to Room Temperature; SPIE: Riga, Latvia, 2008; pp. 14–720. [Google Scholar]
- Dobrovolsky, A.; Komissarova, T.; Akimov, B.; Khokhlov, D.; Ryabova, L.; Dashevsky, Z. Charge transport in photosensitive nanocrystalline PbTe (In) films an alternating electric field. Int. J. Mater. Res. 2009, 100, 1252–1254. [Google Scholar] [CrossRef]
- Dobrovolsky, A.; Ryabova, L.; Khokhlov, D.; Dashevsky, Z.; Kasiyan, V. Low temperature charge transport in photosensitive nanocrystalline PbTe (In) films. J. Phys. Conf. Ser. 2009, 150, 220–225. [Google Scholar] [CrossRef]
- Dashevsky, Z.; Kreizman, R.; Shufer, E.; Kasiyan, V.; Flitsiyan, E.; Shatkhin, M.; Chernyak, L. Nanocrystalline PbTe films. J. Nanoelectron. Optoelectron. 2009, 4, 296–301. [Google Scholar] [CrossRef]
- Radovsky, G.; Dashevsky, Z.; Kasiyan, V.; Auslender, M.; Hava, S. Polycrystalline PbSe on a Polyimide substrate. J. Alloy. Compd. 2010, 501, 6–13. [Google Scholar] [CrossRef]
- Dobrovolsky, A.; Chernichkin, V.; Belogorokhov, I.; Dashevsky, Z.; Kasiyan, V.; Ryabova, L.; Khokhlov, D. Transport properties and photo- conductivity of nanocrystalline PbTe (In) films. Phys. Status Solidi C 2010, 7, 869–872. [Google Scholar] [CrossRef]
- Chernichkin, V.; Dobrovolsky, A.A.; Ryabova, L.; Khokhlov, D.; Dashevsky, Z. Photoconductivity of PbTe: In films with variable microstructure. Semiconductors 2011, 45, 1474–1478. [Google Scholar] [CrossRef]
- Chernichkin, V.; Dobrovolsky, A.A.; Ryabova, L.; Khokhlov, D.; Dashevsky, Z. Observation of local electron states linked to the quasi-Fermi level. EPL 2012, 100, 17008. [Google Scholar] [CrossRef]
- Kovalyuk, V.; Sheveleva, E.; Auslender, M.; Goltsman, G.; Shneck, R.; Dashevsky, Z. Polycrystalline PbTe: In films on amorphous substrate. Structure and physical properties. Materials 2022, 15, 8383. [Google Scholar] [CrossRef]
- Dobrovolsky, A.; Ryabova, L.; Khokhlov, D.; Dashevsky, Z.; Kasiyan, V. Photoconductivity of oxidized nanostrucrued PbTe (In) films. Semicond. Sci. Technol. 2009, 24, 750–755. [Google Scholar] [CrossRef]
- Kreizman, R.; Traistman, N.; Shaked, M.; Dashevsky, Z.; Dariel, M.P. Thin films of PbTe semiconductors, the influence of oxygen on the electric properties bulk and thin films of PbTe semiconductors. Key Eng. Mater. 2007, 336, 875–878. [Google Scholar] [CrossRef]
- Park, S.J.; Cho, K.S.; Kim, S.H. A study of dielectric characteristics of polyimide thin film. J. Colloid Interface Sci. 2004, 272, 384. [Google Scholar] [CrossRef]
- Bode, D.E.; Levinstein, H. Effect of oxygen on the electrical properties of lead telluride films. Phys. Rev. 1954, 96, 259. [Google Scholar] [CrossRef]
- Dobrovolsky, A.; Komissarova, T.; Dashevsky, Z.; Kassiyan, V.; Akimov, B.; Ryabova, L.; Khokhlov, D. Effect of oxidation on the conductivity of nanocrystalline PbTe: In films in an alternating electric field. Semiconductors 2009, 43, 253–256. [Google Scholar] [CrossRef]
- Dashevsky, Z.; Shufer, E.; Kasiyan, V.; Flitsiyan, E.; Chernyak, L. Influence of oxygen treatment on transport properties of PbTe: In polycrystalline films. Phys. B Condens. Matter 2010, 405, 2380–2384. [Google Scholar] [CrossRef]
- Shufer, E.; Dashevsky, Z.; Kasiyan, V.; Flitsiyan, E.; Chernyak, L.; Gartsman, K. Electrical conductivity and minority carrier diffusion in thermally oxidized PbTe thin films. Phys. B Condens. Matter 2010, 405, 1058–1061. [Google Scholar] [CrossRef]
- Jost, S. Identifying the physical mechanisms of polycrystalline lead salt photoconductors. J. Appl. Phys. 2022, 132, 064503. [Google Scholar] [CrossRef]
- Dzundza, B.; Nykyruy, L.; Parashchuk, T.; Ivakin, E.; Yavorsky, Y.; Chernyak, L.; Dashevsky, Z. Transport and thermoelectric performance of n-type PbTe films. J. Phys. B 2020, 588, 412178. [Google Scholar] [CrossRef]
- Ivakin, E.V.; Tolstik, A.L.; Gorbach, D.V.; Stankevich, A. Investigation of heat transfer of bulk and thin film PbInTe samples by the metod of dynamic grating. J. Eng. Phys. Thermophys. 2022, 95, 1026–1030. [Google Scholar] [CrossRef]
- Parashchuk, T.; Dashevsky, Z.; Wojciechowski, K. Feasibility of a high stable PbTe: In semiconductor for thermoelectric energy applications. J. Appl. Phys. 2019, 125, 245103. [Google Scholar] [CrossRef]
- Dariel, M.P.; Dashevsky, Z.; Jarashnely, A.; Shusterman, S.; Horowitz, A. Carrier concentration gradient generated in p-type PbTe crystals by unidirection solidification. J. Cryst. Growth 2002, 234, 164–170. [Google Scholar] [CrossRef]
- Dashevsky, Z.; Shusterman, S.; Dariel, M.P.; Drabkin, I. Thermoelectric efficiency in graded indium-doped crystals. J. Appl. Phys. 2002, 92, 1425–1430. [Google Scholar] [CrossRef]
- Gradauskas, J.; Dzundza, B.; Chernyak, L.; Dashevsky, Z. Two-color infrared sensors on the PbTe: In p-n junction. Sensors 2021, 21, 1195. [Google Scholar] [CrossRef] [PubMed]
- Young, D.L.; Coutts, T.J.; Kaydanov, V.I. Density-of-states effective mass and scattering parameter measurements by transport phenomena in thin films. Rev. Sci. Instrum. 2000, 71, 462–466. [Google Scholar] [CrossRef]
- Neophytou, N.; Kosina, H. Optimizing thermoelectric power factor by means of a potential barrier. J. Appl. Phys. 2013, 114, 044315. [Google Scholar] [CrossRef]
- Kaidanov, V.I.; Ravich, Y.I. Deep and resonance states in AIV BVI semiconductors. Sov. Phys. Usp. 1985, 28, 31–53. [Google Scholar] [CrossRef]
- Volkov, B.A.; Ryabova, L.I.; Khokhlov, D.P. Mixed-valence impurities in lead telluride-based solid solutions. Phys. Usp. 2002, 45, 819. [Google Scholar] [CrossRef]
- Wojciechowski, K.; Parashchuk, T.; Wiendlocha, B.; Cherniushok, O.; Dashevsky, Z. Highly efficient n-type PbTe developed by advanced electronic structure engineering. J. Mater. Chem. C 2020, 38, 13270. [Google Scholar] [CrossRef]
- Kuo, J.J.; Wood, M.; Slade, T.J.; Kanatzidis, M.G.; Snyder, G.J. Systematic over-estimation of lattice thermal conductivity in materials with electrically-resistive grain boundaries. Energy Environ. Sci. 2020, 13, 1250–1258. [Google Scholar] [CrossRef]
- Karthikeyan, V.; Surjadi, J.U.; Wong, J.C.; Kannan, V.; Lam, K.H.; Chen, X.; Lu, Y.; Roy, V.A. Wearable and flexible thin film thermoelectric module for multi-scale energy harvesting. J. Power Sources 2020, 455, 227983. [Google Scholar] [CrossRef]
- Tappura, K.; Jaakkola, K. A Thin-film thermoelectric generator forl large-Area Applications. Proceedings 2018, 2, 779. [Google Scholar]
- Settaluri, K.T.; Lo, H.; Ram, R.J. Thin Thermoelectric Generator System for Body Energy Harvesting. J. Electron. Mater. 2012, 41, 984. [Google Scholar] [CrossRef]
- Venkatasubramanian, R.; Siivola, E.; Colpitts, T.; O’Quinn, B. Thin-film thermoelectric devices with high room-temperature figures of merit. Nature 2001, 413, 597. [Google Scholar] [CrossRef] [PubMed]
- Fan, P.; Zheng, Z.; Cai, Z.; Chen, T.; Liu, P.; Cai, X.; Zhang, D.; Liang, G.; Luo, J. The high performance of a thin film thermoelectric generator with heat flow running parallel to film surface. Appl. Phys. Let. 2013, 102, 033904. [Google Scholar] [CrossRef]
- Maksymuk, M.; Parashchuk, T.; Dzundza, B.; Nykyruy, L.; Chernyak, L.; Dashevsky, Z. Highly efficient bismuth telluride—based thermoelectric microconvertor. J. Mater. Today Energy 2021, 21, 100753. [Google Scholar] [CrossRef]
- Kostyuk, O.; Yavorsky, Y.; Dzundza, B.; Dashevsky, Z. Development of thermal detector based on flexible film thermoelectric module. J. Phys. Chem. Solid State 2022, 22, 45–52. [Google Scholar] [CrossRef]
- Rogalski, A. Infrared Detectors; CRC Press: Boca Raton, FL, USA, 2010. [Google Scholar]
















| Carrier Concentration n × 10−18, сm−3 | Fermi Level μ*, eВ | μ1, cm2/Vs | r1 | ref | μ2, cm2/Vs | r2 |
|---|---|---|---|---|---|---|
| 6 | 0.075 | 8500 | 0.8 | 1.6 | 6900 | 2.2 |
| 20 | 0.13 | 4900 | 0.6 | 1.5 | 3000 | 2 |
| 100 | 0.3 | 1300 | 0.55 | 1.5 | 1100 | 2.3 |
| Composition | S, μV/K | σ, Ω−1cm−1 | κ, W/mK | κL, W/m K | Z × 103, K−1 | Reference |
|---|---|---|---|---|---|---|
| Pb0.99In0.01Te | −350 | 110 | 1.5 | 1.4 | 0.9 | - |
| Pb10.98In0.02Te | −400 | 70 | 1.4 | 1.4 | 0.8 | - |
| Pb0.97In0.03Te | −440 | 50 | 1.3 | 1.3 | 0.75 | - |
| PbTe0.999I0.0001 | −330 | 100 | 1.8 | 1.7 | 0.6 | [32] |
| Pb0.999In0.001Te | −205 | 600 | 2.2 | 1.9 | 1.1 | [34] |
| Pb0.999In0.001Te0.999I0.001 | −155 | 1100 | 2.5 | 2.0 | 1.05 | [42] |
| Dimensionless Figure of Merit (ZT)av | Efficiency η, % | Resistance R, Ω | Electric Current IL, mA | Output Voltage VL, V | Electric Power PL, mW |
|---|---|---|---|---|---|
| 0.37 | 2.2 | 70 | 29 | 2 | 58 |
| H, mm | Response Time τr, s | Sensitivity Ss, V/W | ||||
|---|---|---|---|---|---|---|
| df = 1 μm | df = 5 μm | df = 10 μm | df = 1 μm | df = 5 μm | df = 10 μm | |
| 1 | 1.5 | 0.9 | 0.7 | 85 | 35 | 15 |
| 2 | 5.1 | 2.5 | 2.0 | 110 | 58 | 35 |
| 3 | 12 | 6.5 | 5.0 | 120 | 100 | 90 |
Disclaimer/Publisher’s Note: The statements, opinions and data contained in all publications are solely those of the individual author(s) and contributor(s) and not of MDPI and/or the editor(s). MDPI and/or the editor(s) disclaim responsibility for any injury to people or property resulting from any ideas, methods, instructions or products referred to in the content. |
© 2023 by the authors. Licensee MDPI, Basel, Switzerland. This article is an open access article distributed under the terms and conditions of the Creative Commons Attribution (CC BY) license (https://creativecommons.org/licenses/by/4.0/).
Share and Cite
Dashevsky, Z.; Mamykin, S.; Dzundza, B.; Auslender, M.; Shneck, R.Z. A Review of Nanocrystalline Film Thermoelectrics on Lead Chalcogenide Semiconductors: Progress and Application. Energies 2023, 16, 3774. https://doi.org/10.3390/en16093774
Dashevsky Z, Mamykin S, Dzundza B, Auslender M, Shneck RZ. A Review of Nanocrystalline Film Thermoelectrics on Lead Chalcogenide Semiconductors: Progress and Application. Energies. 2023; 16(9):3774. https://doi.org/10.3390/en16093774
Chicago/Turabian StyleDashevsky, Zinovi, Sergii Mamykin, Bohdan Dzundza, Mark Auslender, and Roni Z. Shneck. 2023. "A Review of Nanocrystalline Film Thermoelectrics on Lead Chalcogenide Semiconductors: Progress and Application" Energies 16, no. 9: 3774. https://doi.org/10.3390/en16093774
APA StyleDashevsky, Z., Mamykin, S., Dzundza, B., Auslender, M., & Shneck, R. Z. (2023). A Review of Nanocrystalline Film Thermoelectrics on Lead Chalcogenide Semiconductors: Progress and Application. Energies, 16(9), 3774. https://doi.org/10.3390/en16093774

