Optimal Configuration of a Hybrid Photovoltaic/Wind Turbine/Biomass/Hydro-Pumped Storage-Based Energy System Using a Heap-Based Optimization Algorithm
Abstract
1. Introduction
- The mathematical modelling of the hybrid PV/WT/biomass/hydro-pumped storage energy system is demonstrated and applied for a case study in the Ataka region in Egypt.
- A novel metaheuristic algorithm, namely, heap-based optimizer, is employed for the optimal sizing of the studied system.
- The developed algorithm is employed to accurately determine the optimal subsystem capacities of the proposed hybrid system.
- The obtained results based on the proposed algorithm are comprehensively compared with the well-known grey wolf optimizer and the standard PSO optimization algorithms.
- Statistical measurements are conducted to assess the effectiveness and stability of the utilized algorithms in addressing the optimization problem.
2. Mathematical Model of the Hybrid System
2.1. Photovoltaic System
2.2. Wind Turbine Model
2.3. Biomass System
2.4. Hydro-Pumped Storage System
2.5. Inverter
3. Case Study Description
4. Optimization Problem
4.1. Cost of Energy
4.2. Objective Function and Constraints
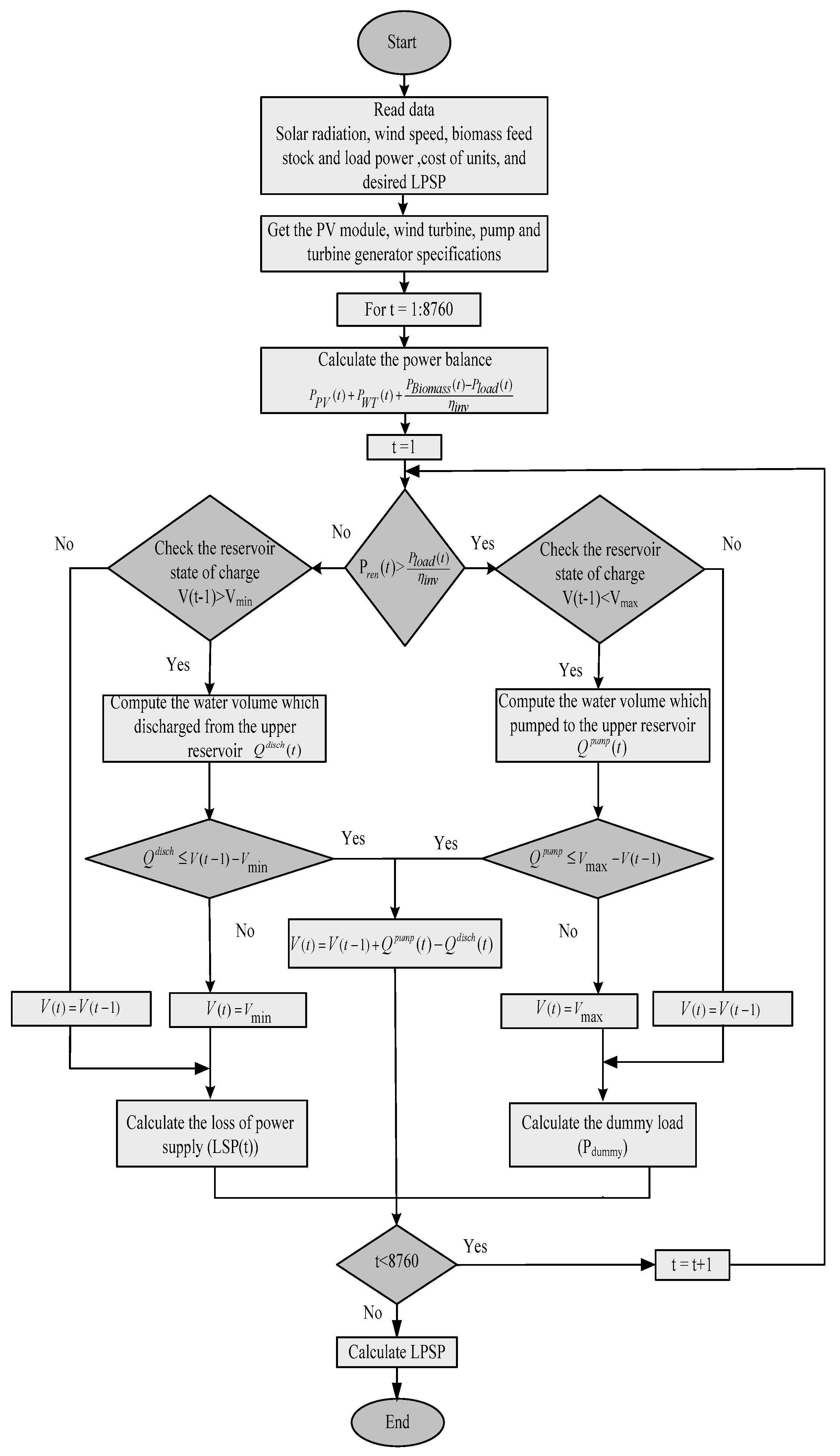
4.3. Operation Strategy
- When the electrical power generated from renewable energy resources (PV, wind, and BG) equals the load requirements, the demand is achieved by a RES without the hydro-pumped storage power plant.
- If the electrical power produced by the renewable energy resources is greater than the load requirements, the difference is transmitted to the HPS system to work in the pumping mode, letting the water pump set work and raising the water to the higher tank.
- If the upper reservoir is fully charged and the produced power from the RES is greater than the reservoir capacity, the surplus is consumed by a dummy load.
- When the electrical power generated by the RES does not cover the load needs, the deficit in power is covered by operating the HPS system in the generator mode.
- If the water volume in the upper reservoir reaches the lowest margin and the deficit power is higher than the rated power of the turbine/generator set, the LPSP increases.
5. Optimization Algorithms
5.1. HBO Algorithm
5.1.1. Modelling of the CRH Concept
5.1.2. Modelling of the Interaction with the Direct Manger
5.1.3. Modelling of the Interactivity between the Subordinators
5.1.4. Modelling of the Employee’s Self-Contribution
5.1.5. Position Update
5.2. GWO Algorithm
6. Simulation Results and Discussion
7. Conclusions
Author Contributions
Funding
Data Availability Statement
Acknowledgments
Conflicts of Interest
References
- Goedecke, M.; Therdthianwong, S.; Gheewala, S.H. Life cycle cost analysis of alternative vehicles and fuels in Thailand. Energy Policy 2007, 35, 3236–3246. [Google Scholar] [CrossRef]
- Ellabban, O.; Abu-Rub, H.; Blaabjerg, F. Renewable energy resources: Current status, future prospects and their enabling technology. Renew. Sustain. Energy Rev. 2014, 39, 748–764. [Google Scholar] [CrossRef]
- Diab, A.A.Z.; Sultan, H.M.; Kuznetsov, O.N. Optimal sizing of hybrid solar/wind/hydroelectric pumped storage energy system in Egypt based on different meta-heuristic techniques. Environ. Sci. Pollut. Res. 2020, 27, 32318–32340. [Google Scholar] [CrossRef] [PubMed]
- Sultan, H.M.; Menesy, A.S.; Kamel, S.; Alghamdi, A.S.; Zohdy, M. Optimal Sizing of Isolated Hybrid PV/WT/FC System Using Manta Ray Foraging Optimization Algorithm. Int. Trans. J. Eng. Manag. Appl. Sci. Technol. 2020, 11, 1–12. [Google Scholar]
- Alfakih, N.M.; Menesy, A.S.; Wang, P.; Ali, M.A.; Sultan, H.M.; Mosaad, M.I.; Kamel, S. Efficiency Improvement of Solar Cells by Coating with Chlorophyll and Different Types of Oils. In Proceedings of the 2021 IEEE International Conference on Automation/XXIV Congress of the Chilean Association of Automatic Control (ICA-ACCA), Online, 22–26 March 2021; IEEE: Piscataway, NJ, USA, 2021; pp. 1–6. [Google Scholar]
- Ishraque, M.F.; Shezan, S.A.; Ali, M.; Rashid, M. Optimization of load dispatch strategies for an islanded microgrid connected with renewable energy sources. Appl. Energy 2021, 292, 116879. [Google Scholar] [CrossRef]
- Sultan, H.M.; Kuznetsov, O.N.; Menesy, A.S.; Kamel, S. Optimal configuration of a grid-connected hybrid PV/wind/hydro-pumped storage power system based on a novel optimization algorithm. In Proceedings of the 2020 International Youth Conference on Radio Electronics, Electrical and Power Engineering (REEPE), Moscow, Russia, 12–14 March 2020; IEEE: Piscataway, NJ, USA, 2020; pp. 1–7. [Google Scholar]
- Xu, D.; Kang, L.; Chang, L.; Cao, B. Optimal sizing of standalone hybrid wind/PV power systems using genetic algorithms. In Proceedings of the Canadian Conference on Electrical and Computer Engineering, Saskatoon, SK, Canada, 1–4 May 2005; IEEE: Piscataway, NJ, USA, 2005; pp. 1722–1725. [Google Scholar]
- Barik, A.K.; Jaiswal, S.; Das, D.C. Recent trends and development in hybrid microgrid: A review on energy resource planning and control. Int. J. Sustain. Energy 2022, 41, 308–322. [Google Scholar] [CrossRef]
- Abd El-Sattar, H.; Sultan, H.M.; Kamel, S.; Menesy, A.S.; Rahmann, C. Optimal design of hybrid stand-alone microgrids using tunicate swarm algorithm. In Proceedings of the 2021 IEEE International Conference on Automation/XXIV Congress of the Chilean Association of Automatic Control (ICA-ACCA), Online, 22–26 March 2021; IEEE: Piscataway, NJ, USA, 2021; pp. 1–6. [Google Scholar]
- Diab, A.A.Z.; Sultan, H.M.; Mohamed, I.S.; Kuznetsov, O.N.; Do, T.D. Application of different optimization algorithms for optimal sizing of PV/wind/diesel/battery storage stand-alone hybrid microgrid. IEEE Access 2019, 7, 119223–119245. [Google Scholar] [CrossRef]
- Sultan, H.M.; Menesy, A.S.; Kamel, S.; Alghamdi, A.S.; Rahmann, C. Optimal design of a grid-connected hybrid photovoltaic/wind/fuel cell system. In Proceedings of the 2020 IEEE Electric Power and Energy Conference (EPEC), Edmonton, AB, Canada, 9–10 November 2020; IEEE: Piscataway, NJ, USA, 2020; pp. 1–6. [Google Scholar]
- Al-qadasi, D.M.; Menesy, A.S.; Wang, P.; Alfakih, N.M.; Zhang, Q.; Mosaad, M.I.; Kamel, S. Study on Preparation Method of Heat-Insulated Super-Hydrophobic Film and Improvement of Photovoltaic Modules Efficiency. In Proceedings of the 2021 IEEE International Conference on Automation/XXIV Congress of the Chilean Association of Automatic Control (ICA-ACCA), Online, 22–26 March 2021; IEEE: Piscataway, NJ, USA, 2021; pp. 1–5. [Google Scholar]
- León, L.M.; Romero-Quete, D.; Merchán, N.; Cortés, C.A. Optimal design of PV and hybrid storage based microgrids for healthcare and government facilities connected to highly intermittent utility grids. Appl. Energy 2023, 335, 120709. [Google Scholar] [CrossRef]
- Thirunavukkarasu, M.; Sawle, Y.; Lala, H. A comprehensive review on optimization of hybrid renewable energy systems using various optimization techniques. Renew. Sustain. Energy Rev. 2023, 176, 113192. [Google Scholar] [CrossRef]
- Sawle, Y.; Gupta, S.; Bohre, A.K. Optimal sizing of standalone PV/Wind/Biomass hybrid energy system using GA and PSO optimization technique. Energy Procedia 2017, 117, 690–698. [Google Scholar] [CrossRef]
- Ma, T.; Yang, H.; Lu, L.; Peng, J. Optimal design of an autonomous solar–wind-pumped storage power supply system. Appl. Energy 2015, 160, 728–736. [Google Scholar] [CrossRef]
- Spyrou, I.D.; Anagnostopoulos, J.S. Design study of a stand-alone desalination system powered by renewable energy sources and a pumped storage unit. Desalination 2010, 257, 137–149. [Google Scholar] [CrossRef]
- Dong, W.; Li, Y.; Xiang, J. Optimal sizing of a stand-alone hybrid power system based on battery/hydrogen with an improved ant colony optimization. Energies 2016, 9, 785. [Google Scholar] [CrossRef]
- Ashari, M.; Suryoatmojo, H.; Robandi, I.; Hiyama, T. Optimal design of hydrogen based stand-alone wind/microhydro system using genetic algorithm. In Proceedings of the ICSIIT 2010, Bali, Indonesia, 1–2 July 2010; Volume 71. [Google Scholar]
- Upadhyay, S.; Sharma, M. Selection of a suitable energy management strategy for a hybrid energy system in a remote rural area of India. Energy 2016, 94, 352–366. [Google Scholar] [CrossRef]
- Akram, U.; Khalid, M.; Shafiq, S. An innovative hybrid wind-solar and battery-supercapacitor microgrid system—Development and optimization. IEEE Access 2017, 5, 25897–25912. [Google Scholar] [CrossRef]
- Khalid, M.; Ahmadi, A.; Savkin, A.V.; Agelidis, V.G. Minimizing the energy cost for microgrids integrated with renewable energy resources and conventional generation using controlled battery energy storage. Renew. Energy 2016, 97, 646–655. [Google Scholar] [CrossRef]
- Mohammadi, S.; Soleymani, S.; Mozafari, B. Scenario-based stochastic operation management of microgrid including wind, photovoltaic, micro-turbine, fuel cell and energy storage devices. Int. J. Electr. Power Energy Syst. 2014, 54, 525–535. [Google Scholar] [CrossRef]
- Ma, T.; Yang, H.; Lu, L. Feasibility study and economic analysis of pumped hydro storage and battery storage for a renewable energy powered island. Energy Convers. Manag. 2014, 79, 387–397. [Google Scholar] [CrossRef]
- Khan, A.; Javaid, N. Optimal sizing of a stand-alone photovoltaic, wind turbine and fuel cell systems. Comput. Electr. Eng. 2020, 85, 106682. [Google Scholar] [CrossRef]
- Ahmad, J.; Imran, M.; Khalid, A.; Iqbal, W.; Ashraf, S.R.; Adnan, M.; Ali, S.F.; Khokhar, K.S. Techno economic analysis of a wind-photovoltaic-biomass hybrid renewable energy system for rural electrification: A case study of Kallar Kahar. Energy 2018, 148, 208–234. [Google Scholar] [CrossRef]
- Samy, M.; Elkhouly, H.I.; Barakat, S. Multi-objective optimization of hybrid renewable energy system based on biomass and fuel cells. Int. J. Energy Res. 2021, 45, 8214–8230. [Google Scholar] [CrossRef]
- Sun, H.; Ebadi, A.G.; Toughani, M.; Nowdeh, S.A.; Naderipour, A.; Abdullah, A. Designing framework of hybrid photovoltaic-biowaste energy system with hydrogen storage considering economic and technical indices using whale optimization algorithm. Energy 2022, 238, 121555. [Google Scholar] [CrossRef]
- Zhang, K.; Pan, M.; Li, X. A novel efficient and economic integrated energy system based on solid oxide fuel cell with energy storage and carbon dioxide capture. Energy Convers. Manag. 2022, 252, 115084. [Google Scholar] [CrossRef]
- Akram, U.; Khalid, M.; Shafiq, S. Optimal sizing of a wind/solar/battery hybrid grid-connected microgrid system. IET Renew. Power Gener. 2018, 12, 72–80. [Google Scholar] [CrossRef]
- Owebor, K.; Diemuodeke, E.; Briggs, T. Thermo-economic and environmental analysis of integrated power plant with carbon capture and storage technology. Energy 2022, 240, 122748. [Google Scholar] [CrossRef]
- He, M.; Forootan Fard, H.; Yahya, K.; Mohamed, M.; Alhamrouni, V.; Awalin, L.J. Optimal design of hybrid renewable systems, including grid, PV, bio generator, diesel generator, and battery. Sustainability 2023, 15, 3297. [Google Scholar] [CrossRef]
- Okoduwa, E.O.; Imoedemhe, H.O.; Orukpe, P.E. Optimal sizing of a hybrid photovoltaic/fuel cell grid-connected power system including hydrogen storage. J. Adv. Sci. Eng. 2023, 8, 18–26. [Google Scholar]
- Muleta, V.; Badar, A.Q. Designing of an Optimal Standalone Hybrid Renewable Energy Micro-grid Model through Different Algorithms. J. Eng. Res. 2023, 11, 100011. [Google Scholar] [CrossRef]
- Ghobadpour, A.; Cardenas, A.; Monsalve, G.; Mousazadeh, H. Optimal Design of Energy Sources for a Photovoltaic/Fuel Cell Extended-Range Agricultural Mobile Robot. Robotics 2023, 12, 13. [Google Scholar] [CrossRef]
- Chisale, S.W.; Eliya, S.; Taulo, J. Optimization and design of hybrid power system using HOMER pro and integrated CRITIC-PROMETHEE II approaches. Green Technol. Sustain. 2023, 1, 100005. [Google Scholar] [CrossRef]
- Askari, Q.; Saeed, M.; Younas, I. Heap-based optimizer inspired by corporate rank hierarchy for global optimization. Expert Syst. Appl. 2020, 161, 113702. [Google Scholar] [CrossRef]
- Adam, S.P.; Alexandropoulos, S.A.N.; Pardalos, P.M.; Vrahatis, M.N. No free lunch theorem: A review. Approx. Optim. Algorithms 2019, 145, 57–82. [Google Scholar]
- Lei, G.; Song, H.; Rodriguez, D. Power generation cost minimization of the grid-connected hybrid renewable energy system through optimal sizing using the modified seagull optimization technique. Energy Rep. 2020, 6, 3365–3376. [Google Scholar] [CrossRef]
- El-Sattar, H.A.; Kamel, S.; Sultan, H.; Tostado-Véliz, M.; Eltamaly, A.M.; Jurado, F. Performance Analysis of a Stand-Alone PV/WT/Biomass/Bat System in Alrashda Village in Egypt. Appl. Sci. 2021, 11, 10191. [Google Scholar] [CrossRef]
- Salman, U.T.; Al-Ismail, F.S.; Khalid, M. Optimal sizing of battery energy storage for grid-connected and isolated wind-penetrated microgrid. IEEE Access 2020, 8, 91129–91138. [Google Scholar] [CrossRef]
- Sultan, H.M.; Menesy, A.S.; Kamel, S.; Korashy, A.; Almohaimeed, S.; Abdel-Akher, M. An improved artificial ecosystem optimization algorithm for optimal configuration of a hybrid PV/WT/FC energy system. Alex. Eng. J. 2021, 60, 1001–1025. [Google Scholar] [CrossRef]
- El-Sattar, H.A.; Kamel, S.; Jurado, F. Fixed bed gasification of corn stover biomass fuel: Egypt as a case study. Biofuels Bioprod. Biorefin. 2020, 14, 7–19. [Google Scholar] [CrossRef]
- Abd El-Sattar, H.; Kamel, S.; Vera, D.; Jurado, F. Tri-generation biomass system based on externally fired gas turbine, organic rankine cycle and absorption chiller. J. Clean. Prod. 2020, 260, 121068. [Google Scholar] [CrossRef]
- Eteiba, M.; Barakat, S.; Samy, M.; Wahba, W.I. Optimization of an off-grid PV/Biomass hybrid system with different battery technologies. Sustain. Cities Soc. 2018, 40, 713–727. [Google Scholar] [CrossRef]
- Alshammari, N.; Asumadu, J. Optimum unit sizing of hybrid renewable energy system utilizing harmony search, Jaya and particle swarm optimization algorithms. Sustain. Cities Soc. 2020, 60, 102255. [Google Scholar] [CrossRef]
- Sultan, H.M.; Diab, A.A.Z.; Oleg, N.K.; Irina, S.Z. Design and evaluation of PV-wind hybrid system with hydroelectric pumped storage on the National Power System of Egypt. Glob. Energy Interconnect. 2018, 1, 301–311. [Google Scholar]
- Khan, M.J.; Iqbal, M.T. Pre-feasibility study of stand-alone hybrid energy systems for applications in Newfoundland. Renew. Energy 2005, 30, 835–854. [Google Scholar] [CrossRef]
- Mirjalili, S.; Mirjalili, S.M.; Lewis, A. Grey wolf optimizer. Adv. Eng. Softw. 2014, 69, 46–61. [Google Scholar] [CrossRef]
- Alturki, F.A.; Awwad, E.M. Sizing and cost minimization of standalone hybrid wt/pv/biomass/pump-hydro storage-based energy systems. Energies 2021, 14, 489. [Google Scholar] [CrossRef]
- U.S. Energy Information Administration (EIA). Quarterly Coal Report (Abbreviated); EIA: Washington, DC, USA, 2015.
- Marten, A.L.; Newbold, S.C. Estimating the social cost of non-CO 2 GHG emissions: Methane and nitrous oxide. Energy Policy 2012, 51, 957–972. [Google Scholar] [CrossRef]
- U.S. Environmental Protection Agency (EPA). The Social Cost of Carbon; U.S. Environmental Protection Agency: Washington, DC, USA, 2019.



















| PV Module | WT | ||
|---|---|---|---|
| Model | PV-MLT260HC | Model | Fuhrländer FL 30 |
| Rated power | 5.46 kW | Rated power | 1 kW |
| Operating temperature | 43 °C | Cut-in speed | 3.1 m/s |
| Temperature coefficient | 0.0037 | Rated speed | 11.6 m/s |
| Module efficiency | 0.15 | Cut-off speed | 25 m/s |
| Capital cost | 14,854 USD/kW | Capital cost | 3200 USD/kW |
| Replacement cost | 13,885 USD/kW | Replacement cost | USD 3200 |
| O&M cost | 10 USD/kW | O&M cost | 100 USD/kW |
| Lifetime | 20 years | Lifetime | 20 years |
| Biomass | Turbine–generator set | ||
| Generator Power | 50 kW | Rated power | 1 kW |
| Gas efficiency | 80% | Efficiency | 90% |
| Capital cost | 16,000 USD/kW | Capital cost | 1000 USD/kW |
| O&M cost | 1.2 USD/kWh | Replacement cost | 10,000 USD/kW |
| Lifetime | 25 years | O&M cost | 3% |
| Lifetime | 10 years | ||
| Pump–motor set | Tank | ||
| Rated power | 45 kW | Capital cost | 170 USD/kW |
| Efficiency | 90% | Lifetime | 25 years |
| Capital cost | 10,749 USD/kW | ||
| Replacement cost | 10,749 USD/kW | ||
| O&M cost | 3% | ||
| Lifetime | 10 years | ||
| Metrics | HBO | GWO | PSO |
|---|---|---|---|
| Min | 0.0751 | 0.0755 | 0.075733 |
| Max | 0.0754 | 0.0849 | 0.090560 |
| Mean | 0.0751 | 0.0782 | 0.0802810 |
| Median | 0.0751 | 0.0779 | 0.0790643 |
| STD | 0.0045 | 0.1630 | 0.3347190 |
| RE | 0.0047 | 1.7735 | 3.0019870 |
| MAE | 7.1383 × 10−6 | 0.0026 | 0.0045470 |
| RMSE | 4.5138 × 10−5 | 0.0031 | 0.0056263 |
| Eff. | 99.9905 | 96.6143 | 94.489417 |
| HBO | GWO | PSO | |
|---|---|---|---|
| Best objective value | 0.0751 | 0.0755 | 0.075734 |
| Iteration number for optimal solution | 82 | 99 | 38 |
| PV (units) | 82.619 | 82.810 | 83.68874 |
| WT (units) | 100 | 92.199 | 88.381770 |
| Ngen (units) | 1 | 1 | 1 |
| Volume (m3) | 17,089.913 | 16,736.536 | 16,887.621 |
| Pump (m3/s) | 0.5079 | 0.5109 | 0.6059977 |
| Turbine (m3/s) | 1.1155 | 1.4230 | 0.983887 |
| LPSP | 0.03296 | 0.03479 | 0.0334135 |
| PEXC | 0.01739 | 0.01651 | 0.0173058 |
| NPC (USD/year) | 8,055,051.133 | 8,056,311.365 | 8,120,233.162 |
| COE (USD/kWh) | 0.2750 | 0.2750 | 0.277231 |
Disclaimer/Publisher’s Note: The statements, opinions and data contained in all publications are solely those of the individual author(s) and contributor(s) and not of MDPI and/or the editor(s). MDPI and/or the editor(s) disclaim responsibility for any injury to people or property resulting from any ideas, methods, instructions or products referred to in the content. |
© 2023 by the authors. Licensee MDPI, Basel, Switzerland. This article is an open access article distributed under the terms and conditions of the Creative Commons Attribution (CC BY) license (https://creativecommons.org/licenses/by/4.0/).
Share and Cite
Menesy, A.S.; Sultan, H.M.; Habiballah, I.O.; Masrur, H.; Khan, K.R.; Khalid, M. Optimal Configuration of a Hybrid Photovoltaic/Wind Turbine/Biomass/Hydro-Pumped Storage-Based Energy System Using a Heap-Based Optimization Algorithm. Energies 2023, 16, 3648. https://doi.org/10.3390/en16093648
Menesy AS, Sultan HM, Habiballah IO, Masrur H, Khan KR, Khalid M. Optimal Configuration of a Hybrid Photovoltaic/Wind Turbine/Biomass/Hydro-Pumped Storage-Based Energy System Using a Heap-Based Optimization Algorithm. Energies. 2023; 16(9):3648. https://doi.org/10.3390/en16093648
Chicago/Turabian StyleMenesy, Ahmed S., Hamdy M. Sultan, Ibrahim O. Habiballah, Hasan Masrur, Kaisar R. Khan, and Muhammad Khalid. 2023. "Optimal Configuration of a Hybrid Photovoltaic/Wind Turbine/Biomass/Hydro-Pumped Storage-Based Energy System Using a Heap-Based Optimization Algorithm" Energies 16, no. 9: 3648. https://doi.org/10.3390/en16093648
APA StyleMenesy, A. S., Sultan, H. M., Habiballah, I. O., Masrur, H., Khan, K. R., & Khalid, M. (2023). Optimal Configuration of a Hybrid Photovoltaic/Wind Turbine/Biomass/Hydro-Pumped Storage-Based Energy System Using a Heap-Based Optimization Algorithm. Energies, 16(9), 3648. https://doi.org/10.3390/en16093648

