Analysis of Fluid-Solid Coupling Radial Heat Transfer Characteristics in a Normal Hexagonal Bundle Regenerator under Oscillating Flow
Abstract
:1. Introduction
2. Theoretical Model
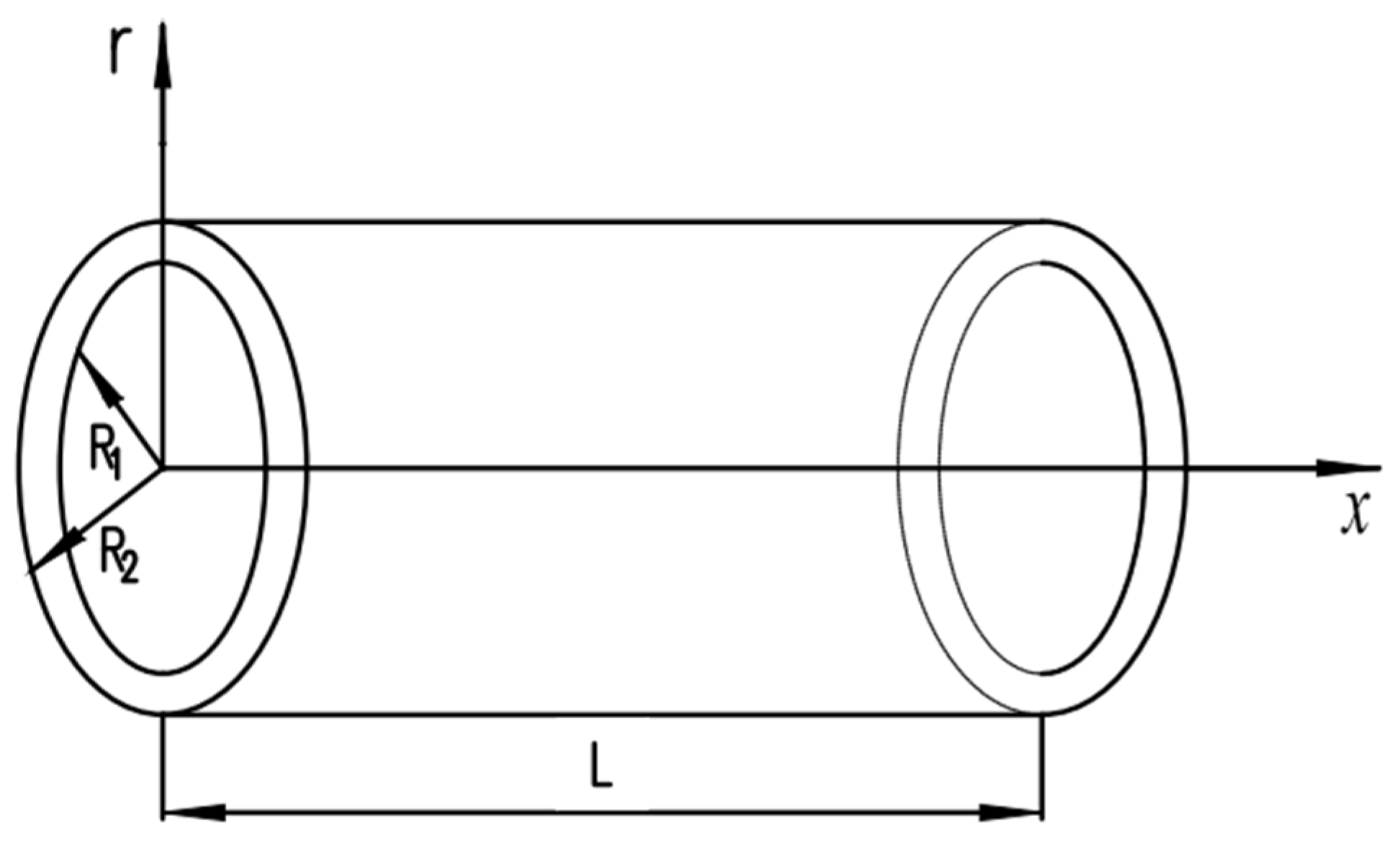
2.1. System Model and Regenerator Single-Tube Model
2.2. Governing Equation
3. Analysis of the Governing Equation
3.1. Pressure Fluctuation
3.2. Radial Flow Velocity of Fluid in the Pipe
3.3. Fluid-Solid Coupling Radial Temperature
4. Analysis of Radial Heat Transfer Characteristics
4.1. Radial Heat Transfer Characteristics of the Velocity Field
4.2. Heat Transfer Characteristics of the Fluid-Solid Coupling Surface
4.3. Fluid-Solid Coupling Radial Heat Transfer Characteristics of the Heat Field
4.4. The EHTC under Oscillation
5. Conclusions
- By taking a normal hexagonal bundle regenerator as the object, we established a physical model of a closed system with an incompressible isochoric process under oscillating flow. The pressure fluctuation in the system was analyzed by associating piston motion with pressure fluctuation. In the complex domain, the fluid momentum equation and the energy equations were solved simultaneously. Also, the fluid velocity and the temperature distribution of the fluid-solid coupling wall were assessed. Finally, an analytical expression of radial heat transfer and the EHTC within a specified period were established. The analytical solutions of velocity, temperature, heat, and equivalent heat transfer coefficient were obtained, which revealed the following: Temperature amplitudes at different frequencies can be divided into three parts: the unidirectional flow part, with a constant wall temperature; the low-frequency part, where changes in temperature amplitude decrease dramatically under oscillation, which should be avoided when selecting the operating frequency; and the high-frequency part, in which the temperature amplitude gradually rises as the frequency increases.
- Under the effect of frequency, the radial heat transfer of air and helium differs greatly in fluid-solid coupling. When air is the working medium, heat transfer drops sharply with increasing frequency in the low-frequency part. Subsequently, the decrease slows down until a certain point, where the amount of heat transferred remains roughly constant.
- When air is the working medium, its frequency is f ≥ 80 Hz, and the effect of the temperature loop means that heat transfer only occurs when r ≤ 0.4 mm. In this state, the fluid moves to the right.
- The R1 value that corresponds to the maximum heat value of the fluid-solid coupling surface is different from the R1 that corresponds to the maximum EHTC. Thus, the value of R1 can be considered as a compromise between fluid-solid heat coupling and the EHTC.
6. Patent
Author Contributions
Funding
Data Availability Statement
Conflicts of Interest
Nomenclature
| a | thermal diffusivity, m2/s |
| μ | dynamic viscosity, N·s/m2 |
| λ | heat conductivity coefficient, W/m K |
| ρ | density, kg/m3 |
| Cp | specific heat at constant pressure, J/Kg K |
| r | radial radius, m |
| R1 | fluid limit radius, m |
| R2 | limit radius of tube wall, m |
| L | length of regenerator, m |
| N | number of regenerator round tubes |
| Ah | piston amplitude, m |
| Ain | fluid amplitude, m |
| Rh | piston radius, m |
| ϕ | regenerator porosity |
| T | temperature, K |
| ΔT | the range of temperature change caused by the oscillating flow, K |
| x0 | the piston sits at the center of simple harmonic motion, m |
| xh | piston displacement, m |
| axial velocity, m/s | |
| γ | time-averaged axial temperature gradient, K/m |
| Q | quantity of heat, J |
| S | single-tube surface area of regenerator, m2 |
| ω | angular frequency, 1/s |
| K | the Equivalent heat transfer coefficient, W/m2·K |
| frequency parameter of the Bessel differential equation for the velocity, 1/m | |
| frequency parameter of the Bessel differential equation for the temperature of the liquid, 1/m | |
| frequency parameter of the Bessel differential equation for the temperature of the solid, 1/m | |
| J0 | Bessel function of the first kind of zeroth order |
| J1 | Bessel function of the first kind of first order |
| Y0 | Bessel function of the second kind of zeroth order |
| Y1 | Bessel function of the second kind of first order |
| p | instantaneous pressure of regenerator, Pa |
| pm | mean pressure, Pa |
| px | pressure gradient, Pa/m |
| u | instantaneous fluid velocity, m/s |
| average fluid velocity, m/s | |
| t | time, s |
| x | axial displacement, m |
| Subscript | |
| h | high temperature |
| l | low temperature |
| f | fluid |
| w | wall |
| in | inlet |
| real | real part |
| m | mean |
Appendix A
Appendix B
References
- Wang, Y.; Zhang, J.; Liu, B.; Dong, H.; Liu, X. Progress in Applications of Reverse Stirling Cycle Technology in Air Conditioning System of Pure Electric Vehicles. J. Xi’an Technol. Univ. 2021, 6, 609–620. [Google Scholar]
- He, Y.-L.; Zhang, D.-W.; Yang, W.-W.; Gao, F. Numerical analysis on performance and contaminated failures of the miniature split Stirling cryocooler. Cryogenics 2014, 59, 12–22. [Google Scholar] [CrossRef]
- Hachem, H.; Gheith, R.; Aloui, F.; Nasrallah, S.B.; Dincer, I. Exergy Assessment of Heat Transfer inside a Beta Type Stirling Engine. Int. J. Exergy 2016, 20, 186–202. [Google Scholar]
- Hachem, H.; Gueith, R.; Aloui, F.; Dincer, I.; Ben Nasrallah, S. Energetic and Exergetic Performance Evaluations of an Experimental Beta Type Stirling Machine. In Progress in Clean Energy, Volume 2: Novel Systems and Applications; Springer: Berlin/Heidelberg, Germany, 2015; pp. 735–753. [Google Scholar]
- Haywood, D.; Raine, J. Development of a Stirling-cycle Refrigerator. In IPENZ Conference 98; Informit: Wellington, New Zealand, 1998; pp. 40–44. [Google Scholar]
- Haywood, D.; Raine, J.K.; Gschwendtner, M.A. Investigation of Seal Performance in a 4-α Double-Acting Stirling-Cycle Heat-Pump/Refrigerator. In Proceedings of the 10th International Stirling Engine Conference and Exhibition, Osnabrück, Germany, 20–25 May 2009; p. 132154. [Google Scholar]
- Haywood, D.; Raine, J.K.; Gschwendtner, M.A. Stirling-cycle Heat-pumps and Refrigerators—A realistic alternative? In Proceedings of the Heating & Conditioning Engineers 2002 Conference, Christchurch, New Zealand; 2002; p. 4942-1. [Google Scholar]
- Haywood, D. Investigation of Stirling-Type Heat-Pump and Refrigerator Systems Using Air as the Refrigerant. Ph.D. Thesis, University of Canterbury, Canterbury, UK, 2004. [Google Scholar]
- Hachem, H.; Gheith, R.; Ben Nasrallah, S.; Aloui, F. Impact of Operating Parameters on Beta Type Regenerative Stirling Machine Performances. In Proceedings of the ASME-JSME-KSME 2015 Joint Fluids Engineering Conference, Seoul, Republic of Korea, 26–31 July 2015; p. 22088. [Google Scholar]
- Hheith, H.; Gheith, R.; Nasrallah, S.B. Energetic and Exergetic Performance Evaluations of an Experimental Beta Type Stirling Machine; Springer International Publishing: Cham, Switzerland, 2015. [Google Scholar]
- Nielsen, A.S.; York, B.T.; MacDonald, B.D. Stirling engine regenerators: How to attain over 95% regenerator effectiveness with sub-regenerators and thermal mass ratios. Appl. Energy 2019, 253, 113557. [Google Scholar] [CrossRef]
- Wang, Y.; Zhang, J.; Zhang, T.; Lu, Z.; Dong, H. Analysis and Experiment of Heat Transfer Performance of Straight-Channel Grid Regenerator. Int. J. Heat Technol. 2022, 40, 781–791. [Google Scholar] [CrossRef]
- Zhang, J.; Kurzweg, U. Numerical simulation of time-dependent heat transfer in oscillating pipe flow. J. Thermophys. Heat Transf. 1991, 5, 401–406. [Google Scholar] [CrossRef]
- Zhao, T.; Cheng, P. A numerical solution of laminar forced convection in a heated pipe subjected to a reciprocating flow. Int. J. Heat Mass Transf. 1995, 38, 3011–3022. [Google Scholar] [CrossRef]
- Zhao, T.; Cheng, P. The friction coefficient of a fully developed laminar reciprocating flow in a circular pipe. Int. J. Heat Fluid Flow 1996, 17, 167–172. [Google Scholar] [CrossRef]
- Zhao, T.; Cheng, P. Oscillatory Heat Transfer in a Pipe Subjected to a Laminar Reciprocating Flow. J. Heat Transf. 1996, 118, 592–597. [Google Scholar] [CrossRef]
- Zhao, T.; Cheng, P. Experimental studies on the onset of turbulence and frictional losses in an oscillatory turbulent pipe flow. Int. J. Heat Fluid Flow 1996, 17, 356–362. [Google Scholar] [CrossRef]
- Jia, S.; Dong, J.Z.; Li, M.Z. A review on the flow characteristics of oscillating flow in Stirling engine. China Sci. Technol. Exp. 2011, 36, 387–389. [Google Scholar]
- Brereton, G.J.; Jalil, S.M. Diffusive heat and mass transfer in oscillatory pipe flow. Phys. Fluids 2017, 29, 073601. [Google Scholar] [CrossRef]
- Xiao, G.; Peng, H.; Fan, H.; Sultan, U.; Ni, M. Characteristics of steady and oscillating flows through regenerator. Int. J. Heat Mass Transf. 2017, 108, 309–321. [Google Scholar] [CrossRef]
- Chen, Y.; Luo, E.; Dai, W. Heat transfer characteristics of oscillating flow regenerator filled with circular tubes or parallel plates. Cryogenics 2007, 47, 40–48. [Google Scholar] [CrossRef]
- Zhao, L.; Zhu, G.; Cao, Y.; Zhu, D. Some problems of heat transfer enhancement by laminar viscous oscillating flow in capillary bundles. J. Beijing Univ. Aeronaut. Astronaut. 1991, 2, 57–66. [Google Scholar]
- Wang, H.; Zhang, B.; Liu, M.; Rao, Z. Analytical solution of heat transfer performance of pin-array stack regenerator in stirling cycle. Int. J. Therm. Sci. 2021, 167, 107015. [Google Scholar] [CrossRef]
- Wang, Y.; Zhang, J.; Lu, Z.; Liu, J.; Liu, B.; Dong, H. Analytical Solution of Heat Transfer Performance of Grid Regenerator in Inverse Stirling Cycle. Energies 2022, 15, 7024. [Google Scholar] [CrossRef]
- Liu, X.; Jiang, Y.; Xia, J.; Chang, X. Analytical solutions of coupled heat and mass transfer processes in liquid desiccant air dehumidifier/regenerator. Energy Convers. Manag. 2007, 48, 2221–2232. [Google Scholar] [CrossRef]
- Huang, J.; Shao, W.; Zhao, M.; Han, J.; Zhao, X.; Du, X.; Lv, X. Simplified Analytical Solution for Circular Tunnel under Obliquely Incident SV Wave. Soil Dyn. Earthq. Eng. 2021, 140, 106429. [Google Scholar] [CrossRef]
- Liu, X.; Li, S.; Liu, L.; He, C.; Sun, Z.; Özdemir, F.; Aziz, M.; Kuo, P.-C. Research Progress on Convective Heat Transfer Characteristics of Supercritical Fluids in Curved Tube. Energies 2022, 15, 8358. [Google Scholar] [CrossRef]
- Yang, Q.S.; Pu, B.R. Advanced Heat Transfer; Shanghai Jiaotong University Press: Shanghai, China, 2001; pp. 119–121. [Google Scholar]
- Li, M.; Dong, J. Theoretical solution on heat transfer in oscillatory pipe flow and analysis of enhanced heat transfer. J. Aerosp. Power 2012, 27, 1967–1973. [Google Scholar]
- Ma, D. Theory and nonlinearity of thermoacoustics. ACTA Acust. 1999, 4, 337–350. [Google Scholar]
- Yang, S.; Tao, W. Heat Transfer; Higher Education Press: Beijing, China, 2006; p. 555. [Google Scholar]
- Deng, W.; Li, Z.; Hu, J.; Xu, J.; Zhao, H. Design of the Stirling cryocooler with built-in pneumatic springs in displacer. Cryogenics 2021, 5, 8–11+27. [Google Scholar]



















| Material | λw (W/m.K) | ρ (kg/m3) | Cp (W/m.K) | (m2/s) |
|---|---|---|---|---|
| AA (92Al-8Mg) | 102 | 2610 | 904 | 4.32 × 10−5 |
| CF | 20 | 2000 | 700 | 1.43 × 10−5 |
| Fluid | λf (W/m.K) | ρ (kg/m3) | Cp (J/kg.K) | af (m2/s) | μ (Pa·s) | Cv (J/kg·K) |
|---|---|---|---|---|---|---|
| Air | 24.07 × 10−3 | 1.293 | 1005 | 18.8 × 10−6 | 18.1 × 10−6 | 717 |
| He | 0.44 | 0.1785 | 5238 | 4.7 × 10−4 | 19.7 × 10−6 | 3213 |
| Parameter | R1 (mm) | R2 (mm) | L (mm) |
|---|---|---|---|
| Value | 0.6 | 1 | 70 |
Disclaimer/Publisher’s Note: The statements, opinions and data contained in all publications are solely those of the individual author(s) and contributor(s) and not of MDPI and/or the editor(s). MDPI and/or the editor(s) disclaim responsibility for any injury to people or property resulting from any ideas, methods, instructions or products referred to in the content. |
© 2023 by the authors. Licensee MDPI, Basel, Switzerland. This article is an open access article distributed under the terms and conditions of the Creative Commons Attribution (CC BY) license (https://creativecommons.org/licenses/by/4.0/).
Share and Cite
Wang, Y.; Zhang, J.; Lu, Z.; Liu, B.; Dong, H. Analysis of Fluid-Solid Coupling Radial Heat Transfer Characteristics in a Normal Hexagonal Bundle Regenerator under Oscillating Flow. Energies 2023, 16, 6411. https://doi.org/10.3390/en16186411
Wang Y, Zhang J, Lu Z, Liu B, Dong H. Analysis of Fluid-Solid Coupling Radial Heat Transfer Characteristics in a Normal Hexagonal Bundle Regenerator under Oscillating Flow. Energies. 2023; 16(18):6411. https://doi.org/10.3390/en16186411
Chicago/Turabian StyleWang, Yajuan, Jun’an Zhang, Zhiwei Lu, Bo Liu, and Hao Dong. 2023. "Analysis of Fluid-Solid Coupling Radial Heat Transfer Characteristics in a Normal Hexagonal Bundle Regenerator under Oscillating Flow" Energies 16, no. 18: 6411. https://doi.org/10.3390/en16186411
APA StyleWang, Y., Zhang, J., Lu, Z., Liu, B., & Dong, H. (2023). Analysis of Fluid-Solid Coupling Radial Heat Transfer Characteristics in a Normal Hexagonal Bundle Regenerator under Oscillating Flow. Energies, 16(18), 6411. https://doi.org/10.3390/en16186411

